JP2014075813A - ワイヤレス広域ネットワーク技術の集約およびブロードキャスト - Google Patents

ワイヤレス広域ネットワーク技術の集約およびブロードキャスト Download PDF

Info

Publication number
JP2014075813A
JP2014075813A JP2013240396A JP2013240396A JP2014075813A JP 2014075813 A JP2014075813 A JP 2014075813A JP 2013240396 A JP2013240396 A JP 2013240396A JP 2013240396 A JP2013240396 A JP 2013240396A JP 2014075813 A JP2014075813 A JP 2014075813A
Authority
JP
Japan
Prior art keywords
area network
wide area
wireless wide
wireless
information
Prior art date
Legal status (The legal status is an assumption and is not a legal conclusion. Google has not performed a legal analysis and makes no representation as to the accuracy of the status listed.)
Granted
Application number
JP2013240396A
Other languages
English (en)
Other versions
JP2014075813A5 (ja
JP5792265B2 (ja
Inventor
Krishnaswamy Dillip
ディリップ・クリシュナスワミー
S Daley Robert
ロバート・エス.・ダリー
Salib Soliman Samir
サミア・サリブ・ソリマン
Das Soumya
スーミャ・ダス
Current Assignee (The listed assignees may be inaccurate. Google has not performed a legal analysis and makes no representation or warranty as to the accuracy of the list.)
Qualcomm Inc
Original Assignee
Qualcomm Inc
Priority date (The priority date is an assumption and is not a legal conclusion. Google has not performed a legal analysis and makes no representation as to the accuracy of the date listed.)
Filing date
Publication date
Application filed by Qualcomm Inc filed Critical Qualcomm Inc
Publication of JP2014075813A publication Critical patent/JP2014075813A/ja
Publication of JP2014075813A5 publication Critical patent/JP2014075813A5/ja
Application granted granted Critical
Publication of JP5792265B2 publication Critical patent/JP5792265B2/ja
Expired - Fee Related legal-status Critical Current
Anticipated expiration legal-status Critical

Links

Images

Classifications

    • HELECTRICITY
    • H04ELECTRIC COMMUNICATION TECHNIQUE
    • H04WWIRELESS COMMUNICATION NETWORKS
    • H04W48/00Access restriction; Network selection; Access point selection
    • H04W48/08Access restriction or access information delivery, e.g. discovery data delivery
    • H04W48/10Access restriction or access information delivery, e.g. discovery data delivery using broadcasted information
    • HELECTRICITY
    • H04ELECTRIC COMMUNICATION TECHNIQUE
    • H04WWIRELESS COMMUNICATION NETWORKS
    • H04W48/00Access restriction; Network selection; Access point selection
    • H04W48/08Access restriction or access information delivery, e.g. discovery data delivery
    • HELECTRICITY
    • H04ELECTRIC COMMUNICATION TECHNIQUE
    • H04WWIRELESS COMMUNICATION NETWORKS
    • H04W88/00Devices specially adapted for wireless communication networks, e.g. terminals, base stations or access point devices
    • H04W88/02Terminal devices
    • H04W88/06Terminal devices adapted for operation in multiple networks or having at least two operational modes, e.g. multi-mode terminals
    • HELECTRICITY
    • H04ELECTRIC COMMUNICATION TECHNIQUE
    • H04WWIRELESS COMMUNICATION NETWORKS
    • H04W88/00Devices specially adapted for wireless communication networks, e.g. terminals, base stations or access point devices
    • H04W88/08Access point devices
    • H04W88/10Access point devices adapted for operation in multiple networks, e.g. multi-mode access points

Landscapes

  • Engineering & Computer Science (AREA)
  • Computer Networks & Wireless Communication (AREA)
  • Signal Processing (AREA)
  • Computer Security & Cryptography (AREA)
  • Mobile Radio Communication Systems (AREA)

Abstract

【課題】複数のWWAN技術を使用出来るようにする。
【解決手段】ワイヤレス信号情報が少なくとも1つのワイヤレス広域ネットワーク技術を通じて受信されるワイヤレス通信のために方法、装置、コンピュータプログラム製品が提供される。加えて、ワイヤレス信号情報に関連するデータが集約される。さらに、データは、少なくとも1つのワイヤレス広域ネットワーク技術とことなるワイヤレス広域ネットワーク技術を通じてワイヤレスノードに提供される。
【選択図】図5

Description

本開示は、概して通信に関し、特にワイヤレス広域ネットワーク(WWAN)技術の集約および対応付けられたブロードキャストに関する。
ワイヤレス通信システムは、電話による通信、ビデオ、データ、メッセージおよびブロードキャストのような様々なテレコミュニケーションサービスを提供するために広く展開されている。典型的なワイヤレス通信システムは、利用可能なシステムリソース(例えば帯域幅、送信電力)を共有することによって複数ユーザとの通信をサポートすることができる多元接続システムでありうる。そのような多元接続システムの例は、符号分割多元接続(CDMA)システム、時分割多元接続(TDMA)システム、周波数分割多元接続(FDMA)システム、直交周波数分割多元接続(OFDMA)システムおよびシングルキャリア周波数分割多元接続(SC−FDMA)システムを含む。システムは、例えば3GPPロングタームエボリューション(LTE)のように第三世代パートナーシッププロジェクト(3GPP)の仕様書に従うことができる。LTEは、スペクトル効率を改善し、コストダウンし、サービスを改善し、新しいスペクトルを利用し、他のオープンスタンダードとよりよく統合する、ユニバーサルモバイルテレコミュニケーションシステム(UMTS)モバイル基準に対する拡張のセットである。
概して、ワイヤレス多元接続通信システムは、複数のユーザ設備(UE)のために同時に通信をサポートしうる。各UEは、フォワードリンクおよびリバースリンク上の伝送を介して基地局(BS)と通信しうる。フォワードリンク(またはダウンリンク(DL))は、BSからUEへの通信リンクを指し、リバースリンク(またはアップリンク(UL))は、UEからBSへの通信リンクを指す。UEとBSとの間の通信は、単一入力単一出力(SISO)システム、単一入力多出力(SIMO)システム、多入力単一出力(MISO)システム、多入力多出力(MIMO)システムを介して確立されうる。UEは、ピアツーピアワイヤレスネットワーク構成で他のUEと通信する(および/またはBSが他のBSと通信する)ことができる。
ますます多くのワイヤレスプロトコルおよびWWAN技術は今後共存することになる。UEは、ワイヤレス接続のために1つまたは複数のWWAN技術を使用する能力を有する可能性がある。しかしながら、WWAN技術の存在有無のためにスキャンすることは、多くのエネルギーを消費し、UEに対して重大なオーバーヘッドとなる。そのため、ニーズは、UEがより少ないエネルギーを消費し、オーバーヘッドを低減するように、UEにWWAN技術情報を提供するシステムに対して存在する。
開示の態様において、ワイヤレス通信のための方法、装置およびコンピュータプログラム製品は、どのワイヤレス信号情報が少なくとも1つのワイヤレス広域ネットワーク技術を使用して受信されるかを提供する。ワイヤレス信号情報に関連するデータが集約される。データのサブセットは、その少なくとも1つのワイヤレス広域ネットワーク技術と異なるワイヤレス広域ネットワーク技術を使用して、第1のワイヤレスノードに提供される。
開示の別の態様において、ワイヤレス通信のための方法、装置およびコンピュータプログラム製品は、少なくとも1つのワイヤレス広域ネットワーク技術に関係するどのデータが少なくとも1つのワイヤレスノードから受信されるかを提供する。データのサブセットは、少なくとも1つのワイヤレス広域ネットワーク技術と異なるワイヤレス広域ネットワーク技術を使用して、ワイヤレスノードに提供される。
開示の別の態様において、ワイヤレス通信のための方法、装置およびコンピュータプログラム製品は、どの情報が、第1の装置から、少なくとも1つのワイヤレス広域ネットワーク技術と異なるワイヤレス広域ネットワーク技術を使用して、少なくとも1つのワイヤレス広域ネットワーク技術上で受信されるかを提供する。少なくとも1つのワイヤレス広域ネットワーク技術のうちの1つは、受信した情報に基づいて第2の装置を通じて利用される。
図1は、ワイヤレス通信システムの例示である。 図2は、ワイヤレス通信ネットワークの例示である。 図3は、ワイヤレス通信システムのブロック図である。 図4は、装置の構成を説明するブロック図である。 図5は、通信中の例示的なBSおよびUEのブロック図である。 図6は、例示的な装置のモジュールフローチャートである。 図7は、例示的な装置の別のモジュールフローチャートである。 図8は、例示的な装置のさらに別のモジュールフローチャートである。
様々な実施形態は、本明細書全体を通じて類似の参照番号が類似の要素を参照するために使用される、図面に関連してここで説明される。以下の記載では、説明の目的のために、1または複数の実施形態の完全な理解を提供するために、多くの具体的な詳細が述べられる。しかしながら、このような実施形態は、これら具体的な詳細無しで実現されうることが明からである。他の事例では、1または複数の実施形態の記載を容易にするために、周知の構成およびデバイスがブロック図形式で示される。
本明細書の中で使用されるように、用語「コンポーネント」、「モジュール」、および「システム」は、コンピュータ関連エンティティ、ハードウェア、ファームウェア、ハードウェアおよびソフトウェアの組み合わせ、ソフトウェア、または実行中のソフトウェアのいずれも参照するように意図される。例えば、コンポーネントは、限定される訳ではないが、プロセッサ上で実行中のプロセス、プロセッサ、オブジェクト、実行形式、実行スレッド、プログラム、および/またはコンピュータでありうる。例示によれば、コンピューティングデバイス上で実行中のアプリケーションと、コンピューティングデバイスとの両方がコンポーネントとなりうる。1または複数のコンポーネントは、プロセスおよび/または実行スレッド内に存在し、コンポーネントは、1つのコンピュータに局在化されるか、および/または、複数のコンピュータに分散されうる。さらに、これらのコンポーネントは、さまざまなデータ構造を格納したさまざまなコンピュータ可読媒体から実行可能である。これらコンポーネントは、(例えば、信号によってローカル・システムや分散システム内の他のコンポーネントとインタラクトする1つのコンポーネントからのデータ、および/または、他のシステムを備えた例えばインターネットのようなネットワークを経由して他のコンポーネントとインタラクトする1つのコンポーネントからのデータのような)1または複数のデータのパケットを有する信号にしたがって、ローカル処理および/またはリモート処理によって通信することができる。
更に、様々な実施形態は、UEに関連して本明細書で説明される。UEは、さらにモバイル・デバイス、システム、加入者ユニット、加入者局、移動局、モバイル、遠隔局、遠隔端末、アクセス端末、ユーザ端末、端末、ワイヤレス通信デバイス、ユーザーエージェント、ユーザ装置またはデバイスと称することができる。UEは、セルラ電話、コードレス電話、セッション開始プロトコル(SIP)電話、無線ローカル・ループ(WLL)局、携帯情報端末(PDA)、無線接続機能を有するハンドヘルド・デバイス、コンピューティングデバイス、あるいは、無線モデムに接続されたその他の処理デバイスでありうる。さらに、本明細書では、さまざまな実施形態が、基地局に関連して記載される。BSは、UEと通信するために利用することができ、アクセスポイント、ノードB、発展ノードB(eNode BまたはeNB)、無線基地局(BTS)または他のある用語として呼ぶことができる。
さらに、本明細書に説明されたさまざまな態様または特徴は、基準プログラミングおよび/またはエンジニアリング技術を使用する方法、装置、または製造物品で実施することができる。本明細書で使用されるような用語「製造物品」は、任意の機械可読デバイス、キャリアまたは媒体からアクセス可能なコンピュータプログラムを包含するように意図される。機械可読媒体は、磁気ストレージデバイス(例えば、ハードディスク、フロッピー(登録商標)ディスク、磁気ストリップ(magnetic strips))、光学ディスク(例えば、コンパクトディスク(CD)、デジタル汎用ディスク(DVD))、スマートカード、フラッシュメモリデバイス(例えば、EPROM、カード、スティック、キードライブ)、ランダムアクセスメモリ(RAM)、読み出し専用メモリ(ROM)、消去可能なROM(EPROM)、レジスタ、リムーバブルディスク、キャリアウェーブ、伝送回路、任意の他の適切な記憶デバイス、または命令が送信されるまでの任意の他の装置あるいは手段を含むことができるがこれらに限定されない。
本明細書に説明された技術は、CDMA、TDMA、FDMA、OFDMAおよびSC−FDMAのような様々なワイヤレス通信システムのために使用されうる。「システム」、「ネットワーク」という用語はしばしば置換可能に使用される。CDMAシステムは、ユニバーサルテレストリアルラジオアクセス(UTRA)またはCDMA2000のような無線技術を実施しうる。UTRAは、広帯域CDMA(W−CDMA)およびCDMAのその他の変形を含んでいる。CDMA2000は、IS−2000規格、IS−95規格、およびIS−856規格をカバーする。TDMAシステムは、例えばグローバルシステムフォーモバイルコミュニケーション(GSM(登録商標))のような無線技術を実施することができる。汎用パケット無線サービス(GPRS)は、GSMユーザのためのパケット指向のモバイルサービスである。OFDMAシステムは、例えばイボルブドUTRA(E−UTRA)、ウルトラ・モバイル・ブロードバンド(UMB)、IEEE 802.11(Wi−Fi)、IEEE 802.16(WiMAX)、IEEE 802.20、またはフラッシュ−OFDM(登録商標)のような無線技術を実施することができる。UTRAおよびE−UTRAは、ユニバーサルモバイルテレコミュニケーションシステム(UMTS)の一部である。3GPP LTEは、より多くのユーザおよびより高いデータレートをサポートするためにダウンリンクでOFDMAを、アップリンクでSC−FDMAを用い、多入力多出力(MIMO)アンテナ技術を用いる、E−UTRAを使用するリリースである。UTRA、E−UTRA、UMTS、LTEおよびGSMは、3GPP機関からの文書の中で説明される。CDMA2000およびUMBは、第3世代パートナーシッププロジェクト2(3GPP2)機関からの文書の中で説明される。
図1に示すように、ワイヤレス通信方法100が例示される。システム100は、複数のアンテナグループを含むことができるBS102を含む。例えば、1つのアンテナグループは、アンテナ104およびアンテナ106を含むことができ、別のグループは、アンテナ108およびアンテナ110を備えることができ、さらに別のグループは、アンテナ112およびアンテナ114を備えることができる。2本のアンテナが各アンテナグループのために例証される。しかしながら、2本より多いアンテナ、または2本より少ないアンテナも、各グループのために利用されうる。BS102はさらに、送信機チェーンおよび受信機チェーンを備えうる。これらの各々は、当業者によって認識されるであろうが、(例えば、プロセッサ、変調器、マルチプレクサ、復調器、デマルチプレクサ、アンテナのように)信号の送信および受信に関連付けられた複数のコンポーネントを含みうる。
BS102は、UE116およびUE126のような1つまたは複数のUEと通信することができる。しかしながら、BS102は、UE116、126に類似した実質的に任意の数のUEと通信しうることが認識されるべきである。描かれているように、UE116は、アンテナ112および114との通信中である。アンテナ112、114は、フォワードリンク118によってUE116へ情報を送信し、リバースリンク120によってUE116から情報を受信する。周波数分割複信(FDD)システムでは、例えば、フォワードリンク118は、リバースリンク120によって使用されるものとは異なる周波数帯域を利用しうる。さらに、時分割複信(TDD)システムでは、フォワードリンク118およびリバースリンク120は、共通の周波数を利用しうる。
通信するように指定された領域および/またはアンテナの各グループは、BS102のセクタと称されうる。例えば、アンテナグループは、BS102によってカバーされた領域のセクタ内のUEと通信するように設計されうる。フォワードリンク118による通信では、BS102の送信アンテナは、UE116のフォワードリンク118の信号対雑音比(SNR)を向上するために、ビームフォーミングを利用しうる。BS102が関連するカバレージに分散したUE116に送信するためにビームフォーミングを利用しているが、近隣セクタのUEは、BSが通信しているすべてのUEに単一のアンテナを通じて送信するBSと比較してより少ない干渉となる傾向がある。UE116および126は、さらにピアツーピアまたはアドホック技術を使用して、互いに直接通信することができる(140)。
図1に示されるように、BS102は、バックホールリンク接続を通じて、サービスプロバイダのネットワークのような、ネットワーク122と通信することができる。フェムトセル124は、(上記で説明されるように、フォワードリンク118およびリバースリンク120と同様に)フォワードリンク128およびリバースリンク130を通じてUE126と通信を容易にするようにために提供されることができる。フェムトセル124は、BS102に酷似して1つまたは複数のUE126にアクセスを提供するが、より小さいスケールのようなアクセスを提供することができる。フェムトセル124は、住宅、ビジネス、および/または他の近距離設定で構成されることができる。フェムトセル124は、バックホールリンク接続を利用するネットワーク122に接続することができる。それは、広帯域インターネット回線(例えばT1/T3、デジタル加入者回線(DSL)、ケーブル)を通じて接続することができる。
図2は、多くのUEをサポートするように構成された無線通信ネットワーク200の例示である。このシステム200は、例えばマクロセル202A−202Gのような複数のセルのための通信を提供する。ここで、各々のセルは、対応するBS204A−204Gによってサービス提供される。UE206A−206Iは、無線通信システム200の全体にわたって様々な位置に分散して示される。各UE206A−206Iは、図示されているように、順方向リンク及び/または逆方向リンク上で1つまたは複数のBS204A−204Gと通信することができる。加えて、フェムトセル208A−208Cがさらに示されている。UE206A−206Iは、さらにフェムトセル208A−208Cと通信することができる。ワイヤレス通信システム200は、広域をカバーするマクロセル202A−202Gおよび住宅とオフィスビルのようなエリアでサービスを提供するフェムトセル208A−208Cで、広範な地理的な領域にわたるサービスを提供することができる。UE206A−206Iは、無線および/またはバックホール接続を通じてeNB204A−204Gおよび/またはフェムトセル208A−208Cとの接続を確立しうる。
図3は、ワイヤレス通信システム300のブロック図である。ワイヤレス通信システム300は、別のUE350との通信におけるBS310のためのブロック図を描写する。BS310で、TXデータプロセッサ314は、各データストリームのために選択された特定のコーディングスキームに基づいてデータストリームをフォーマットし、コード化し、フォーマットする。TXデータプロセッサ314は、変調シンボルストリームを提供するためにそのデータストリームのために選択された特定の変調スキーム(例えば2相位相変調(BPSK)、4相位相変調(QPSK)、M相位相変調(M−PSK)、M値直交振幅変調(M−QAM))に基づいて各データストリームのためにコード化されたデータを変調することができる。各々のデータストリームのためのデータレート、コーディング、および変調は、プロセッサ330によって実行または提供される指示によって決定されうる。
BS310は、モデム340のセットを含む。1つの構成において、各々のモデムは、TXデータプロセッサ、RXデータプロセッサ、および1つまたは複数のトランシーバ322および対応するアンテナ324Aとして表わされうる。そのような構成において、BS310が2つ以上のモデムを含む場合、TXおよびRXデータプロセッサ314、342は、複数のTXおよびRXデータプロセッサそれぞれを各々含みうる。別の構成において、1セットのモデム340における1つまたは複数のモデムは、受信能力のみを有するため、RXデータプロセッサおよび1つまたは複数の受信機と対応するアンテナ324Aとして表わされうる。
UE350は、1セットのモデム380を含む。各モデムは、TXデータプロセッサ、RXデータプロセッサ、および1つまたは複数のトランシーバ354と対応するアンテナ352Aとして表わされうる。そのため、UE350が2つ以上のモデムを含む場合、TXおよびRXデータプロセッサ338、360は、複数のTXおよびRXデータプロセッサそれぞれを各々含みうる。
RXデータプロセッサ360は、受信データを復調し、デインターリブし、復号する。RXデータプロセッサ360による処理は、BS310でTXデータプロセッサ314によって実行されたものに相補的である。
UE350、TXデータプロセッサ338は、各データストリームのために選択された特定のコーディングスキームに基づいてフォーマットし、コード化し、インターリーブする。TXデータプロセッサ338は、変調シンボルストリームを提供するためにそのデータストリームのために選択された特定の変調スキームに基づいて各データストリームのためのコード化データを変調することができる。各データストリームのためのデータレート、コーディングおよび変調は、プロセッサ370によって実行または提供される指示によって決定されることができる。データは、1つまたは複数の送信機354TXによって調整され、BS310返信される。
BS310で、UE350からの変調信号は、1つまたは複数のアンテナ324Aによって受信され、対応する受信機322RXによって調整され、UE350によって送信されたデータを抽出するためにRXデータプロセッサ342によって復調され、処理される。
プロセッサ330およびプロセッサ370は、BS310およびUE350それぞれにおける動作を指示(例えば、制御、調整、および管理)しうる。プロセッサ330およびプロセッサ370はそれぞれ、プログラムコードおよびデータを格納する機械可読媒体332およびメモリ372に関連付けられうる。プロセッサ330およびプロセッサ370はさらに、アップリンクおよびダウンリンクそれぞれのための周波数およびインパルス応答推定値を導出する計算を実行する。
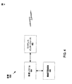
図4は、装置400のための構成を説明するブロック図である。装置400はワイヤレスインターフェース402、処理システム404および機械可読媒体406を含みうる。装置400は、BS310またはUE350のいずれかに対応しうる。装置400がBS310に対応する場合、処理システム404は、プロセッサ330に対応し、機械可読媒体406は、メモリ332に対応し、ワイヤレスインターフェース402は、アンテナ324A、トランシーバ322、TXデータプロセッサ314、およびRXデータプロセッサ342を含む、モデム340のセットに対応する。装置400がUE350に対応する場合、処理システム404は、プロセッサ370に対応し、機械可読媒体406は、メモリ372に対応し、ワイヤレスインターフェース402は、アンテナ352A、トランシーバ354、TXデータプロセッサ338およびRXデータプロセッサ360を含む、モデム350のセットに対応する。
ワイヤレスインターフェース402は、処理システム404に統合されるか、装置の複数のエンティティにわたって分配されうる。処理システム404は、1つまたは複数のプロセッサで実施されうる。1つまたは複数のプロセッサは、汎用マイクロプロセッサ、マイクロコントローラ、デジタル信号プロセッサ(DSP)、デジタル信号処理デバイス(DSPD)、フィールドプログラマブルゲートアレイ(FPGA)、プログラマブルロジックデバイス(PLD)、制御器、集積回路(IC)、特定用途向けIC(ASIC)、ステートマシン、ゲート論理、離散的ハードウェアコンポーネント、または計算あるいは他の情報操作を実行することができる任意の他の適切なエンティティのうちの任意の組み合わせで実装されうる。
処理システム404は、ソフトウェアの格納のために機械可読媒体406に接続されている。代案として、処理システム404は、機械可読媒体406自体を含みうる。
ソフトウェアは、ソフトウェア、ファームウェア、ミドルウェア、マクロコード、ハードウェア記述言語、あるいはその他で称されようとも、命令の任意の組み合わせを意味するように広く解釈されるものとする。命令は、コード(例えばソースコードフォーマット、バイナリコードフォーマット、実行可能コードフォーマット、または任意の他の適切なフォーマットコード)を含みうる。1つまたは複数のプロセッサによって実行された場合、命令は、処理システム404に、様々なプロトコル処理機能と同様に後述された各種機能を実行させる。
ワイヤレスインターフェース402は、UE116の完全な物理レイヤ実装(physical layer implementation)を提供するように構成されうる。物理レイヤ実装は、特定のアプリケーション、およびシステムに課された全体的な設計制約に依存することになる。処理システム404は、他のワイヤレスデバイスとの通信をサポートするために、物理レイヤ上の機能性をすべて実装し、ワイヤレスインターフェース402の送受信機能を利用するように構成される。
これら実施形態が、ソフトウェア、ファームウェア、ミドルウェアあるいはマイクロコード、プログラムコードあるいはコードセグメントで実装される場合、これらは、例えば記憶素子のような機械可読媒体に格納されうる。コードセグメントは、手順、機能、サブプログラム、プログラム、ルーチン、サブルーチン、モジュール、ソフトウェアパッケージ、クラス、または、命令、データ構造、あるいはプログラム文からなる任意の組み合わせを表すことができる。コードセグメントは、情報、データ、引数、パラメータ、あるいは記憶内容の引渡および/または受信を行うことによって、他のコードセグメントまたはハードウェア回路に接続されうる。情報、引数、パラメータ、および/またはデータは、メモリ共有、メッセージ引渡し、トークン引渡、およびネットワーク送信を含む任意の適切な手段を用いて引渡、転送、あるいは送信されうる。
ソフトウェアで実施する場合、本明細書に記載のこれら技術は、本明細書に記載の機能を実行するモジュール(例えば、手続き、機能等)を用いて実施されうる。ソフトウェアコードは、メモリユニット内に格納され、プロセッサによって実行されうる。メモリユニットは、プロセッサ内部またはプロセッサ外部に実装されうる。プロセッサ外部に実装される場合、メモリユニットは、当該技術分野で周知のさまざまな手段によってプロセッサと通信可能に接続されうる。
図5は、通信中の例示的なBS500およびUE502のブロック図である。1つの構成において、装置400は、BS500である。別の構成において、装置400は、UE502である。BS500は、メモリ506、処理システム508、および複数のモデム510−522を含む。メモリ506は、機械可読媒体406に対応し、複数のモデム510−522は、ワイヤレスインターフェース402に対応し、処理システム508、は処理システム404に対応する。複数のモデムは、CDMA2000 510、UMTS(GSM/GPRS/W−CDMA)512、WiMAX514、LTE516、UMB518、FlashLinQ520(FlashLinQは、ライセンスされたスペクトルにわたってダイレクトモバイルツーモバイルを可能にする無線インタフェースである)、および/またはその他のモデム522を含みうる。
処理システム508は、モデムに対応する技術が利用可能かどうか判断するモデム510−522と接続するように構成される。他のモデムが特定の技術が利用可能かどうか確認するためだけに利用されている間、処理システム508は、1つまたは複数のモデムを通じてサービスを提供するように構成されうる。そのような構成において、特定の技術が利用可能かどうか確認するためだけに利用されたモデムは、送信機および送信機に関連するハードウェアを含まないかもしれない。
処理システム508は、メモリ506に情報を格納するように構成される。処理システム508は、BSが対応するモデムをまったく有しないか、BSが技術を通じてサービスを提供するアクセスポイントの範囲外である場合のように、いくつかの技術を検出することができないかもしれない。そのような場合、処理システム508は、UE502または他のUEから利用可能な技術についての情報を受信し、メモリ506に受信情報を格納するように構成されうる。処理システム508は、UE502が特定の技術が利用可能かどうか検出するリソース(時間およびエネルギ)を消耗させる必要がないように、集約された技術情報をUE502に通知するように構成される。処理システム508は、UE502のロケーションに依存するUE502にどの情報を提供するか判断しうる。UE502のロケーションは、例えばGPS座標を通じて、UE502自体に提供される、または処理システム508によって推定されうる。
先に述べたように、処理システム508は、モデム510−522を通じて、(モデム510−522に対応する)特定のWWAN技術の各々が利用可能かどうか判断するためにワイヤレススペクトルをスキャンする。処理システム508は、動的に利用可能なワイヤレスのホワイトスペースを継続的に探索する。処理システム508は、例えばUWBのために、任意の干渉回避(DAA:detect-and-avoid)要件を回避するスペクトルをさらに検出する。
処理システム508は、スペクトルワイヤレス技術のためのDAAアシストを提供するために、WWANプロトコルのためのk−タプル情報、動的に利用可能なホワイトスペーススペクトルの近似量、およびBS500の性能を、UE502が通信の間中、1つまたは複数のモデムを通じて送信するように構成される。1つの構成において、kは2に等しく、情報は、プロトコルのネーム(a name of a protocol)およびプロトコルのためのスペクトル占有範囲を含む。別の構成において、情報は、さらにWWANプロトコルに対するスペクトルロードおよび検出された信号強度のような追加情報を含む。処理システム508は、1つの指定された周波数または周波数の指定されたセットでビーコン中に情報を送信しうる。
UE502は、BS500からの追加情報を要求しうる。UE502は、それがサポートすることができるプロトコルのサブセットに対するWWANプロトコルリストを除去しうる。UE502がサポートすることができるプロトコルに対して、UE502は、各WWAN技術のために検出された信号強度と、各WWAN技術のためのスペクトルロードと、動的に利用可能なホワイトスペースのための周波数範囲と、特定周波数範囲(UE502が送信したい帯域)のために特有のワイヤレス技術(例えばUWB)のためのDAAアシスト情報とを要求しうる。
処理システム508は、UE502によって要求されるような追加情報を提供することで、WWAN技術信号強度(受信SINRまたはCQI)と;WWAN技術のスペクトルロード(OFDMサブキャリアの利用可能性)と;利用可能なホワイトスペースのための周波数範囲と;回避するべきDAAスペクトル領域、あるいは代替として、UE502が使用することを考慮しうるスペクトル領域とをUE502に提供するように構成される。
一旦UE502がBS500からの技術関連情報を有すれば、UE502は、特定の技術を使用するかどうか判断するためにその情報を利用しうる。さらに、UE502は、短時間の間に指定された利用可能なホワイトスペースを使用しうる。更に、UE502は、回避するべきスペクトル領域として示されていない、あるいはBS500によって考慮されるスペクトル領域として示されたスペクトルのサブセット上でのみDAAを試みうる。UE502は、以前に検出された利用可能なスペクトルの送信/受信をDAAとともにインターリーブすることができる。
先に述べたように、処理システム508は、技術それ自体を検出するように構成される、および/または利用可能な技術について他のUEによって提供される情報に依存するように構成されうる。後者の構成において、UE502のようなUEは、それらが検出する技術についてBS500に情報を提供する。情報は、WWANプロトコル情報、UE502が使用することになり、また使用期間であるホワイトスペース、DAAアシストのために回避するべきスペクトル領域(または利用可能でありうる)のインクリメンタル情報を含む。処理システム508は、UEからこの情報を受信し、情報を平均化し、どの情報が信頼でき、どの情報が信頼できないかを判断しうる。複数のUEから複製される情報は、1つのUEのみから受信される情報より信頼できると見なされうる。その後、処理システム508は、メモリ506の情報を集約し、そのような情報を要求するUE502のようなUEに情報および対応する信頼性測定値を提供しうる。
図6は、BS500である例示的装置400のモジュールフローチャートである。先の述べたように、BSは、少なくとも1のワイヤレスWWAN技術を使用して、ワイヤレス信号情報を受信しうる(600)。例えば、BSは、CDMA2000を使用して他のUEをサービスするが、UMBモデムおよびWiMAXモデムを使用してワイヤレス信号情報を受信するためのUMBモデムおよびWiMAXモデムのような他のモデムを含みうる。BSは、受信したワイヤレス信号情報に関連するデータを集約する。BSは、少なくとも1つのワイヤレスWWAN技術(例えばUMB、WiMAX)と異なるWWAN技術(例えばCDMA2000)を使用してUEにデータ(データの一部またはすべて)のサブセットを提供する(604)。BSは、UEの位置に基づいてUEに送るべきデータを選択しうる。BSは、UEからの位置情報(例えばGPS情報)を受信する、あるいはBSは、UEの位置を推定しうる。BSは、データを受信するUEの1つまたは複数のWWAN技術に関連する追加情報のためにUEからクエリを受信しうる。BSは、WWAN技術(例えばCDMA2000)を使用して、UEに追加データを提供しうる(608)。
1つの構成において、例示的な装置400は、少なくとも1つのワイヤレス広域ネットワーク技術を使用して、ワイヤレス信号情報を受信するための手段と、ワイヤレス信号情報に関連するデータを集約するための手段と、該少なくとも1つのワイヤレス広域ネットワーク技術と異なるワイヤレス広域ネットワーク技術を使用して第1のワイヤレスノードにデータのサブセットを提供するための手段とを含む。前述の手段は、図6で特定されたアルゴリズムおよびモジュールで構成された処理システム404である。
1つの構成において、例示的な装置400は、該少なくとも1つのワイヤレス広域ネットワーク技術のうちの1つのワイヤレス広域ネットワーク技術に関連する追加データのために第1のワイヤレスノードからクエリを受信するための手段と、該ワイヤレス広域ネットワーク技術を使用して第1のワイヤレスノードに追加データを提供するための手段とを追加で含みうる。別の構成において、例示的な装置400は、第2のワイヤレスノードから追加データを受信するための手段と、ここにおいて、追加データは、該少なくとも1つのワイヤレス広域ネットワーク技術と異なるワイヤレス広域ネットワーク技術のセットに関連する、該ワイヤレス広域ネットワーク技術を使用する第1のワイヤレスノードに追加データのサブセットを提供するための手段とを追加で含み、該ワイヤレス広域ネットワーク技術は、セット中のワイヤレス広域ネットワーク技術と異なる。別の構成において、例示的な装置400は、第1のワイヤレスノードに、該ワイヤレス広域ネットワーク技術を使用して第1のワイヤレスノードに、追加データのサブセットに対応する、信頼性測定値を提供するための手段を追加で含みうる。別の構成において、例示的な装置400は、追加データに追加データに似ているデータが他のワイヤレスノートから受信される場合、信頼性測定値を増加させるため手段を追加で含みうる。別の構成において、例示的な装置400は、第1のワイヤレスノードから位置情報を受信するための手段を追加で含み、ここで、データのサブセットは、受信した位置情報に依存する。前述の手段の各々は、特定されたアルゴリズムで構成された処理システム404である。
図7は、BS500でありうる、例示的な装置400の別のモジュールフローチャートである。BSは、他のUEからのWWAN技術に関連するデータを受信しうる(700)。BSは、受信したワイヤレス信号情報から集約されたデータとともにUEに提供されるデータを集約しうる。すなわち、BSは、他のUEから受信されたデータとともにそれ自身のモデムを通じて受信されたデータを組み合わせうる。BSは、データが関連するWWAN技術と異なるWWAN技術を使用して、UEにデータのサブセットを提供しうる。BSは、さらにデータとともにUEに信頼性測定値を提供しうる。信頼性測定値は、UEに提供されるデータに対応し、複数のUEが類似データを提供する場合、BSによって増加される。
1つの構成において、例示的な装置は、少なくとも1つのワイヤレスノードからの少なくとも1つのワイヤレス広域ネットワーク技術に関連するデータを受信するための手段と、少なくとも1つのワイヤレス広域ネットワーク技術と異なるワイヤレス広域ネットワーク技術を使用して、ワイヤレスノードにデータのサブセットを提供するための手段とを含む。前述の手段は、図7に特定されたアルゴリズムおよびモジュールで構成された処理システム404である。
図8は、さらに、UE502でありうる、例示的な装置400の別のモジュールフローチャートである。UEは、異なるWWAN技術(例えばCDMA2000)を使用して、少なくとも1つのWWAN技術(例えばWiMAX、UMB)上でBSから情報を受信する。その後、UEは、受信情報に基づいて異なるBSを通じて少なくとも1つのWWAN技術(例えばWiMAXまたはUMB)のうちの1つを利用しうる。
1つの構成において、例示的な装置は、少なくとも1つのワイヤレス広域ネットワーク技術と異なるワイヤレス広域ネットワーク技術を使用して、少なくとも1つのワイヤレス広域ネットワーク技術上で、第1の装置から、情報を受信するための手段と、受信情報に基づいて第2の装置を通じて少なくとも1つのワイヤレス広域ネットワーク技術のうちの1つを利用するための手段とを含む。前述の手段は、図8に特定されたアルゴリズムおよびモジュールで構成された処理システム404である。
上述された説明は、当業者が本開示の全範囲を十分に理解することを可能にするために提供される。ここに開示される様々な構成に対する修正は、当業者にとって容易に明らかであろう。したがって、本願請求項は、ここに記載された開示の様々な態様に限定されるように意図されていないが、本願請求項の用語と一貫して全範囲を与えられており、単数の要素への言及は、「1つまたは複数(one or more)」というよりも、具体的に述べられていない限り「1つ及び1つのみ(one and only one)」を意味するように意図されていない。特に明記されていない限り、用語「いくつか」は、1または複数を称する。要素の組み合わせのうち少なくとも1つ(例えば、「A、B、またはCのうちの少なくとも1つ」)を記載する請求項は、記載された要素のうち1つまたは複数(例えば、A、またはB、またはC、または、そのいずれの組み合わせ)を指す。当業者に知られているまたは後に知られる、本開示全体にわたって説明される様々な態様の要素に対するすべての構造的及び機能的な同等物は、参照によりここにおいて明示的に組み込まれており、そして、本願請求項によって包含されるように意図される。さらに、ここにおいて開示されているものは、そのような開示が本願請求項で明示的に記載されているかどうかに関らず、公的に使用されることが意図されている。要素が明示的にフレーズ「するための手段(means for)」を使用して記載されていないかぎり、または、方法の請求項の場合にはフレーズ「するためのステップ(step for)」を使用して記載されていないかぎり、米国特許法第112条第6項の規定の下で請求項の要素は解釈されるべきではない。
上述された説明は、当業者が本開示の全範囲を十分に理解することを可能にするために提供される。ここに開示される様々な構成に対する修正は、当業者にとって容易に明らかであろう。したがって、本願請求項は、ここに記載された開示の様々な態様に限定されるように意図されていないが、本願請求項の用語と一貫して全範囲を与えられており、単数の要素への言及は、「1つまたは複数(one or more)」というよりも、具体的に述べられていない限り「1つ及び1つのみ(one and only one)」を意味するように意図されていない。特に明記されていない限り、用語「いくつか」は、1または複数を称する。要素の組み合わせのうち少なくとも1つ(例えば、「A、B、またはCのうちの少なくとも1つ」)を記載する請求項は、記載された要素のうち1つまたは複数(例えば、A、またはB、またはC、または、そのいずれの組み合わせ)を指す。当業者に知られているまたは後に知られる、本開示全体にわたって説明される様々な態様の要素に対するすべての構造的及び機能的な同等物は、参照によりここにおいて明示的に組み込まれており、そして、本願請求項によって包含されるように意図される。さらに、ここにおいて開示されているものは、そのような開示が本願請求項で明示的に記載されているかどうかに関らず、公的に使用されることが意図されている。要素が明示的にフレーズ「するための手段(means for)」を使用して記載されていないかぎり、または、方法の請求項の場合にはフレーズ「するためのステップ(step for)」を使用して記載されていないかぎり、米国特許法第112条第6項の規定の下で請求項の要素は解釈されるべきではない。
以下に、本願出願の当初の特許請求の範囲に記載された発明を付記する。
[C1]
少なくとも1つのワイヤレス広域ネットワーク技術を使用して、ワイヤレス信号情報を受信することと、
前記ワイヤレス信号情報に関連するデータを集約することと、
前記少なくとも1つのワイヤレス広域ネットワーク技術と異なるワイヤレス広域ネットワークを使用して、第1のワイヤレスノードに前記データのサブセットを提供することと
を備える、ワイヤレス通信のための方法。
[C2]
前記データは、前記少なくとも1つのワイヤレス広域ネットワーク技術の各々のための第1の情報、前記少なくとも1つのワイヤレス広域ネットワーク技術のスペクトル内で利用可能なホワイトスペーススペクトルを動的に利用することに関連する第2の情報、前記少なくとも1つのワイヤレス広域ネットワークのために干渉回避を提供する能力に関連する第3の情報、のうちの少なくとも1つを備える、
[C1]に記載の方法。
[C3]
前記第1の情報は、プロトコルのネーム、前記プロトコルのためのスペクトル占有範囲、スペクトルロード、または検出された信号強度、のうちの少なくとも1つを備える、
[C2]に記載の方法。
[C4]
前記少なくとも1つのワイヤレス広域ネットワーク技術のうちの1つのワイヤレス広域ネットワーク技術に関連する追加データのために前記第1のワイヤレスノードからクエリを受信することと、
前記ワイヤレス広域ネットワーク技術を使用して、前記第1のワイヤレスノードに前記追加データを提供することと
をさらに備える、[C1]に記載の方法。
[C5]
前記追加データは、プロトコルのネーム、前記プロトコルのためのスペクトル占有範囲、スペクトルロード、検出された信号強度、前記1つのワイヤレス広域ネットワーク技術の周波数範囲内で動的に利用可能なホワイトスペースの周波数範囲、または前記1つのワイヤレス広域ネットワーク技術のための干渉回避情報、のうちの少なくとも1つの備える、
[C4]に記載の方法。
[C6]
第2のワイヤレスノードから追加データを受信することと、ここで、前記追加データは、前記少なくとも1つのワイヤレス広域ネットワーク技術と異なるワイヤレス広域ネットワーク技術のセットに関連する、
前記ワイヤレス広域ネットワーク技術を使用して、前記第1のワイヤレスノードに前記追加データのサブセットを提供することと
をさらに備え、前記ワイヤレス広域ネットワーク技術は、前記セット中の前記ワイヤレス広域ネットワーク技術と異なる、
[C1]に記載の方法。
[C7]
前記ワイヤレス広域ネットワーク技術を使用して、前記第1のワイヤレスノードに、前記追加データの前記サブセットに対応する、信頼性測定値を提供することをさらに備える、
[C6]に記載の方法。
[C8]
前記追加データに類似するデータが他のワイヤレスノードから受信した場合、前記信頼性測定値を増加させることをさらに備える、
[C7]に記載の方法。
[C9]
前記第1のワイヤレスノードから位置情報を受信することをさらに備え、前記データの前記サブセットは、前記受信した位置情報に依存する、
[C1]に記載の方法。
[C10]
少なくとも1つのワイヤレスノードから少なくとも1つのワイヤレス広域ネットワーク技術に関連するデータを受信することと、
前記少なくとも1つのワイヤレス広域ネットワーク技術と異なるワイヤレス広域ネットワーク技術を使用して、ワイヤレスノードに前記データのサブセットを提供することと
を備える、ワイヤレス通信のための方法。
[C11]
前記データは、前記少なくとも1つのワイヤレス広域ネットワーク技術の各々のための第1の情報、前記少なくとも1つのワイヤレス広域ネットワーク技術のスペクトル内で利用可能なホワイトスペーススペクトルを動的に利用可能にすることに関連する第2の情報、あるいは前記少なくとも1つのワイヤレス広域ネットワーク技術のための干渉回避を提供する能力に関連する第3の情報、のうちの少なくとも1つを備える、
[C10]に記載の方法。
[C12]
前記第1の情報は、プロトコルのネーム、前記プロトコルのためのスペクトル占有範囲、スペクトルロード、あるいは検出された信号強度、のうちの少なくとも1つを備える、
[C10]に記載の方法。
[C13]
前記少なくとも1つのワイヤレス広域ネットワーク技術のうちの1つのワイヤレス広域ネットワーク技術に関連する追加データのために前記ワイヤレスノードからクエリを受信することと、
前記ワイヤレス広域ネットワーク技術を使用して、前記ワイヤレスノードに前記追加データを提供することと
をさらに備える、[C10]に記載の方法。
[C14]
前記追加データは、プロトコルのネーム、前記プロトコルのためのスペクトル占有範囲、スペクトルロード、検出された信号強度、前記ワイヤレス広域ネットワーク技術の周波数範囲内の動的に利用可能なホワイトスペースの周波数範囲、あるいは前記1つのワイヤレス広域ネットワーク技術のための干渉回避情報、のうちの少なくとも1つを備える、
[C13]に記載の方法。
[C15]
ワイヤレス広域ネットワーク技術のセットを使用して、ワイヤレス信号情報を受信することと、
前記ワイヤレス信号情報に関連する追加データとともに前記受信データを集約することと、
前記ワイヤレス広域ネットワーク技術を使用して、前記ワイヤレスノードに前記追加データのサブセットを提供することと
をさらに備える、[C10]に記載の方法。
[C16]
前記ワイヤレス広域ネットワーク技術を使用して、前記ワイヤレスノードに、前記データの前記サブセットに対応する、信頼性測定値を提供することをさらに備える、
[C10]に記載の方法。
[C17]
前記受信データに類似するデータが他のワイヤレスノードから受信された場合、前記信頼性測定値を増加させることをさらに備える、
[C16]に記載の方法。
[C18]
前記ワイヤレスノードから位置情報を受信することをさらに備え、前記データのサブセットは、前記受信位置情報に依存する、
[C10]に記載の方法。
[C19]
第1の装置から、少なくとも1つのワイヤレス広域ネットワーク技術と異なるワイヤレス広域ネットワーク技術を使用して、前記少なくとも1つのワイヤレス広域ネットワーク技術で情報を受信することと、
前記受信情報に基づいて第2の装置を通じて前記ワイヤレス広域ネットワーク技術のうちの1つを利用することと
を備える、方法。
[C20]
前記少なくとも1つのワイヤレス広域ネットワーク技術のうちの前記1つで追加情報のために前記第1の装置をクエリすることと、
前記第1の装置から前記追加情報を受信することと
をさらに備え、前記ワイヤレス広域ネットワーク技術のうちの前記1つは、さらに前記受信した追加情報に基づいて利用される、
[C19]に記載の方法。
[C21]
前記ワイヤレス広域ネットワーク技術のうちの前記1つは、前記受信した情報のみに基づいて利用される、
[C19]に記載の方法。
[C22]
追加情報を取得するために前記ワイヤレス広域ネットワーク技術のうちの前記1つに対してスキャンすることをさらに備え、前記ワイヤレス広域ネットワーク技術のうちの前記1つは、さらに前記取得された追加情報に基づいて利用される、
[C19]に記載の方法。
[C23]
前記第1の装置に位置情報を提供することをさらに備え、前記第1の装置から受信した前記情報は、前記提供された位置情報に依存する、
[C19]に記載の方法。
[C24]
少なくとも1つのワイヤレス広域ネットワーク技術を使用して、ワイヤレス信号情報を受信するための手段と、
前記ワイヤレス信号情報に関連するデータを集約するための手段と、
前記少なくとも1つのワイヤレス広域ネットワーク技術と異なるワイヤレス広域ネットワークを使用して、第1のワイヤレスノードに前記データのサブセットを提供するための手段と
を備える、ワイヤレス通信のための装置。
[C25]
前記データは、前記少なくとも1つのワイヤレス広域ネットワーク技術の各々のための第1の情報、前記少なくとも1つのワイヤレス広域ネットワーク技術のスペクトル内で利用可能なホワイトスペーススペクトルを動的に利用することに関連する第2の情報、前記少なくとも1つのワイヤレス広域ネットワークのために干渉回避を提供する能力に関連する第3の情報、のうちの少なくとも1つを備える、
[C24]に記載の装置。
[C26]
前記第1の情報は、プロトコルのネーム、前記プロトコルのためのスペクトル占有範囲、スペクトルロード、または検出された信号強度、のうちの少なくとも1つを備える、
[C25]に記載の装置。
[C27]
前記少なくとも1つのワイヤレス広域ネットワーク技術のうちの1つのワイヤレス広域ネットワーク技術に関連する追加データのために前記第1のワイヤレスノードからクエリを受信するための手段と、
前記ワイヤレス広域ネットワーク技術を使用して、前記第1のワイヤレスノードに前記追加データを提供するための手段と
をさらに備える、[C24]に記載の装置。
[C28]
前記追加データは、プロトコルのネーム、前記プロトコルのためのスペクトル占有範囲、スペクトルロード、検出された信号強度、前記1つのワイヤレス広域ネットワーク技術の周波数範囲内で動的に利用可能なホワイトスペースの周波数範囲、または前記1つのワイヤレス広域ネットワーク技術のための干渉回避情報、のうちの少なくとも1つの備える、
[C27]に記載の装置。
[C29]
第2のワイヤレスノードから追加データを受信するための手段と、ここで、前記追加データは、前記少なくとも1つのワイヤレス広域ネットワーク技術と異なるワイヤレス広域ネットワーク技術のセットに関連する、
前記ワイヤレス広域ネットワーク技術を使用して、前記第1のワイヤレスノードに前記追加データのサブセットを提供するための手段と
をさらに備え、前記ワイヤレス広域ネットワーク技術は、前記セット中の前記ワイヤレス広域ネットワーク技術と異なる、
[C24]に記載の装置。
[C30]
前記ワイヤレス広域ネットワーク技術を使用して、前記第1のワイヤレスノードに、前記追加データの前記サブセットに対応する、信頼性測定値を提供するための手段をさらに備える、
[C29]に記載の装置。
[C31]
前記追加データに類似するデータが他のワイヤレスノードから受信した場合、前記信頼性測定値を増加させるための手段をさらに備える、
[C30]に記載の装置。
[C32]
前記第1のワイヤレスノードから位置情報を受信するための手段をさらに備え、前記データの前記サブセットは、前記受信した位置情報に依存する、
[C24]に記載の装置。
[C33]
少なくとも1つのワイヤレスノードから少なくとも1つのワイヤレス広域ネットワーク技術に関連するデータを受信するための手段と、
前記少なくとも1つのワイヤレス広域ネットワーク技術と異なるワイヤレス広域ネットワーク技術を使用して、ワイヤレスノードに前記データのサブセットを提供するための手段と
を備える、ワイヤレス通信のための装置。
[C34]
前記データは、前記少なくとも1つのワイヤレス広域ネットワーク技術の各々のための第1の情報、前記少なくとも1つのワイヤレス広域ネットワーク技術のスペクトル内で利用可能なホワイトスペーススペクトルを動的に利用可能にすることに関連する第2の情報、あるいは前記少なくとも1つのワイヤレス広域ネットワーク技術のための干渉回避を提供する能力に関連する第3の情報、のうちの少なくとも1つを備える、
[C33]に記載の装置。
[C35]
前記第1の情報は、プロトコルのネーム、前記プロトコルのためのスペクトル占有範囲、スペクトルロード、あるいは検出された信号強度、のうちの少なくとも1つを備える、
[C34]に記載の装置。
[C36]
前記少なくとも1つのワイヤレス広域ネットワーク技術のうちの1つのワイヤレス広域ネットワーク技術に関連する追加データのために前記ワイヤレスノードからクエリを受信するための手段と、
前記ワイヤレス広域ネットワーク技術を使用して、前記ワイヤレスノードに前記追加データを提供するための手段と
をさらに備える、[C33]に記載の装置。
[C37]
前記追加データは、プロトコルのネーム、前記プロトコルのためのスペクトル占有範囲、スペクトルロード、検出された信号強度、前記ワイヤレス広域ネットワーク技術の周波数範囲内の動的に利用可能なホワイトスペースの周波数範囲、あるいは前記1つのワイヤレス広域ネットワーク技術のための干渉回避情報、のうちの少なくとも1つを備える、
[C36]に記載の装置。
[C38]
ワイヤレス広域ネットワーク技術のセットを使用して、ワイヤレス信号情報を受信するための手段と、
前記ワイヤレス信号情報に関連する追加データとともに前記受信データを集約するための手段と、
前記ワイヤレス広域ネットワーク技術を使用して、前記ワイヤレスノードに前記追加データのサブセットを提供するための手段と
をさらに備える、[C33]に記載の装置。
[C39]
前記ワイヤレス広域ネットワーク技術を使用して、前記ワイヤレスノードに、前記データの前記サブセットに対応する、信頼性測定値を提供するための手段をさらに備える、
[C33]に記載の装置。
[C40]
前記受信データに類似するデータが他のワイヤレスノードから受信された場合、前記信頼性測定値を増加させるための手段をさらに備える、
[C39]に記載の装置。
[C41]
前記ワイヤレスノードから位置情報を受信するための手段をさらに備え、前記データのサブセットは、前記受信位置情報に依存する、
[C33]に記載の装置。
[C42]
第1の装置から、少なくとも1つのワイヤレス広域ネットワーク技術と異なるワイヤレス広域ネットワーク技術を使用して、前記少なくとも1つのワイヤレス広域ネットワーク技術で情報を受信するための手段と、
前記受信情報に基づいて第2の装置を通じて前記ワイヤレス広域ネットワーク技術のうちの1つを利用するための手段と
を備える、装置。
[C43]
前記少なくとも1つのワイヤレス広域ネットワーク技術のうちの前記1つで追加情報のために前記第1の装置をクエリするための手段と、
前記第1の装置から前記追加情報を受信するための手段と
をさらに備え、前記ワイヤレス広域ネットワーク技術のうちの前記1つは、さらに前記受信した追加情報に基づいて利用される、
[C42]に記載の装置。
[C44]
前記ワイヤレス広域ネットワーク技術のうちの前記1つは、前記受信した情報のみに基づいて利用される、
[C42]に記載の装置。
[C45]
追加情報を取得するために前記ワイヤレス広域ネットワーク技術のうちの前記1つに対してスキャンするための手段をさらに備え、前記ワイヤレス広域ネットワーク技術のうちの前記1つは、さらに前記取得された追加情報に基づいて利用される、
[C42]に記載の装置。
[C46]
前記第1の装置に位置情報を提供するための手段をさらに備え、前記第1の装置から受信した前記情報は、前記提供された位置情報に依存する、
[C42]に記載の装置。
[C47]
少なくとも1つのワイヤレス広域ネットワーク技術を使用して、ワイヤレス信号情報を受信するためのコードと、
前記ワイヤレス信号情報に関連するデータを集約するためのコードと、
前記少なくとも1つのワイヤレス広域ネットワーク技術と異なるワイヤレス広域ネットワークを使用して、第1のワイヤレスノードに前記データのサブセットを提供するためのコードと
を備える、コンピュータ可読媒体を備える
コンピュータプラム製品。
[C48]
前記データは、前記少なくとも1つのワイヤレス広域ネットワーク技術の各々のための第1の情報、前記少なくとも1つのワイヤレス広域ネットワーク技術のスペクトル内で利用可能なホワイトスペーススペクトルを動的に利用することに関連する第2の情報、前記少なくとも1つのワイヤレス広域ネットワークのために干渉回避を提供する能力に関連する第3の情報、のうちの少なくとも1つを備える、
[C47]に記載のコンピュータプログラム製品。
[C49]
前記第1の情報は、プロトコルのネーム、前記プロトコルのためのスペクトル占有範囲、スペクトルロード、または検出された信号強度、のうちの少なくとも1つを備える、
[C48]に記載のコンピュータプログラム製品。
[C50]
前記コンピュータ可読媒体は、
前記少なくとも1つのワイヤレス広域ネットワーク技術のうちの1つのワイヤレス広域ネットワーク技術に関連する追加データのために前記第1のワイヤレスノードからクエリを受信するためのコードと、
前記ワイヤレス広域ネットワーク技術を使用して、前記第1のワイヤレスノードに前記追加データを提供するためのコードと
をさらに備える、[C47]に記載のコンピュータプログラム製品。
[C51]
前記追加データは、プロトコルのネーム、前記プロトコルのためのスペクトル占有範囲、スペクトルロード、検出された信号強度、前記1つのワイヤレス広域ネットワーク技術の周波数範囲内で動的に利用可能なホワイトスペースの周波数範囲、または前記1つのワイヤレス広域ネットワーク技術のための干渉回避情報、のうちの少なくとも1つの備える、
[C50]に記載のコンピュータプログラム製品。
[C52]
前記コンピュータ可読媒体は、
第2のワイヤレスノードから追加データを受信するためのコードと、ここで、前記追加データは、前記少なくとも1つのワイヤレス広域ネットワーク技術と異なるワイヤレス広域ネットワーク技術のセットに関連される、
前記ワイヤレス広域ネットワーク技術を使用して、前記第1のワイヤレスノードに前記追加データのサブセットを提供するためのコードと
をさらに備え、前記ワイヤレス広域ネットワーク技術は、前記セット中の前記ワイヤレス広域ネットワーク技術と異なる、
[C47]に記載のコンピュータプログラム製品。
[C53]
前記コンピュータ可読媒体は、前記ワイヤレス広域ネットワーク技術を使用して、前記第1のワイヤレスノードに、前記追加データの前記サブセットに対応する、信頼性測定値を提供するためのコードをさらに備える、
[C52]に記載のコンピュータプログラム製品。
[C54]
前記コンピュータ可読媒体は、前記追加データに類似するデータが他のワイヤレスノードから受信した場合、前記信頼性測定値を増加させるためのコードをさらに備える、
[C53]に記載のコンピュータプログラム製品。
[C55]
前記コンピュータ可読媒体は、前記第1のワイヤレスノードから位置情報を受信するためのコードをさらに備え、前記データの前記サブセットは、前記受信した位置情報に依存する、
[C47]に記載のコンピュータプログラム製品。
[C56]
少なくとも1つのワイヤレスノードから少なくとも1つのワイヤレス広域ネットワーク技術に関連するデータを受信するためのコードと、
前記少なくとも1つのワイヤレス広域ネットワーク技術と異なるワイヤレス広域ネットワーク技術を使用して、ワイヤレスノードに前記データのサブセットを提供するためのコードと
を備える、コンピュータ可読媒体を備える
コンピュータプログラム製品。
[C57]
前記データは、前記少なくとも1つのワイヤレス広域ネットワーク技術の各々のための第1の情報、前記少なくとも1つのワイヤレス広域ネットワーク技術のスペクトル内で利用可能なホワイトスペーススペクトルを動的に利用可能にすることに関連する第2の情報、あるいは前記少なくとも1つのワイヤレス広域ネットワーク技術のための干渉回避を提供する能力に関連する第3の情報、のうちの少なくとも1つを備える、
[C56]に記載のコンピュータプログラム製品。
[C58]
前記第1の情報は、プロトコルのネーム、前記プロトコルのためのスペクトル占有範囲、スペクトルロード、あるいは検出された信号強度、のうちの少なくとも1つを備える、
[C57]に記載のコンピュータプログラム製品。
[C59]
前記コンピュータ可読媒体は、
前記少なくとも1つのワイヤレス広域ネットワーク技術のうちの1つのワイヤレス広域ネットワーク技術に関連する追加データのために前記ワイヤレスノードからクエリを受信するためのコードと、
前記ワイヤレス広域ネットワーク技術を使用して、前記ワイヤレスノードに前記追加データを提供するためのコードと
をさらに備える、
[C56]に記載のコンピュータプログラム製品。
[C60]
前記追加データは、プロトコルのネーム、前記プロトコルのためのスペクトル占有範囲、スペクトルロード、検出された信号強度、前記ワイヤレス広域ネットワーク技術の周波数範囲内の動的に利用可能なホワイトスペースの周波数範囲、あるいは前記1つのワイヤレス広域ネットワーク技術のための干渉回避情報、のうちの少なくとも1つを備える、
[C59]に記載のコンピュータプログラム製品。
[C61]
コンピュータ可読媒体は、
ワイヤレス広域ネットワーク技術のセットを使用して、ワイヤレス信号情報を受信するためのコードと、
前記ワイヤレス信号情報に関連する追加データとともに前記受信データを集約するためのコードと、
前記ワイヤレス広域ネットワーク技術を使用して、前記ワイヤレスノードに前記追加データのサブセットを提供するコードと
をさらに備える、[C56]に記載のコンピュータプログラム製品。
[C62]
前記コンピュータ可読媒体は、前記ワイヤレス広域ネットワーク技術を使用して、前記ワイヤレスノードに、前記データの前記サブセットに対応する、信頼性測定値を提供するためのコードをさらに備える、
[C56]に記載のコンピュータプログラム製品。
[C63]
前記コンピュータ可読媒体は、前記受信データに類似するデータが他のワイヤレスノードから受信された場合、前記信頼性測定値を増加させるコードをさらに備える、
[C62]に記載のコンピュータプログラム製品。
[C64]
コンピュータ可読媒体は、前記ワイヤレスノードから位置情報を受信するためのコードをさらに備え、前記データのサブセットは、前記受信位置情報に依存する、
[C56]に記載のコンピュータプログラム製品。
[C65]
第1の装置から、少なくとも1つのワイヤレス広域ネットワーク技術と異なるワイヤレス広域ネットワーク技術を使用して、前記少なくとも1つのワイヤレス広域ネットワーク技術で情報を受信するためのコードと、
前記受信情報に基づいて第2の装置を通じて前記ワイヤレス広域ネットワーク技術のうちの1つを利用するためのコードと
を備える、コンピュータ可読媒体を備える
コンピュータプログラム製品。
[C66]
前記コンピュータ可読媒体は、
前記少なくとも1つのワイヤレス広域ネットワーク技術のうちの前記1つで追加情報のために前記第1の装置をクエリするためのコードと、
前記第1の装置から前記追加情報を受信するためのコードと
をさらに備え、前記ワイヤレス広域ネットワーク技術のうちの前記1つは、さらに前記受信した追加情報に基づいて利用される、
[C65]に記載のコンピュータプログラム製品。
[C67]
前記ワイヤレス広域ネットワーク技術のうちの前記1つは、前記受信した情報のみに基づいて利用される、
[C65]に記載のコンピュータプログラム製品。
[C68]
前記コンピュータ可読媒体は、追加情報を取得するために前記ワイヤレス広域ネットワーク技術のうちの前記1つに対してスキャンするためのコードをさらに備え、前記ワイヤレス広域ネットワーク技術のうちの前記1つは、さらに前記取得された追加情報に基づいて利用される、
[C65]に記載のコンピュータプログラム製品。
[C69]
前記コンピュータ可読媒体は、前記第1の装置に位置情報を提供することをさらに備え、前記第1の装置から受信した前記情報は、前記提供された位置情報に依存する、
[C65]に記載のコンピュータプログラム製品。
[C70]
複数のワイヤレス広域ネットワーク技術を使用するように構成されたワイヤレスインターフェースと、
前記ワイヤレス広域ネットワーク技術に接続された処理システムと
を備え、前記処理システムは、
前記ワイヤレスインターフェースを通じて、少なくとも1つのワイヤレス広域ネットワーク技術を使用して、ワイヤレス信号情報を受信し、
前記ワイヤレス信号情報に関連するデータを集約し、
前記ワイヤレスインターフェースと通じて、前記少なくとも1つのワイヤレス広域ネットワーク技術と異なるワイヤレス広域ネットワークを使用して、第1のワイヤレスノードに前記データのサブセットを提供する
ように構成される、ワイヤレス通信のための装置。
[C71]
前記データは、前記少なくとも1つのワイヤレス広域ネットワーク技術の各々のための第1の情報、前記少なくとも1つのワイヤレス広域ネットワーク技術のスペクトル内で利用可能なホワイトスペーススペクトルを動的に利用することに関連する第2の情報、前記少なくとも1つのワイヤレス広域ネットワークのために干渉回避を提供する能力に関連する第3の情報、のうちの少なくとも1つを備える、
[C70]に記載の装置。
[C72]
前記第1の情報は、プロトコルのネーム、前記プロトコルのためのスペクトル占有範囲、スペクトルロード、または検出された信号強度、のうちの少なくとも1つを備える、
[C71]に記載の装置。
[C73]
前記処理システムは、
前記少なくとも1つのワイヤレス広域ネットワーク技術のうちの1つのワイヤレス広域ネットワーク技術に関連する追加データのために前記第1のワイヤレスノードからクエリを受信し、
前記ワイヤレス広域ネットワーク技術を使用して、前記第1のワイヤレスノードに前記追加データを提供する
ようにさらに構成される、[C70]に記載の装置。
[C74]
前記追加データは、プロトコルのネーム、前記プロトコルのためのスペクトル占有範囲、スペクトルロード、検出された信号強度、前記1つのワイヤレス広域ネットワーク技術の周波数範囲内で動的に利用可能なホワイトスペースの周波数範囲、または前記1つのワイヤレス広域ネットワーク技術のための干渉回避情報、のうちの少なくとも1つの備える、
[C73]に記載の装置。
[C75]
前記処理システムは、
第2のワイヤレスノードから追加データを受信し、ここで、前記追加データは、前記少なくとも1つのワイヤレス広域ネットワーク技術と異なるワイヤレス広域ネットワーク技術のセットに関連される、
前記ワイヤレス広域ネットワーク技術を使用して、前記第1のワイヤレスノードに前記追加データのサブセットを提供する
ようにさらに構成され、前記ワイヤレス広域ネットワーク技術は、前記セット中の前記ワイヤレス広域ネットワーク技術と異なる、
[C70]に記載の装置。
[C76]
前記処理システムは前記ワイヤレス広域ネットワーク技術を使用して、前記第1のワイヤレスノードに、前記追加データの前記サブセットに対応する、信頼性測定値を提供するようにさらに構成される、
[C75]に記載の装置。
[C77]
前記処理システムは、前記追加データに類似するデータが他のワイヤレスノードから受信した場合、前記信頼性測定値を増加させるようにさらに構成される、
[C76]に記載の装置。
[C78]
前記処理システムは、前記第1のワイヤレスノードから位置情報を受信するようにさらに構成され、前記データの前記サブセットは、前記受信した位置情報に依存する、
[C70]に記載の装置。
[C79]
複数のワイヤレス広域ネットワーク技術を使用するように構成されたワイヤレスインターフェースと、
前記ワイヤレスインターフェースに接続する処理システムと
を備え、前記処理システムは、
前記ワイヤレスインターフェースを通じて、少なくとも1つのワイヤレスノードから少なくとも1つのワイヤレス広域ネットワーク技術に関連するデータを受信し、
前記ワイヤレスインターフェースを通じて、前記少なくとも1つのワイヤレス広域ネットワーク技術と異なるワイヤレス広域ネットワーク技術を使用して、ワイヤレスノードに前記データのサブセットを提供する
ように構成される、装置。
[C80]
前記データは、前記少なくとも1つのワイヤレス広域ネットワーク技術の各々のための第1の情報、前記少なくとも1つのワイヤレス広域ネットワーク技術のスペクトル内で利用可能なホワイトスペーススペクトルを動的に利用可能にすることに関連する第2の情報、あるいは前記少なくとも1つのワイヤレス広域ネットワーク技術のための干渉回避を提供する能力に関連する第3の情報、のうちの少なくとも1つを備える、
[C79]に記載の装置。
[C81]
前記第1の情報は、プロトコルのネーム、前記プロトコルのためのスペクトル占有範囲、スペクトルロード、あるいは検出された信号強度のうちの少なくとも1つを備える、
[C80]に記載の装置。
[C82]
前記処理システムは、
前記少なくとも1つのワイヤレス広域ネットワーク技術のうちの1つのワイヤレス広域ネットワーク技術に関連する追加データのために前記ワイヤレスノードからクエリを受信し、
前記ワイヤレス広域ネットワーク技術を使用して、前記ワイヤレスノードに前記追加データを提供する
ようにさらに構成される、[C79]に記載の装置。
[C83]
前記追加データは、プロトコルのネーム、前記プロトコルのためのスペクトル占有範囲、スペクトルロード、検出された信号強度、前記ワイヤレス広域ネットワーク技術の周波数範囲内の動的に利用可能なホワイトスペースの周波数範囲、あるいは前記1つのワイヤレス広域ネットワーク技術のための干渉回避情報、のうちの少なくとも1つを備える、
[C82]に記載の装置。
[C84]
前記処理システムは、
ワイヤレス広域ネットワーク技術のセットを使用して、ワイヤレス信号情報を受信し、
前記ワイヤレス信号情報に関連する追加データとともに前記受信データを集約し、
前記ワイヤレス広域ネットワーク技術を使用して、前記ワイヤレスノードに前記追加データのサブセットを提供する
ようにさらに構成される、[C79]に記載の装置。
[C85]
前記処理システムは、前記ワイヤレス広域ネットワーク技術を使用して、前記ワイヤレスノードに、前記データの前記サブセットに対応する、信頼性測定値を提供するようにさらに構成される、
[C79]に記載の装置。
[C86]
前記処理システムは、前記受信データに類似するデータが他のワイヤレスノードから受信された場合、前記信頼性測定値を増加させるようにさらに構成される、
[C85]に記載の装置。
[C87]
前記処理システムは、前記ワイヤレスノードから位置情報を受信するようにさらに構成され、前記データのサブセットは、前記受信位置情報に依存する、
[C79]に記載の装置。
[C88]
複数のワイヤレス広域ネットワーク技術を使用するように構成された無線インタフェースと
前記ワイヤレスインターフェースに接続する処理システムと
を備え、前記処理システムは、
前記ワイヤレスインターフェースを通じて、第1の装置から、少なくとも1つのワイヤレス広域ネットワーク技術と異なるワイヤレス広域ネットワーク技術を使用して、前記少なくとも1つのワイヤレス広域ネットワーク技術で情報を受信し、
前記ワイヤレスインターフェースを通じて、前記受信情報に基づいて第2の装置を通じて前記ワイヤレス広域ネットワーク技術のうちの1つを利用する
ように構成される、装置。
[C89]
前記処理システムは、
前記少なくとも1つのワイヤレス広域ネットワーク技術のうちの前記1つで追加情報のために前記第1の装置をクエリし、
前記第1の装置から前記追加情報を受信する
ようにさらに構成され、前記ワイヤレス広域ネットワーク技術のうちの前記1つは、さらに前記受信した追加情報に基づいて利用される、
[C88]に記載の装置。
[C90]
前記処理システムは、前記ワイヤレス広域ネットワーク技術のうちの前記1つは、前記受信した情報のみに基づいて利用される、
[C88]に記載の装置。
[C91]
前記処理システムは、追加情報を取得するために前記ワイヤレス広域ネットワーク技術のうちの前記1つに対してスキャンするようにさらに構成され、前記ワイヤレス広域ネットワーク技術のうちの前記1つは、さらに前記取得された追加情報に基づいて利用される、
[C88]に記載の装置。
[C92]
前記処理システムは、前記第1の装置に位置情報を提供するようにさらに構成され、前記第1の装置から受信した前記情報は、前記提供された位置情報に依存する、
[C88]に記載の装置。

Claims (92)

  1. 少なくとも1つのワイヤレス広域ネットワーク技術を使用して、ワイヤレス信号情報を受信することと、
    前記ワイヤレス信号情報に関連するデータを集約することと、
    前記少なくとも1つのワイヤレス広域ネットワーク技術と異なるワイヤレス広域ネットワークを使用して、第1のワイヤレスノードに前記データのサブセットを提供することと
    を備える、ワイヤレス通信のための方法。
  2. 前記データは、前記少なくとも1つのワイヤレス広域ネットワーク技術の各々のための第1の情報、前記少なくとも1つのワイヤレス広域ネットワーク技術のスペクトル内で利用可能なホワイトスペーススペクトルを動的に利用することに関連する第2の情報、前記少なくとも1つのワイヤレス広域ネットワークのために干渉回避を提供する能力に関連する第3の情報、のうちの少なくとも1つを備える、
    請求項1に記載の方法。
  3. 前記第1の情報は、プロトコルのネーム、前記プロトコルのためのスペクトル占有範囲、スペクトルロード、または検出された信号強度、のうちの少なくとも1つを備える、
    請求項2に記載の方法。
  4. 前記少なくとも1つのワイヤレス広域ネットワーク技術のうちの1つのワイヤレス広域ネットワーク技術に関連する追加データのために前記第1のワイヤレスノードからクエリを受信することと、
    前記ワイヤレス広域ネットワーク技術を使用して、前記第1のワイヤレスノードに前記追加データを提供することと
    をさらに備える、請求項1に記載の方法。
  5. 前記追加データは、プロトコルのネーム、前記プロトコルのためのスペクトル占有範囲、スペクトルロード、検出された信号強度、前記1つのワイヤレス広域ネットワーク技術の周波数範囲内で動的に利用可能なホワイトスペースの周波数範囲、または前記1つのワイヤレス広域ネットワーク技術のための干渉回避情報、のうちの少なくとも1つの備える、
    請求項4に記載の方法。
  6. 第2のワイヤレスノードから追加データを受信することと、ここで、前記追加データは、前記少なくとも1つのワイヤレス広域ネットワーク技術と異なるワイヤレス広域ネットワーク技術のセットに関連する、
    前記ワイヤレス広域ネットワーク技術を使用して、前記第1のワイヤレスノードに前記追加データのサブセットを提供することと
    をさらに備え、前記ワイヤレス広域ネットワーク技術は、前記セット中の前記ワイヤレス広域ネットワーク技術と異なる、
    請求項1に記載の方法。
  7. 前記ワイヤレス広域ネットワーク技術を使用して、前記第1のワイヤレスノードに、前記追加データの前記サブセットに対応する、信頼性測定値を提供することをさらに備える、
    請求項6に記載の方法。
  8. 前記追加データに類似するデータが他のワイヤレスノードから受信した場合、前記信頼性測定値を増加させることをさらに備える、
    請求項7に記載の方法。
  9. 前記第1のワイヤレスノードから位置情報を受信することをさらに備え、前記データの前記サブセットは、前記受信した位置情報に依存する、
    請求項1に記載の方法。
  10. 少なくとも1つのワイヤレスノードから少なくとも1つのワイヤレス広域ネットワーク技術に関連するデータを受信することと、
    前記少なくとも1つのワイヤレス広域ネットワーク技術と異なるワイヤレス広域ネットワーク技術を使用して、ワイヤレスノードに前記データのサブセットを提供することと
    を備える、ワイヤレス通信のための方法。
  11. 前記データは、前記少なくとも1つのワイヤレス広域ネットワーク技術の各々のための第1の情報、前記少なくとも1つのワイヤレス広域ネットワーク技術のスペクトル内で利用可能なホワイトスペーススペクトルを動的に利用可能にすることに関連する第2の情報、あるいは前記少なくとも1つのワイヤレス広域ネットワーク技術のための干渉回避を提供する能力に関連する第3の情報、のうちの少なくとも1つを備える、
    請求項10に記載の方法。
  12. 前記第1の情報は、プロトコルのネーム、前記プロトコルのためのスペクトル占有範囲、スペクトルロード、あるいは検出された信号強度、のうちの少なくとも1つを備える、
    請求項10に記載の方法。
  13. 前記少なくとも1つのワイヤレス広域ネットワーク技術のうちの1つのワイヤレス広域ネットワーク技術に関連する追加データのために前記ワイヤレスノードからクエリを受信することと、
    前記ワイヤレス広域ネットワーク技術を使用して、前記ワイヤレスノードに前記追加データを提供することと
    をさらに備える、請求項10に記載の方法。
  14. 前記追加データは、プロトコルのネーム、前記プロトコルのためのスペクトル占有範囲、スペクトルロード、検出された信号強度、前記ワイヤレス広域ネットワーク技術の周波数範囲内の動的に利用可能なホワイトスペースの周波数範囲、あるいは前記1つのワイヤレス広域ネットワーク技術のための干渉回避情報、のうちの少なくとも1つを備える、
    請求項13に記載の方法。
  15. ワイヤレス広域ネットワーク技術のセットを使用して、ワイヤレス信号情報を受信することと、
    前記ワイヤレス信号情報に関連する追加データとともに前記受信データを集約することと、
    前記ワイヤレス広域ネットワーク技術を使用して、前記ワイヤレスノードに前記追加データのサブセットを提供することと
    をさらに備える、請求項10に記載の方法。
  16. 前記ワイヤレス広域ネットワーク技術を使用して、前記ワイヤレスノードに、前記データの前記サブセットに対応する、信頼性測定値を提供することをさらに備える、
    請求項10に記載の方法。
  17. 前記受信データに類似するデータが他のワイヤレスノードから受信された場合、前記信頼性測定値を増加させることをさらに備える、
    請求項16に記載の方法。
  18. 前記ワイヤレスノードから位置情報を受信することをさらに備え、前記データのサブセットは、前記受信位置情報に依存する、
    請求項10に記載の方法。
  19. 第1の装置から、少なくとも1つのワイヤレス広域ネットワーク技術と異なるワイヤレス広域ネットワーク技術を使用して、前記少なくとも1つのワイヤレス広域ネットワーク技術で情報を受信することと、
    前記受信情報に基づいて第2の装置を通じて前記ワイヤレス広域ネットワーク技術のうちの1つを利用することと
    を備える、方法。
  20. 前記少なくとも1つのワイヤレス広域ネットワーク技術のうちの前記1つで追加情報のために前記第1の装置をクエリすることと、
    前記第1の装置から前記追加情報を受信することと
    をさらに備え、前記ワイヤレス広域ネットワーク技術のうちの前記1つは、さらに前記受信した追加情報に基づいて利用される、
    請求項19に記載の方法。
  21. 前記ワイヤレス広域ネットワーク技術のうちの前記1つは、前記受信した情報のみに基づいて利用される、
    請求項19に記載の方法。
  22. 追加情報を取得するために前記ワイヤレス広域ネットワーク技術のうちの前記1つに対してスキャンすることをさらに備え、前記ワイヤレス広域ネットワーク技術のうちの前記1つは、さらに前記取得された追加情報に基づいて利用される、
    請求項19に記載の方法。
  23. 前記第1の装置に位置情報を提供することをさらに備え、前記第1の装置から受信した前記情報は、前記提供された位置情報に依存する、
    請求項19に記載の方法。
  24. 少なくとも1つのワイヤレス広域ネットワーク技術を使用して、ワイヤレス信号情報を受信するための手段と、
    前記ワイヤレス信号情報に関連するデータを集約するための手段と、
    前記少なくとも1つのワイヤレス広域ネットワーク技術と異なるワイヤレス広域ネットワークを使用して、第1のワイヤレスノードに前記データのサブセットを提供するための手段と
    を備える、ワイヤレス通信のための装置。
  25. 前記データは、前記少なくとも1つのワイヤレス広域ネットワーク技術の各々のための第1の情報、前記少なくとも1つのワイヤレス広域ネットワーク技術のスペクトル内で利用可能なホワイトスペーススペクトルを動的に利用することに関連する第2の情報、前記少なくとも1つのワイヤレス広域ネットワークのために干渉回避を提供する能力に関連する第3の情報、のうちの少なくとも1つを備える、
    請求項24に記載の装置。
  26. 前記第1の情報は、プロトコルのネーム、前記プロトコルのためのスペクトル占有範囲、スペクトルロード、または検出された信号強度、のうちの少なくとも1つを備える、
    請求項25に記載の装置。
  27. 前記少なくとも1つのワイヤレス広域ネットワーク技術のうちの1つのワイヤレス広域ネットワーク技術に関連する追加データのために前記第1のワイヤレスノードからクエリを受信するための手段と、
    前記ワイヤレス広域ネットワーク技術を使用して、前記第1のワイヤレスノードに前記追加データを提供するための手段と
    をさらに備える、請求項24に記載の装置。
  28. 前記追加データは、プロトコルのネーム、前記プロトコルのためのスペクトル占有範囲、スペクトルロード、検出された信号強度、前記1つのワイヤレス広域ネットワーク技術の周波数範囲内で動的に利用可能なホワイトスペースの周波数範囲、または前記1つのワイヤレス広域ネットワーク技術のための干渉回避情報、のうちの少なくとも1つの備える、
    請求項27に記載の装置。
  29. 第2のワイヤレスノードから追加データを受信するための手段と、ここで、前記追加データは、前記少なくとも1つのワイヤレス広域ネットワーク技術と異なるワイヤレス広域ネットワーク技術のセットに関連する、
    前記ワイヤレス広域ネットワーク技術を使用して、前記第1のワイヤレスノードに前記追加データのサブセットを提供するための手段と
    をさらに備え、前記ワイヤレス広域ネットワーク技術は、前記セット中の前記ワイヤレス広域ネットワーク技術と異なる、
    請求項24に記載の装置。
  30. 前記ワイヤレス広域ネットワーク技術を使用して、前記第1のワイヤレスノードに、前記追加データの前記サブセットに対応する、信頼性測定値を提供するための手段をさらに備える、
    請求項29に記載の装置。
  31. 前記追加データに類似するデータが他のワイヤレスノードから受信した場合、前記信頼性測定値を増加させるための手段をさらに備える、
    請求項30に記載の装置。
  32. 前記第1のワイヤレスノードから位置情報を受信するための手段をさらに備え、前記データの前記サブセットは、前記受信した位置情報に依存する、
    請求項24に記載の装置。
  33. 少なくとも1つのワイヤレスノードから少なくとも1つのワイヤレス広域ネットワーク技術に関連するデータを受信するための手段と、
    前記少なくとも1つのワイヤレス広域ネットワーク技術と異なるワイヤレス広域ネットワーク技術を使用して、ワイヤレスノードに前記データのサブセットを提供するための手段と
    を備える、ワイヤレス通信のための装置。
  34. 前記データは、前記少なくとも1つのワイヤレス広域ネットワーク技術の各々のための第1の情報、前記少なくとも1つのワイヤレス広域ネットワーク技術のスペクトル内で利用可能なホワイトスペーススペクトルを動的に利用可能にすることに関連する第2の情報、あるいは前記少なくとも1つのワイヤレス広域ネットワーク技術のための干渉回避を提供する能力に関連する第3の情報、のうちの少なくとも1つを備える、
    請求項33に記載の装置。
  35. 前記第1の情報は、プロトコルのネーム、前記プロトコルのためのスペクトル占有範囲、スペクトルロード、あるいは検出された信号強度、のうちの少なくとも1つを備える、
    請求項34に記載の装置。
  36. 前記少なくとも1つのワイヤレス広域ネットワーク技術のうちの1つのワイヤレス広域ネットワーク技術に関連する追加データのために前記ワイヤレスノードからクエリを受信するための手段と、
    前記ワイヤレス広域ネットワーク技術を使用して、前記ワイヤレスノードに前記追加データを提供するための手段と
    をさらに備える、請求項33に記載の装置。
  37. 前記追加データは、プロトコルのネーム、前記プロトコルのためのスペクトル占有範囲、スペクトルロード、検出された信号強度、前記ワイヤレス広域ネットワーク技術の周波数範囲内の動的に利用可能なホワイトスペースの周波数範囲、あるいは前記1つのワイヤレス広域ネットワーク技術のための干渉回避情報、のうちの少なくとも1つを備える、
    請求項36に記載の装置。
  38. ワイヤレス広域ネットワーク技術のセットを使用して、ワイヤレス信号情報を受信するための手段と、

    前記ワイヤレス信号情報に関連する追加データとともに前記受信データを集約するための手段と、
    前記ワイヤレス広域ネットワーク技術を使用して、前記ワイヤレスノードに前記追加データのサブセットを提供するための手段と
    をさらに備える、請求項33に記載の装置。
  39. 前記ワイヤレス広域ネットワーク技術を使用して、前記ワイヤレスノードに、前記データの前記サブセットに対応する、信頼性測定値を提供するための手段をさらに備える、
    請求項33に記載の装置。
  40. 前記受信データに類似するデータが他のワイヤレスノードから受信された場合、前記信頼性測定値を増加させるための手段をさらに備える、
    請求項39に記載の装置。
  41. 前記ワイヤレスノードから位置情報を受信するための手段をさらに備え、前記データのサブセットは、前記受信位置情報に依存する、
    請求項33に記載の装置。
  42. 第1の装置から、少なくとも1つのワイヤレス広域ネットワーク技術と異なるワイヤレス広域ネットワーク技術を使用して、前記少なくとも1つのワイヤレス広域ネットワーク技術で情報を受信するための手段と、
    前記受信情報に基づいて第2の装置を通じて前記ワイヤレス広域ネットワーク技術のうちの1つを利用するための手段と
    を備える、装置。
  43. 前記少なくとも1つのワイヤレス広域ネットワーク技術のうちの前記1つで追加情報のために前記第1の装置をクエリするための手段と、
    前記第1の装置から前記追加情報を受信するための手段と
    をさらに備え、前記ワイヤレス広域ネットワーク技術のうちの前記1つは、さらに前記受信した追加情報に基づいて利用される、
    請求項42に記載の装置。
  44. 前記ワイヤレス広域ネットワーク技術のうちの前記1つは、前記受信した情報のみに基づいて利用される、
    請求項42に記載の装置。
  45. 追加情報を取得するために前記ワイヤレス広域ネットワーク技術のうちの前記1つに対してスキャンするための手段をさらに備え、前記ワイヤレス広域ネットワーク技術のうちの前記1つは、さらに前記取得された追加情報に基づいて利用される、
    請求項42に記載の装置。
  46. 前記第1の装置に位置情報を提供するための手段をさらに備え、前記第1の装置から受信した前記情報は、前記提供された位置情報に依存する、
    請求項42に記載の装置。
  47. 少なくとも1つのワイヤレス広域ネットワーク技術を使用して、ワイヤレス信号情報を受信するためのコードと、
    前記ワイヤレス信号情報に関連するデータを集約するためのコードと、
    前記少なくとも1つのワイヤレス広域ネットワーク技術と異なるワイヤレス広域ネットワークを使用して、第1のワイヤレスノードに前記データのサブセットを提供するためのコードと
    を備える、コンピュータ可読媒体を備える
    コンピュータプラム製品。
  48. 前記データは、前記少なくとも1つのワイヤレス広域ネットワーク技術の各々のための第1の情報、前記少なくとも1つのワイヤレス広域ネットワーク技術のスペクトル内で利用可能なホワイトスペーススペクトルを動的に利用することに関連する第2の情報、前記少なくとも1つのワイヤレス広域ネットワークのために干渉回避を提供する能力に関連する第3の情報、のうちの少なくとも1つを備える、
    請求項47に記載のコンピュータプログラム製品。
  49. 前記第1の情報は、プロトコルのネーム、前記プロトコルのためのスペクトル占有範囲、スペクトルロード、または検出された信号強度、のうちの少なくとも1つを備える、
    請求項48に記載のコンピュータプログラム製品。
  50. 前記コンピュータ可読媒体は、
    前記少なくとも1つのワイヤレス広域ネットワーク技術のうちの1つのワイヤレス広域ネットワーク技術に関連する追加データのために前記第1のワイヤレスノードからクエリを受信するためのコードと、
    前記ワイヤレス広域ネットワーク技術を使用して、前記第1のワイヤレスノードに前記追加データを提供するためのコードと
    をさらに備える、請求項47に記載のコンピュータプログラム製品。
  51. 前記追加データは、プロトコルのネーム、前記プロトコルのためのスペクトル占有範囲、スペクトルロード、検出された信号強度、前記1つのワイヤレス広域ネットワーク技術の周波数範囲内で動的に利用可能なホワイトスペースの周波数範囲、または前記1つのワイヤレス広域ネットワーク技術のための干渉回避情報、のうちの少なくとも1つの備える、
    請求項50に記載のコンピュータプログラム製品。
  52. 前記コンピュータ可読媒体は、
    第2のワイヤレスノードから追加データを受信するためのコードと、ここで、前記追加データは、前記少なくとも1つのワイヤレス広域ネットワーク技術と異なるワイヤレス広域ネットワーク技術のセットに関連される、
    前記ワイヤレス広域ネットワーク技術を使用して、前記第1のワイヤレスノードに前記追加データのサブセットを提供するためのコードと
    をさらに備え、前記ワイヤレス広域ネットワーク技術は、前記セット中の前記ワイヤレス広域ネットワーク技術と異なる、
    請求項47に記載のコンピュータプログラム製品。
  53. 前記コンピュータ可読媒体は、前記ワイヤレス広域ネットワーク技術を使用して、前記第1のワイヤレスノードに、前記追加データの前記サブセットに対応する、信頼性測定値を提供するためのコードをさらに備える、
    請求項52に記載のコンピュータプログラム製品。
  54. 前記コンピュータ可読媒体は、前記追加データに類似するデータが他のワイヤレスノードから受信した場合、前記信頼性測定値を増加させるためのコードをさらに備える、
    請求項53に記載のコンピュータプログラム製品。
  55. 前記コンピュータ可読媒体は、前記第1のワイヤレスノードから位置情報を受信するためのコードをさらに備え、前記データの前記サブセットは、前記受信した位置情報に依存する、
    請求項47に記載のコンピュータプログラム製品。
  56. 少なくとも1つのワイヤレスノードから少なくとも1つのワイヤレス広域ネットワーク技術に関連するデータを受信するためのコードと、
    前記少なくとも1つのワイヤレス広域ネットワーク技術と異なるワイヤレス広域ネットワーク技術を使用して、ワイヤレスノードに前記データのサブセットを提供するためのコードと
    を備える、コンピュータ可読媒体を備える
    コンピュータプログラム製品。
  57. 前記データは、前記少なくとも1つのワイヤレス広域ネットワーク技術の各々のための第1の情報、前記少なくとも1つのワイヤレス広域ネットワーク技術のスペクトル内で利用可能なホワイトスペーススペクトルを動的に利用可能にすることに関連する第2の情報、あるいは前記少なくとも1つのワイヤレス広域ネットワーク技術のための干渉回避を提供する能力に関連する第3の情報、のうちの少なくとも1つを備える、
    請求項56に記載のコンピュータプログラム製品。
  58. 前記第1の情報は、プロトコルのネーム、前記プロトコルのためのスペクトル占有範囲、スペクトルロード、あるいは検出された信号強度、のうちの少なくとも1つを備える、
    請求項57に記載のコンピュータプログラム製品。
  59. 前記コンピュータ可読媒体は、
    前記少なくとも1つのワイヤレス広域ネットワーク技術のうちの1つのワイヤレス広域ネットワーク技術に関連する追加データのために前記ワイヤレスノードからクエリを受信するためのコードと、
    前記ワイヤレス広域ネットワーク技術を使用して、前記ワイヤレスノードに前記追加データを提供するためのコードと
    をさらに備える、
    請求項56に記載のコンピュータプログラム製品。
  60. 前記追加データは、プロトコルのネーム、前記プロトコルのためのスペクトル占有範囲、スペクトルロード、検出された信号強度、前記ワイヤレス広域ネットワーク技術の周波数範囲内の動的に利用可能なホワイトスペースの周波数範囲、あるいは前記1つのワイヤレス広域ネットワーク技術のための干渉回避情報、のうちの少なくとも1つを備える、
    請求項59に記載のコンピュータプログラム製品。
  61. コンピュータ可読媒体は、
    ワイヤレス広域ネットワーク技術のセットを使用して、ワイヤレス信号情報を受信するためのコードと、
    前記ワイヤレス信号情報に関連する追加データとともに前記受信データを集約するためのコードと、
    前記ワイヤレス広域ネットワーク技術を使用して、前記ワイヤレスノードに前記追加データのサブセットを提供するコードと
    をさらに備える、請求項56に記載のコンピュータプログラム製品。
  62. 前記コンピュータ可読媒体は、前記ワイヤレス広域ネットワーク技術を使用して、前記ワイヤレスノードに、前記データの前記サブセットに対応する、信頼性測定値を提供するためのコードをさらに備える、
    請求項56に記載のコンピュータプログラム製品。
  63. 前記コンピュータ可読媒体は、前記受信データに類似するデータが他のワイヤレスノードから受信された場合、前記信頼性測定値を増加させるコードをさらに備える、
    請求項62に記載のコンピュータプログラム製品。
  64. コンピュータ可読媒体は、前記ワイヤレスノードから位置情報を受信するためのコードをさらに備え、前記データのサブセットは、前記受信位置情報に依存する、
    請求項56に記載のコンピュータプログラム製品。
  65. 第1の装置から、少なくとも1つのワイヤレス広域ネットワーク技術と異なるワイヤレス広域ネットワーク技術を使用して、前記少なくとも1つのワイヤレス広域ネットワーク技術で情報を受信するためのコードと、
    前記受信情報に基づいて第2の装置を通じて前記ワイヤレス広域ネットワーク技術のうちの1つを利用するためのコードと
    を備える、コンピュータ可読媒体を備える
    コンピュータプログラム製品。
  66. 前記コンピュータ可読媒体は、
    前記少なくとも1つのワイヤレス広域ネットワーク技術のうちの前記1つで追加情報のために前記第1の装置をクエリするためのコードと、
    前記第1の装置から前記追加情報を受信するためのコードと
    をさらに備え、前記ワイヤレス広域ネットワーク技術のうちの前記1つは、さらに前記受信した追加情報に基づいて利用される、
    請求項65に記載のコンピュータプログラム製品。
  67. 前記ワイヤレス広域ネットワーク技術のうちの前記1つは、前記受信した情報のみに基づいて利用される、
    請求項65に記載のコンピュータプログラム製品。
  68. 前記コンピュータ可読媒体は、追加情報を取得するために前記ワイヤレス広域ネットワーク技術のうちの前記1つに対してスキャンするためのコードをさらに備え、前記ワイヤレス広域ネットワーク技術のうちの前記1つは、さらに前記取得された追加情報に基づいて利用される、
    請求項65に記載のコンピュータプログラム製品。
  69. 前記コンピュータ可読媒体は、前記第1の装置に位置情報を提供することをさらに備え、前記第1の装置から受信した前記情報は、前記提供された位置情報に依存する、
    請求項65に記載のコンピュータプログラム製品。
  70. 複数のワイヤレス広域ネットワーク技術を使用するように構成されたワイヤレスインターフェースと、
    前記ワイヤレス広域ネットワーク技術に接続された処理システムと
    を備え、前記処理システムは、
    前記ワイヤレスインターフェースを通じて、少なくとも1つのワイヤレス広域ネットワーク技術を使用して、ワイヤレス信号情報を受信し、
    前記ワイヤレス信号情報に関連するデータを集約し、
    前記ワイヤレスインターフェースと通じて、前記少なくとも1つのワイヤレス広域ネットワーク技術と異なるワイヤレス広域ネットワークを使用して、第1のワイヤレスノードに前記データのサブセットを提供する
    ように構成される、ワイヤレス通信のための装置。
  71. 前記データは、前記少なくとも1つのワイヤレス広域ネットワーク技術の各々のための第1の情報、前記少なくとも1つのワイヤレス広域ネットワーク技術のスペクトル内で利用可能なホワイトスペーススペクトルを動的に利用することに関連する第2の情報、前記少なくとも1つのワイヤレス広域ネットワークのために干渉回避を提供する能力に関連する第3の情報、のうちの少なくとも1つを備える、
    請求項70に記載の装置。
  72. 前記第1の情報は、プロトコルのネーム、前記プロトコルのためのスペクトル占有範囲、スペクトルロード、または検出された信号強度、のうちの少なくとも1つを備える、
    請求項71に記載の装置。
  73. 前記処理システムは、
    前記少なくとも1つのワイヤレス広域ネットワーク技術のうちの1つのワイヤレス広域ネットワーク技術に関連する追加データのために前記第1のワイヤレスノードからクエリを受信し、
    前記ワイヤレス広域ネットワーク技術を使用して、前記第1のワイヤレスノードに前記追加データを提供する
    ようにさらに構成される、請求項70に記載の装置。
  74. 前記追加データは、プロトコルのネーム、前記プロトコルのためのスペクトル占有範囲、スペクトルロード、検出された信号強度、前記1つのワイヤレス広域ネットワーク技術の周波数範囲内で動的に利用可能なホワイトスペースの周波数範囲、または前記1つのワイヤレス広域ネットワーク技術のための干渉回避情報、のうちの少なくとも1つの備える、
    請求項73に記載の装置。
  75. 前記処理システムは、
    第2のワイヤレスノードから追加データを受信し、ここで、前記追加データは、前記少なくとも1つのワイヤレス広域ネットワーク技術と異なるワイヤレス広域ネットワーク技術のセットに関連される、
    前記ワイヤレス広域ネットワーク技術を使用して、前記第1のワイヤレスノードに前記追加データのサブセットを提供する
    ようにさらに構成され、前記ワイヤレス広域ネットワーク技術は、前記セット中の前記ワイヤレス広域ネットワーク技術と異なる、
    請求項70に記載の装置。
  76. 前記処理システムは前記ワイヤレス広域ネットワーク技術を使用して、前記第1のワイヤレスノードに、前記追加データの前記サブセットに対応する、信頼性測定値を提供するようにさらに構成される、
    請求項75に記載の装置。
  77. 前記処理システムは、前記追加データに類似するデータが他のワイヤレスノードから受信した場合、前記信頼性測定値を増加させるようにさらに構成される、
    請求項76に記載の装置。
  78. 前記処理システムは、前記第1のワイヤレスノードから位置情報を受信するようにさらに構成され、前記データの前記サブセットは、前記受信した位置情報に依存する、
    請求項70に記載の装置。
  79. 複数のワイヤレス広域ネットワーク技術を使用するように構成されたワイヤレスインターフェースと、
    前記ワイヤレスインターフェースに接続する処理システムと
    を備え、前記処理システムは、
    前記ワイヤレスインターフェースを通じて、少なくとも1つのワイヤレスノードから少なくとも1つのワイヤレス広域ネットワーク技術に関連するデータを受信し、
    前記ワイヤレスインターフェースを通じて、前記少なくとも1つのワイヤレス広域ネットワーク技術と異なるワイヤレス広域ネットワーク技術を使用して、ワイヤレスノードに前記データのサブセットを提供する
    ように構成される、装置。
  80. 前記データは、前記少なくとも1つのワイヤレス広域ネットワーク技術の各々のための第1の情報、前記少なくとも1つのワイヤレス広域ネットワーク技術のスペクトル内で利用可能なホワイトスペーススペクトルを動的に利用可能にすることに関連する第2の情報、あるいは前記少なくとも1つのワイヤレス広域ネットワーク技術のための干渉回避を提供する能力に関連する第3の情報、のうちの少なくとも1つを備える、
    請求項79に記載の装置。
  81. 前記第1の情報は、プロトコルのネーム、前記プロトコルのためのスペクトル占有範囲、スペクトルロード、あるいは検出された信号強度のうちの少なくとも1つを備える、
    請求項80に記載の装置。
  82. 前記処理システムは、
    前記少なくとも1つのワイヤレス広域ネットワーク技術のうちの1つのワイヤレス広域ネットワーク技術に関連する追加データのために前記ワイヤレスノードからクエリを受信し、
    前記ワイヤレス広域ネットワーク技術を使用して、前記ワイヤレスノードに前記追加データを提供する
    ようにさらに構成される、請求項79に記載の装置。
  83. 前記追加データは、プロトコルのネーム、前記プロトコルのためのスペクトル占有範囲、スペクトルロード、検出された信号強度、前記ワイヤレス広域ネットワーク技術の周波数範囲内の動的に利用可能なホワイトスペースの周波数範囲、あるいは前記1つのワイヤレス広域ネットワーク技術のための干渉回避情報、のうちの少なくとも1つを備える、
    請求項82に記載の装置。
  84. 前記処理システムは、
    ワイヤレス広域ネットワーク技術のセットを使用して、ワイヤレス信号情報を受信し、
    前記ワイヤレス信号情報に関連する追加データとともに前記受信データを集約し、
    前記ワイヤレス広域ネットワーク技術を使用して、前記ワイヤレスノードに前記追加データのサブセットを提供する
    ようにさらに構成される、請求項79に記載の装置。
  85. 前記処理システムは、前記ワイヤレス広域ネットワーク技術を使用して、前記ワイヤレスノードに、前記データの前記サブセットに対応する、信頼性測定値を提供するようにさらに構成される、
    請求項79に記載の装置。
  86. 前記処理システムは、前記受信データに類似するデータが他のワイヤレスノードから受信された場合、前記信頼性測定値を増加させるようにさらに構成される、
    請求項85に記載の装置。
  87. 前記処理システムは、前記ワイヤレスノードから位置情報を受信するようにさらに構成され、前記データのサブセットは、前記受信位置情報に依存する、
    請求項79に記載の装置。
  88. 複数のワイヤレス広域ネットワーク技術を使用するように構成された無線インタフェースと
    前記ワイヤレスインターフェースに接続する処理システムと
    を備え、前記処理システムは、
    前記ワイヤレスインターフェースを通じて、第1の装置から、少なくとも1つのワイヤレス広域ネットワーク技術と異なるワイヤレス広域ネットワーク技術を使用して、前記少なくとも1つのワイヤレス広域ネットワーク技術で情報を受信し、
    前記ワイヤレスインターフェースを通じて、前記受信情報に基づいて第2の装置を通じて前記ワイヤレス広域ネットワーク技術のうちの1つを利用する
    ように構成される、装置。
  89. 前記処理システムは、
    前記少なくとも1つのワイヤレス広域ネットワーク技術のうちの前記1つで追加情報のために前記第1の装置をクエリし、
    前記第1の装置から前記追加情報を受信する
    ようにさらに構成され、前記ワイヤレス広域ネットワーク技術のうちの前記1つは、さらに前記受信した追加情報に基づいて利用される、
    請求項88に記載の装置。
  90. 前記処理システムは、前記ワイヤレス広域ネットワーク技術のうちの前記1つは、前記受信した情報のみに基づいて利用される、
    請求項88に記載の装置。
  91. 前記処理システムは、追加情報を取得するために前記ワイヤレス広域ネットワーク技術のうちの前記1つに対してスキャンするようにさらに構成され、前記ワイヤレス広域ネットワーク技術のうちの前記1つは、さらに前記取得された追加情報に基づいて利用される、
    請求項88に記載の装置。
  92. 前記処理システムは、前記第1の装置に位置情報を提供するようにさらに構成され、前記第1の装置から受信した前記情報は、前記提供された位置情報に依存する、
    請求項88に記載の装置。
JP2013240396A 2009-10-12 2013-11-20 ワイヤレス広域ネットワーク技術の集約およびブロードキャスト Expired - Fee Related JP5792265B2 (ja)

Applications Claiming Priority (2)

Application Number Priority Date Filing Date Title
US12/577,541 US9094892B2 (en) 2009-10-12 2009-10-12 Wireless wide area network technology aggregation and broadcast
US12/577,541 2009-10-12

Related Parent Applications (1)

Application Number Title Priority Date Filing Date
JP2012534268A Division JP5774593B2 (ja) 2009-10-12 2010-10-11 ワイヤレス広域ネットワーク技術の集約およびブロードキャスト

Publications (3)

Publication Number Publication Date
JP2014075813A true JP2014075813A (ja) 2014-04-24
JP2014075813A5 JP2014075813A5 (ja) 2014-07-31
JP5792265B2 JP5792265B2 (ja) 2015-10-07

Family

ID=43243713

Family Applications (2)

Application Number Title Priority Date Filing Date
JP2012534268A Expired - Fee Related JP5774593B2 (ja) 2009-10-12 2010-10-11 ワイヤレス広域ネットワーク技術の集約およびブロードキャスト
JP2013240396A Expired - Fee Related JP5792265B2 (ja) 2009-10-12 2013-11-20 ワイヤレス広域ネットワーク技術の集約およびブロードキャスト

Family Applications Before (1)

Application Number Title Priority Date Filing Date
JP2012534268A Expired - Fee Related JP5774593B2 (ja) 2009-10-12 2010-10-11 ワイヤレス広域ネットワーク技術の集約およびブロードキャスト

Country Status (7)

Country Link
US (1) US9094892B2 (ja)
EP (1) EP2489222B1 (ja)
JP (2) JP5774593B2 (ja)
KR (1) KR101434854B1 (ja)
CN (1) CN102577521B (ja)
TW (1) TW201136381A (ja)
WO (1) WO2011049768A1 (ja)

Families Citing this family (9)

* Cited by examiner, † Cited by third party
Publication number Priority date Publication date Assignee Title
US9655003B2 (en) * 2009-03-19 2017-05-16 Georgia Tech Research Corporation Systems and methods for improved wireless interface aggregation
US9635603B2 (en) * 2012-11-21 2017-04-25 Intel Corporation Systems and methods for implementing multiple band service discovery
US20140369329A1 (en) * 2013-06-18 2014-12-18 Qualcomm Incorporated Lte and external wifi bandwidth aggregation
US9143968B1 (en) * 2014-07-18 2015-09-22 Cognitive Systems Corp. Wireless spectrum monitoring and analysis
US9143413B1 (en) 2014-10-22 2015-09-22 Cognitive Systems Corp. Presenting wireless-spectrum usage information
US9535155B2 (en) 2015-02-04 2017-01-03 Cognitive Systems Corp. Locating the source of a wireless signal
US9860763B2 (en) 2015-03-25 2018-01-02 Cognitive Systems Corp. Analyzing wireless network performance
US9344907B1 (en) 2015-06-04 2016-05-17 Cognitive Systems Corp. Analyzing wireless signal propagation
EP3498047B1 (en) * 2016-08-12 2025-06-11 Apple Inc. Multiple mac entities per user equipment

Citations (5)

* Cited by examiner, † Cited by third party
Publication number Priority date Publication date Assignee Title
JPH10200502A (ja) * 1997-01-07 1998-07-31 N T T Ido Tsushinmo Kk Cdma移動通信システムにおけるデータ伝送方法およびcdma移動通信システムと移動局装置と基地局装置
JP2006135991A (ja) * 2004-11-04 2006-05-25 Samsung Electronics Co Ltd 広帯域無線接続通信システムにおける異種周辺基地局情報を用いる通信システム及び方法
JP2007088940A (ja) * 2005-09-22 2007-04-05 Toshiba Corp コグニティブ通信システムおよびコグニティブ通信方法
EP1942691A1 (en) * 2005-10-25 2008-07-09 Vodafone Group PLC System and method for assisting a mobile terminal in reselecting or transferring cells between different technologies
JP2009529838A (ja) * 2006-03-09 2009-08-20 クゥアルコム・インコーポレイテッド マルチネットワークカバレッジのためのシステムおよび方法

Family Cites Families (19)

* Cited by examiner, † Cited by third party
Publication number Priority date Publication date Assignee Title
US6061559A (en) 1998-03-26 2000-05-09 Telefonaktiebolaget L M Ericsson (Publ) System and method for reconnecting a disconnected low priority call in a mobile telecommunications network
US6961583B2 (en) * 1999-05-24 2005-11-01 Samsung Electronics Co., Ltd. Wireless network system selection mechanism within a mobile station
US6748246B1 (en) * 2000-07-05 2004-06-08 Telefonaktiebolaget Lm Ericsson (Publ) Method and apparatus for selecting an access technology in a multi-mode terminal
JP2002281540A (ja) 2001-03-19 2002-09-27 Hitachi Ltd 位置測定を行う移動端末装置
JP2002310692A (ja) 2002-01-09 2002-10-23 Hitachi Ltd 位置測定を行う移動端末装置
JP3877158B2 (ja) 2002-10-31 2007-02-07 ソニー・エリクソン・モバイルコミュニケーションズ株式会社 周波数偏移検出回路及び周波数偏移検出方法、携帯通信端末
DE60319975T2 (de) * 2003-07-31 2009-05-07 Nokia Siemens Networks Gmbh & Co.Kg Verfahren zur Verwaltung von gemeinsame Funkressourcen in einem zellularen Telefonnetzwerk
KR100560845B1 (ko) * 2003-10-09 2006-03-13 에스케이 텔레콤주식회사 Mm-mb 단말기의 모뎀 간 절체 방법
KR100726184B1 (ko) * 2005-11-28 2007-06-11 한국전자통신연구원 이종 무선 네트워크간 핸드오버를 위한 무선 네트워크 탐지방법, 이를 구현하는 다중모드 단말 및 연동 서비스 서버
US7747251B1 (en) * 2006-01-23 2010-06-29 Sprint Spectrum L.P. Dynamic selection by a mobile station of its home agent using its preferred roaming list (PRL)
CN101193351B (zh) * 2006-11-20 2011-02-16 华为技术有限公司 多制式基站及其信息处理方法和无线通信系统
US7969930B2 (en) * 2006-11-30 2011-06-28 Kyocera Corporation Apparatus, system and method for managing wireless local area network service based on a location of a multi-mode portable communication device
US7978667B2 (en) * 2006-11-30 2011-07-12 Kyocera Corporation Management of WLAN and WWAN communication services to a multi-mode wireless communication device
US7876786B2 (en) * 2006-12-01 2011-01-25 Microsoft Corporation Dynamic time-spectrum block allocation for cognitive radio networks
US9094529B2 (en) * 2007-03-16 2015-07-28 Blackberry Limited Consistent user interface for multi-mode mobile terminals
WO2008127162A1 (en) 2007-04-17 2008-10-23 Telefonaktiebolaget Lm Ericsson (Publ) A method of operating a radio access network with multiple radio access technologies
US8792468B2 (en) * 2007-05-09 2014-07-29 Kyocera Corporation System and method for broadcasting overhead parameters in poor coverage regions
EP2210430B1 (en) * 2007-10-18 2011-10-05 Telefonaktiebolaget LM Ericsson (publ) Methods and arrangements in a mobile telecommunications network
US7995526B2 (en) * 2008-04-23 2011-08-09 Honeywell International Inc. Apparatus and method for medium access control in wireless communication networks

Patent Citations (5)

* Cited by examiner, † Cited by third party
Publication number Priority date Publication date Assignee Title
JPH10200502A (ja) * 1997-01-07 1998-07-31 N T T Ido Tsushinmo Kk Cdma移動通信システムにおけるデータ伝送方法およびcdma移動通信システムと移動局装置と基地局装置
JP2006135991A (ja) * 2004-11-04 2006-05-25 Samsung Electronics Co Ltd 広帯域無線接続通信システムにおける異種周辺基地局情報を用いる通信システム及び方法
JP2007088940A (ja) * 2005-09-22 2007-04-05 Toshiba Corp コグニティブ通信システムおよびコグニティブ通信方法
EP1942691A1 (en) * 2005-10-25 2008-07-09 Vodafone Group PLC System and method for assisting a mobile terminal in reselecting or transferring cells between different technologies
JP2009529838A (ja) * 2006-03-09 2009-08-20 クゥアルコム・インコーポレイテッド マルチネットワークカバレッジのためのシステムおよび方法

Also Published As

Publication number Publication date
KR20120083453A (ko) 2012-07-25
JP2013507883A (ja) 2013-03-04
WO2011049768A1 (en) 2011-04-28
CN102577521B (zh) 2016-02-24
EP2489222A1 (en) 2012-08-22
TW201136381A (en) 2011-10-16
US9094892B2 (en) 2015-07-28
CN102577521A (zh) 2012-07-11
KR101434854B1 (ko) 2014-08-27
JP5792265B2 (ja) 2015-10-07
US20110085524A1 (en) 2011-04-14
JP5774593B2 (ja) 2015-09-09
EP2489222B1 (en) 2016-04-27

Similar Documents

Publication Publication Date Title
JP5792265B2 (ja) ワイヤレス広域ネットワーク技術の集約およびブロードキャスト
JP5726968B2 (ja) ブロードキャスト・シグナリングl1過負荷インジケーション
RU2482635C2 (ru) Идентификация однорангового устройства и когнитивная связь
JP7467333B2 (ja) ワイヤレス通信におけるビーム管理のための技法
CN101300870B (zh) 用于提供多个无线通信设备的平台共存系统的方法和装置
JP5989845B2 (ja) マルチキャリア動作において測定プロシージャを容易にする方法および装置
JP5654047B2 (ja) ワイヤレス通信において中継器を関連付けるための方法および装置
JP6215226B2 (ja) より少ない数の受信チェーンを使用した受信アンテナ選択/受信アンテナの組合せ
JP6271718B2 (ja) スモールセルのユーザ機器支援型時間および周波数同期のための方法および装置
TW201513598A (zh) 用於未許可頻譜中的高效長期進化(lte)操作的機會性載波聚合框架
JP2010516092A (ja) ピコネットワークにおける通信をサポートするための方法及び装置
JP2017076996A (ja) 無線通信チャネルをブランクすること(blanking)
JP2015015752A (ja) マルチ・ラジオ共存
JP2016521512A (ja) eIMTA干渉緩和のための拡張電力制御のシグナリング
US9485678B2 (en) Effective utilization of cyclic prefix in OFDM systems under benign channel conditions
WO2015031320A1 (en) Methods, access point and wireless device for optimizing the modulation and coding scheme (mcs) used for exchanging probe request and probe responses between an access point and a wireless device
JP5847842B2 (ja) 送信制御プロトコル(tcp)レイヤ・スループットを制御するためにパケット欠落を用いるダウンリンク・フロー制御
CN110637436A (zh) 用于演进型机器类型通信的特定于小区的参考信号传输
CN115065455A (zh) 一种信号传输方法及装置、终端、网络设备
CN117044173A (zh) 用于在无线通信中配置解调器搜索空间的技术
CN105027485A (zh) 用于减轻短干扰突发的影响的方法和装置
HK1123918B (en) Methods and apparatus for providing a platform coexistence system of multiple wireless communication devices

Legal Events

Date Code Title Description
A521 Request for written amendment filed

Free format text: JAPANESE INTERMEDIATE CODE: A523

Effective date: 20140613

A977 Report on retrieval

Free format text: JAPANESE INTERMEDIATE CODE: A971007

Effective date: 20141006

A131 Notification of reasons for refusal

Free format text: JAPANESE INTERMEDIATE CODE: A131

Effective date: 20141014

A521 Request for written amendment filed

Free format text: JAPANESE INTERMEDIATE CODE: A523

Effective date: 20150114

TRDD Decision of grant or rejection written
A01 Written decision to grant a patent or to grant a registration (utility model)

Free format text: JAPANESE INTERMEDIATE CODE: A01

Effective date: 20150707

A61 First payment of annual fees (during grant procedure)

Free format text: JAPANESE INTERMEDIATE CODE: A61

Effective date: 20150805

R150 Certificate of patent or registration of utility model

Ref document number: 5792265

Country of ref document: JP

Free format text: JAPANESE INTERMEDIATE CODE: R150

R250 Receipt of annual fees

Free format text: JAPANESE INTERMEDIATE CODE: R250

R250 Receipt of annual fees

Free format text: JAPANESE INTERMEDIATE CODE: R250

R250 Receipt of annual fees

Free format text: JAPANESE INTERMEDIATE CODE: R250

R250 Receipt of annual fees

Free format text: JAPANESE INTERMEDIATE CODE: R250

R250 Receipt of annual fees

Free format text: JAPANESE INTERMEDIATE CODE: R250

LAPS Cancellation because of no payment of annual fees