JP2014046884A - 鉄道車両の車体傾斜制御装置、および、車体傾斜制御方法 - Google Patents

鉄道車両の車体傾斜制御装置、および、車体傾斜制御方法 Download PDF

Info

Publication number
JP2014046884A
JP2014046884A JP2012193269A JP2012193269A JP2014046884A JP 2014046884 A JP2014046884 A JP 2014046884A JP 2012193269 A JP2012193269 A JP 2012193269A JP 2012193269 A JP2012193269 A JP 2012193269A JP 2014046884 A JP2014046884 A JP 2014046884A
Authority
JP
Japan
Prior art keywords
vehicle body
vehicle
tilt
air spring
control device
Prior art date
Legal status (The legal status is an assumption and is not a legal conclusion. Google has not performed a legal analysis and makes no representation as to the accuracy of the status listed.)
Granted
Application number
JP2012193269A
Other languages
English (en)
Other versions
JP5917343B2 (ja
Inventor
Akito Kazeto
昭人 風戸
Current Assignee (The listed assignees may be inaccurate. Google has not performed a legal analysis and makes no representation or warranty as to the accuracy of the list.)
Railway Technical Research Institute
Original Assignee
Railway Technical Research Institute
Priority date (The priority date is an assumption and is not a legal conclusion. Google has not performed a legal analysis and makes no representation as to the accuracy of the date listed.)
Filing date
Publication date
Application filed by Railway Technical Research Institute filed Critical Railway Technical Research Institute
Priority to JP2012193269A priority Critical patent/JP5917343B2/ja
Publication of JP2014046884A publication Critical patent/JP2014046884A/ja
Application granted granted Critical
Publication of JP5917343B2 publication Critical patent/JP5917343B2/ja
Active legal-status Critical Current
Anticipated expiration legal-status Critical

Links

Images

Landscapes

  • Vehicle Body Suspensions (AREA)

Abstract

【課題】鉄道車両の車体傾斜制御装置、および、車体傾斜制御方法を提供する。
【解決手段】車体22の進行方向の前後部に該車体22を支持する台車を備え、該台車毎に車体22を車幅方向に傾斜させる車体傾斜機構を備える鉄道車両の車体傾斜制御装置において、車体22の傾斜角度目標値を演算する傾斜角度目標値演算部34と、該傾斜角度目標値演算部34の演算結果に基づいて、複数の車体傾斜機構の駆動制御を行う傾斜制御部35と、車体22前部に配置される車体傾斜機構の傾斜動作を車体22後部に配置される車体傾斜機構の傾斜動作よりも遅延させる遅延部40と、を備えている。
【選択図】図2

Description

この発明は、鉄道車両の車体傾斜制御装置、および、車体傾斜制御方法に関するものである。
曲線区間を高速で走行する際に乗客に作用する超過遠心加速度を緩和するべく、軌道内側に車体を傾斜可能な鉄道車両が知られている。このような車体を傾斜可能な鉄道車両としては、各台車と車体との間の内軌側と外軌側とに配置された空気ばねをアクチュエータとして車体を傾斜させる方式(例えば、特許文献1参照)や、例えば、台車と車体との間に円弧状のガイドを備える振り子梁を設けて空気圧によるアクチュエータを用いて車体をガイドに沿って傾斜させる方式などが知られている。
特開平11−268645号公報
ところで、軌道のカントが漸次変化していく緩和曲線などを車両が走行する場合、前側台車の位置と後側台車の位置とにおいて、各台車の車体に対する角度は必然的に異なったものとなる。しかしながら、上述した各方式による車体傾斜制御を行った場合、車体の前部における傾斜制御量と車体の後部における傾斜制御量とが等しくなるように制御しているため、車体の前部と車体の後部とのカントの差分に応じて車体に捩じり方向の力が作用してしまい、その結果、台車の輪重変動が増大する虞があるという課題がある。
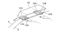
図4は、車体の傾斜機構として前後の台車に左右一対の空気ばね121A,121Bを備えた車両が、緩和曲線のうち曲線区間の出口側に形成される出口側緩和曲線を走行する場合の一例を示している。出口側緩和曲線においては、上昇させた外軌側の空気ばね121A内の空気を排気して車体122を水平に戻す動作を行うが、後部の台車111BはカントK2が大きく、前部の台車111AはカントK1が小さい状態となっている。つまり、この状態で前後部の台車111A,111Bの外軌側の空気ばね121Aから均等に空気を抜くと、車体122が剛体であるため、その荷重支持は、前部の台車111Aの内軌側の空気ばね121Bと、後部の台車111Bの外軌側、内軌側の空気ばね121A,121Bとの三点支持となり、前部の台車111Aの外軌側の車輪の輪重抜けを引き起こす虞がある。なお、図4において進行方向を白抜き矢印で示している。
一方で、前部の台車111AにおけるカントK1と、後部の台車111BにおけるカントK2を、車両に保有したデータベースなどから個別に求め、車体122の前部と車体122の後部との傾斜角度を個別に制御することも考えられるが、制御プログラムおよび制御機構が複雑化してしまい、既存の鉄道車両に容易に搭載できないという課題がある。
この発明は、上記事情に鑑みてなされたものであり、制御および傾斜機構が複雑化するのを防止しつつ、車体に捩じり方向の力が作用するのを抑制して台車の輪重変動を低減することができる鉄道車両の車体傾斜制御装置を提供するものである。
上記の課題を解決するために本発明は以下の構成を採用する。
この発明にかかる鉄道車両の車体傾斜制御装置は、車体の進行方向の前後部に該車体を支持する台車を備え、該台車毎に前記車体を車幅方向に傾斜させる車体傾斜機構を備える鉄道車両の車体傾斜制御装置において、前記車体の傾斜角度目標値を演算する傾斜角度目標値演算部と、該傾斜角度目標値演算部の演算結果に基づいて、前記車体傾斜機構の駆動制御を行う傾斜制御部と、前記車体の前部に配置される前記車体傾斜機構の傾斜動作を前記車体の後部に配置される前記車体傾斜機構の傾斜動作よりも遅延させる遅延部と、を備えることを特徴としている。
例えば、進行方向の前部に配置された台車の走行軌道の方が進行方向後方側に配置された台車の走行軌道よりも常に先にカントが変化して傾斜角度が変位することとなるが、カントの変位により車体の前部の傾斜角度が変位する際に、遅延部によって車体の後部の車体傾斜機構を車体の前部の車体傾斜機構よりも先に動作させることで、車体の後部の車体傾斜機構と車体の前部の車体傾斜機構との間に角度差を生じさせ、この角度差によって車体の前部と車体の後部とのカントの差分を吸収して、捩じり方向の力が車体に作用するのを抑制することができる。
さらに、この発明に係る鉄道車両の車体傾斜制御装置は、上記鉄道車両の車体傾斜制御装置において、前記傾斜制御部は、前記車体の前部が出口側緩和曲線に進入するタイミングで、前記車体傾斜機構の駆動制御を開始し、前記車体の後部が前記出口側緩和曲線に進入するまで、前記車体の前部に配置される前記車体傾斜機構の駆動制御を遅延させるようにしてもよい。
このように構成することで、鉄道車両が走行する軌道の外軌側レールの高さ位置が内軌側レールの高さ位置よりも高い状態から徐々に外軌側レールの高さ位置が低く変位する出口側緩和曲線において、カントの変位によって車体の前部が立ち上がる方向へ変位を開始するタイミングで、車体傾斜機構によって立ち上がる方向への車体の後部の変位を開始することができる。そのため、出口側緩和曲線において、車体の前部と車体の後部との地面に対する傾斜角度の変位タイミングを揃えて車体に捩じり方向の力が作用するのを抑制して、とりわけ車体の前部の台車における外軌側の輪重抜けなどの輪重変動を抑制することができる。
さらに、この発明に係る鉄道車両の車体傾斜制御装置は、上記鉄道車両の車体傾斜制御装置において、前記傾斜制御部は、前記車体の前部が入口側緩和曲線に進入するタイミングで、前記車体傾斜機構の駆動制御を開始し、前記車体の後部が前記入口側緩和曲線に進入するまで、前記車体の前部に配置される前記車体傾斜機構の駆動制御を遅延させるようにしてもよい。
このように構成することで、鉄道車両が走行する軌道の外軌側レールの高さ位置が内軌側レールの高さ位置と同じ高さ位置の状態から徐々に外軌側レールの高さ位置が高く変位する入口側緩和曲線において、カントの変位によって車体の前部が寝る方向へ変位を開始するタイミングで、車体傾斜機構によって寝る方向への車体の後部の変位を開始させることができる。そのため、入口側緩和曲線において、車体の前部と車体の後部との地面に対する傾斜角度の変位タイミングを揃えて車体に捩じり方向の力が作用するのを抑制して、とりわけ車体の前部の台車における内軌側の輪重抜けなどの輪重変動を抑制することができる。
さらに、この発明に係る鉄道車両の車体傾斜制御装置は、上記鉄道車両の車体傾斜制御装置において、前記車体傾斜機構は、車幅方向に離間配置された複数の空気ばねを各台車に備えていてもよい。
このように構成することで、高速で走行する際に迅速に伸縮可能な空気ばねを用いて車体の傾斜制御を行う場合には、車体に捩じり方向の力が作用しやすくなるが、車体の前部に配置される空気ばねの駆動制御を遅延させるだけで車体に捩じり方向の力が作用するのを抑制することができる。
さらに、この発明に係る鉄道車両の車体傾斜制御方法は、車体の進行方向の前後部に該車体を支持する台車を備え、該台車毎に前記車体を車幅方向に傾斜させる車体傾斜機構を備える鉄道車両の車体傾斜制御方法において、前記車体の前部における傾斜を開始するタイミングを、前記車体の後部における傾斜を開始するタイミングよりも遅延させることを特徴としている。
さらに、この発明に係る鉄道車両の車体傾斜制御方法は、上記鉄道車両の車体傾斜制御方法において、前記車体の前部が出口側緩和曲線に進入するタイミングで、前記車体の後部の傾斜を開始し、前記車体の後部が出口側緩和曲線に進入するタイミングで、前記車体の前部の車体傾斜を開始するようにしてもよい。
さらに、この発明に係る鉄道車両の車体傾斜制御方法は、上記鉄道車両の車体傾斜制御方法において、前記車体の前部が入口側緩和曲線に進入するタイミングで、前記車体の後部の傾斜を開始し、前記車体の後部が入口側緩和曲線に進入するタイミングで、前記車体の前部の車体傾斜を開始するようにしてもよい。
この発明に係る鉄道車両の車体傾斜制御装置、および、車体傾斜制御方法によれば、制御および傾斜機構が複雑化するのを防止しつつ、車体に捩じり方向の力が作用するのを抑制して台車の輪重変動を低減することができる。
本発明の実施形態における鉄道車両の概略構成図である。 上記鉄道車両の車体に対する各台車の配置および、車体傾斜制御装置の概略構成を示す図である。 上記車体傾斜制御装置における傾斜動作に係る制御処理を示すフローチャートである。 車両が出口側緩和曲線を走行する一例を示す図である。 上記車体傾斜制御装置における曲線区間の輪重変動および一般的な傾斜制御における輪重変動を示すグラフである。
次に、この発明の実施形態における鉄道車両の車体傾斜制御装置について図面を参照しながら説明する。
図1は、この実施形態の車体傾斜制御装置が搭載される車両10を示している。この車両10の台車11は、軌道を構成するレールRの幅方向(以下、単に車幅方向と称する)に延びる車軸12に略円盤状の2枚の車輪13,13が圧入された一対の輪軸14(図1中、一方のみを示す)を備えており、これら一対の輪軸14が、互いの車軸12が前後平行となるように配置されている。ここで、車軸12は、その左右端部が軸受け(図示せず)により回動自在に支持され、これら軸受けを備えた支持部(図示せず)に、軸バネ15を介して台車枠16が支持されている。
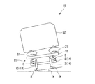
台車枠16には、その車幅方向の左右両側部上面に、左右一対のダイヤフラム式の空気ばね21が立設されている。これら空気ばね21の上面には、上述した車体22が載置されている。一両分の車体22は、その長手方向の前部および後部が台車11によって支持されており、すなわち一両分の車体22と2つの台車11との間には、合計4つの空気ばね21が設けられている。なお、以下の説明においては、4つの空気ばね21を、第一空気ばね21a、第二空気ばね21b、第三空気ばね21c、第四空気ばね21dと称する。
図2を併せて参照し、車両10は、第一空気ばね21aから第四空気ばね21dの高さ制御を行うことで、台車11に対する車体22の傾斜角度、より具体的には、台車枠16に対する傾斜角度を制御する車体傾斜制御装置100を有している。ここで、図1は、曲線区間の軌道を構成するレールRのうち、軌道外側(以下、単に外軌側と称する)のレールRが軌道内側(以下、単に内軌側と称する)のレールRよりも高い位置に配置されるいわゆるカントKが設けられた状態を示している。車体22は、第一空気ばね21a、第二空気ばね21b、第三空気ばね21c、および、第四空気ばね21dのうち外軌側に配置されたものの高さが内軌側に配置されたものの高さよりも高い状態とされることで内軌側に傾斜した状態となっている。
車体傾斜制御装置100は、GPS(Global Positioning System)信号やATS信号(Automatic Train Stop)などの外部からの信号に基づいて自車の位置情報を検出する走行位置情報検出部31を備えている。この走行位置情報検出部31により検出された位置情報は、曲線情報出力部32へ向けて出力される。
曲線情報出力部32は、走行位置情報検出部31から入力された自車の位置情報と、ROM(Read Only Memory)などの記憶媒体に予め記憶された軌道の曲線情報とに基づき、例えば、自車が走行する曲線区間の曲率、カント等の曲線情報を記憶情報の中から検索し、該当する曲線情報を傾斜角度目標値演算部34に向けて出力する。
また、車体傾斜制御装置100は、速度発電機の出力などに基づき自車の走行速度を検出する走行速度検出部33を有している。走行速度検出部33は、検出した速度情報を傾斜角度目標値演算部34に向けて出力する。
傾斜角度目標値演算部34は、自車が直後に走行する曲線区間の曲率、カント、および、自車の走行速度に基づいて、台車11に対する車体22の傾斜角度の目標値である傾斜角度目標値を演算により求める。傾斜角度目標値演算部34は、演算により求めた傾斜角度目標値の情報を傾斜制御部35に出力する。ここで、上記傾斜角度目標値は、車両10が曲線を走行する際に乗客に作用する遠心加速度を緩和する値に設定される。より具体的には、軌道のカントKによって車体22が地面に対して内軌側へ傾斜されることで、当該傾斜角度に応じて遠心加速度が緩和されるが、カントKによる車体22の傾斜では相殺できない遠心加速度である超過遠心加速度を打ち消すために、台車11に対して車体を内軌側へ傾斜させる角度の目標値である。
上記第一空気ばね21a〜第四空気ばね21dは、それぞれ配管30a〜30dを介して元空気溜め36に接続されている。元空気溜め36には、コンプレッサ等により第一空気ばね21a〜第四空気ばね21dを伸長させるのに十分な圧力の圧縮空気が逐次貯留される。第一空気ばね21a〜第四空気ばね21dの内部空間と元空気溜め36の内部空間とは、上記配管30a〜30dにより形成される流路を介して連通されている。
配管30aの途中には、第一空気ばね21aの空気圧を調整する給排気電磁弁(図示せず)を有する第一高さ制御装置37aが設けられ、配管30bの途中には、第二空気ばね21bの空気圧を調整する給排気電磁弁(図示せず)を有する第二高さ制御装置37bが設けられている。同様に、配管30cの途中には、第三空気ばね21cの空気圧を調整する給排気電磁弁(図示せず)を有する第三高さ制御装置37cが設けられ、配管30dの途中には、第四空気ばね21dの空気圧を調整する給排気電磁弁(図示せず)を有する第四高さ制御装置37dが設けられている。なお、これら第一高さ制御装置37a〜第四高さ制御装置37dと第一空気ばね21a〜第四空気ばね21dとによって、この発明の車体傾斜機構が構成されている。
第一高さ制御装置37a〜第四高さ制御装置37dは、それぞれ傾斜制御部35に接続され、傾斜制御部35からの高さ制御指令に基づき給排気電磁弁を開閉して、第一空気ばね21a〜第四空気ばね21dの内部空間の空気圧を調整する。例えば、第一高さ制御装置37aによって第一空気ばね21aを伸長させる場合、元空気溜め36の圧縮空気を第一空気ばね21aの空気室に供給するための供給流路を開放する一方で、第一空気ばね21aを縮退させる場合には、供給流路を閉塞して第一空気ばね21aの空気室内の空気を排気する排気流路を開放する。なお、第二高さ制御装置37b〜第四高さ制御装置37dは、上述した第一高さ制御装置37と同一構成であるため詳細説明を省略する。
傾斜制御部35は、第一高さ制御装置37a〜第四高さ制御装置37dによって第一空気ばね21a〜第四空気ばね21dの高さを調整することで、車体22の車幅方向への傾斜角度を制御する。換言すれば、対を成す第一空気ばね21aと第二空気ばね21bとの各高さを異ならせるとともに、対を成す第三空気ばね21cと第四空気ばね21dとの各高さを異ならせることで、台車11に対する車体22の傾斜角度を調整する。つまり、第一空気ばね21aおよび第二空気ばね21bによって、車体22前部に配置された台車11と車体22との相対的な傾斜角度が変位可能とされ、第三空気ばね21cおよび第四空気ばね21dによって、車体22後部に配置された台車11と車体22との相対的な傾斜角度が変位可能とされる。
傾斜制御部35は、車幅方向の一方側に配置される第一空気ばね21aと第三空気ばね21cとの高さが同一となるように第一高さ制御装置37aおよび第三高さ制御装置37cを同一の制御量で駆動制御を行う。また、傾斜制御部35は、車幅方向の他方側に配置される第二空気ばね21bと第四空気ばね21dとの高さが同一となるように第二高さ制御装置37bおよび第四高さ制御装置37dを同一の制御量で駆動制御する。
車体傾斜制御装置100は、車体22の進行方向の前部に配置される第一空気ばね21aと第二空気ばね21bとの傾斜制御を、車体22の進行方向の後部に配置される第三空気ばね21cと第四空気ばね21dとの傾斜制御よりも所定時間遅れるように、傾斜制御部35から出力される制御指令が第一高さ制御装置37a、第二高さ制御装置37bに入力されるのを遅延させる遅延部40を備えている。なお、この実施形態においては、車両10の進行方向の前部に第一空気ばね21a、第二空気ばね21bが設けられ、進行方向後部に第三空気ばね21c、第四空気ばね21dが設けられている場合について説明するが、車両10の進行方向を切換可能とする場合には、遅延部40により入力が遅延される対象を、第一高さ制御装置37aおよび第二高さ制御装置37bから、第三高さ制御装置37および第四高さ制御装置37dに切換え可能とすればよい。
遅延部40は、遅延させる時間である上記所定時間を、各台車11の間隔と自車の走行速度とを用いて算出する。具体的には、台車11間の距離をL(m)、自車速度をV(m/秒)とすると、上記所定時間は、L/V(秒)とされる。遅延部40は、図示しないタイマーなどによって、傾斜制御部35から第一高さ制御装置37a、第二高さ制御装置37bへの制御指令の入力タイミングを、傾斜制御部35から第三高さ制御装置37c、第四高さ制御装置37dへの制御指令の入力タイミングよりも遅延させる。なお、遅延部40としては、一般的なディレイ回路などのハードウェアの構成を用いることができるが、傾斜制御部35のソフトウェア上で遅延機能を構成しても良い。
この実施形態の車体傾斜制御装置は、上述した構成を備えており、次に、上述した車両10の曲線区間における車体22の傾斜制御を行う制御処理について図3を参照しながら説明する。また、この説明においては、遅延部40がソフトウェアにより構成される場合を一例にして説明する。なお、曲線区間は、カントKが一定な円曲線と、入口側において円曲線まで徐々にカントKが増加するように形成された入口側緩和曲線と、円曲線から徐々にカントKが減少するように形成された出口側緩和曲線とによって構成されている。
まず、走行位置情報検出部31によって自車の走行位置を検出するとともに、走行速度検出部33によって自車の走行速度を検出する(ステップS01)。
次いで、車両10が曲線区間を走行しているか否かを判定する(ステップS02)。ここで、進行方向の前方側に配置された台車11が曲線区間の入口側緩和曲線に進入した場合には、曲線区間を走行していると判定される。
上記判定の結果、曲線区間ではない場合には(ステップS02でNo)、この判定処理を繰り返し、曲線区間である場合(ステップS02でYes)には、曲線情報出力部32によって、自車の走行位置に基づき自車が走行する位置の曲率、カントKなどの曲線情報を検索して求める(ステップS03)。
次に、傾斜角度目標値演算部34によって、走行速度の情報と、曲線情報とに基づき車体22を傾斜させる際の傾斜角度目標値を演算する(ステップS04)。
その後、傾斜角度目標値を、外軌側の空気ばねである第一空気ばね21a、第三空気ばね21cの高さの目標値、および、内軌側の空気ばねである第二空気ばね21b、第四空気ばね21dの高さの目標値に変換する(ステップS05)。
さらに、前部に配置されている第一空気ばね21a、第二空気ばね21bの高さ目標値を遅延部40に保存する(ステップS06)とともに、後部に配置されている第三空気ばね21c、第四空気ばね21dの高さを変化させる第三高さ制御装置37cおよび第四高さ制御装置37dに対して、上述した第三空気ばね21c、第四空気ばね21dの高さの目標値を現在の高さ制御指令として入力する(ステップS07)。これにより、現在の高さの目標値となるように後部に配置されている第三空気ばね21cおよび第四空気ばね21dが伸縮される。
この際、前部に配置されている第一空気ばね21a、第二空気ばね21bの高さを変化させる第一高さ制御装置37aおよび第二高さ制御装置37bに対して、遅延部40によってL/V(秒)前の高さの目標値を制御指令として入力する(ステップS09)。そして、上述した一連の制御処理を一旦終了して、その後、上述した制御処理を繰り返す。
ここで、上記一連の制御処理は演算装置などによって実現される。そして、上述したステップS01からステップS09までの一連の制御処理を実行するのにかかる時間は、演算装置の動作周波数等に応じた一定時間となる。つまり、一連の制御処理の実行回数に基づいてL/V(秒)を計時することが可能である。そして、上記一連の制御処理を一回実行することで遅延部40に保存される高さの目標値は一つであるから、例えば、上述した遅延部40に保存される高さの目標値に、当該目標値が遅延部40に保存される順番の情報を関連付け、これら遅延部40に保存された高さの目標値のうち、L/V(秒)に対応する所定の順番だけ遡った順番の情報が関連付けられている高さの目標値を読み出すことで、L/V(秒)前の高さの目標値を読み出すことが可能となる。
なお、上述したL/V(秒)前の高さの目標値を求める手法は、部品点数等が増加しない点で有利となるが、この手法に限られるものではない。例えば、計時手段を設けて、高さの目標値に時間情報を関連付けて保存して、この時間情報に基づいてL/V(秒)前の高さの目標値を読み出すようにしてもよい。
図5は、縦軸を進行方向前部に配置された台車11における輪重、横軸を台車11の走行位置とした輪重変動を示すシミュレーション結果のグラフである。当該グラフにおいて、外軌側の車輪の輪重変動を実線で示し、内軌側の車輪の輪重変動を破線で示している。また、上述した車体傾斜制御装置100によって車体22の傾斜制御を行った場合の輪重変動を太線(実線及び破線)で示し、従来の傾斜制御を行った場合の輪重変動を細線(実線および破線)で示している。
同図に示すように、入口側緩和曲線を走行する際の台車11における輪重は、車体傾斜制御装置100により傾斜制御を行った場合の方が、従来の傾斜制御を行った場合よりも、車両中立時の輪重に対して増大側および減少側の両側において小さくなり輪重変動が低減されていることが分かる。同様に、出口側緩和曲線を走行する際の台車11の輪重は、車体傾斜制御装置100により傾斜制御を行った場合の方が、従来の傾斜制御を行った場合よりも、車両中立時の輪重に対して増大側および減少側の両側において小さくなり輪重変動が低減されていることが分かる。とりわけ出口側緩和曲線を走行する際は、外軌側の車輪の輪重抜けが50%程度改善される。
したがって、上述した実施形態の車体傾斜制御装置100によれば、曲線区間においては、進行方向の前部に配置された台車11の走行軌道の方が進行方向後方側に配置された台車11の走行軌道よりも常に先にカントKが変化して傾斜角度が変位することとなるが、カントKの変位により車体22前部の傾斜角度が変位する際に、遅延部40によって車体22後部の第三空気ばね37cおよび第四空気ばね37dを車体22前部の第一空気ばね37aおよび第二空気ばね37bよりも先に動作させることで、車体22後部の第三空気ばね37cおよび第四空気ばね37dによる傾斜角度と車体22前部の第一空気ばね37aおよび第二空気ばね37bによる傾斜角度との間に角度差を生じさせ、この角度差によって車体22前部と車体22後部とのカントKの差分を吸収して、捩じり方向の力が車体22に作用するのを抑制することができる。その結果、制御プラグラムや空気ばねによる傾斜機構が複雑化するのを防止しつつ、台車11の輪重変動を低減することができる。
また、車両10が走行する外軌側のレールRの高さ位置が内軌側のレールRの高さ位置よりも高い状態から徐々に外軌側のレールRの高さ位置が低く変位する出口側緩和曲線において、カントKの変位によって車体22前部が立ち上がる方向に変位を開始するタイミングで、第三空気ばね21cおよび第四空気ばね21dによって立ち上がる方向への車体22後部の変位を開始させることができる。そのため、出口側緩和曲線において、車体22前部と車体22後部との地面に対する傾斜角度の変位タイミングを揃えて車体22に捩じり方向の力が作用するのを抑制して、とりわけ車体22前部の台車11における外軌側の輪重抜けなどの輪重変動を抑制することが可能となる。
同様に、車両10が走行する外軌側のレールRの高さ位置が内軌側のレールRの高さ位置と同じ高さ位置の状態から徐々に外軌側のレールRの高さ位置が高く変位する入口側緩和曲線において、カントKの変位によって寝る方向へ車体22前部が変位を開始するタイミングで、第三空気ばね21cおよび第四空気ばね21dによって寝る方向への車体22後部の変位を開始させることができる。そのため、入口側緩和曲線においても、車体22前部と車体22後部との地面に対する傾斜角度の変位タイミングを揃えて車体22に捩じり方向の力が作用するのを抑制し、とりわけ車体22前部の台車11における内軌側の輪重抜けなどの輪重変動を抑制することができる。
また、上述した実施形態のように車体傾斜機構として迅速に伸縮可能な第一空気ばね21a、第二空気ばね21b、第三空気ばね21c、および、第四空気ばね21dを備え、これら第一空気ばね21a、第二空気ばね21b、第三空気ばね21c、および、第四空気ばね21dによって車体22の傾斜制御を行う場合には、車体22に捩じり方向の力が作用しやすくなるが、車体22前部に配置される第一空気ばね21aおよび第二空気ばね21bの駆動制御を遅延させるだけで車体22に捩じり方向の力が作用するのを抑制することができるため、簡単な構成で輪重変動を抑制することができる。
なお、この発明は上述した実施形態の構成に限られるものではなく、その要旨を逸脱しない範囲で設計変更可能である。
例えば、上述した実施形態においては、車体傾斜機構として第一空気ばね21a、第二空気ばね21b、第三空気ばね21c、および、第四空気ばね21dをアクチュエータとして用いて車体22の傾斜制御を行う場合について説明したが、台車11の台車枠16と車体22との間に円弧状のガイドを備える振り子梁を設け、この振り子梁をアクチュエータによって揺動させることで車体22をガイドに沿って傾斜させるいわゆる制御付き振り子車両の傾斜機構であってもよい。また、空気ばね以外のアクチュエータとして、例えば、油圧アクチュエータ、空気圧アクチュエータ、電動アクチュエータなどを用いた傾斜機構を採用してもよい。
また、上述した実施形態においては、車体22の外軌側を高くすることで車体22を内軌側に傾斜させる場合について説明したが、車体22の内軌側を低くすることで車体22を傾斜させたり、これらを同時に行ったりしてもよい。
10 車両(鉄道車両)
11 台車
21 空気ばね(車体傾斜機構)
22 車体
34 傾斜角度目標値演算部
35 傾斜制御部
37a 第一高さ制御装置(車体傾斜機構)
37b 第二高さ制御装置(車体傾斜機構)
37c 第三高さ制御装置(車体傾斜機構)
37d 第四高さ制御装置(車体傾斜機構)
40 遅延部

Claims (7)

  1. 車体の進行方向の前後部に該車体を支持する台車を備え、該台車毎に前記車体を車幅方向に傾斜させる車体傾斜機構を備える鉄道車両の車体傾斜制御装置において、
    前記車体の傾斜角度目標値を演算する傾斜角度目標値演算部と、
    該傾斜角度目標値演算部の演算結果に基づいて、前記車体傾斜機構の駆動制御を行う傾斜制御部と、
    前記車体の前部に配置される前記車体傾斜機構の傾斜動作を前記車体の後部に配置される前記車体傾斜機構の傾斜動作よりも遅延させる遅延部と、を備えることを特徴とする鉄道車両の車体傾斜制御装置。
  2. 前記傾斜制御部は、前記車体の前部が出口側緩和曲線に進入するタイミングで、前記車体傾斜機構の駆動制御を開始し、前記車体の後部が前記出口側緩和曲線に進入するまで、前記車体の前部に配置される前記車体傾斜機構の駆動制御を遅延させる請求項1に記載の鉄道車両の車体傾斜制御装置。
  3. 前記傾斜制御部は、前記車体の前部が入口側緩和曲線に進入するタイミングで、前記車体傾斜機構の駆動制御を開始し、前記車体の後部が前記入口側緩和曲線に進入するまで、前記車体の前部に配置される前記車体傾斜機構の駆動制御を遅延させる請求項1又は2に記載の鉄道車両の車体傾斜制御装置。
  4. 前記車体傾斜機構は、
    車幅方向に離間配置された複数の空気ばねを各台車に備える請求項1から3の何れか一項に記載の鉄道車両の車体傾斜制御装置。
  5. 車体の進行方向の前後部に該車体を支持する台車を備え、該台車毎に前記車体を車幅方向に傾斜させる車体傾斜機構を備える鉄道車両の車体傾斜制御方法において、
    前記車体の前部における傾斜を開始するタイミングを、前記車体の後部における傾斜を開始するタイミングよりも遅延させることを特徴とする鉄道車両の車体傾斜制御方法。
  6. 前記車体の前部が出口側緩和曲線に進入するタイミングで、前記車体の後部の傾斜を開始し、前記車体の後部が出口側緩和曲線に進入するタイミングで、前記車体の前部の車体傾斜を開始する請求項5に記載の鉄道車両の車体傾斜制御方法。
  7. 前記車体の前部が入口側緩和曲線に進入するタイミングで、前記車体の後部の傾斜を開始し、前記車体の後部が入口側緩和曲線に進入するタイミングで、前記車体の前部の車体傾斜を開始する請求項5又は6に記載の鉄道車両の車体傾斜制御方法。
JP2012193269A 2012-09-03 2012-09-03 鉄道車両の車体傾斜制御装置、および、車体傾斜制御方法 Active JP5917343B2 (ja)

Priority Applications (1)

Application Number Priority Date Filing Date Title
JP2012193269A JP5917343B2 (ja) 2012-09-03 2012-09-03 鉄道車両の車体傾斜制御装置、および、車体傾斜制御方法

Applications Claiming Priority (1)

Application Number Priority Date Filing Date Title
JP2012193269A JP5917343B2 (ja) 2012-09-03 2012-09-03 鉄道車両の車体傾斜制御装置、および、車体傾斜制御方法

Publications (2)

Publication Number Publication Date
JP2014046884A true JP2014046884A (ja) 2014-03-17
JP5917343B2 JP5917343B2 (ja) 2016-05-11

Family

ID=50606961

Family Applications (1)

Application Number Title Priority Date Filing Date
JP2012193269A Active JP5917343B2 (ja) 2012-09-03 2012-09-03 鉄道車両の車体傾斜制御装置、および、車体傾斜制御方法

Country Status (1)

Country Link
JP (1) JP5917343B2 (ja)

Cited By (2)

* Cited by examiner, † Cited by third party
Publication number Priority date Publication date Assignee Title
JP2018039286A (ja) * 2016-09-05 2018-03-15 新日鐵住金株式会社 鉄道車両の車体傾斜制御方法
JP2021165099A (ja) * 2020-04-08 2021-10-14 公益財団法人鉄道総合技術研究所 傾斜角度制御装置、傾斜角度制御方法及び鉄道車両

Citations (4)

* Cited by examiner, † Cited by third party
Publication number Priority date Publication date Assignee Title
US5636576A (en) * 1995-11-07 1997-06-10 Construcciones Y Auxiliar De Ferrocarriles, S.A. Tilting system for railway rolling stock
JP2000085577A (ja) * 1998-09-11 2000-03-28 Sumitomo Metal Ind Ltd 鉄道車両における空気ばねによる車体傾斜制御時の給排気方法
JP2001001895A (ja) * 1999-06-18 2001-01-09 Sumitomo Metal Ind Ltd 鉄道車両の車体傾斜制御装置
JP2011016441A (ja) * 2009-07-08 2011-01-27 Sumitomo Metal Ind Ltd 鉄道車両の車体傾斜制御装置

Patent Citations (4)

* Cited by examiner, † Cited by third party
Publication number Priority date Publication date Assignee Title
US5636576A (en) * 1995-11-07 1997-06-10 Construcciones Y Auxiliar De Ferrocarriles, S.A. Tilting system for railway rolling stock
JP2000085577A (ja) * 1998-09-11 2000-03-28 Sumitomo Metal Ind Ltd 鉄道車両における空気ばねによる車体傾斜制御時の給排気方法
JP2001001895A (ja) * 1999-06-18 2001-01-09 Sumitomo Metal Ind Ltd 鉄道車両の車体傾斜制御装置
JP2011016441A (ja) * 2009-07-08 2011-01-27 Sumitomo Metal Ind Ltd 鉄道車両の車体傾斜制御装置

Cited By (3)

* Cited by examiner, † Cited by third party
Publication number Priority date Publication date Assignee Title
JP2018039286A (ja) * 2016-09-05 2018-03-15 新日鐵住金株式会社 鉄道車両の車体傾斜制御方法
JP2021165099A (ja) * 2020-04-08 2021-10-14 公益財団法人鉄道総合技術研究所 傾斜角度制御装置、傾斜角度制御方法及び鉄道車両
JP7295825B2 (ja) 2020-04-08 2023-06-21 公益財団法人鉄道総合技術研究所 傾斜角度制御装置、傾斜角度制御方法及び鉄道車両

Also Published As

Publication number Publication date
JP5917343B2 (ja) 2016-05-11

Similar Documents

Publication Publication Date Title
JP5255780B2 (ja) 鉄道車両の振動制御装置
CN103097225B (zh) 铁路车辆的振动成分加速度估计装置和振动成分加速度估计方法
JP5704306B2 (ja) 鉄道車両用振動制御装置
JP2008247333A (ja) 鉄道車両用振動制御装置
WO2017146228A1 (ja) 車体傾斜制御装置および車体傾斜制御装置の故障判定装置
JP5917343B2 (ja) 鉄道車両の車体傾斜制御装置、および、車体傾斜制御方法
JP2011213183A (ja) 可変減衰軸ダンパの異常検出装置及び異常検出方法
JP5038960B2 (ja) 振子車両の車体傾斜角の制御方法及び振子車両の車体傾斜角の制御システム
JP5675405B2 (ja) 軌道系交通車両及びその車体姿勢制御装置
JP5643124B2 (ja) 車両間ダンパ装置
JP5522549B2 (ja) 鉄道車両用振動制御装置
JP4979360B2 (ja) 鉄道車両
JP2018083556A (ja) 鉄道車両の高さ調整装置
JP3529366B2 (ja) 鉄道車両の車体傾斜制御装置
JP5981829B2 (ja) 鉄道車両の車体高さ調整装置、および、車体高さ調整方法
JP4429955B2 (ja) 車両制振装置
JP2012179970A (ja) サスペンション制御装置
JP2005041439A (ja) 鉄道車両
JP4429957B2 (ja) 車体制振装置
JP5812591B2 (ja) 鉄道車両用振動制御装置
JP4799039B2 (ja) 鉄道車両の車体傾斜装置
JP2014141257A (ja) 車両間ダンパ装置
JP2005238937A (ja) 鉄道車両
JP6492362B2 (ja) 車体傾斜制御装置
JPH06247299A (ja) 鉄道車両の振動制御装置

Legal Events

Date Code Title Description
A621 Written request for application examination

Free format text: JAPANESE INTERMEDIATE CODE: A621

Effective date: 20150129

A977 Report on retrieval

Free format text: JAPANESE INTERMEDIATE CODE: A971007

Effective date: 20151112

A131 Notification of reasons for refusal

Free format text: JAPANESE INTERMEDIATE CODE: A131

Effective date: 20151124

A521 Written amendment

Free format text: JAPANESE INTERMEDIATE CODE: A523

Effective date: 20160114

TRDD Decision of grant or rejection written
A01 Written decision to grant a patent or to grant a registration (utility model)

Free format text: JAPANESE INTERMEDIATE CODE: A01

Effective date: 20160322

A61 First payment of annual fees (during grant procedure)

Free format text: JAPANESE INTERMEDIATE CODE: A61

Effective date: 20160406

R150 Certificate of patent or registration of utility model

Ref document number: 5917343

Country of ref document: JP

Free format text: JAPANESE INTERMEDIATE CODE: R150