JP2014006706A - 電子機器、およびプログラム - Google Patents
電子機器、およびプログラム Download PDFInfo
- Publication number
- JP2014006706A JP2014006706A JP2012141954A JP2012141954A JP2014006706A JP 2014006706 A JP2014006706 A JP 2014006706A JP 2012141954 A JP2012141954 A JP 2012141954A JP 2012141954 A JP2012141954 A JP 2012141954A JP 2014006706 A JP2014006706 A JP 2014006706A
- Authority
- JP
- Japan
- Prior art keywords
- unit
- user
- pattern
- terminal device
- authentication
- Prior art date
- Legal status (The legal status is an assumption and is not a legal conclusion. Google has not performed a legal analysis and makes no representation as to the accuracy of the status listed.)
- Pending
Links
Images
Landscapes
- User Interface Of Digital Computer (AREA)
- Collating Specific Patterns (AREA)
Abstract
【課題】ユーザがロック状態を解除するための所定の操作パターンを容易に解読されないようにすることができる電子機器を提供する。
【解決手段】電子機器は、ユーザを認証する認証部と、表示面に対する操作を検出する操作検出部を有し、操作検出部が操作を検出する範囲内に配置される検出領域を示す情報を表示する表示部と、少なくとも何れかの操作入力を受け付けない操作ロック状態を解除する操作パターンを検出する複数の検出領域の配置パターンを、認証部の認証結果に応じて設定する設定部と、操作ロック状態において、設定部が設定した配置パターンに従って、操作ロック状態を解除する操作パターンを検出する複数の前記検出領域を示す情報を表示部に表示させる表示制御部と、を備える。
【選択図】図1
【解決手段】電子機器は、ユーザを認証する認証部と、表示面に対する操作を検出する操作検出部を有し、操作検出部が操作を検出する範囲内に配置される検出領域を示す情報を表示する表示部と、少なくとも何れかの操作入力を受け付けない操作ロック状態を解除する操作パターンを検出する複数の検出領域の配置パターンを、認証部の認証結果に応じて設定する設定部と、操作ロック状態において、設定部が設定した配置パターンに従って、操作ロック状態を解除する操作パターンを検出する複数の前記検出領域を示す情報を表示部に表示させる表示制御部と、を備える。
【選択図】図1
Description
本発明は、電子機器、およびプログラムに関する。
タッチパネルを備えた電子機器において、その電子機器が操作を受け付けない操作ロック状態を解除する方法として、ユーザがタッチパネルの表示面に対して所定の操作パターンに従った操作ロック状態を解除する操作を行うことにより解除する方法がある(例えば、特許文献1参照)。
しかしながら、ユーザが操作ロック状態を解除するための所定の操作パターンに従った同じ操作を繰り返し行った場合、表示面に対して操作した指の軌跡が残ってしまい操作ロック状態を解除する操作パターンを他者によって容易に解読されてしまう可能性があった。
本発明は、このような事情に鑑みてなされたもので、その目的は、ユーザが操作ロック状態を解除するための所定の操作パターンを容易に解読されないようにすることができる電子機器、およびプログラムを提供することにある。
この発明は上述した課題を解決するためになされたもので、本発明は、ユーザを認証する認証部と、表示面に対する操作を検出する操作検出部を有し、前記操作検出部が操作を検出する範囲内に配置される検出領域を示す情報を表示する表示部と、少なくとも何れかの操作入力を受け付けない操作ロック状態を解除する操作パターンを検出する複数の前記検出領域の配置パターンを、前記認証部の認証結果に応じて設定する設定部と、前記操作ロック状態において、前記設定部が設定した前記配置パターンに従って、前記操作ロック状態を解除する操作パターンを検出する複数の前記検出領域を示す情報を前記表示部に表示させる表示制御部と、を備えることを特徴とする電子機器である。
また、本発明は、ユーザを認証する認証部と、表示面に対する操作を検出する操作検出部を有し、前記操作検出部が操作を検出する範囲内に配置される検出領域を示す情報を表示する表示部と、を有する電子機器が備えるコンピュータに、少なくとも何れかの操作入力を受け付けない操作ロック状態を解除する操作パターンを検出する複数の前記検出領域の配置パターンを、前記認証部の認証結果に応じて設定する設定ステップと、前記操作ロック状態において、前記設定ステップにおいて設定した前記配置パターンに従って、前記操作ロック状態を解除する操作パターンを検出する複数の前記検出領域を示す情報を前記表示部に表示させる表示制御ステップと、を実行させるためのプログラムである。
この発明によれば、ユーザが操作ロック状態を解除するための所定の操作パターンを容易に解読されないようにすることができる。
以下、図面を参照して、本発明の実施の形態について説明する。
<第1実施形態>
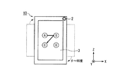
図1は、この発明の一実施形態による電子機器の構成を示す概略ブロック図である。
図1に示す電子機器は、タッチパネルを備えたタブレット型の端末装置10である。端末装置10は、登録されたユーザに対してのみ端末装置10が有する機能が利用可能なように、操作を受け付けない操作ロック状態(以下、ロック状態と称する)を解除するには、タッチパネルに対してロック状態を解除する所定の操作パターンに従ったタッチ操作が必要なように構成されている。以下、図1を参照して、端末装置10の構成について説明する。
<第1実施形態>
図1は、この発明の一実施形態による電子機器の構成を示す概略ブロック図である。
図1に示す電子機器は、タッチパネルを備えたタブレット型の端末装置10である。端末装置10は、登録されたユーザに対してのみ端末装置10が有する機能が利用可能なように、操作を受け付けない操作ロック状態(以下、ロック状態と称する)を解除するには、タッチパネルに対してロック状態を解除する所定の操作パターンに従ったタッチ操作が必要なように構成されている。以下、図1を参照して、端末装置10の構成について説明する。
端末装置10は、撮像部2、タッチパネル部3(タッチパネル)、記憶部4、及び制御部5を備えている。撮像部2は、端末装置10を使用するユーザを撮影可能なように、例えばタッチパネル部3と同じ側の筐体に配置されている。すなわち、撮像部2は、端末装置10の筐体において、端末装置10を使用するユーザ(タッチパネル部3を操作するユーザ)に対面する側に配置されている。そして、撮像部2は、端末装置10を使用しているユーザ、すなわちタッチパネル部3に対面する方向にいるユーザを撮像する。また、撮像部2は、光学レンズと、当該光学レンズを介して入力される光学像を撮像する撮像素子と、当該撮像素子に撮像された画像をデジタル画像信号として出力する撮像信号処理部と、を有している。また、撮像部2は、後述する制御部5が備えている認証部51に撮像した画像(デジタル画像信号)を供給する。
タッチパネル部3は、表示部31と、表示部31の表示面に対するタッチ操作(接触操作)を検出する操作検出部32と、を備えている。表示部31は、例えば液晶ディスプレイ又は有機EL(Electro Luminescence)ディスプレイ等を含んで構成され、情報又は画像を表示する。また、表示部31は、タッチパネル部3に対するタッチ操作を検出する検出領域を示す情報を表示する。例えば、表示部31は、操作検出部32が操作を検出する範囲内に配置される検出領域を示す情報を表示する。
操作検出部32は、表示部31の表示面に対するタッチ操作(接触操作)を検出するタッチセンサを含んで構成されている。このタッチセンサは、表示部31の表示面に配置され、タッチ操作により触れられた位置を検出する。なお、タッチセンサは、静電容量方式、抵抗膜方式、電磁誘導方式、又はその他の方式の何れのタッチセンサでもよい。
例えば、操作検出部32は、表示部31の表示面に対するタッチ操作に応じてタッチ操作された位置を検出し、検出結果を制御部5に出力する。
例えば、操作検出部32は、表示部31の表示面に対するタッチ操作に応じてタッチ操作された位置を検出し、検出結果を制御部5に出力する。
記憶部4は、ユーザを特定するユーザ情報が予め登録されているユーザ情報記憶部41と、表示部31の表示面に対するタッチ操作の操作パターンを示す情報を記憶する操作パターン記憶部42と、を備えている。
ユーザ情報記憶部41は、端末装置10の所有者又は主使用者であるユーザを特定するユーザ情報を記憶する。例えば、ユーザ情報記憶部41は、ユーザ情報として、ユーザを識別する識別情報(ユーザID)と、そのユーザの顔画像又は顔画像の特徴量を示す情報と、を関連付けて記憶する。このユーザ情報は、ユーザが、例えば端末装置10を初めて使用するときに登録したアカウント情報である。つまり、ユーザ情報記憶部41にユーザ情報が記憶(登録)されているユーザは端末装置10の所有者又は主使用者本人である。一方、ユーザ情報記憶部41にユーザ情報が記憶(登録)されていないユーザは端末装置10の所有者又は主使用者本人とは異なる他者である。
なお、ユーザ情報記憶部41は、1人のユーザ情報を記憶することに限られるものではなく、複数人のユーザ情報を記憶してもよい。また、このユーザ情報に含まれるユーザIDと関連付けられた顔画像又は顔画像の特徴量は、後述する制御部5が備えている認証部51がユーザを認証する際に用いられるユーザ情報である。また、端末装置10は、この顔画像又は顔画像の特徴量を、撮像部2が撮像した所有者又は主使用者であるユーザの顔画像に基づいて予め生成してもよいし、予め他の機器で生成され、記憶媒体や無線通信を介して取得したものであってもよい。
操作パターン記憶部42は、後述するロック解除画面において、ロック状態を解除する操作パターンを示す情報を記憶している。例えば、操作パターン記憶部42は、予め設定されたロック状態を解除する操作パターンを示す情報、又はユーザにより設定されたロック状態を解除する操作パターンを示す情報を記憶する。また、操作パターン記憶部42は、ユーザにより設定されたロック状態を解除する操作パターンを、ユーザIDに関連付けて記憶する。
制御部5は、端末装置10が備える各部の動作を制御する。例えば、制御部5は、端末装置10の動作状態を、端末装置10が有する機能を実行させる操作入力を受け付ける通常動作状態と、端末装置10が有する機能のうちの少なくとも何れかの機能を実行させる操作入力を受け付けないロック状態と、のうちの何れかに制御する。例えば、制御部5は、電源起動時において、端末装置10の動作状態をまずロック状態になるように起動し、その後ユーザによりロック状態を解除する操作が入力されることに応じて、通常動作状態に遷移させる。また、制御部5は、例えば通常動作状態において操作がされない状態が長時間継続した場合、端末装置10の動作状態を通常動作状態からロック状態に遷移させる。
また、本実施形態の端末装置10は、端末装置10の動作状態がロック状態の場合、ユーザが、ロック状態を解除するためのタッチ操作を入力することが可能なロック解除画面を表示部31に表示させる。そして、端末装置10は、ロック状態において、タッチパネル部3に対してロック状態を解除する操作パターンのタッチ操作が行われた場合に、ロック状態を解除して通常動作状態に遷移する。例えば、制御部5は、端末装置10の動作状態をロック状態に遷移させた場合、ロック解除画面を表示部31に表示する。そして、制御部5は、ロック状態を解除する操作パターンのタッチ操作がされたことを操作検出部32が検出した場合、端末装置10の動作状態をロック状態から通常動作状態に遷移させ、表示部31に表示させる表示画面をロック解除画面から通常動作状態の表示画面に切り替える。
図2は、ロック解除画面の一例を示す図である。制御部5は、ロック状態を解除する操作パターンを検出する複数の検出領域を示す情報を、表示部31に表示させる。この図において、制御部5は、ロック状態を解除する操作パターンを検出するための「A」、「B」、「C」、「D」の4つの検出領域を示す情報を、それぞれ四角形の各頂点の位置関係になるような配置パターンで表示部31に表示させる。例えば、制御部5は、「A」、「B」、「C」、「D」の4つの検出領域を示す情報を、検出領域「A」が四角形の各頂点のうちの左上の頂点の位置、検出領域「B」が四角形の各頂点のうちの右上の頂点の位置、検出領域「C」が四角形の各頂点のうちの左下の頂点の位置、及び、検出領域「D」が四角形の各頂点のうちの右下の頂点の位置、となるような配置パターンで表示部31に表示させる。
また、この図において、ロック状態を解除する操作パターンは、矢印101で示すように「A」、「B」、「C」の順(四角形の各頂点のうちの左上の頂点の位置、右上の頂点の位置、左下の頂点の位置、の順)に検出領域を通過するようになぞる操作パターンであることを示している。そして、制御部5は、図2の矢印101で示すようなロック状態を解除する操作パターンのタッチ操作がされたことを操作検出部32が検出した場合、端末装置10の動作状態をロック状態から通常動作状態に遷移させ、表示部31に表示させる表示画面をロック解除画面から通常動作状態の表示画面に切り替える。
図1に戻り、制御部5の構成について詳しく説明する。
制御部5は、認証部51と、設定部52と、表示制御部53と、操作制御部54と、操作パターン判定部55と、状態制御部56と、を備えている。
制御部5は、認証部51と、設定部52と、表示制御部53と、操作制御部54と、操作パターン判定部55と、状態制御部56と、を備えている。
認証部51は、端末装置10を使用するユーザを認証する。例えば、認証部51は、ユーザを認証する場合、撮像部2が撮像した画像からユーザの顔画像を検出するとともに、検出した顔画像に基づいてユーザを特定する。また、認証部51は、ユーザ情報記憶部41に登録されているユーザ情報に基づいて、ユーザを認証して特定する。
具体的には、認証部51は、ユーザ情報記憶部41を参照して、検出した顔画像と、予め登録されているユーザIDに関連付けられた顔画像とを照合する。そして、認証部51は、照合した結果、検出した顔画像が予め登録されているユーザIDに関連付けられた顔画像と合致した場合、検出した顔画像のユーザ(端末装置10を使用しようとしているユーザ)が、ユーザ情報として登録されているユーザ(すなわち、端末装置10の所有者又は主使用者本人)であると特定する。
設定部52は、ロック状態を解除する操作パターンを検出する複数の検出領域の配置パターン(表示部31に表示させるロック解除画面の複数の検出領域の配置パターン)を、認証部51の認証結果に応じて設定する。例えば、設定部52は、認証部51の認証結果により、ユーザ情報記憶部41にユーザ情報として登録されているユーザが特定されたか否かに応じて、ロック解除画面の複数の検出領域の配置パターンを設定する。
この設定部52が認証部51の認証結果に応じてロック解除画面の複数の検出領域の配置パターンを設定する処理について、詳しくは後述する。
この設定部52が認証部51の認証結果に応じてロック解除画面の複数の検出領域の配置パターンを設定する処理について、詳しくは後述する。
表示制御部53は、表示部31に、情報、画像、又はタッチパネル部3におけるタッチ操作に関する操作情報を表示する制御を実行する。例えば、表示制御部53は、ロック状態において、設定部52が設定した配置パターンに従って、操作ロック状態を解除する操作パターンを検出する複数の前記検出領域を示す情報を、ロック解除画面として、表示部31に表示させる。また、表示制御部53は、表示部31の表示のオンとオフとの切り替え制御(表示状態と非表示状態との切り替え制御)等を実行する。
操作制御部54は、操作検出部32の検出結果に基づいて、表示部31の表示面に対してタッチ操作された位置を示す操作位置情報を生成する。また、操作制御部54は、表示制御部53が表示部31に表示した検出領域(タッチ操作を検出する検出領域)の表示位置と、生成した操作位置情報とに基づいて、タッチ操作が行われた操作内容を示す操作情報を生成する。
操作パターン判定部55は、操作パターン記憶部42を参照して、タッチパネル部3に対してタッチ操作された操作パターンが、ロック状態を解除する操作パターンであるか否かを判定する。具体的には、操作パターン判定部55は、操作パターン記憶部42に記憶されているロック状態を解除する操作パターンを示す情報と、操作制御部54が生成した操作情報とに基づいて、タッチパネル部3に対してタッチ操作された操作パターンが、ロック状態を解除する操作パターンであるか否かを判定する。
状態制御部56は、端末装置10の動作状態を、端末装置10が有する機能を実行させる操作を受け付ける通常動作状態と、端末装置10が有する機能のうちの少なくとも何れかの機能を実行させる操作を受け付けないロック状態(操作ロック状態)と、のうちの何れかに制御する。また、状態制御部56は、端末装置10の動作状態をロック状態に遷移させた場合、ロック解除画面を表示制御部53を介して表示部31に表示させる。
また、状態制御部56は、ロック解除画面として、設定部52が設定した配置パターンに従って、ロック状態を解除する操作パターンを検出する複数の検出領域(例えば図2に示す「A」、「B」、「C」、「D」の4つの検出領域)を示す情報を、表示制御部53を介して表示部31に表示させる。
また、状態制御部56は、ロック状態において、ロック解除画面を表示部31に表示させている際に、操作検出部32により検出された表示面に対する操作が、ロック状態を解除する操作パターンであると操作パターン判定部55により判定された場合、端末装置10の動作状態をロック状態から通常動作状態に遷移させる(ロック状態を解除する)。また、状態制御部56は、この場合、表示部31に表示する表示画面をロック解除画面から通常動作状態の表示画面に切り替える。
(配置パターンの例)
次に、設定部52が、認証部51の認証結果に応じて、ロック解除画面の表示内容(配置パターン)を設定する際の配置パターンの例について、図2から図4を用いて詳しく説明する。上述したように、設定部52は、認証部51の認証結果により、ユーザ情報記憶部41にユーザ情報として登録されているユーザが特定されたか否かに応じて、ロック解除画面における複数の検出領域の配置パターンを設定する。
次に、設定部52が、認証部51の認証結果に応じて、ロック解除画面の表示内容(配置パターン)を設定する際の配置パターンの例について、図2から図4を用いて詳しく説明する。上述したように、設定部52は、認証部51の認証結果により、ユーザ情報記憶部41にユーザ情報として登録されているユーザが特定されたか否かに応じて、ロック解除画面における複数の検出領域の配置パターンを設定する。
ここで、認証部51が、撮像部2が撮像した画像から検出した顔画像のユーザ(端末装置10を使用しようとしているユーザ)がユーザ情報として登録されているユーザ(すなわち、端末装置10の所有者又は主使用者本人)であると特定したとする。この場合、設定部52は、ロック状態を解除する操作パターンを検出する複数の検出領域を示す情報の配置パターンを、図2に示すロック解除画面のような配置パターンに設定する。
例えば、設定部52は、ロック状態を解除する操作パターンを検出する「A」、「B」、「C」、「D」の4つの検出領域を示す情報の配置パターンを、検出領域「A」が四角形の各頂点のうちの左上の頂点の位置、検出領域「B」が四角形の各頂点のうちの右上の頂点の位置、検出領域「C」が四角形の各頂点のうちの左下の頂点の位置、及び、検出領域「D」が四角形の各頂点のうちの右下の頂点の位置、となるような配置パターンに設定する。また、ロック状態を解除する操作パターンは、矢印101で示すように「A」、「B」、「C」の順に検出領域を通過するようになぞる操作パターンであって、四角形の各頂点のうちの左上の頂点の位置、右上の頂点の位置、左下の頂点の位置、の順に検出領域を通過するようになぞる操作パターンである。
一方、認証部51が、撮像部2が撮像した画像から検出した顔画像のユーザ(端末装置10を使用しようとしているユーザ)がユーザ情報として登録されているユーザであると特定できなかったとする。つまり、端末装置10を使用しようとしているユーザは、端末装置10の所有者又は主使用者本人とは異なる他者である(或いは、撮像部2が撮像した画像から顔画像が検出されなかった場合も含む)。この場合、設定部52は、ロック状態を解除する操作パターンを検出する複数の検出領域を示す情報の配置パターンを、図2に示すロック解除画面のような配置パターンとは異なるように、「A」、「B」、「C」、「D」の4つの検出領域の並びが異なる配置パターンに設定する。
例えば、設定部52は、図3に示すロック解除画面のように、「A」、「B」、「C」、「D」の4つの検出領域を示す情報の配置パターンを、検出領域「A」が四角形の各頂点のうちの左上の頂点の位置、検出領域「B」が四角形の各頂点のうちの左下の頂点の位置、検出領域「C」が四角形の各頂点のうちの右下の頂点の位置、及び、検出領域「D」が四角形の各頂点のうちの右上の頂点の位置、となるような配置パターンに設定する。よって、ロック状態を解除する操作パターンは、矢印102で示すように「A」、「B」、「C」の順に検出領域を通過するようになぞる操作パターンであって、四角形の各頂点のうちの左上の頂点の位置、左下の頂点の位置、右下の頂点の位置、の順に検出領域を通過するようになぞる操作パターンとなる
このように、設定部52は、認証部51の認証結果により、ユーザ情報記憶部41にユーザ情報として登録されているユーザが特定(認証)されたか否かに応じて、ロック解除画面における複数の検出領域の配置パターンを設定する。すなわち、設定部52は、認証部51の認証結果により、端末装置10を使用しようとしているユーザが、ユーザ情報として登録されているユーザ(すなわち、端末装置10の所有者又は主使用者本人)であるか否かに応じて、互いに異なる配置パターンに設定する。つまり、端末装置10は、端末装置10の所有者又は主使用者本人であるか否かに応じて、ロック状態を解除する操作パターンによる表示面上の軌跡が異なるようにロック解除画面を表示部31に表示する。
これにより、端末装置10は、ロック状態を解除する操作パターンを、表示面上に残るタッチ操作の軌跡によって他者に容易に解読されてしまうことを防止することができる。よって、端末装置10は、ユーザがロック状態を解除するための所定の操作パターンを、他者に容易に解読されないようにすることができる。
なお、設定部52は、認証部51の認証結果に応じて、図2に示すロック解除画面の配置パターンと異なる配置パターンを設定する場合、図3に示すロック解除画面の配置パターン(図2の配置パターンとは「A」、「B」、「C」、「D」の4つの検出領域の並びが異なる配置パターン)に設定することに限られるものではなく、図2に示す配置パターンと異なる配置パターンであれば他の配置パターンに設定してもよい。
例えば、設定部52は、図2に示すロック解除画面の配置パターンとは異なる配置パターンとして、図3に示す配置パターンに代えて、図4に示すロック解除画面のような配置パターンに設定してもよい。図4に示す配置パターンの例は、図2に示す配置パターンに対して、表示部31の表示領域内における、「A」、「B」、「C」、「D」の4つの検出領域の位置が異なる配置パターンの例であって、4つの検出領域の重心となる位置を中心として、4つの検出領域の位置を45度右に回転した配置パターンの例である。この例では、ロック状態を解除する操作パターンは、矢印103で示すように「A」、「B」、「C」の順に検出領域を通過するようになぞる操作パターンであって、図2の配置パターンに対して45度回転した四角形の各頂点(上、下、左、右、の位置の各頂点)のうちの上の頂点の位置、右の頂点の位置、左の頂点の位置、の順に検出領域を通過するようになぞる操作パターンとなる。
このように、設定部52は、端末装置10の所有者又は主使用者本人とは異なる他者がユーザの場合、図4に示すロック解除画面のような配置パターンに設定してもよい。これにより、端末装置10は、端末装置10の所有者又は主使用者本人であるか否かに応じて、ロック状態を解除する操作パターンによる表示面上の軌跡が異なるようにロック解除画面を表示部31に表示することができる。
(ロック状態を解除する処理の説明)
続いて、図5を参照して、端末装置10がロック状態を解除する処理の動作について説明する。
図5は、端末装置10がロック状態を解除する処理の一例を示すフローチャートである。なお、端末装置10は、動作状態をロック状態に遷移させたことに応じて、この処理を開始する。
続いて、図5を参照して、端末装置10がロック状態を解除する処理の動作について説明する。
図5は、端末装置10がロック状態を解除する処理の一例を示すフローチャートである。なお、端末装置10は、動作状態をロック状態に遷移させたことに応じて、この処理を開始する。
まず、設定部52は、状態制御部56が端末装置10の動作状態をロック状態に遷移させたことに応じて、タイマーによる計時をスタートする(ステップS11)。なお、このタイマーは、設定部52が備えている構成としてもよいし、設定部52以外に備えられている構成としてもよい。
次に、認証部51は、撮像部2が撮像した画像からユーザの顔画像を検出する(ステップS12)。続いて、認証部51は、検出した顔画像と、ユーザ情報記憶部41に登録されているユーザ情報とに基づいて、端末装置10を使用するユーザを認証する(ステップS13)。
設定部52は、ステップS13における認証部51の認証結果により、ユーザ情報記憶部41にユーザ情報として登録されているユーザが特定されたか否かを判定する。すなわち、設定部52は、検出した顔画像のユーザ(端末装置10を使用しようとしているユーザ)が、ユーザ情報として登録されているユーザ(すなわち、端末装置10の所有者又は主使用者本人)であるか否かを判定する(ステップS14)。
ステップS14において、端末装置10を使用しようとしているユーザが端末装置10の所有者又は主使用者本人であると判定された場合(ステップS14:YES)、設定部52は、ロック解除画面の配置パターンを第1の配置パターン(例えば、図2に示す配置パターン)に設定し(ステップS15)、ステップS31に処理を進める。
一方、ステップS14において、端末装置10を使用しようとしているユーザが端末装置10の所有者又は主使用者本人でないと判定された場合(ステップS14:NO)、設定部52は、ステップS11において計時をスタートしたタイマーがタイムアップしたか否かを判定する(ステップS16)。ここで、設定部52は、タイマーがタイムアップしたか否かの判定を、予め定められた時間を越えたか否かによって判定する。なお、この予め定められた時間とは、端末装置10の動作状態がロック状態に遷移した際に、ロック解除画面を表示部31に表示する前に認証部51がユーザを認証(端末装置10の所有者又は主使用者本人による認証)する時間の長さの制限として予め定められた時間である。
ステップS16において、タイマーがタイムアップしていないと判定された場合(ステップS16:NO)、設定部52は、ステップS12に処理を戻す。これにより、認証部51はユーザを認証する処理を再度実行する。例えば、撮像部2が撮像した画像からユーザの顔画像が検出されなかった場合、または撮像部2が撮像した画像から検出された顔画像が、端末装置10の所有者又は主使用者本人の顔画像ではないと判定された場合、タイマーがタイムアップするまでの間、設定部52は、ステップS12に処理を戻し、認証部51にユーザ認証を実行させる。
一方、ステップS16において、タイマーがタイムアップしたと判定された場合(ステップS16:YES)、設定部52は、ロック解除画面の配置パターンを第1の配置パターンとは異なる第2の配置パターン(例えば、図3または図4に示す配置パターン)に設定する(ステップS17)。
次に、状態制御部56は、設定部52が設定した第1の配置パターンおよび第2の配置パターンの何れかに従って、ロック状態を解除する操作パターンを検出する複数の検出領域を示す情報を、ロック解除画面として、表示制御部53を介して表示部31に表示させる(ステップS31)。例えば、ステップS14において、端末装置10を使用しようとしているユーザが端末装置10の所有者又は主使用者本人であると判定された場合、状態制御部56は、第1の配置パターンに従ったロック解除画面(例えば、図2に示すロック解除画面)を、表示制御部53を介して表示部31に表示させる。また、ステップS14において、端末装置10を使用しようとしているユーザが端末装置10の所有者又は主使用者本人でないと判定された場合、状態制御部56は、第2の配置パターンに従ったロック解除画面(例えば、図3又は図4に示すロック解除画面)を、表示制御部53を介して表示部31に表示させる。
続いて、操作制御部54は、操作検出部32の検出結果に基づいて、タッチパネル部3に対してタッチ操作がされたか否かを判定する(ステップS32)。ここで、タッチパネル部3に対してタッチ操作がされていないと判定された場合(ステップS32:NO)、操作制御部54は、タッチパネル部3に対してタッチ操作がされたか否かを判定するステップS32の処理を継続する。
一方、ステップS32において、タッチパネル部3に対してタッチ操作がされたと判定された場合(ステップS32:YES)、操作制御部54は、操作検出部32の検出結果に基づいて、表示部31の表示面に対してタッチ操作された位置を示す操作位置情報を生成する。また、操作制御部54は、表示制御部53が表示部31に表示したタッチ操作を検出する検出領域の表示位置と、生成した操作位置情報とに基づいて、タッチ操作が行われた操作内容を示す操作情報を生成する。そして、操作制御部54は、生成した操作情報を、操作パターン判定部55に供給する。
次に、操作パターン判定部55は、操作パターン記憶部42を参照して、タッチパネル部3に対してタッチ操作された操作パターンがロック状態を解除する操作パターンであるか否かを判定する。具体的には、操作パターン判定部55は、操作パターン記憶部42に記憶されているロック状態を解除する操作パターンを示す情報と、操作制御部54が生成した操作情報とに基づいて、タッチパネル部3に対してタッチ操作された操作パターンがロック状態を解除する操作パターンであるか否かを判定する(ステップS33)。
ステップS33において、タッチパネル部3に対してタッチ操作された操作パターンがロック状態を解除する操作パターンでないと判定された場合(ステップS33:NO)、状態制御部56は、ロック状態を解除できないことを示すエラー情報を、表示制御部53を介して表示部31に表示させる(ステップS34)。
一方、ステップS33において、タッチパネル部3に対してタッチ操作された操作パターンがロック状態を解除する操作パターンであると判定された場合(ステップS33:YES)、状態制御部56は、端末装置10の動作状態をロック状態から通常動作状態に遷移させ、ロック状態を解除する(ステップS35)。これにより、端末装置10は、ロック状態を解除する処理を終了する。
このように、端末装置10は、端末装置10を使用しようとしているユーザが、ユーザ情報として登録されているユーザ(すなわち、端末装置10の所有者又は主使用者本人)であるか否かに応じて設定した互いに異なる配置パターンのロック解除画面を表示部31に表示する。そして、端末装置10は、表示したロック解除画面に対応したロック状態を解除する操作パターンのタッチ操作がされた場合、ロック状態を解除する。
これにより、端末装置10は、端末装置10の所有者又は主使用者本人からロック状態を解除する操作パターンのタッチ操作がされた場合にはロック状態を解除することができるとともに、ロック状態を解除する操作パターンを、表示面上に残るタッチ操作の軌跡によって他者に容易に解読されてしまうことを防止することができる。
なお、記憶部4のユーザ情報記憶部41には、複数のユーザを特定する複数のユーザ情報が予め登録されていてもよい。すなわち、ユーザ情報記憶部41には、複数のユーザのユーザ情報が、端末装置10の所有者又は主使用者として登録されていてもよい。また、この場合、設定部52は、認証部51の認証結果により、複数のユーザ情報のうちの何れかの情報として登録されているユーザが特定されたか否かに応じて、配置パターンを設定してもよい。すなわち、設定部52は、端末装置10の所有者又は主使用者として登録されている複数のユーザに対する配置パターンと、端末装置10の所有者又は主使用者として登録されている複数のユーザ以外の他者に対する配置パターンとを、互いに異ならせるように設定してもよい。
これにより、端末装置10は、複数のユーザが端末装置10の所有者又は主使用者として登録された場合であっても、端末装置10の所有者又は主使用者のうちの何れか本人からロック状態を解除する操作パターンのタッチ操作がされた場合にはロック状態を解除することができるとともに、登録された複数のユーザ以外の他者に、表示面上に残るタッチ操作の軌跡によって、ロック状態を解除する操作パターンを容易に解読されてしまうことを防止することができる。
また、ユーザ情報記憶部41に、複数のユーザのユーザ情報が、端末装置10の所有者又は主使用者として登録されている場合、設定部52は、認証部51の認証結果により、複数のユーザ情報のうちの何れの情報として登録されているユーザが特定されたかに応じて、配置パターンを設定してもよい。すなわち、設定部52は、端末装置10の所有者又は主使用者として登録されている複数のユーザ毎に、互いに異なる配置パターンに設定してもよい。
これにより、端末装置10は、複数のユーザがそれぞれのユーザのアカウント情報を用いて端末装置10を使用するような場合であっても、端末装置10に登録されている複数のユーザのうちの他のユーザに、ロック状態を解除する操作パターンを表示面上に残るタッチ操作の軌跡によって容易に解読されてしまうことを防止することができる。
なお、設定部52は、認証部51の認証結果に応じて互いに異なる配置パターンを設定する場合、端末装置10の傾きに応じた配置パターンに変更することにより異なる配置パターンに設定してもよい。この端末装置10の傾きに応じた配置パターンに変更する処理について、続く第2実施形態において説明する。
<第2実施形態>
次に、図面を参照して、本発明の第2実施形態について説明する。この第2実施形態では、設定部52が認証部51の認証結果と端末装置10の傾きとに応じて配置パターンを設定することが、第1実施形態と異なる。
図6は、この発明の第2実施形態による端末装置10(電子機器)の構成を示す概略ブロック図である。この図6を参照して、第2実施形態による端末装置10の構成について説明する。
次に、図面を参照して、本発明の第2実施形態について説明する。この第2実施形態では、設定部52が認証部51の認証結果と端末装置10の傾きとに応じて配置パターンを設定することが、第1実施形態と異なる。
図6は、この発明の第2実施形態による端末装置10(電子機器)の構成を示す概略ブロック図である。この図6を参照して、第2実施形態による端末装置10の構成について説明する。
図6に示すように、端末装置10は、図1に示す構成に加えて、水準器6と、傾き検出部57と、を備えている点が、図1に示す構成と相違する。なお、図6において図1の各部に対応する部分には同一の符号を付け、その説明を省略する。
水準器6は、端末装置10の地面に対する角度や傾斜(水平、垂直、または90度傾き等)を検知する。傾き検出部57は、端末装置10(自機器)が何れの方向を向いているかを検出する。例えば、傾き検出部57は、水準器6の検知結果に基づいて、端末装置10の傾き(例えば地面に対する傾き)を検出する。なお、水準器6は、加速度センサ、ジャイロセンサ、傾斜センサ、等を含む構成としてもよい。そして、傾き検出部57は、加速度センサ、ジャイロセンサ、傾斜センサ、などの出力に応じて端末装置10の傾き(例えば地面に対する傾き)を検出してもよい。なお、傾き検出部57は、ユーザに対する端末装置10(自機器)の傾きを検出してもよいし、単に時間の経過にともなう端末装置10(自機器)の傾きの変化を検出してもよい。また、傾き検出部57は、検出結果を設定部52に供給する。
なお、傾き検出部57は、検出結果を認証部51に供給してもよい。例えば、認証部51は、傾き検出部57の検出結果に基づいて、撮像部2が撮像した画像の向き(傾き)を補正してから顔画像を検出してもよい。
設定部52は、認証部51の認証結果と傾き検出部57の検出結果とに応じて、配置パターンを設定する。例えば、設定部52は、認証部51の認証結果により、ユーザ情報記憶部41にユーザ情報として登録されているユーザが特定されたか否かに応じて、傾き検出部57の検出結果に応じた配置パターンとするか否かを設定する。
一例としては、設定部52は、認証部51の認証結果により、ユーザ情報記憶部41にユーザ情報として登録されているユーザ(すなわち、端末装置10の所有者又は主使用者本人)であると特定された場合、傾き検出部57の検出結果に応じた配置パターンとする。
一例としては、設定部52は、認証部51の認証結果により、ユーザ情報記憶部41にユーザ情報として登録されているユーザ(すなわち、端末装置10の所有者又は主使用者本人)であると特定された場合、傾き検出部57の検出結果に応じた配置パターンとする。
図7から図9は、第2実施形態によるロック解除画面の例を示す図である。なお、図7から図9において、XYZ直交座標系が、互いに直交するX軸とY軸とが水平面に対して平行に定められ、Z軸が水平面に対して直交する軸として定められている。
図7は図2に示すロック解除画面の配置パターンと同様であり、第2実施形態における基準(既定)の配置パターンを示している。また、図7は、端末装置10の表示部31(タッチパネル部3)の表示面がXZ平面と水平な関係であって、表示部31の4辺のうち短い方の辺がZ軸と水平、且つ長い方の辺がX軸と水平な関係であること示している。なお、図7に示す端末装置10の傾きを0度(回転角度θ=0度)として説明する。また、図8及び図9は、図7に示す端末装置10を、Z軸を中心に時計回りに90度回転(回転角度θ=+90度の回転)させた端末装置10のロック解除画面を示している。
図7は図2に示すロック解除画面の配置パターンと同様であり、第2実施形態における基準(既定)の配置パターンを示している。また、図7は、端末装置10の表示部31(タッチパネル部3)の表示面がXZ平面と水平な関係であって、表示部31の4辺のうち短い方の辺がZ軸と水平、且つ長い方の辺がX軸と水平な関係であること示している。なお、図7に示す端末装置10の傾きを0度(回転角度θ=0度)として説明する。また、図8及び図9は、図7に示す端末装置10を、Z軸を中心に時計回りに90度回転(回転角度θ=+90度の回転)させた端末装置10のロック解除画面を示している。
例えば、認証部51が、撮像部2が撮像した画像から検出した顔画像のユーザ(端末装置10を使用しようとしているユーザ)がユーザ情報として登録されているユーザ(すなわち、端末装置10の所有者又は主使用者本人)であると特定したとする。この場合、設定部52は、ロック状態を解除する操作パターンを検出する複数の検出領域を示す情報の配置パターンを、傾き検出部57の検出結果に応じた配置パターンに設定する。具体的には、設定部52は、図7に示す端末装置10を、Z軸を中心に時計回りに90度回転(回転角度θ=+90度の回転)させた場合には、端末装置10の傾きに応じて、図7に示す配置パターンを、Z軸を中心に反時計回りに90度回転(回転角度θ=−90度の回転)させた図8に示す配置パターン(回転角度θ=−90度の配置パターン)になるように設定する。
一方、認証部51が、撮像部2が撮像した画像から検出した顔画像のユーザ(端末装置10を使用しようとしているユーザ)がユーザ情報として登録されているユーザであると特定できなかったとする。つまり、端末装置10を使用しようとしているユーザは、端末装置10の所有者又は主使用者本人とは異なる他者である(或いは、撮像部2が撮像した画像から顔画像が検出されなかった場合も含む)。この場合、設定部52は、ロック状態を解除する操作パターンを検出する複数の検出領域を示す情報の配置パターンを、傾き検出部57の検出結果に係わらず、基準(既定)の配置パターンに設定する。具体的には、設定部52は、図7に示す端末装置10を、Z軸を中心に時計回りに90度回転(回転角度θ=+90度の回転)させた場合であっても、図7に示す配置パターンと同様の基準(既定)の配置パターン(回転角度θ=0度の配置パターン)になるように設定する。すなわち、設定部52は、図9に示す配置パターンになるように設定する。
このように、設定部52は、認証部51の認証結果と傾き検出部57の検出結果とに応じて、配置パターンを設定する。例えば、設定部52は、認証部51の認証結果により、ユーザ情報記憶部41にユーザ情報として登録されているユーザが特定されたか否かに応じて、傾き検出部57の検出結果に応じた配置パターンとするか否かを互いに異ならせるように配置パターンを設定する。一例として、設定部52は、端末装置10を使用しようとしているユーザが、ユーザ情報として登録されているユーザ(すなわち、端末装置10の所有者又は主使用者本人)であると判定した場合、傾き検出部57の検出結果に応じた配置パターンになるように設定する。一方、設定部52は、認証部51の認証結果により、端末装置10を使用しようとしているユーザが、ユーザ情報として登録されているユーザでないと判定した場合(すなわち、端末装置10の所有者又は主使用者本人とは異なる他者である場合、または、撮像部2が撮像した画像から顔画像が検出されなかった場合)、傾き検出部57の検出結果に応じて配置パターンを変更しないで、基準(既定)の配置パターンに設定する。
これにより、端末装置10は、端末装置10の所有者又は主使用者本人である場合には、傾き検出部57の検出結果に応じた配置パターンになるように設定するため、ロック状態を解除する操作パターンによって、表示面に対する軌跡が常に同じ軌跡とはならないようにすることができる。よって、端末装置10は、タッチ操作の軌跡が表示面上に残ることを抑制するため、ロック状態を解除する操作パターンを、他者に容易に解読されてしまうことを防止することができる。すなわち、端末装置10は、ユーザがロック状態を解除するための所定の操作パターンを、他者に容易に解読されないようにすることができる。
続いて、図10を参照して、第2実施形態による端末装置10がロック状態を解除する処理の動作について説明する。図10は、第2実施形態による端末装置10がロック状態を解除する処理の一例を示すフローチャートであって、図7から図9を用いて説明した配置パターンのロック解除画面を表示する場合の処理の例を示している。また、図10に示す処理は、図5に示すステップS15、S17の処理に代えて、ステップS21、S22、S23の処理としたことが図5に示す処理と異なる。なお、図10において図5の各処理に対応する部分には同一の符号を付け、その説明を省略する。
ステップS14において、端末装置10を使用しようとしているユーザが、端末装置10の所有者又は主使用者本人であると判定された場合(ステップS14:YES)、傾き検出部57は、水準器6の検知結果に基づいて、端末装置10の傾き(例えば地面に対する傾き)を検出する(ステップS21)。
次に、設定部52は、傾き検出部57が検出した端末装置10の傾きに応じてロック解除画面の配置パターンの表示を回転する回転角度θを算出し、算出した回転角度θに応じた配置パターンに設定する(ステップS22)。例えば、設定部52は、傾き検出部57が検出した端末装置10の傾きが0度(回転角度θ=0度)の場合、基準(既定)の配置パターン(回転角度θ=0度の配置パターン)になるように設定する(図7参照)。また、設定部52は、傾き検出部57が検出した端末装置10の傾きがZ軸を中心に時計回りに90度回転(回転角度θ=+90度の回転)した傾きの場合、Z軸を中心に反時計回りに90度回転(回転角度θ=−90度の回転)させた配置パターン(回転角度θ=−90度の配置パターン)になるように設定する(図8参照)。そして、設定部52は、ステップS31に処理を進める。
また、ステップS16において、タイマーがタイムアップしたと判定された場合(ステップS16:YES)、設定部52は、ロック解除画面の配置パターンを、端末装置10の傾きに係わらず基準(既定)の配置パターン(例えば、図7又は図9に示す回転角度θ=0度の配置パターン)に設定する(ステップS23)。
次に、状態制御部56は、設定部52が設定した端末装置10の傾きに応じた配置パターン、および基準(既定)の配置パターンの何れかに従って、ロック状態を解除する操作パターンを検出する複数の検出領域を示す情報を、ロック解除画面として、表示制御部53を介して表示部31に表示させる(ステップS31)。なお、以降の処理は、図5を用いて説明した処理と同様である。
これにより、端末装置10は、端末装置10の所有者又は主使用者本人からロック状態を解除する操作パターンのタッチ操作がされた場合にはロック状態を解除することができるとともに、端末装置10の傾きに応じて、ロック状態を解除する操作パターンの軌跡が常に同じ軌跡とはならないようにすることができる。よって、端末装置10は、表示面上に残るタッチ操作の軌跡によって他者に容易に解読されてしまうことを防止することができる。
以上第1実施形態と第2実施形態とを用いて説明したように、端末装置10は、ユーザがロック状態を解除するための所定の操作パターンを容易に解読されないようにすることができる。
なお、上記実施形態では、ロック状態を解除する操作パターンが、なぞる操作の操作パターンである場合の例を示したが、これに限られるものではない。ロック状態を解除する操作パターンは、例えば、複数の検出領域を所定の順に、単にタッチする操作の操作パターンであってもよい。また、ロック状態を解除する操作パターンは、数字やアルファベットがそれぞれ割り当てられて並んで配置されている複数の検出領域から、所定のパスワードの順番に従って選択した検出領域をタッチする操作の操作パターンであってもよい。
また、上記実施形態では、認証部51は、撮像部2が撮像した画像からユーザの顔画像を検出し、検出した顔画像に基づいてユーザを認証する例を説明したが、ユーザ認証の方法はこれに限られるものではない。例えば、認証部51は、顔画像を用いてユーザ認証するのに代えて、音声、指紋、血管、等を検知するセンサを備えて、これら音声、指紋、血管、等の生態認証を用いてユーザを認証してもよい。
また、上記実施形態では、撮像部2が端末装置10筐体のうちタッチパネル部3と同じ側の筐体に配置されている例を説明したが、これに限られるものではない。撮像部2は、ユーザを撮像することが可能な位置であれば、端末装置10の何れの位置に配置されていてもよい。また、撮像部2は、端末装置10に備えられていなくてもよく、ユーザを撮像することが可能な位置であれば、端末装置10に撮像した画像を送信可能な端末装置10以外の装置に備えられていてもよい。
また、認証部51の処理は、端末装置10の中において実行してもよいし、端末装置10と通信を介して接続するサーバ装置において実行してもよい。すなわち、認証部51は、端末装置10の制御部5が備える構成に限られるものではなく、端末装置10と通信を介して接続するサーバ装置が備える構成としてもよい。
また、操作パターン判定部55は、操作制御部54に含まれる構成としてもよいし、状態制御部56に含まれる構成としてもよい。また、設定部52は、状態制御部56に含まれる構成としてもよい。
また、操作パターン判定部55は、操作制御部54に含まれる構成としてもよいし、状態制御部56に含まれる構成としてもよい。また、設定部52は、状態制御部56に含まれる構成としてもよい。
また、上記実施形態では、電子機器としてタブレット型の端末装置10を例として説明したが、これらに限られるものではない。本発明の電子機器は、撮像装置、携帯電話、ナビゲーション端末装置、パーソナルコンピュータ、POS(Point Of Sale)端末、ゲーム機、電子辞書、電子玩具等であってもよい。
なお、上述の制御部5が備える認証部51、設定部52、表示制御部53、操作制御部54、操作パターン判定部55、状態制御部56、または傾き検出部57は専用のハードウェアにより実現されるものであってもよく、また、メモリおよびCPU(中央演算装置)により構成され、上述の各部の機能を実現するためのプログラムをメモリにロードして実行することによりその機能を実現させるものであってもよい。
また、上述の制御部5が備える認証部51、設定部52、表示制御部53、操作制御部54、操作パターン判定部55、状態制御部56、又は傾き検出部57の機能を実現するためのプログラムをコンピュータ読み取り可能な記録媒体に記録して、この記録媒体に記録されたプログラムをコンピュータシステムに読み込ませ、実行することにより上述の各部の処理を行ってもよい。なお、ここでいう「コンピュータシステム」とは、OSや周辺機器等のハードウェアを含むものとする。
また、「コンピュータシステム」は、WWWシステムを利用している場合であれば、ホームページ提供環境(あるいは表示環境)も含むものとする。
また、「コンピュータ読み取り可能な記録媒体」とは、フレキシブルディスク、光磁気ディスク、ROM、CD−ROM等の可搬媒体、コンピュータシステムに内蔵されるハードディスク等の記憶装置のことをいう。さらに「コンピュータ読み取り可能な記録媒体」とは、インターネット等のネットワークや電話回線等の通信回線を介してプログラムを送信する場合の通信線のように、短時間の間、動的にプログラムを保持するもの、その場合のサーバやクライアントとなるコンピュータシステム内部の揮発性メモリのように、一定時間プログラムを保持しているものも含むものとする。また上記プログラムは、前述した機能の一部を実現するためのものであってもよく、さらに前述した機能をコンピュータシステムにすでに記録されているプログラムとの組み合わせで実現できるものであってもよい。
また、「コンピュータ読み取り可能な記録媒体」とは、フレキシブルディスク、光磁気ディスク、ROM、CD−ROM等の可搬媒体、コンピュータシステムに内蔵されるハードディスク等の記憶装置のことをいう。さらに「コンピュータ読み取り可能な記録媒体」とは、インターネット等のネットワークや電話回線等の通信回線を介してプログラムを送信する場合の通信線のように、短時間の間、動的にプログラムを保持するもの、その場合のサーバやクライアントとなるコンピュータシステム内部の揮発性メモリのように、一定時間プログラムを保持しているものも含むものとする。また上記プログラムは、前述した機能の一部を実現するためのものであってもよく、さらに前述した機能をコンピュータシステムにすでに記録されているプログラムとの組み合わせで実現できるものであってもよい。
以上、この発明の実施形態を図面を参照して詳述してきたが、具体的な構成はこの実施形態に限られるものではなく、この発明の要旨を逸脱しない範囲の設計等も含まれる。
2 撮像部、4 記憶部、5 制御部、10 端末装置、31 表示部、32 操作検出部、51 認証部、52 設定部、53 表示制御部、55 操作パターン判定部、56 状態制御部、57 傾き検出部
Claims (8)
- ユーザを認証する認証部と、
表示面に対する操作を検出する操作検出部を有し、前記操作検出部が操作を検出する範囲内に配置される検出領域を示す情報を表示する表示部と、
少なくとも何れかの操作入力を受け付けない操作ロック状態を解除する操作パターンを検出する複数の前記検出領域の配置パターンを、前記認証部の認証結果に応じて設定する設定部と、
前記操作ロック状態において、前記設定部が設定した前記配置パターンに従って、前記操作ロック状態を解除する操作パターンを検出する複数の前記検出領域を示す情報を前記表示部に表示させる表示制御部と、
を備えることを特徴とする電子機器。 - 前記認証部は、
ユーザを認証する場合、撮像部が撮像した画像からユーザの顔画像を検出するとともに、検出した前記顔画像に基づいてユーザを特定する
ことを特徴とする請求項1に記載の電子機器。 - 記憶部にはユーザを特定するユーザ情報が予め登録されており、
前記認証部は、
ユーザを認証する場合、前記ユーザ情報に基づいてユーザを特定し、
前記設定部は、
前記認証部の認証結果により、前記ユーザ情報として登録されているユーザが特定されたか否かに応じて、前記配置パターンを設定する
ことを特徴とする請求項1または2に記載の電子機器。 - 前記記憶部には、複数のユーザを特定する複数の前記ユーザ情報が予め登録されており、
前記設定部は、
前記認証部の認証結果により、複数の前記ユーザ情報のうちの何れかの情報として登録されているユーザが特定されたか否かに応じて、前記配置パターンを設定する
ことを特徴とする請求項3に記載の電子機器。 - 前記設定部は、
前記認証部の認証結果により、複数の前記ユーザ情報のうちの何れの情報として登録されているユーザが特定されたかに応じて、前記配置パターンを設定する
ことを特徴とする請求項4に記載の電子機器。 - 自機器の傾きを検出する傾き検出部、
を備え、
前記設定部は、
前記認証部の認証結果と前記傾き検出部の検出結果とに応じて、前記配置パターンを設定する
ことを特徴とする請求項1から5の何れか一項に記載の電子機器。 - 前記操作検出部により検出された前記表示面に対する操作が、前記操作ロック状態を解除する操作パターンであるか否かを判定する操作パターン判定部と、
前記操作ロック状態において、前記操作検出部により検出された前記表示面に対する操作が、前記操作ロック状態を解除する操作パターンであると前記操作パターン判定部により判定された場合、前記操作ロック状態を解除することにより操作入力を受け付ける状態に遷移させる状態制御部と、
を備えることを特徴とする請求項1から6の何れか一項に記載の電子機器。 - ユーザを認証する認証部と、表示面に対する操作を検出する操作検出部を有し、前記操作検出部が操作を検出する範囲内に配置される検出領域を示す情報を表示する表示部と、を有する電子機器が備えるコンピュータに、
少なくとも何れかの操作入力を受け付けない操作ロック状態を解除する操作パターンを検出する複数の前記検出領域の配置パターンを、前記認証部の認証結果に応じて設定する設定ステップと、
前記操作ロック状態において、前記設定ステップにおいて設定した前記配置パターンに従って、前記操作ロック状態を解除する操作パターンを検出する複数の前記検出領域を示す情報を前記表示部に表示させる表示制御ステップと、
を実行させるためのプログラム。
Priority Applications (1)
| Application Number | Priority Date | Filing Date | Title |
|---|---|---|---|
| JP2012141954A JP2014006706A (ja) | 2012-06-25 | 2012-06-25 | 電子機器、およびプログラム |
Applications Claiming Priority (1)
| Application Number | Priority Date | Filing Date | Title |
|---|---|---|---|
| JP2012141954A JP2014006706A (ja) | 2012-06-25 | 2012-06-25 | 電子機器、およびプログラム |
Publications (1)
| Publication Number | Publication Date |
|---|---|
| JP2014006706A true JP2014006706A (ja) | 2014-01-16 |
Family
ID=50104368
Family Applications (1)
| Application Number | Title | Priority Date | Filing Date |
|---|---|---|---|
| JP2012141954A Pending JP2014006706A (ja) | 2012-06-25 | 2012-06-25 | 電子機器、およびプログラム |
Country Status (1)
| Country | Link |
|---|---|
| JP (1) | JP2014006706A (ja) |
Cited By (5)
| Publication number | Priority date | Publication date | Assignee | Title |
|---|---|---|---|---|
| JP5618437B1 (ja) * | 2014-01-07 | 2014-11-05 | 株式会社ライフ技術研究所 | 個人認証方法 |
| JP2015176555A (ja) * | 2014-03-18 | 2015-10-05 | 株式会社Nttドコモ | 通信端末及び通信端末の認証方法 |
| JP2016038758A (ja) * | 2014-08-08 | 2016-03-22 | 京セラドキュメントソリューションズ株式会社 | 操作装置及び操作方法 |
| JP2016149133A (ja) * | 2015-02-15 | 2016-08-18 | ゴールデン ヴェスト マカオ コマーシャル オフショア リミテッド | 携帯端末を用いた電子機器操作の制御方法及び携帯端末 |
| JP2017076236A (ja) * | 2015-10-14 | 2017-04-20 | ウェルネット株式会社 | 電子チケット管理システムおよび管理方法 |
-
2012
- 2012-06-25 JP JP2012141954A patent/JP2014006706A/ja active Pending
Cited By (5)
| Publication number | Priority date | Publication date | Assignee | Title |
|---|---|---|---|---|
| JP5618437B1 (ja) * | 2014-01-07 | 2014-11-05 | 株式会社ライフ技術研究所 | 個人認証方法 |
| JP2015176555A (ja) * | 2014-03-18 | 2015-10-05 | 株式会社Nttドコモ | 通信端末及び通信端末の認証方法 |
| JP2016038758A (ja) * | 2014-08-08 | 2016-03-22 | 京セラドキュメントソリューションズ株式会社 | 操作装置及び操作方法 |
| JP2016149133A (ja) * | 2015-02-15 | 2016-08-18 | ゴールデン ヴェスト マカオ コマーシャル オフショア リミテッド | 携帯端末を用いた電子機器操作の制御方法及び携帯端末 |
| JP2017076236A (ja) * | 2015-10-14 | 2017-04-20 | ウェルネット株式会社 | 電子チケット管理システムおよび管理方法 |
Similar Documents
| Publication | Publication Date | Title |
|---|---|---|
| US9141777B2 (en) | Authentication method and code setting method and authentication system for electronic apparatus | |
| US9119068B1 (en) | Authentication using geographic location and physical gestures | |
| KR102180226B1 (ko) | 복합 생체 정보를 이용한 보안을 제공하는 전자 장치 및 방법 | |
| US8769669B2 (en) | Method and apparatus to authenticate a user to a mobile device using mnemonic based digital signatures | |
| JP7023139B2 (ja) | 解錠システム、解錠装置、解錠方法、端末装置及びプログラム | |
| EP3559847B1 (en) | Electronic device for biometric authentication of a user | |
| KR20150046766A (ko) | 단말기의 잠금 해제 처리방법, 장치, 단말기 장치, 프로그램 및 기록매체 | |
| KR20130028506A (ko) | 주변환경을 이용한 잠금 해제기능을 갖는 전자장치 및 그 방법 | |
| US12039023B2 (en) | Systems and methods for providing a continuous biometric authentication of an electronic device | |
| US9245099B2 (en) | Unlocking a screen of a portable device | |
| JP2013016115A (ja) | 情報処理端末のロック解除方法 | |
| KR102532746B1 (ko) | 전자 장치 및 그 제어 방법 | |
| US10313508B2 (en) | Non-intrusive user authentication system | |
| JP2014006706A (ja) | 電子機器、およびプログラム | |
| CN115080943A (zh) | 电子设备和用于登记指纹数据和解锁电子设备的对应方法 | |
| JP6852508B2 (ja) | 携帯端末装置、その認証方法、およびプログラム | |
| KR101380718B1 (ko) | 센싱 정보를 이용한 패스워드 인증 장치 및 그 방법 | |
| KR20150047735A (ko) | 이미지 상에서의 사용자 입력에 기반한 사용자 인증방법 및 이를 적용한 전자기기 | |
| JP2013190992A (ja) | 情報処理端末、その認証方法、及び認証プログラム | |
| US10691833B2 (en) | Method and an apparatus for activating a predetermined function | |
| JP6765929B2 (ja) | 情報処理装置とその制御方法及びプログラム | |
| JP2007322549A (ja) | 情報処理装置 | |
| JP2015035179A (ja) | 画像処理装置及びプログラム | |
| KR101430199B1 (ko) | 비밀 채널 인터페이스 제공 장치 및 방법 | |
| JP6841549B2 (ja) | 情報処理装置、情報処理装置の制御方法、及び情報処理装置の制御プログラム |