JP2012187489A - 醤油粕のメタン発酵処理装置 - Google Patents
醤油粕のメタン発酵処理装置 Download PDFInfo
- Publication number
- JP2012187489A JP2012187489A JP2011052271A JP2011052271A JP2012187489A JP 2012187489 A JP2012187489 A JP 2012187489A JP 2011052271 A JP2011052271 A JP 2011052271A JP 2011052271 A JP2011052271 A JP 2011052271A JP 2012187489 A JP2012187489 A JP 2012187489A
- Authority
- JP
- Japan
- Prior art keywords
- slurry
- tank
- pipe
- soy sauce
- methane fermentation
- Prior art date
- Legal status (The legal status is an assumption and is not a legal conclusion. Google has not performed a legal analysis and makes no representation as to the accuracy of the status listed.)
- Withdrawn
Links
- VNWKTOKETHGBQD-UHFFFAOYSA-N methane Chemical compound C VNWKTOKETHGBQD-UHFFFAOYSA-N 0.000 title claims abstract description 48
- 235000013555 soy sauce Nutrition 0.000 title claims abstract description 42
- 238000000855 fermentation Methods 0.000 title claims abstract description 25
- 230000004151 fermentation Effects 0.000 title claims abstract description 25
- 239000002002 slurry Substances 0.000 claims abstract description 102
- 230000001079 digestive effect Effects 0.000 claims abstract description 26
- 235000011389 fruit/vegetable juice Nutrition 0.000 claims abstract description 7
- 238000003756 stirring Methods 0.000 claims abstract description 7
- 239000007788 liquid Substances 0.000 description 23
- 239000012530 fluid Substances 0.000 description 16
- 230000029087 digestion Effects 0.000 description 6
- 239000002994 raw material Substances 0.000 description 5
- 239000007787 solid Substances 0.000 description 5
- 230000004931 aggregating effect Effects 0.000 description 3
- 230000015572 biosynthetic process Effects 0.000 description 3
- 238000006477 desulfuration reaction Methods 0.000 description 3
- 230000023556 desulfurization Effects 0.000 description 3
- 239000000706 filtrate Substances 0.000 description 3
- 238000010438 heat treatment Methods 0.000 description 3
- 239000007791 liquid phase Substances 0.000 description 3
- 239000012071 phase Substances 0.000 description 3
- 239000010802 sludge Substances 0.000 description 3
- 239000000126 substance Substances 0.000 description 3
- 239000000463 material Substances 0.000 description 2
- 239000000047 product Substances 0.000 description 2
- 229910001220 stainless steel Inorganic materials 0.000 description 2
- 239000010935 stainless steel Substances 0.000 description 2
- XLYOFNOQVPJJNP-UHFFFAOYSA-N water Substances O XLYOFNOQVPJJNP-UHFFFAOYSA-N 0.000 description 2
- 238000005273 aeration Methods 0.000 description 1
- 239000007864 aqueous solution Substances 0.000 description 1
- 230000000052 comparative effect Effects 0.000 description 1
- 238000010586 diagram Methods 0.000 description 1
- 230000000694 effects Effects 0.000 description 1
- 238000000605 extraction Methods 0.000 description 1
- 239000000835 fiber Substances 0.000 description 1
- 230000005484 gravity Effects 0.000 description 1
- 239000002054 inoculum Substances 0.000 description 1
- 238000000034 method Methods 0.000 description 1
- 230000002093 peripheral effect Effects 0.000 description 1
- 238000010248 power generation Methods 0.000 description 1
- 238000002360 preparation method Methods 0.000 description 1
- 239000008399 tap water Substances 0.000 description 1
- 235000020679 tap water Nutrition 0.000 description 1
Images
Classifications
-
- Y—GENERAL TAGGING OF NEW TECHNOLOGICAL DEVELOPMENTS; GENERAL TAGGING OF CROSS-SECTIONAL TECHNOLOGIES SPANNING OVER SEVERAL SECTIONS OF THE IPC; TECHNICAL SUBJECTS COVERED BY FORMER USPC CROSS-REFERENCE ART COLLECTIONS [XRACs] AND DIGESTS
- Y02—TECHNOLOGIES OR APPLICATIONS FOR MITIGATION OR ADAPTATION AGAINST CLIMATE CHANGE
- Y02E—REDUCTION OF GREENHOUSE GAS [GHG] EMISSIONS, RELATED TO ENERGY GENERATION, TRANSMISSION OR DISTRIBUTION
- Y02E50/00—Technologies for the production of fuel of non-fossil origin
- Y02E50/30—Fuel from waste, e.g. synthetic alcohol or diesel
Landscapes
- Treatment Of Sludge (AREA)
- Processing Of Solid Wastes (AREA)
Abstract
【課題】醤油粕のメタン発酵処理装置において、オーバーフロー管11の上端開口部付近で、消化液に含まれる浮遊物が相互に凝集して閉鎖栓を形成することを予防する。
【解決手段】撹拌装置5を有する密閉式のタンク1、スラリー循環ポンプ9を介装するスラリー循環パイプ10、および、消化液を取り出すためのオーバーフロー管11を具備する醤油粕のメタン発酵処理装置において、該スラリー循環パイプ10の一方端を該タンク1の上部のガスホルダー室3に連通し、その他方端を該タンク1のスラリー収納槽2に連通して醤油粕のスラリーを間欠的に循環可能とし、オーバーフロー管11の下方端を該スラリー循環パイプ10に連通し、その上方端を該タンク1内のスラリーと同じ高さとなるように開口する。
【選択図】図1
【解決手段】撹拌装置5を有する密閉式のタンク1、スラリー循環ポンプ9を介装するスラリー循環パイプ10、および、消化液を取り出すためのオーバーフロー管11を具備する醤油粕のメタン発酵処理装置において、該スラリー循環パイプ10の一方端を該タンク1の上部のガスホルダー室3に連通し、その他方端を該タンク1のスラリー収納槽2に連通して醤油粕のスラリーを間欠的に循環可能とし、オーバーフロー管11の下方端を該スラリー循環パイプ10に連通し、その上方端を該タンク1内のスラリーと同じ高さとなるように開口する。
【選択図】図1
Description
本発明は、醤油粕のメタン発酵処理装置の改良に関する。
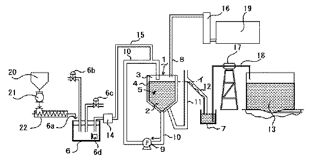
従来より醤油粕のメタン発酵処理方法、および、処理装置が知られている(例えば、特許文献1、または、2参照)。本発明者らは、醤油粕のメタン発酵処理を効率よく行うため、図2のような、撹拌装置5を有する密閉式のタンク1、スラリー循環ポンプ9を介装したスラリー循環パイプ10、および発酵処理済の醤油粕のスラリー(以下、消化液という)を取り出すためのオーバーフロー管11とからなり、該スラリー循環パイプ10の一方端を該タンク1のガスホルダー室3に連通し、その他方端を該タンク1のスラリー収納槽2に連通してスラリーを循環可能とし、一方オーバーフロー管11の一方端をタンク1のスラリー収納槽2に連通し、その他方端を該タンク内スラリー表面と同じ高さ(図2の一点鎖線イで示す高さ)になるように立ち上げて大気中に開口し、更にタンク1のガスホルダー室3に醤油粕のスラリー供給管15を連通した装置を開発した。
この装置は、スラリー供給管15から新しい醤油粕スラリーが投入されると、その投入量に応じて消化液がオーバーフロー管11の開口部から溢れ出て消化液収納槽7へ排出される。
この装置は、スラリー供給管15から新しい醤油粕スラリーが投入されると、その投入量に応じて消化液がオーバーフロー管11の開口部から溢れ出て消化液収納槽7へ排出される。
しかし、醤油粕のスラリーは、多量の繊維分、難消化物などの水不溶性固形分由来の浮遊物が多いため、配管(オーバーフロー管11)内で相互に凝集して閉鎖栓となりやすい。そのため、これを定期的に解砕しなければならない。配管内の閉鎖栓形成を防止するために、配管を太くすると消化液の排出流速が緩慢になって、浮遊物がオーバーフロー管11の開口上端壁を乗り越えることができず、消化液だけが少しずつ排出される結果、開口部付近で浮遊物が濃縮され、相互に凝集し、閉鎖栓を形成しやすくなる。また、反対に配管の内径を細くすると浮遊物は相互に接触する機会が増加して凝集しやすくなり消化液が詰まりやすくなる。
本発明は、醤油粕のメタン発酵処理装置において、オーバーフロー管11の上端開口部付近で、消化液に含まれる浮遊物が相互に凝集して閉鎖栓を形成することを予防することを目的とする。
本発明者らは、上記課題を解決するため鋭意研究を重ねた結果、前述の図2の装置において、「オーバーフロー管11の下方端をタンク1のスラリー収納槽2に連通する」部分を、「オーバーフロー管11の下方端をスラリー循環パイプ10に連通する」ように変更したところ、スラリー循環ポンプ9稼動時は流量のバランスから、オーバーフローせず、ポンプ停止時に一気にオーバーフロー管11へ消化液が流れ、この流れによりオーバーフロー管11の上端開口部付近にあった詰まりは破壊され、閉鎖栓形成を防止できることを知り、この知見に基づいて本発明を完成した。
すなわち本発明は、撹拌装置5を有する密閉式のタンク1、スラリー循環ポンプ9を介装したスラリー循環パイプ10、および、消化液を取り出すためのオーバーフロー管11とからなり、該スラリー循環パイプ10の一方端を該タンク1の上部のガスホルダー室3に連通し、その他方端を該タンク1のスラリー収納槽2に連通して醤油粕のスラリーを間欠的に循環可能とし、オーバーフロー管11の下方端を該スラリー循環パイプ10に連通し、その上方端を該タンク1内のスラリーと同じ高さとなるように開口し、更にタンク1のガスホルダー室3に醤油粕のスラリー供給管15、および、ガス排出管8を連通して間欠的に該スラリーを供給可能としたことを特徴とする醤油粕のメタン発酵処理装置である。
図1(a)、図1(b)に示すような、本発明の醤油粕のメタン発酵処理装置によれば、オーバーフロー管11の上端開口部付近にあった詰まりは破壊され、また消化液に含まれる浮遊物が相互に凝集して閉鎖栓を形成することを予防することができる。
図1は、本発明のメタン発酵処理装置の一具体例を示す概略説明図で、図1(a)は、タンク1のスラリー収納槽2からスラリーをタンク1外に取り出し、再びタンク1内に戻す操作を、スラリー循環ポンプ9を介装したスラリー循環パイプ10を通して行いつつ、メタン発酵処理を行い、その消化液がオーバーフロー管11のイの位置からロの位置まで減圧吸引され、タンク1内のスラリー表面イより低い位置に留まっている状態を示す。
図1(b)は、図1(a)の状態からスラリー循環を中断した直後の状態を示し、ポンプ停止時にオーバーフロー管11の消化液は、一気にロの位置からイの位置まで上昇し、消化液案内管12を経て消化液収納槽7に排出される状態を示す。なお、オーバーフロー管11へ消化液が流入することにより上端開口部付近にあった詰まりは破壊され、閉鎖栓形成を防止できる。
図2は、本発明の改良前のメタン発酵処理装置の概略説明図である。すなわち密閉式のタンク1を下部のスラリー収納槽2(液相部)と上部のガスホルダー室3(気相部)とで構成した。また該スラリー収納槽2外周側壁にスラリー液温を所定の品温に保持する加熱手段4(例えば、加温ジャケット)を設けた。スラリー収納槽2内には、撹拌装置5を設けた。また、醤油粕受入槽6と、メタン発酵終了後の消化液収納槽7と、消化濾液収納槽13と、脱硫装置16と、ガスホルダー室3からガスを取り出すガス排出管8と、スラリー循環ポンプ9を介装したスラリー循環パイプ10と、消化液を取り出すためのオーバーフロー管11とを設けた。そして、該スラリー循環パイプ10の一方端を該タンク1のガスホルダー室3に連通し、その他方端を該タンク1のスラリー収納槽2に連通してスラリーを循環可能とした。またオーバーフロー管11の下方端をタンクのスラリー収納槽2に連通し、その上方端を、該タンク1内スラリー表面と同じ高さ(図2において一点鎖線イの位置)になるように立上げて大気中に開口した。溢れた消化液は、消化液案内管12を介して消化液収納槽7に排出される。更にスラリー供給ポンプ14を介装したスラリー供給管15の一方端を上記醤油粕受入槽6内に連通し、その他方端をスラリー循環パイプ10に連通した。脱硫装置16とガスホルダー室3とをガス排出管8により気密的に連通した。消化液収納槽7と消化濾液収納槽13とを固液分離機17を介装したパイプ18で連通した。なお、6aは醤油粕原料投入口、6bは活性汚泥含有水性液の投入口、6cは水の投入口、6dは撹拌手段(プロペラ式、ブレード式、圧縮空気通気式などの撹拌手段)、19は発電機、20は醤油粕収納ホッパー、21は定量排出機、22は移送機(スクリューフィーダー)をそれぞれ意味する。このようにしてメタン発酵処理装置を設けた。
本発明は、前述の図2の装置において、「オーバーフロー管11の下方端をタンク1のスラリー収納槽2に連通する」代わりに、「オーバーフロー管11の下方端をスラリー循環パイプ10に連通する」以外は、全く同様な構成を採用する。
すなわち、図1(a)に示すように、該スラリー循環パイプ10の一方端を密閉式のタンク1のガスホルダー室3に連通し、その他方端を該タンク1のスラリー収納槽2に連通して醤油粕スラリーを循環可能とし、オーバーフロー管11の下方端を該スラリー循環パイプ10に連通し、その上方端を該タンク1内のスラリーと同じ高さとなるように開口する。
本発明は、このような装置において、醤油粕スラリーの投入と醤油粕スラリーの循環を間欠的に行う。
本発明は、このような装置において、醤油粕スラリーの投入と醤油粕スラリーの循環を間欠的に行う。
醤油粕は水不溶性の固形分が多いため、醤油粕のメタン発酵を良好に行うためには間欠運転を行い、発酵槽内のスラリーの滞留時間を十分に取り発酵を促進する必要がある。また、この水不溶性固形分により、配管が詰まりやすく、その対策が求められていた。
本発明では、タンクからの消化液の抜き取りの配管を、タンク底部の循環用の配管から分岐して立ち上げ、循環ポンプ稼動時は流量のバランスから消化液はオーバーフローせず、ポンプ停止時に一気にオーバーフローして、消化液が配管内を勢いよく排出し、このとき配管内の閉鎖栓が押し流され、あるいは解砕され、配管内が詰まることを予防する。しかも、複雑な自動弁、配管ラインの設置を行うことなくこの効果を達成できる。
また、原料を連続的に投入し、投入した分に見合う消化液をオーバーフローにより排出する場合は、投入口とオーバーフロー開口部が離れていても、ショートパスにより未発酵原料が流出する危険を有するが、間欠的にスラリーを投入すれば、未発酵原料の流出を最小限に抑えることが可能となる。ポンプの間欠的運転は、任意の手段(例えばカムタイマ等)を利用して容易に行うことができる。
本発明では、タンクからの消化液の抜き取りの配管を、タンク底部の循環用の配管から分岐して立ち上げ、循環ポンプ稼動時は流量のバランスから消化液はオーバーフローせず、ポンプ停止時に一気にオーバーフローして、消化液が配管内を勢いよく排出し、このとき配管内の閉鎖栓が押し流され、あるいは解砕され、配管内が詰まることを予防する。しかも、複雑な自動弁、配管ラインの設置を行うことなくこの効果を達成できる。
また、原料を連続的に投入し、投入した分に見合う消化液をオーバーフローにより排出する場合は、投入口とオーバーフロー開口部が離れていても、ショートパスにより未発酵原料が流出する危険を有するが、間欠的にスラリーを投入すれば、未発酵原料の流出を最小限に抑えることが可能となる。ポンプの間欠的運転は、任意の手段(例えばカムタイマ等)を利用して容易に行うことができる。
本発明によれば、醤油粕のメタン発酵処理装置において、オーバーフロー管11の上端開口部付近で、消化液に含まれる浮遊物が相互に凝集して閉鎖栓を形成することを予防することができる。
(醤油粕スラリーの調製)
短冊状に切断した醤油粕1重量部に対し、水道水8重量部を加え、ミキサーで均一に混和し、スラリーを得た。
短冊状に切断した醤油粕1重量部に対し、水道水8重量部を加え、ミキサーで均一に混和し、スラリーを得た。
(メタン発酵処理装置)
図1(a)、図1(b)において、タンク1を内径1400mm、高さ3300mm、容量約5000リットルの密閉式の有底筒型タンク(底部は傾斜構造)とし、該タンク1内にモーター(図面簡略のため図示せず)で駆動するプロペラ式撹拌装置5を設置した。スラリー循環パイプ10を内径50mmのステンレス製パイプとし、スラリー循環ポンプ9を介装し、その一方端をタンク1のスラリー収納槽2に連通し、他方端を該タンク1のガスホルダー室3に連通して、スラリーを循環可能とした。一方オーバーフロー管11を内径50mmのステンレス製パイプとし、その下方端をスラリー循環パイプ10に連通し、その上方端を該タンク内スラリーの表面と同じ高さ、一点鎖線イになるように立上げて大気中に開口し、更にガスホルダー室3に醤油粕のスラリー供給管15およびガス排出管8を連通した。
図1(a)、図1(b)において、タンク1を内径1400mm、高さ3300mm、容量約5000リットルの密閉式の有底筒型タンク(底部は傾斜構造)とし、該タンク1内にモーター(図面簡略のため図示せず)で駆動するプロペラ式撹拌装置5を設置した。スラリー循環パイプ10を内径50mmのステンレス製パイプとし、スラリー循環ポンプ9を介装し、その一方端をタンク1のスラリー収納槽2に連通し、他方端を該タンク1のガスホルダー室3に連通して、スラリーを循環可能とした。一方オーバーフロー管11を内径50mmのステンレス製パイプとし、その下方端をスラリー循環パイプ10に連通し、その上方端を該タンク内スラリーの表面と同じ高さ、一点鎖線イになるように立上げて大気中に開口し、更にガスホルダー室3に醤油粕のスラリー供給管15およびガス排出管8を連通した。
本発明の上記一具体例を示す装置を用いて表1に示す条件により、各ポンプを稼動または停止させ、醤油粕のメタン発酵処理を実施した。
1)前処理:
メタン種菌汚泥3重量部に対し醤油粕スラリー1重量部を加えて醤油粕のスラリーを調製した。これをタンク1に投入して、ガスホルダー室3(天井と消化液面との距離が20cmの気相部)と、スラリー収納槽2(液相部)とを構成し、スラリー循環ポンプ9および撹拌装置5を稼動させて、スラリーを撹拌しながら、37℃の品温で20日間メタン発酵処理した(このときオーバーフロー管11の消化液は、一点鎖線ロの位置であった)。
メタン種菌汚泥3重量部に対し醤油粕スラリー1重量部を加えて醤油粕のスラリーを調製した。これをタンク1に投入して、ガスホルダー室3(天井と消化液面との距離が20cmの気相部)と、スラリー収納槽2(液相部)とを構成し、スラリー循環ポンプ9および撹拌装置5を稼動させて、スラリーを撹拌しながら、37℃の品温で20日間メタン発酵処理した(このときオーバーフロー管11の消化液は、一点鎖線ロの位置であった)。
2)醤油粕スラリー投入:
次いで、スラリー循環ポンプ9を稼動させながら、スラリー供給ポンプ14を使用して、タンク1内に醤油粕のスラリーを10リットル投入した。その結果、オーバーフロー管11内の消化液液面は、ロの位置からイの位置まで上昇した。
次いで、スラリー循環ポンプ9を稼動させながら、スラリー供給ポンプ14を使用して、タンク1内に醤油粕のスラリーを10リットル投入した。その結果、オーバーフロー管11内の消化液液面は、ロの位置からイの位置まで上昇した。
3)消化液循環:
スラリー循環ポンプ9を稼動させてスラリー循環パイプ10の流路にスラリーを20分間循環通流させた。
スラリー循環ポンプ9を稼動させてスラリー循環パイプ10の流路にスラリーを20分間循環通流させた。
4)消化液排出:
20分経過後、スラリー循環ポンプ9を停止した。すると、オーバーフロー管11の消化液は、イの位置から急上昇し、イの位置を超えた消化液(醤油粕スラリーの投入量にほぼ等しい量の消化液)は消化液案内管12を経て消化液収納槽7に排出された。
20分経過後、スラリー循環ポンプ9を停止した。すると、オーバーフロー管11の消化液は、イの位置から急上昇し、イの位置を超えた消化液(醤油粕スラリーの投入量にほぼ等しい量の消化液)は消化液案内管12を経て消化液収納槽7に排出された。
上記2)〜4)の操作を繰り返した。その結果、オーバーフロー管11の上端開口部付近で、消化液に含まれる浮遊物が相互に凝集して閉鎖栓を形成することを予防することができた。
(比較例)
オーバーフロー管11の下方端をスラリー循環パイプ10に連通する代わりに、オーバーフロー管11の下方端をタンク1のスラリー収納槽2に連通する以外は全く同様にして、醤油粕のメタン発酵処理を行った(図2参照)。
この結果、消化液に含まれる比較的比重の軽い未消化物、水不溶性固形分の浮遊物がオーバーフロー管11の一点鎖線イの位置付近で相互に凝集して閉鎖栓となり、人為的にこれを定期的に解砕しなければならなかった。
オーバーフロー管11の下方端をスラリー循環パイプ10に連通する代わりに、オーバーフロー管11の下方端をタンク1のスラリー収納槽2に連通する以外は全く同様にして、醤油粕のメタン発酵処理を行った(図2参照)。
この結果、消化液に含まれる比較的比重の軽い未消化物、水不溶性固形分の浮遊物がオーバーフロー管11の一点鎖線イの位置付近で相互に凝集して閉鎖栓となり、人為的にこれを定期的に解砕しなければならなかった。
1・・・・タンク
2・・・・スラリー収納槽(液相部)
3・・・・ガスホルダー室(気相部)
4・・・・加熱手段
5・・・・撹拌装置
6・・・・醤油粕受入槽
6a・・・醤油粕原料投入口
6b・・・活性汚泥含有水性液の投入口
6c・・・水の投入口
6d・・・撹拌手段
7・・・・消化液収納槽
8・・・・ガス排出管
9・・・・スラリー循環ポンプ
10・・・スラリー循環パイプ
11・・・オーバーフロー管
12・・・消化液案内管
13・・・消化濾液収納槽
14・・・スラリー供給ポンプ
15・・・スラリー供給管
16・・・脱硫装置
17・・・固液分離機
18・・・パイプ
19・・・発電機
20・・・醤油粕収納ホッパー
21・・・定量排出機
22・・・移送機(スクリューフィーダー)
2・・・・スラリー収納槽(液相部)
3・・・・ガスホルダー室(気相部)
4・・・・加熱手段
5・・・・撹拌装置
6・・・・醤油粕受入槽
6a・・・醤油粕原料投入口
6b・・・活性汚泥含有水性液の投入口
6c・・・水の投入口
6d・・・撹拌手段
7・・・・消化液収納槽
8・・・・ガス排出管
9・・・・スラリー循環ポンプ
10・・・スラリー循環パイプ
11・・・オーバーフロー管
12・・・消化液案内管
13・・・消化濾液収納槽
14・・・スラリー供給ポンプ
15・・・スラリー供給管
16・・・脱硫装置
17・・・固液分離機
18・・・パイプ
19・・・発電機
20・・・醤油粕収納ホッパー
21・・・定量排出機
22・・・移送機(スクリューフィーダー)
Claims (1)
- 撹拌装置5を有する密閉式のタンク1、スラリー循環ポンプ9を介装したスラリー循環パイプ10、および、消化液を取り出すためのオーバーフロー管11を具備し、該スラリー循環パイプ10の一方端を該タンク1の上部のガスホルダー室3に連通し、その他方端を該タンク1のスラリー収納槽2に連通して醤油粕のスラリーを間欠的に循環可能とし、オーバーフロー管11の下方端を該スラリー循環パイプ10に連通し、その上方端を該タンク1内のスラリーと同じ高さとなるように開口し、更にタンク1のガスホルダー室3に醤油粕のスラリー供給管15、および、ガス排出管8を連通して間欠的に該スラリーを供給可能としたことを特徴とする醤油粕のメタン発酵処理装置。
Priority Applications (1)
| Application Number | Priority Date | Filing Date | Title |
|---|---|---|---|
| JP2011052271A JP2012187489A (ja) | 2011-03-10 | 2011-03-10 | 醤油粕のメタン発酵処理装置 |
Applications Claiming Priority (1)
| Application Number | Priority Date | Filing Date | Title |
|---|---|---|---|
| JP2011052271A JP2012187489A (ja) | 2011-03-10 | 2011-03-10 | 醤油粕のメタン発酵処理装置 |
Publications (1)
| Publication Number | Publication Date |
|---|---|
| JP2012187489A true JP2012187489A (ja) | 2012-10-04 |
Family
ID=47081259
Family Applications (1)
| Application Number | Title | Priority Date | Filing Date |
|---|---|---|---|
| JP2011052271A Withdrawn JP2012187489A (ja) | 2011-03-10 | 2011-03-10 | 醤油粕のメタン発酵処理装置 |
Country Status (1)
| Country | Link |
|---|---|
| JP (1) | JP2012187489A (ja) |
Cited By (3)
| Publication number | Priority date | Publication date | Assignee | Title |
|---|---|---|---|---|
| JP2018065088A (ja) * | 2016-10-19 | 2018-04-26 | ゼネック株式会社 | バイオガス生成装置及びこれを用いたバイオガス発電システム |
| US10849347B2 (en) * | 2018-02-12 | 2020-12-01 | Lee Kum Kee (Xin Hui) Food Co., Ltd | Soy sauce tank with circulation detection for amino acid nitrogen value control for soy sauce |
| JP2021013927A (ja) * | 2020-11-05 | 2021-02-12 | ゼネック株式会社 | バイオガス生成装置及びこれを用いたバイオガス発電システム |
-
2011
- 2011-03-10 JP JP2011052271A patent/JP2012187489A/ja not_active Withdrawn
Cited By (3)
| Publication number | Priority date | Publication date | Assignee | Title |
|---|---|---|---|---|
| JP2018065088A (ja) * | 2016-10-19 | 2018-04-26 | ゼネック株式会社 | バイオガス生成装置及びこれを用いたバイオガス発電システム |
| US10849347B2 (en) * | 2018-02-12 | 2020-12-01 | Lee Kum Kee (Xin Hui) Food Co., Ltd | Soy sauce tank with circulation detection for amino acid nitrogen value control for soy sauce |
| JP2021013927A (ja) * | 2020-11-05 | 2021-02-12 | ゼネック株式会社 | バイオガス生成装置及びこれを用いたバイオガス発電システム |
Similar Documents
| Publication | Publication Date | Title |
|---|---|---|
| CN110342767A (zh) | 一种高固体污泥厌氧消化搅拌系统 | |
| CN204417503U (zh) | 一种回流混合、推进式搅拌及过滤式厌氧发酵罐 | |
| CN111807561A (zh) | 一种含油含固废水减量化工艺 | |
| CN102755765A (zh) | 一种烟草萃取液深度净化除杂处理装置及其除杂控制方法 | |
| JP2012187489A (ja) | 醤油粕のメタン発酵処理装置 | |
| CN110743476B (zh) | 一种具有多种功能的氢氧化钙制备罐及制备方法 | |
| CN207418724U (zh) | 一种连续高效干式发酵装置 | |
| CN104357320B (zh) | 秸秆预处理/两相发酵/自动破壳一体化装置 | |
| CN105907800A (zh) | 一种预接种厌氧发酵装置及其工艺 | |
| CA2697854A1 (en) | Improving efficiency of centrifuge in municipal sludge dewatering | |
| CN103803774B (zh) | 污泥浓缩装置及其污泥处理方法 | |
| CN210885952U (zh) | 一种焦油渣处理系统 | |
| CN210595737U (zh) | 一种污泥处理装置 | |
| CN208517385U (zh) | 一种用于沼气发电的前处理线 | |
| CN206502646U (zh) | 高效微电解反应器 | |
| CN204298392U (zh) | 一种新型沼液过滤式厌氧发酵罐 | |
| CN205892758U (zh) | 一种金刚石回收设备 | |
| CN113171638B (zh) | 固液强制分离器 | |
| CN210496061U (zh) | 一种水泥助磨剂的混合装置 | |
| CN213446442U (zh) | 一种改进型uasb厌氧反应器 | |
| JPH0768298A (ja) | 消化汚泥の固液分離装置 | |
| GB2491818A (en) | Waste disposal | |
| CN207632813U (zh) | 一种大麦β-淀粉酶提取系统 | |
| CN208662098U (zh) | 一种柑橘皮渣发酵处理装置 | |
| CN207058965U (zh) | 螺旋型混合脱气装置 |
Legal Events
| Date | Code | Title | Description |
|---|---|---|---|
| A300 | Application deemed to be withdrawn because no request for examination was validly filed |
Free format text: JAPANESE INTERMEDIATE CODE: A300 Effective date: 20140513 |
