JP2012184792A - 緩衝器 - Google Patents

緩衝器 Download PDF

Info

Publication number
JP2012184792A
JP2012184792A JP2011047357A JP2011047357A JP2012184792A JP 2012184792 A JP2012184792 A JP 2012184792A JP 2011047357 A JP2011047357 A JP 2011047357A JP 2011047357 A JP2011047357 A JP 2011047357A JP 2012184792 A JP2012184792 A JP 2012184792A
Authority
JP
Japan
Prior art keywords
shock absorber
chamber
flow path
piston
cylinder
Prior art date
Legal status (The legal status is an assumption and is not a legal conclusion. Google has not performed a legal analysis and makes no representation as to the accuracy of the status listed.)
Granted
Application number
JP2011047357A
Other languages
English (en)
Other versions
JP5848505B2 (ja
Inventor
Takahiro Kondo
卓宏 近藤
Current Assignee (The listed assignees may be inaccurate. Google has not performed a legal analysis and makes no representation or warranty as to the accuracy of the list.)
KYB Corp
Original Assignee
KYB Corp
Priority date (The priority date is an assumption and is not a legal conclusion. Google has not performed a legal analysis and makes no representation as to the accuracy of the date listed.)
Filing date
Publication date
Application filed by KYB Corp filed Critical KYB Corp
Priority to JP2011047357A priority Critical patent/JP5848505B2/ja
Publication of JP2012184792A publication Critical patent/JP2012184792A/ja
Application granted granted Critical
Publication of JP5848505B2 publication Critical patent/JP5848505B2/ja
Active legal-status Critical Current
Anticipated expiration legal-status Critical

Links

Images

Landscapes

  • Fluid-Damping Devices (AREA)

Abstract

【課題】振動エネルギを利用しやすいエネルギへ変換してエネルギの回収を可能とする緩衝器を提供することである。
【解決手段】本発明における課題解決手段は、シリンダ1とシリンダ1内に摺動自在に挿入されるピストン2とを備えた緩衝器本体Bと、緩衝器本体Bの伸縮により緩衝器本体B内に充填される流体が通過する流路3とを備えた緩衝器Dにおいて、流路3を横切る磁界を発生する磁石4と、流路3に設けられて相対向して対となる電極5,6とを備え、流体を電気伝導性流体Eとしたことを特徴とする。
【選択図】図1

Description

本発明は、緩衝器の改良に関する。
従来、この種の緩衝器にあっては、シリンダと、シリンダ内に摺動自在に挿入されシリンダ内を作動油が充填される油室と気体が充填される気体室とに区画するフリーピストンと、シリンダ内に摺動自在に挿入されて油室を二つの作動室に区画するピストンと、シリンダ内に移動自在に挿入されてピストンに連結されるロッドとを備えて構成され、車両の車体と車軸との間に介装されるなどして振動を減衰するようになっている。
より詳細には、作動室同士を連通する流路が設けてあって、緩衝器は、ピストンがシリンダに対して相対移動する際に、圧縮される作動室から拡大する作動室へ向かう作動油の流れに減衰弁で抵抗を与えて、作動室間に差圧を生じさせて減衰力を発揮するようになっている(たとえば、特許文献1参照)。
特開2005−321020号公報
上述した緩衝器は、伸縮する際に減衰力を発揮して入力される振動を減衰させるが、エネルギの変換の観点からすれば、振動エネルギを吸収して熱エネルギに変換することで、振動を減衰させている。
このように緩衝器は、振動を減衰させる点で特に問題があるわけではないが、振動エネルギを熱エネルギに変換するのみで、熱エネルギは何にも利用されることなく、放熱することでエネルギを捨てるのみであった。
そこで、本発明は上記した点を改善するために創案されたものであって、その目的とするところは、振動エネルギを利用しやすいエネルギへ変換してエネルギの回収を可能とする緩衝器を提供することである。
上記した目的を解決するために、本発明における課題解決手段は、シリンダとシリンダ内に摺動自在に挿入されるピストンとを備えた緩衝器本体と、上記緩衝器本体の伸縮により上記緩衝器本体内に充填される流体が通過する流路とを備えた緩衝器において、上記流路を横切る磁界を発生する磁石と、上記流路に設けられて相対向して対となる電極とを備え、上記流体を電気伝導性流体としたことを特徴とする。
本発明の緩衝器によれば、振動エネルギを利用しやすい電気エネルギへ変換することができ、エネルギの回収が可能となる。
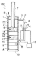
一実施の形態における緩衝器の縦断面図である。 一実施の形態の緩衝器における流路の一部の斜視図である。 他の実施の形態における緩衝器の縦断面図である。 別の実施の形態における緩衝器の縦断面図である。
以下、図に基づいて本発明を説明する。本発明の緩衝器Dは、図1に示すように、シリンダ1とシリンダ1内に摺動自在に挿入されるピストン2とを備えた緩衝器本体Bと、緩衝器本体Bの伸縮により緩衝器本体B内に充填される電気伝導性流体Eが通過する流路3と、流路3を横切る磁界を発生する磁石4と、流路3に設けられて相対向して対となる電極5,6と備えて構成されている。
本実施の形態の緩衝器Dの場合、より具体的には、ピストン2がシリンダ1内を一方室としてのロッド側室R1と他方室としてのピストン側室R2とに区画しており、流路3は、ロッド側室R1とピストン側室R2とを連通している。また、電気伝導性流体Eは、この例では、一方室R1と他方室R2内に充填されている。
そして、この緩衝器Dにあっては、シリンダ1内に一端がピストン2に連結されるピストンロッド7が挿入されていて、片ロッド型の緩衝器とされている。また、ロッド側室R1およびピストン側室R2には、具体的にはたとえば、液体金属やイオン性液体、水、水溶液等の電気伝導性流体Eが充填されている。さらに、シリンダ1内の図1中下方には、シリンダ1の内周に摺接してピストン側室R2と気体室Aとを区画するフリーピストン8が設けられている。
この緩衝器Dの伸縮に伴ってシリンダ1内に出入りするピストンロッド7の体積は、気体室A内の気体の体積が膨張あるいは収縮してフリーピストン8が図1中上下方向に移動することによって補償されるようになっている。このように緩衝器Dは、単筒型に設定されているが、フリーピストン8および気体室Aの設置に変えて、シリンダ1の外周や外部にリザーバを設けて当該リザーバによって上記ピストンロッド7の体積補償を行ってもよいし、シリンダ1に気体室を備えたタンクを接続して上記補償を行うようにしてもよい。
なお、上記したところでは、緩衝器Dは、ピストンロッド7の一端にピストン2が連結される片ロッド型の緩衝器に設定されているが、ピストンロッドの中間にピストンを設ける両ロッド型の緩衝器に設定されてもよい。
以下、各部について詳細に説明する。シリンダ1は、その上端がピストンロッド7を摺動自在に軸支するヘッド部材9で封止され、下端もまたボトム部材10によって封止されている。
そして、流路3は、非磁性のパイプPで形成されており、ロッド側室R1とピストン側室R2とを連通している。そして、この流路3を横切る磁界を発生する磁石4が設けられるとともに、その途中には相対向して対となる電極5,6が設けられている。
具体的には、図2に示すように、電極5,6が流路3内にパイプPに対して絶縁されつつ流路3内に面するように設置され、磁石4のS極とN極がパイプP外で相対向するよう配置されている。すなわち、流路3内周には、電極5,6がパイプPの周方向に180度の位相をもって配置されていて、磁石4のN極とS極は、パイプPの周方向に180度の位相をもって配置されるとともに、電極5と電極6との間に配置されている。このように、磁石4のS極とN極は180度の位相をもって配置されており、流路3の長手方向に対して直交する方向へ横切って磁界を発生している。なお、磁界が流路3を横切るとは、必ずしも流路3の長手方向に直行する方向のみならず、これに対して斜め方向へ横切るようにしてもよい。
なお、図示するところでは、磁石4は、単一の磁石であってS極とN極で流路3を挟んで対向させるようにしているが、二つの磁石を用いて一方の磁石のS極を流路3へ向け、他方の磁石のN極を流路3へ向けて、対向させるようにしてもよい。また、磁石4のS極とN極は、流路3内に面するようにしてもよく、磁石4のS極とN極の長さは任意であり、電極5,6についても長さは任意である。
この例では、緩衝器Dがシリンダ1に対してピストン2が図1中上下方向へ移動する伸縮作動を呈すると、ロッド側室R1からピストン側室R2へ、または、ピストン側室R2からロッド側室R1へと、流路3を介して電気伝導性流体が移動する。
以上のように構成された緩衝器Dは、振動エネルギの入力を受けて緩衝器本体Bが伸縮作動を呈すると、上記したように、電気伝導性流体が流路3を介してロッド側室R1からピストン側室R2へ、または、ピストン側室R2からロッド側室R1へ移動する。
緩衝器本体Bの伸縮作動の際に、流路3を通過する電気伝導性流体の流れに流路3の途中に設けた減衰弁11が抵抗を与えるので、ロッド側室R1とピストン側室R2に差圧が生じ、減衰力を発揮する。なお、流路3の他に一方室R1と他方室R2とを連通する通路を設けて、当該通路に減衰弁を設けて減衰力を発揮させるようにしてもよい。
そして、図2に示すように、電気伝導性流体Eが流路3を流れる方向を二点鎖線矢印で示す向きとし、磁石4が形成する磁界の向きを一点鎖線矢印で示す向きとすると、電気伝導性流体Eが流路3を流れる際に磁石4によって形成される磁界を横切るので、電磁誘導によって誘導起電力が生じて、図2中三点鎖線矢印で示す向きに電気伝導性流体E内に電流が流れる。この電気伝導性流体E内を流れる電流は、電極5,6を通じて外部へ取り出すことができる。具体的には、この例では、電極5,6を蓄電装置12に接続してあって、上記の如くの発電によって蓄電装置12を充電することができるようになっている。なお、蓄電装置12は、キャパシタや蓄電池等の電気エネルギを蓄えることが可能であればよく、また、電極5,6は、蓄電装置12以外にも電力を必要とする負荷へ接続されてもよい。なお、電極5,6と蓄電装置12との間に、蓄電装置12に効率よく充電することができるように、充電回路を設けるようにしてもよく、この場合、電気伝導性流体Eが流路3を双方向に通過するので、通過方向に応じて電極5,6の極性が入れ替わるため、整流したうえで蓄電装置12を充電するとよい。
つまり、この緩衝器Dは、外部から振動エネルギが入力されると、これを熱エネルギのみならず、利用しやすい電気エネルギにも変換することができ、容易にエネルギの回収が可能となる。
つづいて、図3に示した他の実施の形態の緩衝器D1について説明する。この緩衝器D1は、上記した一実施の形態の緩衝器Dのピストン2にロッド側室R1とピストン側室R2とを連通するピストン通路13を設けてある。このピストン通路13は、途中にピストン側室R2からロッド側室R1へ向かう電気伝導性流体Eの流れのみを許容する逆止弁14が設けてある。これにより、ピストン通路13は、ピストン側室R2からロッド側室R1へ向かう電気伝導性流体Eの流れのみを許容する一方通行の通路に設定されている。
以上が、この他の実施の形態の緩衝器D1が上述の一実施の形態の緩衝器Dと異なる部分であり、他の部分については、両緩衝器D,D1は同じ構成を備えているので、同様の部分については説明が重複するので詳しい説明を省略する。
この緩衝器D1では、振動エネルギの入力を受けて緩衝器本体Bが伸長作動を呈すると、電気伝導性流体Eは、圧縮されるロッド側室R1からピストン側室R2へピストン通路13を介して移動できないので、流路3のみを介して移動する。この流路3を電気伝導性流体Eが通過すると、上述したように、誘導起電力が生じて電流が生じ、電極5,6を介して外部の蓄電装置12へ電流を取り出すことができる。つまり、緩衝器D1も緩衝器Dと同様に発電する。
緩衝器本体Bの伸長作動の際に、流路3を通過する電気伝導性流体Eの流れに減衰弁11で抵抗を与えるので、ロッド側室R1とピストン側室R2に差圧が生じ、減衰力を発揮する。
反対に、振動エネルギの入力を受けて緩衝器本体Bが収縮作動を呈すると、圧縮されるピストン側室R2からロッド側室R1へピストン通路13を介して電気伝導性流体Eが移動する。また、ピストンロッド7がシリンダ1へ侵入するので、気体室Aがこの侵入分の体積分だけ収縮して上記体積を補償してシリンダ1内の圧力を上昇させ、緩衝器D1は、この収縮作動を抑制する減衰力を発揮する。この収縮作動時には、電気伝導性流体Eは、流路3を殆ど流れない。
よって、この他の実施の形態の緩衝器D1は、外部から振動エネルギが入力されると、これを熱エネルギのみならず、利用しやすい電気エネルギにも変換することができ、容易にエネルギの回収が可能となる。
また、電気伝導性流体Eが流路3を通過する方向が一定となるので、電極5,6の極性が一定となるので、蓄電装置12や外部負荷へ電流供給する際に、整流する必要がなくなる利点があり、整流に必要な回路や素子を設けずに済む。
最後に、図4に示した別の実施の形態の緩衝器D2について説明する。この緩衝器D2では、他の実施の形態の緩衝器D1の構成に加えてピストン2とフリーピストン8との間に隔壁部材15を設けて、ピストン側室R2と気体室Aとの間に補償室Rを形成し、流路3が補償室Rを経由してロッド側室R1とピストン側室R2とを連通するようにしてある。
具体的には、隔壁部材15は、シリンダ1内に固定されていて、ピストン側室R2と補償室Rとを仕切っている。また、隔壁部材15は、流路3の一部をなす補償通路としての隔壁通路16を備えていて、当該隔壁通路16は、補償室Rからピストン側室R2へ向かう電気伝導性流体Eの流れのみを許容する逆止弁17を備えており、補償室Rからピストン側室R2へ向かう電気伝導性流体Eの流れのみを許容する一方通行の通路に設定されている。補償室Rは、フリーピストン8を境にして気体室Aに面しており、電気伝導性流体Eが充填されている。
この緩衝器D2では、振動エネルギの入力を受けて緩衝器本体Bが伸長作動を呈すると、電気伝導性流体Eは、圧縮されるロッド側室R1からピストン側室R2へピストン通路13を介して移動できないので、流路3のみを介して移動する。この流路3を電気伝導性流体Eが流れることによって電磁誘導によって発電することになる。
緩衝器本体Bの伸長作動の際に、流路3を通過する電気伝導性流体Eの流れに減衰弁11で抵抗を与えるので、ロッド側室R1とピストン側室R2に差圧が生じ、減衰力を発揮する。
反対に、振動エネルギの入力を受けて緩衝器本体Bが収縮作動を呈すると、圧縮されるピストン側室R2からロッド側室R1へピストン通路13を介して電気伝導性流体Eが移動するものの、ピストンロッド7がシリンダ1へ侵入するので、ピストンロッド侵入分の電気伝導性流体Eがロッド側室R1とピストン側室R2とで余剰となる。この余剰分の電気伝導性流体Eは、逆止弁17が開かないので隔壁通路16を介して補償室Rへ移動できないので、シリンダ1内から流路3へ押し出されて、流路3を介して補償室Rへ移動する。この流路3を電気伝導性流体Eが流れることによって電磁誘導によって発電することになる。
また、この収縮作動時には、流路3を通過する電気伝導性流体Eの流れに減衰弁11で抵抗を与えるので、ロッド側室R1とピストン側室R2の圧力が上昇して、緩衝器D2は、収縮作動を抑制する減衰力を発揮する。
よって、この別の実施の形態の緩衝器D2は、外部から振動エネルギが入力されると、これを熱エネルギのみならず、利用しやすい電気エネルギにも変換することができ、容易にエネルギの回収が可能となる。
また、緩衝器D2を上述のように構成することで、緩衝器本体Bが伸縮作動を呈すると、必ず、流路3を電気伝導性流体Eが通過するので、緩衝器D2が作動中は必ず発電する。また、電気伝導性流体Eが流路3を通過する方向が一定となるので、電極5,6の極性が一定となる。これにより、発電効率を高めつつ、蓄電装置12や外部負荷へ電流供給する際に、整流に必要な回路や素子を設けずに済む。
なお、上記したところでは、シリンダ1内に補償室Rと気体室Aを設けているが、シリンダ1外へ設けることも可能である。
また、流路3は、上記した処では、シリンダ1内にピストン2で形成した一方室であるロッド側室R1と他方室であるピストン側室R2とを連通するようになっているが、これに限定されるものではない。したがって、たとえば、ピストン2に流路を設けてもよいし、緩衝器本体がシリンダ1の外方にリザーバを備える場合には、流路がリザーバと緩衝器本体B内を連通して緩衝器本体Bの伸縮時に電気伝導性流体Eが通過するようにしておけばよい。
以上で、本発明の実施の形態についての説明を終えるが、本発明の範囲は図示されまたは説明された詳細そのものには限定されないことは勿論である。
本発明の緩衝器は、車両の制振用途に利用することができる。
1 シリンダ
2 ピストン
3 流路
4 磁石
5,6 電極
13 ピストン通路
16 補償通路としての隔壁通路
D,D1,D2 緩衝器
A 気体室
B 緩衝器本体
R1 一方室としてのロッド側室
R2 他方室としてのピストン側室
R 補償室

Claims (4)

  1. シリンダとシリンダ内に摺動自在に挿入されるピストンとを備えた緩衝器本体と、上記緩衝器本体の伸縮により上記緩衝器本体内に充填される流体が通過する流路とを備えた緩衝器において、上記流路を横切る磁界を発生する磁石と、上記流路に設けられて相対向して対となる電極とを備え、上記流体を電気伝導性流体としたことを特徴とする緩衝器。

  2. 上記ピストンがシリンダ内を一方室と他方室とに区画し、上記流路が上記一方室と上記他方室とを連通する請求項1に記載の緩衝器。
  3. 上記ピストンに上記一方室と上記他方室とを連通するピストン通路を設け、当該ピストン通路が上記他方室から上記一方室へ向かう流れのみを許容し、上記流路が上記一方室から上記他方室へ向かう流れのみを許容することを特徴とする請求項2に記載の緩衝器。
  4. 上記他方室へ連通される補償室と、当該補償室から上記他方室へ向かう流れのみを許容する補償通路とを設け、上記流路は補償室を介して上記一方室と上記他方室とを連通することを特徴とする請求項2に記載の緩衝器。
JP2011047357A 2011-03-04 2011-03-04 緩衝器 Active JP5848505B2 (ja)

Priority Applications (1)

Application Number Priority Date Filing Date Title
JP2011047357A JP5848505B2 (ja) 2011-03-04 2011-03-04 緩衝器

Applications Claiming Priority (1)

Application Number Priority Date Filing Date Title
JP2011047357A JP5848505B2 (ja) 2011-03-04 2011-03-04 緩衝器

Publications (2)

Publication Number Publication Date
JP2012184792A true JP2012184792A (ja) 2012-09-27
JP5848505B2 JP5848505B2 (ja) 2016-01-27

Family

ID=47015053

Family Applications (1)

Application Number Title Priority Date Filing Date
JP2011047357A Active JP5848505B2 (ja) 2011-03-04 2011-03-04 緩衝器

Country Status (1)

Country Link
JP (1) JP5848505B2 (ja)

Cited By (7)

* Cited by examiner, † Cited by third party
Publication number Priority date Publication date Assignee Title
CN103591209A (zh) * 2013-11-08 2014-02-19 青岛农业大学 七级可调的往复式电流变液阻尼器
DE102015214649A1 (de) * 2015-07-31 2017-02-02 Zf Friedrichshafen Ag Stoßdämpfereinrichtung
CN107327532A (zh) * 2017-08-17 2017-11-07 浙江师范大学 一种自供电压电流体阻尼器
KR20180085572A (ko) * 2017-01-19 2018-07-27 경희대학교 산학협력단 액상 기반 피스톤형 발전기
KR102180061B1 (ko) * 2019-09-09 2020-11-17 울산대학교 산학협력단 액티브 서스펜션의 에너지 수확장치
CN112594325A (zh) * 2020-12-08 2021-04-02 重庆工程职业技术学院 一种具有高效减震功能的航拍设备用阻尼器
CN120007741A (zh) * 2025-04-21 2025-05-16 比亚迪股份有限公司 一种驱动阀、阻尼阀装置、减震器、悬架系统和车辆

Families Citing this family (1)

* Cited by examiner, † Cited by third party
Publication number Priority date Publication date Assignee Title
CN109404466B (zh) * 2018-10-30 2021-04-06 广州澳森液压元件有限公司 一种能发电的车用减震器

Citations (4)

* Cited by examiner, † Cited by third party
Publication number Priority date Publication date Assignee Title
JPH0550195U (ja) * 1991-12-09 1993-07-02 株式会社昭和製作所 発電機能を備えた油圧緩衝器
JP2004132500A (ja) * 2002-10-11 2004-04-30 Kayaba Ind Co Ltd 油圧緩衝器
JP2005027473A (ja) * 2003-07-02 2005-01-27 Nissan Motor Co Ltd 荷電流動体材料、荷電流動体材料の製造方法及び磁気流体発電装置
JP2008038980A (ja) * 2006-08-03 2008-02-21 Sanwa Tekki Corp 油圧・磁性流体複合型制振装置

Patent Citations (4)

* Cited by examiner, † Cited by third party
Publication number Priority date Publication date Assignee Title
JPH0550195U (ja) * 1991-12-09 1993-07-02 株式会社昭和製作所 発電機能を備えた油圧緩衝器
JP2004132500A (ja) * 2002-10-11 2004-04-30 Kayaba Ind Co Ltd 油圧緩衝器
JP2005027473A (ja) * 2003-07-02 2005-01-27 Nissan Motor Co Ltd 荷電流動体材料、荷電流動体材料の製造方法及び磁気流体発電装置
JP2008038980A (ja) * 2006-08-03 2008-02-21 Sanwa Tekki Corp 油圧・磁性流体複合型制振装置

Cited By (9)

* Cited by examiner, † Cited by third party
Publication number Priority date Publication date Assignee Title
CN103591209A (zh) * 2013-11-08 2014-02-19 青岛农业大学 七级可调的往复式电流变液阻尼器
DE102015214649A1 (de) * 2015-07-31 2017-02-02 Zf Friedrichshafen Ag Stoßdämpfereinrichtung
KR20180085572A (ko) * 2017-01-19 2018-07-27 경희대학교 산학협력단 액상 기반 피스톤형 발전기
KR101883992B1 (ko) * 2017-01-19 2018-08-29 경희대학교 산학협력단 액상 기반 피스톤형 발전기
CN107327532A (zh) * 2017-08-17 2017-11-07 浙江师范大学 一种自供电压电流体阻尼器
CN107327532B (zh) * 2017-08-17 2022-09-09 浙江师范大学 一种自供电压电流体阻尼器
KR102180061B1 (ko) * 2019-09-09 2020-11-17 울산대학교 산학협력단 액티브 서스펜션의 에너지 수확장치
CN112594325A (zh) * 2020-12-08 2021-04-02 重庆工程职业技术学院 一种具有高效减震功能的航拍设备用阻尼器
CN120007741A (zh) * 2025-04-21 2025-05-16 比亚迪股份有限公司 一种驱动阀、阻尼阀装置、减震器、悬架系统和车辆

Also Published As

Publication number Publication date
JP5848505B2 (ja) 2016-01-27

Similar Documents

Publication Publication Date Title
JP5848505B2 (ja) 緩衝器
CN102278410B (zh) 无需外接电源的磁流变减振器
CN104930112B (zh) 一种自供能量阻尼可调减振装置
CN103925324B (zh) 一种直线电机与阻尼串联的双筒减振器装置
CN104165204B (zh) 压电陶瓷与磁流变液组合的馈能式阻尼器
CN203770501U (zh) 电磁悬浮式动态缓冲减震器
CN101526120B (zh) 流体减振器
CN204610676U (zh) 一种馈能式磁流变减振装置
CN106286685A (zh) 压电与电磁感应双重馈能式磁流变减振装置及其控制方法
CN103148157B (zh) 多级挤压式磁流变阻尼器
CN105711368B (zh) 一种基于被动悬架的电磁俘能系统
CN103016589A (zh) 基于Halbach永磁阵列的电磁式馈能减震器
CN102287474A (zh) 自供电自感应磁流变阻尼器
CN203082102U (zh) 基于Halbach永磁阵列的电磁式馈能减震器
CN102588497A (zh) 电磁和磁流变液混合型减振器
CN107208727A (zh) 用于车辆悬架的再生式液压减振器
CN104052231B (zh) 一种振动发电机
ES2788103T3 (es) Motor de tipo electrodinámico lineal, refrigerador criogénico que comprende dicho motor y procedimiento que lleva a la práctica dicho motor
CN105276068A (zh) 一种基于液压管的汽车减震器发电机构
CN111021570A (zh) 一种液压惯容平衡调谐减振装置
CN1971082A (zh) 减振器以及具有该减振器的车辆悬架系统
CN102032312B (zh) 基于磁流变脂的自供电阻尼调节装置
JP2015081639A (ja) ショックアブソーバ
CN103742589B (zh) 电阻尼减震器
CN203784182U (zh) 一种直线电机与阻尼串联的双筒减振器装置

Legal Events

Date Code Title Description
A621 Written request for application examination

Free format text: JAPANESE INTERMEDIATE CODE: A621

Effective date: 20130923

A977 Report on retrieval

Free format text: JAPANESE INTERMEDIATE CODE: A971007

Effective date: 20131227

A131 Notification of reasons for refusal

Free format text: JAPANESE INTERMEDIATE CODE: A131

Effective date: 20140805

A521 Request for written amendment filed

Free format text: JAPANESE INTERMEDIATE CODE: A523

Effective date: 20141003

A131 Notification of reasons for refusal

Free format text: JAPANESE INTERMEDIATE CODE: A131

Effective date: 20150317

A521 Request for written amendment filed

Free format text: JAPANESE INTERMEDIATE CODE: A523

Effective date: 20150515

TRDD Decision of grant or rejection written
A01 Written decision to grant a patent or to grant a registration (utility model)

Free format text: JAPANESE INTERMEDIATE CODE: A01

Effective date: 20151110

A61 First payment of annual fees (during grant procedure)

Free format text: JAPANESE INTERMEDIATE CODE: A61

Effective date: 20151127

R151 Written notification of patent or utility model registration

Ref document number: 5848505

Country of ref document: JP

Free format text: JAPANESE INTERMEDIATE CODE: R151

R250 Receipt of annual fees

Free format text: JAPANESE INTERMEDIATE CODE: R250

S533 Written request for registration of change of name

Free format text: JAPANESE INTERMEDIATE CODE: R313533

R350 Written notification of registration of transfer

Free format text: JAPANESE INTERMEDIATE CODE: R350