JP2012136754A - プラズマ処理装置 - Google Patents
プラズマ処理装置 Download PDFInfo
- Publication number
- JP2012136754A JP2012136754A JP2010291142A JP2010291142A JP2012136754A JP 2012136754 A JP2012136754 A JP 2012136754A JP 2010291142 A JP2010291142 A JP 2010291142A JP 2010291142 A JP2010291142 A JP 2010291142A JP 2012136754 A JP2012136754 A JP 2012136754A
- Authority
- JP
- Japan
- Prior art keywords
- plasma
- pair
- processing apparatus
- workpiece
- meshes
- Prior art date
- Legal status (The legal status is an assumption and is not a legal conclusion. Google has not performed a legal analysis and makes no representation as to the accuracy of the status listed.)
- Pending
Links
Images
Landscapes
- Plasma Technology (AREA)
- Physical Vapour Deposition (AREA)
- Chemical Vapour Deposition (AREA)
Abstract
【課題】ワークに連続的にバリア膜を形成するプラズマ処理装置を提供する。
【解決手段】プラズマ処理装置1は、ワークHの両側に配置され、ワークHに向かってマイクロ波が通過するスロット310Rを有するスロットアンテナ31L、31Rと、スロットアンテナ31L、31RのワークH側の表面を覆う誘電体32L、32Rと、誘電体32L、32R間に介装され、負圧条件下においてマイクロ波の電界によりプラズマ生成用ガスを電離させ荷電粒子PL、PRを生成するプラズマ生成室384を、内部に区画するチャンバー38と、プラズマ生成室384に配置され、ワークHの処理対象面HL、HRと誘電体32L、32Rとの間に介装され、互いに絶縁されるメッシュ33L、33Rと、メッシュ33L、33Rに互いに逆位相の高周波電圧を印加する電源37と、電源37とメッシュ33L、33Rとの間のインピーダンスを調節する整合器36と、を備える。
【選択図】図4
【解決手段】プラズマ処理装置1は、ワークHの両側に配置され、ワークHに向かってマイクロ波が通過するスロット310Rを有するスロットアンテナ31L、31Rと、スロットアンテナ31L、31RのワークH側の表面を覆う誘電体32L、32Rと、誘電体32L、32R間に介装され、負圧条件下においてマイクロ波の電界によりプラズマ生成用ガスを電離させ荷電粒子PL、PRを生成するプラズマ生成室384を、内部に区画するチャンバー38と、プラズマ生成室384に配置され、ワークHの処理対象面HL、HRと誘電体32L、32Rとの間に介装され、互いに絶縁されるメッシュ33L、33Rと、メッシュ33L、33Rに互いに逆位相の高周波電圧を印加する電源37と、電源37とメッシュ33L、33Rとの間のインピーダンスを調節する整合器36と、を備える。
【選択図】図4
Description
本発明は、負圧条件下において、マイクロ波によりプラズマを発生させ、例えば、プラズマにより水素燃料ホース等の積層ホースのバリア層を薄膜形成するプラズマ処理装置に関する。
特許文献1、2には、プラズマ処理により、容器の内周面にガスバリア層を形成する方法が開示されている。容器の外部には、外部電極が配置されている。容器の内部には、内部電極が配置されている。容器の内部には、プラズマ生成用ガスが供給されている。特許文献1、2の方法によると、外部電極と内部電極との間に高周波電圧を印加することにより、容器の内周面にガスバリア層を形成している。
しかしながら、特許文献1、2の方法によると、ワークである容器の内部に、内部電極を配置する必要がある。しかしながら、長尺状のワーク(例えばホース)に対して、搬送中にプラズマ処理を施そうとしても、ワークの内部に内部電極を配置することができない。このため、特許文献1、2の方法によると、長尺状のワークに対して、連続的にプラズマ処理を施すことができない。
この点、特許文献3のプラズマ処理装置は、ワークを挟んで対向する、一対のマイクロ波プラズマ発生手段を備えている。一対のマイクロ波プラズマ発生手段の間には、プラズマ密度が均一なプラズマ領域が形成される。ワークがプラズマ領域を通過することにより、ワークの外面にプラズマ処理が施される。しかしながら、特許文献3のプラズマ処理装置の場合、電極が配置されていないため、充分なガスバリア性が得られにくい場合がある。
本発明のプラズマ処理装置は、上記課題に鑑みて完成されたものである。本発明は、長尺状のワークに対して、連続的にバリア膜を成膜することができるプラズマ処理装置を提供することを目的とする。
(1)上記課題を解決するため、本発明のプラズマ処理装置は、長尺かつ筒状であって軸方向に沿って搬送されるワークの径方向両外側に対向して配置され、該ワークに向かってマイクロ波が通過するスロットを各々有する一対のスロットアンテナと、該スロットアンテナの該ワーク側の表面を各々覆う一対の誘電体と、一対の該誘電体間に介装され、負圧条件下において該マイクロ波の電界によりプラズマ生成用ガスを電離させプラズマを生成するプラズマ生成室を、内部に区画するチャンバーと、該プラズマ生成室に配置され、該ワークの処理対象面と一対の該誘電体との間に介装され、互いに絶縁される一対のメッシュと、一対の該メッシュに互いに逆位相の高周波電圧を印加する電源と、該電源と一対の該メッシュとの間のインピーダンスを調節する整合器と、を備え、該メッシュに負の電圧を印加することにより該プラズマ中の荷電粒子(電子を除く)を該メッシュに加速させながら引き寄せ、該メッシュを通過した該荷電粒子を該処理対象面に衝突させることを特徴とする。
ここで、「負圧」とは、標準大気圧よりも圧力が低い状態をいう。好ましくは、プラズマを生成しやすい2〜100Paがよい。また、「高周波」とは、1〜100MHzの周波数帯をいう。好ましくは、入手面から、2、13.56、20、40、60MHz帯が好ましい。
本発明のプラズマ処理装置によると、マイクロ波プラズマが処理対象面の径方向両外側から照射される。このため、チャンバー内に比較的均一なプラズマが形成され、ワークの内部に電極を配置しなくても、処理対象面に薄膜を形成することができる。したがって、ワークに対して、連続的にバリア膜を成膜することができる。
また、本発明のプラズマ処理装置によると、メッシュに負の電圧が印加されている。このため、生成した荷電粒子(電子を除く)は、メッシュに加速し引き寄せられる。引き寄せられた荷電粒子は、メッシュの網目を通過し、処理対象面に衝突する。つまり、運動エネルギーが大きい荷電粒子が処理対象面に衝突する。このため、その時の衝突エネルギーにより、荷電粒子の反応が促進し(C−H等のバリア性を阻害する結合が切れ)、バリア性の高い薄膜が形成される。
また、本発明のプラズマ処理装置によると、ワークを挟んで、一対のスロットアンテナが対向して配置されている。このため、スロットアンテナが単一の場合と比較して、プラズマ生成室において、プラズマ密度がばらつくのを抑制することができる。
また、本発明のプラズマ処理装置によると、ワークがプラズマ生成室を通過するだけで、処理対象面に連続的に薄膜を形成することができる。このため、プラズマ処理装置をワークの製造ラインに組み込んで、インライン成膜を施すことができる。また、本発明のプラズマ処理装置によると、従来の高周波プラズマ方式と比較して、プラズマ生成空間(プラズマ密度が均一な領域)を広くすることができる。
(1−1)好ましくは、上記(1)の構成において、前記スロットは長孔状を呈し、該スロットの長軸方向と前記ワークの軸方向とは一致している構成とする方がよい。本構成によると、搬送中のワークが成膜される区間が長くなる。このため、ワークが成膜される区間が短い場合と比較して、同程度の膜厚のバリア膜を成膜する場合は、ワークの搬送速度を速くすることができる。また、同程度の搬送速度を確保する場合は、膜厚を厚くすることができる。
(2)好ましくは、上記(1)の構成において、前記メッシュは、前記処理対象面と相似形である構成とする方がよい。本構成によると、メッシュから処理対象面までの距離が均一になる。このため、処理対象面全体に亘って、衝突する荷電粒子の量がばらつきにくい。また、処理対象面全体に亘って、荷電粒子の衝突エネルギーがばらつきにくい。
(3)好ましくは、上記(1)または(2)の構成において、さらに、一対の前記スロットアンテナに共通の前記マイクロ波を供給する共用マイクロ波発振器を備える構成とする方がよい。
本構成によると、一対のスロットアンテナに対して、兼用の共用マイクロ波発振器が用いられている。このため、一対のスロットアンテナに対して、マイクロ波を均等に分配しやすい。したがって、プラズマ生成室におけるプラズマ密度がばらつきにくい。
(4)好ましくは、上記(1)ないし(3)のいずれかの構成において、さらに、一対の前記メッシュ間に介装される絶縁体を備える構成とする方がよい。一対のメッシュには、互いに逆位相の電圧が高周波電圧により印加され、メッシュが負に帯電する。このため、一対のメッシュ間には、電位差が存在する。当該電位差により、一対のメッシュ間が導通するおそれがある。この点、本構成によると、一対のメッシュ間に絶縁体が介装されている。このため、一対のメッシュ間が導通しにくい。
本発明によると、長尺状のワークに対して、連続的にバリア層を薄膜形成することができるプラズマ処理装置を提供することができる。
以下、本発明のプラズマ処理装置の実施の形態について説明する。
[プラズマ処理装置の構成]
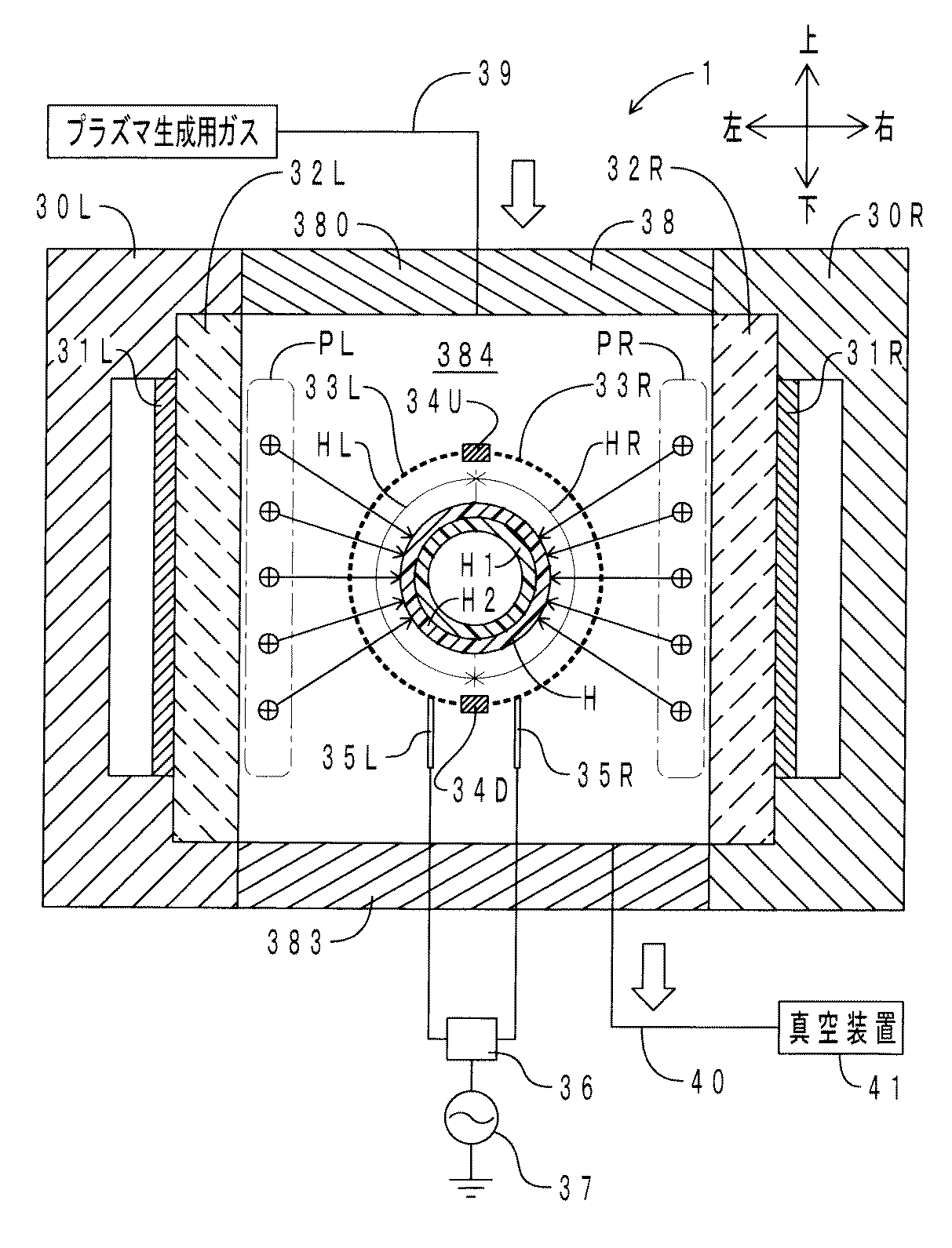
図1に、本実施形態のプラズマ処理装置の斜視図を示す。図2に、同プラズマ処理装置のチャンバー付近の透過斜視図を示す。図3に、同プラズマ処理装置のチャンバー付近の透過分解斜視図を示す。図4に、同プラズマ処理装置のチャンバー付近の径方向断面図を示す。
図1に、本実施形態のプラズマ処理装置の斜視図を示す。図2に、同プラズマ処理装置のチャンバー付近の透過斜視図を示す。図3に、同プラズマ処理装置のチャンバー付近の透過分解斜視図を示す。図4に、同プラズマ処理装置のチャンバー付近の径方向断面図を示す。
図1〜図4に示すように、プラズマ処理装置1は、共用マイクロ波電源20、共用マイクロ波発振器21、方向性結合器22、マイクロ波分配器23、一対のアイソレータ24L、24R、一対の同軸導波管変換器25L、25R、一対の同軸導波管26L、26R、一対の同軸導波管変換器27L、27R、一対の方向性結合器28L、28R、一対のマイクロ波整合器29L、29R、一対の矩形導波管30L、30R、一対のスロットアンテナ31L、31R、一対の誘電体32L、32R、一対のメッシュ33L、33R、一対の絶縁体34U、34D、電流導入端子35L、35R、整合器36、高周波電源37、チャンバー38、配管39、配管40、真空装置41を備えている。高周波電源37は、本発明の電源に含まれる。
共用マイクロ波電源20は、共用マイクロ波発振器21に電力を供給する。共用マイクロ波発振器21は、周波数2.45GHzのマイクロ波を発振する。方向性結合器22は、共用マイクロ波発振器21の下流端に接続されている。方向性結合器22は、入射電力と反射電力のモニタを行う。マイクロ波分配器23は、方向性結合器22の下流端に接続されている。マイクロ波分配器23の下流端は、左右二手に分岐している。アイソレータ24Rは、マイクロ波分配器23の右側の下流端に接続されている。アイソレータ24Rは、後述するチャンバー38等から戻ってくるマイクロ波の反射を減衰させる。同軸導波管変換器25Rは、アイソレータ24Rの下流端に接続されている。同軸導波管変換器25Rは、マイクロ波分配器23により分配されたマイクロ波を同軸導波管26Rに変換する。同軸導波管26Rは、同軸導波管変換器25Rの下流端に接続されている。マイクロ波は、同軸導波管26Rの内部を伝播する。同軸導波管変換器27Rは、同軸導波管26Rの下流端に接続されている。同軸導波管変換器27Rは、同軸導波管26Rによるマイクロ波の伝送を矩形導波管30Rに変換する。方向性結合器28Rは、同軸導波管変換器27Rの下流端に接続されている。方向性結合器28Rは、入射電力と反射電力のモニタを行う。マイクロ波整合器29Rは、方向性結合器28Rの下流端に接続されている。マイクロ波整合器29Rは、入射マイクロ波電力の調整を行う。矩形導波管30Rは、マイクロ波整合器29Rの下流端に接続されている。マイクロ波は、矩形導波管30Rの内部を伝播する。図3に示すように、矩形導波管30Rは、左側に開口する直方体箱状を呈している。スロットアンテナ31Rは、ステンレス鋼製であって、長方形薄板状を呈している。スロットアンテナ31Rは、矩形導波管30Rの開口を塞いでいる。スロットアンテナ31Rは、四つのスロット310Rを有している。スロット310Rは、前後方向に延在する長孔状を呈している。四つのスロット310Rのうち、二つのスロット310Rは、上段に一列に並んで配置されている。残りの二つのスロット310Rは、下段に一列に並んで配置されている。上段の二つのスロット310Rと下段の二つのスロット310Rとは、ジグザグ状に配置されている。スロット310Rは、矩形導波管30Rにおけるマイクロ波の管内波長の倍数(1/2波長、1/4波長含む)に相当する部分に配置されている。誘電体32Rは、石英ガラス製であって、直方体状を呈している。誘電体32Rは、スロットアンテナ31Rの左面を覆っている。
左側のアイソレータ24L、同軸導波管変換器25L、同軸導波管26L、同軸導波管変換器27L、方向性結合器28L、マイクロ波整合器29L、矩形導波管30L、スロットアンテナ31L、誘電体32Lの構成は、右側のこれらの部材の構成と同様である。また、左側のアイソレータ24L、同軸導波管変換器25L、同軸導波管26L、同軸導波管変換器27L、方向性結合器28L、マイクロ波整合器29L、矩形導波管30L、スロットアンテナ31L、誘電体32Lの配置は、右側のこれらの部材の配置と、左右対称である。
メッシュ33Rは、ステンレス鋼製であって、誘電体32Rの左側に配置されている。メッシュ33Rは、後述するホースHと同心の、半円弧板状を呈している。メッシュ33Lは、ステンレス鋼製であって、誘電体32Lの右側に配置されている。メッシュ33Rは、後述するホースHと同心の、半円弧板状を呈している。
絶縁体34Uは、石英ガラス製であって、前後方向に長い帯状を呈している。絶縁体34Uは、右側のメッシュ33Rの上端と左側のメッシュ33Lの上端との間に介装されている。絶縁体34Lは、石英ガラス製であって、前後方向に長い帯状を呈している。絶縁体34Lは、右側のメッシュ33Rの下端と左側のメッシュ33Lの下端との間に介装されている。
メッシュ33L、絶縁体34U、メッシュ33R、絶縁体34Dは、前後方向に長い円筒状に連なっている。ホースHは、これらの部材の径方向内側を、後側から前側に向かって、搬送される。ホースHは、本発明のワークに含まれる。内層H1は、アクリロニトリル−ブタジエン共重合ゴム(NBR)製である。中間層H2は、ポリエチレンテレフタレート(PET)製である。ホースHの外周面左半分は処理対象面HLである。処理対象面HLは、スロットアンテナ31Lで生成される荷電粒子(正イオンとラジカル)PLにより処理される。ホースHの外周面右半分は処理対象面HRである。処理対象面HRは、スロットアンテナ31Rで生成される荷電粒子(正イオンとラジカル)PRにより処理される。
チャンバー38は、上壁380と前壁381と後壁382と下壁383とを備えている。上壁380は、アルミニウム製であって、矩形導波管30Lの上縁と矩形導波管30Rの上縁とを連結している。下壁383は、アルミニウム製であって、矩形導波管30Lの下縁と矩形導波管30Rの下縁とを連結している。前壁381は、アルミニウム製であって、矩形導波管30Lの前縁と矩形導波管30Rの前縁とを連結している。後壁382は、アルミニウム製であって、矩形導波管30Lの後縁と矩形導波管30Rの後縁とを連結している。チャンバー38の内部には、密閉されたプラズマ生成室384が区画されている。プラズマ生成室384には、配管39、40が接続されている。配管39を介して、プラズマ生成室384に、アルゴン(Ar)やベンゼンが供給される。Arは、本発明のプラズマ生成用ガスに含まれる。ベンゼンは、成膜用ガスの一種である。配管40を介して、プラズマ生成室384は真空装置41に接続されている。
電流導入端子35Rは、メッシュ33Rに接続されている。電流導入端子35Lは、メッシュ33Lに接続されている。電流導入端子35L、35Rは、整合器36を介して、高周波電源37に接続されている。高周波電源37は接地されている。高周波電源37は、周波数13.56MHzの正弦波状の電圧を発生する。当該電圧により、メッシュ33L、33Rには、互いに逆位相の高周波電圧が印加され、負に帯電する。
[薄膜形成方法]
次に、本実施形態のプラズマ処理装置1を用いた、バリア膜の薄膜形成方法について説明する。バリア膜の薄膜形成方法においては、図4に示すように、まず、真空装置41により、プラズマ生成室384を減圧する。次いで、配管39からプラズマ生成室384にArとベンゼンを供給し、プラズマ生成室384をArとベンゼン雰囲気にする。それから、図1に示すように、共用マイクロ波電源20をオンにする。共用マイクロ波電源20をオンにすると、共用マイクロ波発振器21がマイクロ波を発生する。また、高周波電源37をオンにする。高周波電源37をオンにすると、メッシュ33L、33Rに互いに逆位相の高周波電圧が印加され、メッシュ33L、33Rが負に帯電する。
次に、本実施形態のプラズマ処理装置1を用いた、バリア膜の薄膜形成方法について説明する。バリア膜の薄膜形成方法においては、図4に示すように、まず、真空装置41により、プラズマ生成室384を減圧する。次いで、配管39からプラズマ生成室384にArとベンゼンを供給し、プラズマ生成室384をArとベンゼン雰囲気にする。それから、図1に示すように、共用マイクロ波電源20をオンにする。共用マイクロ波電源20をオンにすると、共用マイクロ波発振器21がマイクロ波を発生する。また、高周波電源37をオンにする。高周波電源37をオンにすると、メッシュ33L、33Rに互いに逆位相の高周波電圧が印加され、メッシュ33L、33Rが負に帯電する。
共用マイクロ波発振器21から発生したマイクロ波は、方向性結合器22を通過し、マイクロ波分配器23において、左右二手に分配される。右側に分配されたマイクロ波は、アイソレータ24R、同軸導波管変換器25R、同軸導波管26R、同軸導波管変換器27R、方向性結合器28R、マイクロ波整合器29Rを伝播し、矩形導波管30Rに進入する。矩形導波管30Rに進入したマイクロ波は、図4に示すように、スロットアンテナ31Rのスロット310R(図2参照)を通過する。ここで、スロット310Rの開口面積は、矩形導波管30Rの通路断面積と比較して、極めて小さい。このため、矩形導波管30Rからスロット310Rに進入する際、マイクロ波の電界強度は、極めて高くなる。マイクロ波が誘電体32Rに照射されると、誘電体32Rの左面に表面波が発生する。当該表面波のエネルギーにより、プラズマ生成室384内のArとベンゼンが電離する。そして、図4に示すように、プラズマ生成室384に、荷電粒子PR(Arとベンゼンの正イオンとラジカル)が生成される。
ここで、メッシュ33L、33Rには互いに逆位相の高周波電圧が印加され、メッシュ33L、33Rは負に帯電している。このため、荷電粒子PRとメッシュ33Rとの電位差により、荷電粒子PRは、メッシュ33Rに引き寄せられる。すなわち、荷電粒子PRは加速される。メッシュ33Rを通過した荷電粒子PRは、ホースHの処理対象面HRに衝突する。荷電粒子PRの衝突エネルギーにより、処理対象面HRに、バリア膜が成膜される。
同様に、プラズマ生成用ガスおよび成膜用ガスは、誘電体32Lの表面波のエネルギーにより電離する。そして、図4に示すように、プラズマ生成室384に、荷電粒子PLが生成される。荷電粒子PLとメッシュ33Lとの電位差により、荷電粒子PLは、メッシュ33Lに引き寄せられる。メッシュ33Lを通過した荷電粒子PLは、ホースHの処理対象面HLに衝突する。荷電粒子PLの衝突エネルギーにより、処理対象面HLに、バリア膜が成膜される。
このようにして、ホースHの外周面の周方向全長に亘って、バリア膜が形成される。ホースHは、後側から前側に向かって搬送される。このため、ホースHの軸方向に沿って、連続的にバリア膜が形成される。
[作用効果]
次に、本実施形態のプラズマ処理装置1の作用効果について説明する。本実施形態のプラズマ処理装置1によると、荷電粒子PL、PRが処理対象面HL、HRの左右方向両外側から照射される。このため、ホースHの径方向内側に内部電極を配置しなくても、処理対象面HL、HRにバリア膜を形成することができる。したがって、長尺状のホースHに対して、連続的にバリア膜を成膜することができる。
次に、本実施形態のプラズマ処理装置1の作用効果について説明する。本実施形態のプラズマ処理装置1によると、荷電粒子PL、PRが処理対象面HL、HRの左右方向両外側から照射される。このため、ホースHの径方向内側に内部電極を配置しなくても、処理対象面HL、HRにバリア膜を形成することができる。したがって、長尺状のホースHに対して、連続的にバリア膜を成膜することができる。
また、本実施形態のプラズマ処理装置1によると、荷電粒子PL、PRとメッシュ33L、33Rとの間に電位差が設定されている。電位差により、生成した荷電粒子PL、PRはメッシュ33L、33Rに加速し引き寄せられる。引き寄せられた荷電粒子PL、PRは、メッシュ33L、33Rの網目を通過し、処理対象面HL、HRに衝突する。つまり、運動エネルギーが大きい荷電粒子PL、PRが処理対象面に衝突する。このため、その時の衝突エネルギーにより、荷電粒子PL、PRの反応が促進し、バリア性の高い薄膜が形成される。
また、本実施形態のプラズマ処理装置1によると、ホースHを挟んで、一対のスロットアンテナ31L、31Rが対向して配置されている。このため、スロットアンテナ31L、31Rが単一の場合と比較して、プラズマ生成室384において、プラズマ密度が均一になりやすい。
また、本実施形態のプラズマ処理装置1によると、ホースHがプラズマ生成室384を通過するだけで、処理対象面HL、HRに連続的にバリア膜を成膜することができる。このため、プラズマ処理装置1をホースHの製造ラインに組み込んで、インライン成膜を施すことができる。また、本実施形態のプラズマ処理装置1によると、従来の高周波プラズマ方式と比較して、プラズマ生成空間(プラズマ密度が均一な領域)を広くすることができる。
また、本実施形態のプラズマ処理装置1によると、プラズマ生成室384において、プラズマ密度が均一になりやすい。その理由は、一対の誘電体32L、32Rの表面波により発生した荷電粒子PL、PRが、互いに重なり合うためと考えられる。このため、ワークの処理対象面の形状によらず、均一にバリア膜を形成することができる。
また、本実施形態のプラズマ処理装置1によると、スロット310Rが前後方向に延在する長孔状を呈している。このため、搬送中のホースHが成膜される区間が長くなる。したがって、ホースHが成膜される区間が短い場合と比較して、同程度の膜厚のバリア膜を成膜する場合は、ホースHの搬送速度を速くすることができる。また、同程度の搬送速度を確保する場合は、膜厚を厚くすることができる。
また、本実施形態のプラズマ処理装置1によると、メッシュ33L、33Rが処理対象面HL、HRと相似形を呈している。すなわち、メッシュ33L、33Rは、各々、半円弧板状である。同様に、処理対象面HL、HRは、各々、半円弧状である。また、メッシュ33L、33Rの曲率半径は、処理対象面HL、HRの曲率半径よりも大きい。このため、メッシュ33L、33Rから処理対象面HL、HRまでの距離が均一になる。したがって、処理対象面HL、HR全体に亘って、衝突する荷電粒子PL、PRの量がばらつきにくい。また、処理対象面HL、HR全体に亘って、荷電粒子PL、PRの衝突エネルギーがばらつきにくい。
また、本実施形態のプラズマ処理装置1は、共用マイクロ波発振器21を備えている。共用マイクロ波発振器21は、一対のスロットアンテナ31L、31Rに、共通のマイクロ波を供給している。このため、一対のスロットアンテナ31L、31Rに対して、マイクロ波を均等に分配しやすい。したがって、プラズマ生成室384における荷電粒子PL、PRの密度がばらつきにくい。
また、本実施形態のプラズマ処理装置1は、一対の絶縁体34U、34Dを備えている。絶縁体34U、34Dは、一対のメッシュ33L、33R間に介装されている。このため、一対のメッシュ33L、33Rが近接して配置されているにもかかわらず、一対のメッシュ33L、33R間が導通しにくい。
プラズマ処理装置の運転条件を表1に示す。なお、石英ガラス棒にPETフィルムを巻きつけたものをホースに見立て、二種類の運転条件(ケース1、ケース2)において、運転を行った。
また、バリア膜を成膜処理したPETフィルムのHeガス透過率と、その時の運転条件を表2に示す。なお、水素ガスの危険性を考慮し、水素ガスを模擬してHeガスを用い、Heガス透過性をQMS(四重極型質量分析器)により評価した。
表1中、プラズマ生成用ガスの流量とは、配管39におけるプラズマ生成用ガスの流量をいう。プラズマ生成用ガスの圧力とは、プラズマ生成室384におけるプラズマ生成用ガスの圧力をいう。成膜用ガスの圧力とは、プラズマ生成室384における成膜用ガスの圧力をいう。マイクロ波出力とは、共用マイクロ波電源20(図1参照)の出力をいう。RF出力とは、高周波電源37(図4参照)の出力をいう。自己バイアス電圧とは、一対のメッシュに高周波電圧が印加され、一対のメッシュが負に帯電したときの電圧の平均値をいう。p−p電圧とは、一対のメッシュに高周波電圧が印加され、一対のメッシュがマイナスに帯電したときの電圧の振幅をいう。
表2中、膜厚とは、バリア膜の厚みをいう。He透過率とは、未処理のPETフィルムのHeガス透過率を100%とした時の、ガスバリア膜成膜後のPETフィルムのHe透過率をいう。
<その他>
以上、本発明のプラズマ処理装置の実施の形態について説明した。しかしながら、実施の形態は上記形態に特に限定されるものではない。当業者が行いうる種々の変形的形態、改良的形態で実施することも可能である。メッシュ33L、33Rの網目の形状は特に限定しない。加速された荷電粒子PL、PRが、網目を通過できればよい。
以上、本発明のプラズマ処理装置の実施の形態について説明した。しかしながら、実施の形態は上記形態に特に限定されるものではない。当業者が行いうる種々の変形的形態、改良的形態で実施することも可能である。メッシュ33L、33Rの網目の形状は特に限定しない。加速された荷電粒子PL、PRが、網目を通過できればよい。
マイクロ波の周波数は特に限定しない。好ましくは、433MHz以上2.45GHz以下である方がよい。さらに好ましくは、915MHz、2.45GHzである方がよい。その理由は、これらの周波数のマイクロ波電源が入手しやすいからである。高周波電源37の電圧の周波数、波長、振幅、波形などは特に限定しない。誘電体32L、32R、絶縁体34U、34D、34L、34Rの材質は特に限定しない。石英ガラスの他、アルミナでもよい。
プラズマ処理装置1を構成する各部材(共用マイクロ波電源20、共用マイクロ波発振器21、方向性結合器22、マイクロ波分配器23、アイソレータ24L、24R、同軸導波管変換器25L、25R、同軸導波管26L、26R、同軸導波管変換器27L、27R、方向性結合器28L、28R、マイクロ波整合器29L、29R、矩形導波管30L、30R、スロットアンテナ31L、31R、チャンバー38など)の外殻の材質は特に限定しない。ステンレス鋼の表面に銀をコーティングしたものを用いてもよい。また、銅、アルミニウム、鉄、ニッケルなどの金属を用いてもよい。また、これらの金属の合金を用いてもよい。また、絶縁体(セラミックス、プラスチックなど)の表面に金属薄膜をコーティングしたものを用いてもよい。マイクロ波の浸透厚以上の厚さの導電層が確保できればよい。
同軸導波管26L、26Rは同軸導波管に限定しない。矩形導波管を用いれば、同軸導波管変換器25L、25R、27L、27Rを省略してもよい。スロットアンテナの形状、配置は限定しない。マイクロ波の電解強度が高められればよい。
プラズマ生成用ガスの種類は特に限定しない。Arの他、ヘリウム(He)、ネオン(Ne)、クリプトン(Kr)、キセノン(Xe)などの希ガス、窒素(N2)などを用いてもよい。経済性及び電離性の観点からは、He、Ar、N2が好ましい。これらのガスは、単独で、または2種以上併せて用いてもよい。
上記実施形態においては、図1に示すように、共用マイクロ波電源20、共用マイクロ波発振器21、方向性結合器22、マイクロ波分配器23を、一対のスロットアンテナ31L、31Rにおいて共用化した。しかしながら、スロットアンテナ31L、31Rごとに、マイクロ波電源、マイクロ波発振器、方向性結合器、導波管を配置してもよい。
上記実施形態においては、図4に示すように、配管39を介して、プラズマ生成用ガス(Ar)および成膜用ガス(ベンゼン)をプラズマ生成室384に導入した。成膜用ガスの種類は特に限定しない。ベンゼンの他、アセチレンやメタンなどの炭化水素系の成膜用ガスを、プラズマ生成室384に導入してもよい。
また、ホースHの処理対象面は、ホースHの表面全体でなくてもよい。すなわち、ホースHの表面の一部であってもよい。この場合は、当該処理対象面の位置に応じて、メッシュを配置すればよい。
本実施形態のプラズマ処理装置1によると、メッシュ33L、33Rにより加速された状態で、荷電粒子PL、PRが処理対象面HL、HRに衝突する。このため、衝突エネルギーが大きく、荷電粒子の反応が促進し、バリア性の高い薄膜が形成される。したがって、従来の高周波プラズマ方式、マイクロ波プラズマ方式ではガスバリア性の発現が困難な成膜用ガスを用いるのに、適している。
1:プラズマ処理装置。
20:共用マイクロ波電源、21:共用マイクロ波発振器、22:方向性結合器、23:マイクロ波分配器、24L:アイソレータ、24R:アイソレータ、25L:同軸導波管変換器、25R:同軸導波管変換器、26L:同軸導波管、26R:同軸導波管、27L:同軸導波管変換器、27R:同軸導波管変換器、28L:方向性結合器、28R:方向性結合器、29L:マイクロ波整合器、29R:マイクロ波整合器、30L:矩形導波管、30R:矩形導波管、31L:スロットアンテナ、31R:スロットアンテナ、32L:誘電体、32R:誘電体、33L:メッシュ、33R:メッシュ、34D:絶縁体、34L:絶縁体、34U:絶縁体、35L:電流導入端子、35R:電流導入端子、36:整合器、37:高周波電源(電源)、38:チャンバー、39:配管、40:配管、41:真空装置。
310R:スロット、380:上壁、381:前壁、382:後壁、383:下壁、384:プラズマ生成室。
H:ホース(ワーク)、H1:内層、H2:中間層、HL:処理対象面、HR:処理対象面、PL:荷電粒子、PR:荷電粒子。
20:共用マイクロ波電源、21:共用マイクロ波発振器、22:方向性結合器、23:マイクロ波分配器、24L:アイソレータ、24R:アイソレータ、25L:同軸導波管変換器、25R:同軸導波管変換器、26L:同軸導波管、26R:同軸導波管、27L:同軸導波管変換器、27R:同軸導波管変換器、28L:方向性結合器、28R:方向性結合器、29L:マイクロ波整合器、29R:マイクロ波整合器、30L:矩形導波管、30R:矩形導波管、31L:スロットアンテナ、31R:スロットアンテナ、32L:誘電体、32R:誘電体、33L:メッシュ、33R:メッシュ、34D:絶縁体、34L:絶縁体、34U:絶縁体、35L:電流導入端子、35R:電流導入端子、36:整合器、37:高周波電源(電源)、38:チャンバー、39:配管、40:配管、41:真空装置。
310R:スロット、380:上壁、381:前壁、382:後壁、383:下壁、384:プラズマ生成室。
H:ホース(ワーク)、H1:内層、H2:中間層、HL:処理対象面、HR:処理対象面、PL:荷電粒子、PR:荷電粒子。
Claims (4)
- 長尺かつ筒状であって軸方向に沿って搬送されるワークの径方向両外側に対向して配置され、該ワークに向かってマイクロ波が通過するスロットを各々有する一対のスロットアンテナと、
該スロットアンテナの該ワーク側の表面を各々覆う一対の誘電体と、
一対の該誘電体間に介装され、負圧条件下において該マイクロ波の電界によりプラズマ生成用ガスを電離させプラズマを生成するプラズマ生成室を、内部に区画するチャンバーと、
該プラズマ生成室に配置され、該ワークの処理対象面と一対の該誘電体との間に介装され、互いに絶縁される一対のメッシュと、
一対の該メッシュに互いに逆位相の高周波電圧を印加する電源と、
該電源と一対の該メッシュとの間のインピーダンスを調節する整合器と、
を備え、
該メッシュに負の電圧を印加することにより該プラズマ中の荷電粒子(電子を除く)を該メッシュに加速させながら引き寄せ、該メッシュを通過した該荷電粒子を該処理対象面に衝突させるプラズマ処理装置。 - 前記メッシュは、前記処理対象面と相似形である請求項1に記載のプラズマ処理装置。
- さらに、一対の前記スロットアンテナに共通の前記マイクロ波を供給する共用マイクロ波発振器を備える請求項1または請求項2に記載のプラズマ処理装置。
- さらに、一対の前記メッシュ間に介装される絶縁体を備える請求項1ないし請求項3のいずれかに記載のプラズマ処理装置。
Priority Applications (1)
| Application Number | Priority Date | Filing Date | Title |
|---|---|---|---|
| JP2010291142A JP2012136754A (ja) | 2010-12-27 | 2010-12-27 | プラズマ処理装置 |
Applications Claiming Priority (1)
| Application Number | Priority Date | Filing Date | Title |
|---|---|---|---|
| JP2010291142A JP2012136754A (ja) | 2010-12-27 | 2010-12-27 | プラズマ処理装置 |
Publications (1)
| Publication Number | Publication Date |
|---|---|
| JP2012136754A true JP2012136754A (ja) | 2012-07-19 |
Family
ID=46674399
Family Applications (1)
| Application Number | Title | Priority Date | Filing Date |
|---|---|---|---|
| JP2010291142A Pending JP2012136754A (ja) | 2010-12-27 | 2010-12-27 | プラズマ処理装置 |
Country Status (1)
| Country | Link |
|---|---|
| JP (1) | JP2012136754A (ja) |
Cited By (1)
| Publication number | Priority date | Publication date | Assignee | Title |
|---|---|---|---|---|
| JP2015079677A (ja) * | 2013-10-17 | 2015-04-23 | 東京エレクトロン株式会社 | マイクロ波プラズマ処理装置及びマイクロ波供給方法 |
Citations (2)
| Publication number | Priority date | Publication date | Assignee | Title |
|---|---|---|---|---|
| JP2008192732A (ja) * | 2007-02-02 | 2008-08-21 | Ulvac Japan Ltd | 真空処理装置 |
| JP2010061860A (ja) * | 2008-09-01 | 2010-03-18 | Chube Univ | プラズマ生成装置 |
-
2010
- 2010-12-27 JP JP2010291142A patent/JP2012136754A/ja active Pending
Patent Citations (2)
| Publication number | Priority date | Publication date | Assignee | Title |
|---|---|---|---|---|
| JP2008192732A (ja) * | 2007-02-02 | 2008-08-21 | Ulvac Japan Ltd | 真空処理装置 |
| JP2010061860A (ja) * | 2008-09-01 | 2010-03-18 | Chube Univ | プラズマ生成装置 |
Cited By (1)
| Publication number | Priority date | Publication date | Assignee | Title |
|---|---|---|---|---|
| JP2015079677A (ja) * | 2013-10-17 | 2015-04-23 | 東京エレクトロン株式会社 | マイクロ波プラズマ処理装置及びマイクロ波供給方法 |
Similar Documents
| Publication | Publication Date | Title |
|---|---|---|
| US6812647B2 (en) | Plasma generator useful for ion beam generation | |
| US6899054B1 (en) | Device for hybrid plasma processing | |
| JPH02502594A (ja) | 高周波イオン源 | |
| CN109786205B (zh) | 电子回旋共振离子源 | |
| JPH1012396A (ja) | プラズマ発生装置及びこのプラズマ発生装置を使用した表面処理装置 | |
| WO2012033191A1 (ja) | プラズマ処理装置 | |
| TW200935486A (en) | Method for treating the surface of at least one part by using elementary plasma sources by electron cyclotron resonance | |
| JP2631650B2 (ja) | 真空装置 | |
| JPH02132827A (ja) | プラズマ処理装置、及びその方法 | |
| US20110192348A1 (en) | RF Hollow Cathode Plasma Generator | |
| WO2003052806A1 (en) | Plasma treatment apparatus and plasma generation method | |
| JP2012136754A (ja) | プラズマ処理装置 | |
| JP4803179B2 (ja) | 表面波励起プラズマ処理装置およびプラズマ処理方法 | |
| Saito et al. | Performance of impedance transformer for high-power ICRF heating in LHD | |
| CN113285223B (zh) | 一种分立式π/2相位差离子回旋共振加热天线 | |
| JP6863608B2 (ja) | プラズマ源及びプラズマ処理装置 | |
| JP4967784B2 (ja) | マイクロ波プラズマ発生装置 | |
| JPH04276067A (ja) | 金属プラズマ源 | |
| JPS62180747A (ja) | 放電反応装置 | |
| KR102881213B1 (ko) | 플라스마 처리 장치 | |
| WO2010001036A3 (fr) | Dispositif générateur d'ions à résonance cyclotronique électronique | |
| JPH03274696A (ja) | マイクロ波プラズマ源 | |
| JPH0495394A (ja) | 電子サイクロトロン共鳴プラズマ形成方法および処理装置 | |
| JP6281934B2 (ja) | 小型マイクロ波プラズマ源における誘電体保護機構 | |
| JPH01100920A (ja) | プラズマ生成物を用いた基体処理装置 |
Legal Events
| Date | Code | Title | Description |
|---|---|---|---|
| A621 | Written request for application examination |
Free format text: JAPANESE INTERMEDIATE CODE: A621 Effective date: 20130905 |
|
| A977 | Report on retrieval |
Free format text: JAPANESE INTERMEDIATE CODE: A971007 Effective date: 20140313 |
|
| A131 | Notification of reasons for refusal |
Free format text: JAPANESE INTERMEDIATE CODE: A131 Effective date: 20140415 |
|
| A02 | Decision of refusal |
Free format text: JAPANESE INTERMEDIATE CODE: A02 Effective date: 20140930 |
