JP2012127361A - ファン装置 - Google Patents

ファン装置 Download PDF

Info

Publication number
JP2012127361A
JP2012127361A JP2012083223A JP2012083223A JP2012127361A JP 2012127361 A JP2012127361 A JP 2012127361A JP 2012083223 A JP2012083223 A JP 2012083223A JP 2012083223 A JP2012083223 A JP 2012083223A JP 2012127361 A JP2012127361 A JP 2012127361A
Authority
JP
Japan
Prior art keywords
fan
casing
motor means
motor
fan device
Prior art date
Legal status (The legal status is an assumption and is not a legal conclusion. Google has not performed a legal analysis and makes no representation as to the accuracy of the status listed.)
Granted
Application number
JP2012083223A
Other languages
English (en)
Other versions
JP5316665B2 (ja
Inventor
Michimasa Aoki
亨匡 青木
Masumi Suzuki
真純 鈴木
Tadanobu Matsumura
唯伸 松村
Current Assignee (The listed assignees may be inaccurate. Google has not performed a legal analysis and makes no representation or warranty as to the accuracy of the list.)
Fujitsu Ltd
Original Assignee
Fujitsu Ltd
Priority date (The priority date is an assumption and is not a legal conclusion. Google has not performed a legal analysis and makes no representation as to the accuracy of the date listed.)
Filing date
Publication date
Application filed by Fujitsu Ltd filed Critical Fujitsu Ltd
Priority to JP2012083223A priority Critical patent/JP5316665B2/ja
Publication of JP2012127361A publication Critical patent/JP2012127361A/ja
Application granted granted Critical
Publication of JP5316665B2 publication Critical patent/JP5316665B2/ja
Anticipated expiration legal-status Critical
Expired - Fee Related legal-status Critical Current

Links

Images

Landscapes

  • Structures Of Non-Positive Displacement Pumps (AREA)

Abstract

【課題】設計レイアウトの自由度が高く、小型で高性能なファン装置を提供すること。
【解決手段】ロータ部11の周縁部に複数の羽根12を有したファン13と、ロータ部11の内方に同軸状に配置されファン13を回転させるモータ手段15と、ファン13およびモータ手段15とを収納し、吸気口16,17をファン13の回転軸14方向に有するとともに排気口18を径方向に有したケーシング20とを備えた遠心型のファン装置10において、吸気口17近傍のケーシング20の一部を当該ケーシング20の他の外表面部分21よりも内方に配置させ、モータ手段15を搭載するためのモータ搭載部30として形成した。
【選択図】図1

Description

この発明は、ファン装置に関し、更に詳しくは、設計レイアウトの自由度が高く、小型で高性能なファン装置に関する。
従来より、ファン装置は、機器駆動時に生じる熱を冷却するために、OA機器や家電機器等の各種機器に幅広く使用されている。特にパーソナルコンピュータやサーバ装置では、処理速度の飛躍的向上に伴い、CPUチップその他のLSI等の動作時において発熱量が増大している。このため、より小型で風量の大きい、高効率のファン装置が求められている。
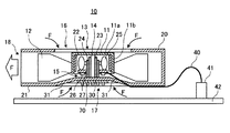
このような従来のファン装置の一例として、たとえば、図12〜図15に示すものが公知である。ここで、図12は、従来のファン装置を示す断面図であり、後述する図13のD−D断面図である。また、図13は、従来のファン装置を示す底面図、図14は、ケーブル固定部近傍を示す断面図、図15は、図14のE−E断面におけるケーブル固定部を示す断面図である。なお、図中の符号Fを付した矢印は、空気の流れを模式的に示したものである。
図12〜図14に示すように、従来の遠心型のファン装置100は、ロータ部11の周縁部に複数の羽根12を有したファン13と、ロータ部11の内方に同軸状に配置され、ファン13を回転させるモータ手段15と、ファン13およびモータ手段15とを収納し、吸気口16,17をファン13の回転軸方向に有するとともに排気口18をファン13の径方向に有したケーシング20とを備え、ファン13を回転させることにより吸気口16,17から吸入した空気を排気口18に送風するものである。
ファン13のロータ部11は、天面部11aと側面部11bとからなる円筒状に形成されている。ケーシング20の穴20aは、ケーシング20をプリント基板42等にねじで固定するために設けた穴である。
また、ファン13は、モータ手段15のロータ部11として形成されている。すなわち、ファン13のロータ部11は、天面部11aの内壁中心部から回転軸(モータ手段)14が垂設され、側面部11bの内周面にマグネット(モータ手段)22を備えている。なお、回転軸14は、金属で形成されている。
また、モータ手段15のステータ部は、上記回転軸14を回転自在に支持する軸受(モータ手段)23と、この軸受23を支持し、後述するモータ搭載部130に固定する支持部材(モータ手段)24と、駆動電流等を制御する制御IC26を実装した制御基板27と、制御基板27に固定されたコイル25とを備える。
また、モータ搭載部130は、モータ手段15を搭載するために形成されたものである。このモータ搭載部130は、吸気口17近傍のケーシング20の底面の一部を当該ケーシング20の他の外表面部分21よりも外方(下方)に突出して配置されている。また、このモータ搭載部130は、3本〜4本のリブ131によって吸気口17の開口周縁部と接続されている。
また、図12〜図15に示すように、制御基板27からのケーブル40は、ケーシング20の外表面(底面)に沿わせてケーシング20の外部に引き出され、プリント基板42上のコネクタ41と接続されている。
なお、関連する従来技術として、上記モータ搭載部130に相当する部分が、ケーシングの他の外表面部分から外方(下方)に突出していないタイプのものも公知である(たとえば、特許文献1参照)。
特開2004−52735号公報
発熱量の大きい装置やLSIを冷却するには、大きなサイズのファン装置が必要となってきている。特に、上記図示例にて説明した従来技術にあっては、モータ搭載部130がケーシング20の他の外表面部分21よりも外方(下方)に突出して配置されているので、モータ搭載部130下方に風路スペースを十分に確保できなかった。このため、更に装置レイアウトや実装の自由度が減り、また装置の大型化にもつながっていた。
この発明は、上記に鑑みてなされたものであって、設計レイアウトの自由度が高く、小型で高性能なファン装置を提供することを目的とする。
上述した課題を解決し、目的を達成するために、この発明は、ロータ部の周縁部に複数の羽根を有したファンと、前記ロータ部の内方に同軸状に配置され前記ファンを回転させるモータ手段と、前記ファンおよび前記モータ手段とを収納し、吸気口を前記ファンの回転軸方向に有するとともに排気口を前記ファンの径方向に有したケーシングと、を備え、前記ファンを回転させることにより前記吸気口から吸入した空気を前記排気口に送風する遠心型のファン装置において、前記羽根の外周部で形成される、回転軸を中心とした円の直径を示す羽根の長さよりも前記吸気口の径を短くし、前記吸気口の中心部にあって、前記モータ手段を搭載する前記ケーシングの一部を当該ケーシングの他の外表面部分よりも内方に配置させ、前記モータ手段を搭載するためのモータ搭載部として形成し、前記他の外表面部分から前記モータ搭載部までの当該ケーシングの形状が、前記ファンの回転軸方向の厚さが徐々に小さくなるようなテーパ形状であることを特徴とするものである。
また、この発明は、前記モータ手段は、前記ファンの回転を制御する制御用電子部品と当該制御用電子部品を実装する制御基板とを含み、前記モータ搭載部は、複数の切り欠き部若しくは貫通穴を備え、前記制御基板の前記制御用電子部品を前記切り欠き部若しくは前記貫通穴の近傍に配置したことを特徴とするものである。
また、この発明は、前記モータ手段は、前記ファンの回転を制御する制御用電子部品と当該制御用電子部品を実装する制御基板とを含み、前記モータ搭載部に放熱部材を設けたことを特徴とするものである。
また、この発明は、前記モータ手段は、支持部材を介して前記モータ搭載部に固定されており、当該支持部材はアルミニウムまたはアルミニウム合金を含む材料にて形成されていることを特徴とするものである。
また、この発明は、前記ケーシングは、前記制御基板から前記ケーシングの外部に取り出される配線の一部を収納するための溝部を備えたことを特徴とするものである。
この発明によれば、モータ搭載部を、ケーシングの他の外表面部分よりも内方に配置させたので、モータ搭載部下方に従来よりも風路スペースを十分に確保することができ、小型で高性能なファン装置を提供することができる。
また、この発明によれば、切り欠き部若しくは貫通穴を通過した吸入空気が制御基板の制御用電子部品に当たり易くなり、当該制御用電子部品の放熱を更に促進することができる。また、切り欠き部若しくは貫通穴を通過した吸入空気によって、モータ手段の他の構成部品に対しても放熱を促進することができる。
また、この発明によれば、吸気口からの吸入空気が放熱部材に当たり、モータ搭載部に搭載されたモータ手段の放熱、特に制御用電子部品の放熱を促進することができる。
また、この発明によれば、モータ手段で発生する熱が支持部材を介してモータ搭載部に
伝導し易くなり、このモータ搭載部からの放熱を促進することができる。
また、この発明によれば、配線の位置決め作業が容易になり、溝部に収納された配線を固定する場合にもその作業が容易になるので、装置の組立性が向上する。
図1は、この発明の実施例1に係るファン装置を示す断面図である。 図2は、ファン装置を示す底面図である。 図3は、ファン装置の内部を示す平面図である。 図4は、ケーブル固定部近傍を示す断面図である。 図5は、図4のB−B断面におけるケーブル固定部を示す断面図である。 図6は、この発明の実施例2に係るファン装置を示す断面図である。 図7は、この発明の実施例3に係るファン装置を示す断面図である。 図8は、ファン装置を示す底面図である。 図9は、多数の丸穴を設けたモータ搭載部を示す底面図である。 図10は、この発明の実施例4に係るファン装置を示す断面図である。 図11は、ファン装置を示す底面図である。 図12は、従来のファン装置を示す断面図である。 図13は、従来のファン装置を示す底面図である。 図14は、ケーブル固定部近傍を示す断面図である。 図15は、図14のE−E断面におけるケーブル固定部を示す断面図である。
以下に、この発明にかかるファン装置の実施例を図面に基づいて詳細に説明する。なお、この実施例によりこの発明が限定されるものではない。また、以下の説明において、すでに説明した部材と同一もしくは相当する部材には、同一の符号を付して重複説明を省略または簡略化する。
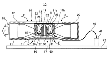
図1は、この発明の実施例1に係るファン装置を示す断面図であり、後述する図2のA−A断面図である。また、図2は、ファン装置を示す底面図、図3は、ファン装置の内部を示す平面図、図4は、ケーブル固定部近傍を示す断面図、図5は、図4のB−B断面におけるケーブル固定部を示す断面図である。
なお、図中の符号Fを付した矢印は、空気の流れを模式的に示したものである。また、図3中における黒塗りの矢印は、後述するファン13の回転方向を示している。
図1〜図4に示すように、遠心型のファン装置10は、ロータ部11の周縁部に複数の羽根12を有したファン13と、ロータ部11の内方に同軸状に配置され、ファン13を回転させるモータ手段15と、ファン13およびモータ手段15とを収納し、吸気口16,17をファン13の回転軸方向に有するとともに排気口18をファン13の径方向に有したケーシング20とを備え、ファン13を回転させることにより吸気口16,17から吸入した空気を排気口18に送風するものである。
ファン13のロータ部11は、天面部11aと側面部11bとからなる円筒状に形成されている。このロータ部11と側面部11bに設けられた羽根12とは、たとえば、合成樹脂にて一体的に形成されている。
また、ケーシング20は、たとえばアルミニウムやその合金等により形成されているが、合成樹脂にて形成することもできる。
また、制御基板27は、吸気口17から吸気される空気が制御IC26に当たって放熱し易くなるように、制御IC26の実装面が下向きとなるように支持部材24に固定されている。
また、上記支持部材24は、たとえばアルミニウムやその合金等、熱伝導性の高い材料にて形成されている。これにより、ファン13の回転によって発生する軸受23の摩擦熱や、制御基板27を介して伝わる制御IC26の熱およびコイル25で発生する熱等が、この支持部材24を介してモータ搭載部30に伝導し放熱され易くなるとともに、吸気口17から吸入される空気によって冷却され易くなる。
また、モータ搭載部30は、吸気口17近傍のケーシング20の底面の一部を当該ケーシング20の他の外表面部分21よりも内方に配置させ、モータ手段15を搭載するために形成されたものである。また、このモータ搭載部30は、3本〜4本のリブ31によって吸気口17の開口周縁部と接続されている。本実施例1では、リブ31は放射状に配置されているが、配置はこれに限定されない。
モータ搭載部30をこのように形成することで、モータ搭載部30下方に従来よりも風路スペースを確保でき、モータ手段15に供給される風量が増加するため、モータ手段15の冷却効率を向上することができる。
したがって、モータ手段15の許容温度に余裕ができ、モータ手段15の回転数を上昇させることができるため、ファン装置10の風量を増加させることができる。
また、モータ搭載部30を上記のように形成することで、モータ搭載部30下方に従来よりも風路スペースを確保できるので、プリント基板42上に配置される図示しない部品の実装エリアを拡大することができ、設計レイアウトの自由度を増加することができる。
また、図2、図4および図5に示すように、ケーシング20は、制御基板27からケーシング20の外部に取り出されるケーブル(配線)40の一部を収納するための溝部50を備えている。すなわち、この溝部50にケーブル40の一部を嵌め込んで収納し、接着テープや接着剤等で固定する。
これにより、ケーブル40の取り付け位置への位置決め作業が容易になり、溝部50に収納されたケーブル40を接着固定する場合にもその作業が容易になるので、装置の組立性が向上する。
また、ケーブル40を上記のように固定することにより、ケーブル40の撓みを抑制することができるので、撓んだケーブル40が回転しているファン13に接触し、ケーブル40の絶縁被覆が破損したり、断線したりするのを抑制することができる。
以上のように、この実施例1に係るファン装置10によれば、モータ搭載部3を、ケーシング20の他の外表面部分21よりも内方に配置させたので、モータ搭載部30下方に従来よりも風路スペースを十分に確保することができ、小型で高性能なファン装置10を提供することができる。
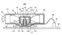
図6は、この発明の実施例2に係るファン装置を示す断面図である。図6に示すように、本実施例2は、上記実施例1の構成において、モータ手段15の高さおよびロータ部11の高さを更に低くしたものである。
上記実施例1において説明したように、モータ搭載部30下方に従来よりも風路スペースを確保でき、モータ手段15に供給される風量が増加するため、モータ手段15の冷却効率を向上することができるようなった。この結果、モータ手段15の許容温度に余裕ができ、モータ手段15の回転数を上昇させることができるため、ファン装置10の風量を増加させることができるようになった。
したがって、従来と同一の風量を得ようとする場合、従来よりもモータ手段15の高さおよびロータ部11の高さを更に低くすることができるため、本実施例2ではこれを実施し、ファン13上部の吸気口16の吸気スペースを増大したものである。
これにより、吸気口16からの風量が実施例1の場合よりも増大し、モータ手段15の冷却効率が更に向上する。なお、その他の構成については、上記実施例1の場合と同様であるので、重複説明を省略する。
以上のように、この実施例2に係るファン装置10によれば、上記実施例1の場合と同様の効果を奏するほか、吸気口16からの風量を更に増大させ、モータ手段15の冷却効率を更に向上することができる。
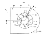
図7は、この発明の実施例3に係るファン装置を示す断面図であり、後述する図8のC−C断面図である。図8は、ファン装置を示す底面図である。
図7および図8に示すように、本実施例3は、上記実施例2に示した構成において、吸入空気が通過し易くなるように、モータ搭載部30に複数(たとえば、4つ)の矩形のスリット(切り欠き部)60を設けたものである。
また、制御基板27の制御IC26は、スリット60を通過する吸入空気が当たり易くなるように、スリット60の近傍に配置してある。なお、その他の構成については、上記実施例2の場合と同様であるので、重複説明を省略する。
以上のように、この実施例3に係るファン装置10によれば、上記実施例2の場合と同様の効果を奏するほか、スリット60を通過した吸入空気が制御基板27の制御IC26に当たり易くなり、当該制御IC26の放熱を更に促進することができる。また、スリット60を通過した吸入空気によって、軸受23やコイル25に対しても放熱を促進することができる。
なお、上記実施例3においては、矩形のスリット60を4つ設けるものとして説明したが、これに限定されず、たとえば、図9に示すように、多数の丸穴(貫通穴)62を設けてもよい。この場合も、上記実施例3と同様の効果を期待できる。ここで、図9は、多数の丸穴を設けたモータ搭載部を示す底面図である。
図10は、この発明の実施例4に係るファン装置を示す断面図、図11は、ファン装置を示す底面図である。図10および図11に示すように、本実施例4は、上記実施例2に示した構成において、モータ搭載部30の裏面にヒートシンク(放熱部材)70を設けたものである。
また、上述したように、制御IC26が実装された制御基板27は、熱伝導性の良好な支持部材24を介してモータ搭載部30の近傍に配置してある。なお、その他の構成については、上記実施例2の場合と同様であるので、重複説明を省略する。
以上のように、この実施例4に係るファン装置10によれば、上記実施例2の場合と同様の効果を奏するほか、吸気口17からの吸入空気がヒートシンク70に当たり、モータ搭載部30とともに支持部材24が放熱されるので、支持部材24を介して制御基板27の制御IC26を放熱することができる。
また、支持部材24を介して、モータ手段15の構成部材である軸受23やコイル25に対しても放熱を促進することができる。
また、汎用的な放熱部材であるヒートシンク70を用いることにより、モータ手段15の放熱構造を安価に構築することができる。
なお、上記実施例4においては、放熱部材としてヒートシンク70を設けるものとして説明したが、これに限定されず、たとえば、リッド、ヒートスプレッダ等の汎用的な放熱部材を用いてもよい。この場合も、上記実施例4と同様の効果を期待できる。
また、上記実施例1〜4においては、ケーシング20に吸気口16を設けるものとして説明したが、所定の吸入空気量を確保できれば、これに限定されず、たとえば、吸気口17のみであってもよい。
また、上記実施例1〜4においては、制御基板27が固定された支持部材24をモータ搭載部30に固定するものとして説明したが、これに限定されず、支持部材24を介さずに制御基板27を直接、モータ搭載部30に固定してもよい。
また、上記実施例1〜4においては、リブ31を3本設けるものとして説明したが、所定の剛性ないし強度を確保し、吸入空気抵抗の影響を配慮できるのであれば、これに限定されず、リブ31の本数を増減してもよい。
(付記1)ロータ部の周縁部に複数の羽根を有したファンと、
前記ロータ部の内方に同軸状に配置され前記ファンを回転させるモータ手段と、
前記ファンおよび前記モータ手段とを収納し、吸気口を前記ファンの回転軸方向に有するとともに排気口を前記ファンの径方向に有したケーシングと、
を備え、
前記ファンを回転させることにより前記吸気口から吸入した空気を前記排気口に送風するファン装置において、
前記吸気口近傍の前記ケーシングの一部を当該ケーシングの他の外表面部分よりも内方に配置させ、前記モータ手段を搭載するためのモータ搭載部として形成したことを特徴とするファン装置。
(付記2)前記モータ手段は、前記ファンの回転を制御する制御用電子部品と当該制御用電子部品を実装する制御基板とを含み、
前記モータ搭載部は、複数の切り欠き部若しくは貫通穴を備え、前記制御基板の前記制御用電子部品を前記切り欠き部若しくは前記貫通穴の近傍に配置したことを特徴とする付記1に記載のファン装置。
(付記3)前記モータ手段は、前記ファンの回転を制御する制御用電子部品と当該制御用電子部品を実装する制御基板とを含み、
前記モータ搭載部に放熱部材を設けたことを特徴とする付記1に記載のファン装置。
(付記4)前記モータ手段は、支持部材を介して前記モータ搭載部に固定されており、当該支持部材は熱伝導性の高い材料にて形成されていることを特徴とする付記2または3に記載のファン装置。
(付記5)前記ケーシングは、前記制御基板から前記ケーシングの外部に取り出される配線の一部を収納するための溝部を備えたことを特徴とする付記4に記載のファン装置。
(付記6)前記放熱部材は、ヒートシンク、リッド、ヒートスプレッダのうちのいずれか一つであることを特徴とする付記3に記載のファン装置。
以上のように、この発明に係るファン装置は、設計レイアウトの自由度が高く、小型で高性能なファン装置に有用であり、特に、パーソナルコンピュータやサーバ装置に適している。
10 ファン装置
11 ロータ部
11a 天面部
11b 側面部
12 羽根
13 ファン
14 回転軸(モータ手段)
15 モータ手段
16、17 吸気口
18 排気口
20 ケーシング
20a 穴
21 他の外表面部分
22 マグネット(モータ手段)
23 軸受(モータ手段)
24 支持部材(モータ手段)
25 コイル(モータ手段)
26 制御IC(制御用電子部品)
27 制御基板
30 モータ搭載部
31 リブ
40 ケーブル(配線)
41 コネクタ
42 プリント基板
50 溝部
60 スリット(切り欠き部)
62 丸穴(貫通穴)
70 ヒートシンク(放熱部材)
F 空気の流れ

Claims (5)

  1. ロータ部の周縁部に複数の羽根を有したファンと、
    前記ロータ部の内方に同軸状に配置され前記ファンを回転させるモータ手段と、
    前記ファンおよび前記モータ手段とを収納し、吸気口を前記ファンの回転軸方向に有するとともに排気口を前記ファンの径方向に有したケーシングと、
    を備え、
    前記ファンを回転させることにより前記吸気口から吸入した空気を前記排気口に送風するファン装置において、
    前記羽根の外周部で形成される、回転軸を中心とした円の直径を示す羽根の長さよりも前記吸気口の径を短くし、前記吸気口の中心部にあって、前記モータ手段を搭載する前記ケーシングの一部を当該ケーシングの他の外表面部分よりも内方に配置させ、前記モータ手段を搭載するためのモータ搭載部として形成し、前記他の外表面部分から前記モータ搭載部までの当該ケーシングの形状が、前記ファンの回転軸方向の厚さが徐々に小さくなるようなテーパ形状であることを特徴とするファン装置。
  2. 前記モータ手段は、前記ファンの回転を制御する制御用電子部品と当該制御用電子部品を実装する制御基板とを含み、
    前記モータ搭載部は、複数の切り欠き部若しくは貫通穴を備え、前記制御基板の前記制御用電子部品を前記切り欠き部若しくは前記貫通穴の近傍に配置したことを特徴とする請求項1に記載のファン装置。
  3. 前記モータ手段は、前記ファンの回転を制御する制御用電子部品と当該制御用電子部品を実装する制御基板とを含み、
    前記モータ搭載部に放熱部材を設けたことを特徴とする請求項1に記載のファン装置。
  4. 前記モータ手段は、支持部材を介して前記モータ搭載部に固定されており、当該支持部材はアルミニウムまたはアルミニウム合金を含む材料にて形成されている
    ことを特徴とする請求項2または3に記載のファン装置。
  5. 前記ケーシングは、前記制御基板から前記ケーシングの外部に取り出される配線の一部を収納するための溝部を備えたことを特徴とする請求項4に記載のファン装置。
JP2012083223A 2012-03-30 2012-03-30 ファン装置 Expired - Fee Related JP5316665B2 (ja)

Priority Applications (1)

Application Number Priority Date Filing Date Title
JP2012083223A JP5316665B2 (ja) 2012-03-30 2012-03-30 ファン装置

Applications Claiming Priority (1)

Application Number Priority Date Filing Date Title
JP2012083223A JP5316665B2 (ja) 2012-03-30 2012-03-30 ファン装置

Related Parent Applications (1)

Application Number Title Priority Date Filing Date
JP2007539742A Division JPWO2007043119A1 (ja) 2005-09-30 2005-09-30 ファン装置

Publications (2)

Publication Number Publication Date
JP2012127361A true JP2012127361A (ja) 2012-07-05
JP5316665B2 JP5316665B2 (ja) 2013-10-16

Family

ID=46644636

Family Applications (1)

Application Number Title Priority Date Filing Date
JP2012083223A Expired - Fee Related JP5316665B2 (ja) 2012-03-30 2012-03-30 ファン装置

Country Status (1)

Country Link
JP (1) JP5316665B2 (ja)

Cited By (4)

* Cited by examiner, † Cited by third party
Publication number Priority date Publication date Assignee Title
CN103541916A (zh) * 2012-07-09 2014-01-29 建准电机工业股份有限公司 鼓风式散热扇
JPWO2014118952A1 (ja) * 2013-01-31 2017-01-26 三菱電機株式会社 冷凍サイクル装置、及び冷凍サイクル装置の制御方法
JP2017101918A (ja) * 2017-02-01 2017-06-08 三菱電機株式会社 冷凍サイクル装置、及び冷凍サイクル装置の制御方法
CN109765980A (zh) * 2019-03-12 2019-05-17 浙江工业大学之江学院 一种计算机主机箱散热装置

Citations (5)

* Cited by examiner, † Cited by third party
Publication number Priority date Publication date Assignee Title
JP2002112499A (ja) * 2000-09-27 2002-04-12 Matsushita Electric Works Ltd 軸流ファンモータ
JP2003227491A (ja) * 2002-01-31 2003-08-15 Toshiba Corp ファン装置を有する電子機器
JP2004052735A (ja) * 2002-07-24 2004-02-19 Nippon Densan Corp インペラ、ファンモータ及び電子機器、並びにインペラの製造方法
JP2004270463A (ja) * 2003-03-05 2004-09-30 Mitsuba Corp ファン装置
JP2005127319A (ja) * 2003-10-02 2005-05-19 Nippon Densan Corp ファン装置

Patent Citations (5)

* Cited by examiner, † Cited by third party
Publication number Priority date Publication date Assignee Title
JP2002112499A (ja) * 2000-09-27 2002-04-12 Matsushita Electric Works Ltd 軸流ファンモータ
JP2003227491A (ja) * 2002-01-31 2003-08-15 Toshiba Corp ファン装置を有する電子機器
JP2004052735A (ja) * 2002-07-24 2004-02-19 Nippon Densan Corp インペラ、ファンモータ及び電子機器、並びにインペラの製造方法
JP2004270463A (ja) * 2003-03-05 2004-09-30 Mitsuba Corp ファン装置
JP2005127319A (ja) * 2003-10-02 2005-05-19 Nippon Densan Corp ファン装置

Cited By (4)

* Cited by examiner, † Cited by third party
Publication number Priority date Publication date Assignee Title
CN103541916A (zh) * 2012-07-09 2014-01-29 建准电机工业股份有限公司 鼓风式散热扇
JPWO2014118952A1 (ja) * 2013-01-31 2017-01-26 三菱電機株式会社 冷凍サイクル装置、及び冷凍サイクル装置の制御方法
JP2017101918A (ja) * 2017-02-01 2017-06-08 三菱電機株式会社 冷凍サイクル装置、及び冷凍サイクル装置の制御方法
CN109765980A (zh) * 2019-03-12 2019-05-17 浙江工业大学之江学院 一种计算机主机箱散热装置

Also Published As

Publication number Publication date
JP5316665B2 (ja) 2013-10-16

Similar Documents

Publication Publication Date Title
JP4432989B2 (ja) 遠心羽根車、ファン装置及び電子機器
US8157540B2 (en) Fan assembly
US7946804B2 (en) Axial fan unit having reduced noise generation
JP2010138895A (ja) 直列式軸流ファン
US10072672B2 (en) Fan
US20110103957A1 (en) Axial fan
EP2886871A1 (en) Waterproof axial flow fan
JP6575056B2 (ja) 送風ファン
US8579609B2 (en) Fan and inner rotor motor thereof
US20100003131A1 (en) Axial fan
TW201250128A (en) Cooling fan
US20190120237A1 (en) Vacuum pump
JP5316665B2 (ja) ファン装置
JP2009050062A (ja) 自己冷却後面接続駆動原動機組立品
JP5892122B2 (ja) ファン装置及び電子機器
JP5516629B2 (ja) ファン装置
JP2009203837A (ja) 遠心ファン
CN105090068A (zh) 风扇
US20110132582A1 (en) Fan module and heat dissipation device incorporating the same
CN111971878A (zh) 旋转翼装置
JP5392330B2 (ja) 遠心ファン
KR101328203B1 (ko) 모터용 베이스 어셈블리 및 이를 포함하는 팬 모터
CN108475966A (zh) 风扇马达
TW201410129A (zh) 具有風扇的電子裝置
TWI589783B (zh) 散熱風扇及具有該散熱風扇的電子裝置

Legal Events

Date Code Title Description
A621 Written request for application examination

Free format text: JAPANESE INTERMEDIATE CODE: A621

Effective date: 20120427

A977 Report on retrieval

Free format text: JAPANESE INTERMEDIATE CODE: A971007

Effective date: 20130213

A131 Notification of reasons for refusal

Free format text: JAPANESE INTERMEDIATE CODE: A131

Effective date: 20130219

A521 Request for written amendment filed

Free format text: JAPANESE INTERMEDIATE CODE: A523

Effective date: 20130422

TRDD Decision of grant or rejection written
A01 Written decision to grant a patent or to grant a registration (utility model)

Free format text: JAPANESE INTERMEDIATE CODE: A01

Effective date: 20130611

A61 First payment of annual fees (during grant procedure)

Free format text: JAPANESE INTERMEDIATE CODE: A61

Effective date: 20130624

R150 Certificate of patent or registration of utility model

Ref document number: 5316665

Country of ref document: JP

Free format text: JAPANESE INTERMEDIATE CODE: R150

Free format text: JAPANESE INTERMEDIATE CODE: R150

LAPS Cancellation because of no payment of annual fees