JP2012024929A - 印刷装置 - Google Patents
印刷装置 Download PDFInfo
- Publication number
- JP2012024929A JP2012024929A JP2010162536A JP2010162536A JP2012024929A JP 2012024929 A JP2012024929 A JP 2012024929A JP 2010162536 A JP2010162536 A JP 2010162536A JP 2010162536 A JP2010162536 A JP 2010162536A JP 2012024929 A JP2012024929 A JP 2012024929A
- Authority
- JP
- Japan
- Prior art keywords
- roller
- roller body
- engaging
- transport
- metal plate
- Prior art date
- Legal status (The legal status is an assumption and is not a legal conclusion. Google has not performed a legal analysis and makes no representation as to the accuracy of the status listed.)
- Withdrawn
Links
- 238000007639 printing Methods 0.000 title claims abstract description 37
- 229910052751 metal Inorganic materials 0.000 claims abstract description 89
- 239000002184 metal Substances 0.000 claims abstract description 89
- 230000032258 transport Effects 0.000 description 132
- 239000002245 particle Substances 0.000 description 75
- 230000002093 peripheral effect Effects 0.000 description 67
- 238000003825 pressing Methods 0.000 description 57
- PNEYBMLMFCGWSK-UHFFFAOYSA-N aluminium oxide Inorganic materials [O-2].[O-2].[O-2].[Al+3].[Al+3] PNEYBMLMFCGWSK-UHFFFAOYSA-N 0.000 description 46
- 238000000034 method Methods 0.000 description 40
- 229920005989 resin Polymers 0.000 description 39
- 239000011347 resin Substances 0.000 description 39
- 230000007246 mechanism Effects 0.000 description 31
- 230000008569 process Effects 0.000 description 29
- 238000005096 rolling process Methods 0.000 description 26
- 238000012360 testing method Methods 0.000 description 23
- 238000005452 bending Methods 0.000 description 20
- 238000012545 processing Methods 0.000 description 14
- 238000004804 winding Methods 0.000 description 12
- 239000010954 inorganic particle Substances 0.000 description 11
- 238000004519 manufacturing process Methods 0.000 description 11
- 239000000463 material Substances 0.000 description 11
- 238000005498 polishing Methods 0.000 description 11
- 229910000831 Steel Inorganic materials 0.000 description 9
- 239000004519 grease Substances 0.000 description 9
- 239000002609 medium Substances 0.000 description 9
- 239000010959 steel Substances 0.000 description 9
- 239000011248 coating agent Substances 0.000 description 8
- 238000000576 coating method Methods 0.000 description 8
- 238000010422 painting Methods 0.000 description 8
- 238000005507 spraying Methods 0.000 description 8
- 238000005520 cutting process Methods 0.000 description 7
- VYPSYNLAJGMNEJ-UHFFFAOYSA-N Silicium dioxide Chemical compound O=[Si]=O VYPSYNLAJGMNEJ-UHFFFAOYSA-N 0.000 description 6
- 238000010586 diagram Methods 0.000 description 6
- 229910003460 diamond Inorganic materials 0.000 description 6
- 239000010432 diamond Substances 0.000 description 6
- 238000009826 distribution Methods 0.000 description 6
- 230000015572 biosynthetic process Effects 0.000 description 5
- 238000011161 development Methods 0.000 description 3
- 230000018109 developmental process Effects 0.000 description 3
- 230000000694 effects Effects 0.000 description 3
- 230000005611 electricity Effects 0.000 description 3
- 238000009503 electrostatic coating Methods 0.000 description 3
- 230000006870 function Effects 0.000 description 3
- 230000007935 neutral effect Effects 0.000 description 3
- 238000007517 polishing process Methods 0.000 description 3
- 238000004080 punching Methods 0.000 description 3
- 235000012239 silicon dioxide Nutrition 0.000 description 3
- 239000000377 silicon dioxide Substances 0.000 description 3
- 239000007787 solid Substances 0.000 description 3
- 230000003068 static effect Effects 0.000 description 3
- 229910001335 Galvanized steel Inorganic materials 0.000 description 2
- 239000000919 ceramic Substances 0.000 description 2
- 230000008859 change Effects 0.000 description 2
- 239000003822 epoxy resin Substances 0.000 description 2
- 230000002349 favourable effect Effects 0.000 description 2
- 239000010419 fine particle Substances 0.000 description 2
- 239000008397 galvanized steel Substances 0.000 description 2
- 239000010687 lubricating oil Substances 0.000 description 2
- 230000000873 masking effect Effects 0.000 description 2
- 238000012986 modification Methods 0.000 description 2
- 230000004048 modification Effects 0.000 description 2
- TWNQGVIAIRXVLR-UHFFFAOYSA-N oxo(oxoalumanyloxy)alumane Chemical compound O=[Al]O[Al]=O TWNQGVIAIRXVLR-UHFFFAOYSA-N 0.000 description 2
- 229920000647 polyepoxide Polymers 0.000 description 2
- 229920001225 polyester resin Polymers 0.000 description 2
- 239000004645 polyester resin Substances 0.000 description 2
- 230000000750 progressive effect Effects 0.000 description 2
- HBMJWWWQQXIZIP-UHFFFAOYSA-N silicon carbide Chemical compound [Si+]#[C-] HBMJWWWQQXIZIP-UHFFFAOYSA-N 0.000 description 2
- 239000007921 spray Substances 0.000 description 2
- 230000007480 spreading Effects 0.000 description 2
- 238000003892 spreading Methods 0.000 description 2
- 239000010935 stainless steel Substances 0.000 description 2
- 229910001220 stainless steel Inorganic materials 0.000 description 2
- 230000009466 transformation Effects 0.000 description 2
- 229910018072 Al 2 O 3 Inorganic materials 0.000 description 1
- 229910004298 SiO 2 Inorganic materials 0.000 description 1
- 230000009471 action Effects 0.000 description 1
- 230000004323 axial length Effects 0.000 description 1
- 239000011230 binding agent Substances 0.000 description 1
- 238000004140 cleaning Methods 0.000 description 1
- 239000010960 cold rolled steel Substances 0.000 description 1
- 229910052593 corundum Inorganic materials 0.000 description 1
- 230000008878 coupling Effects 0.000 description 1
- 238000010168 coupling process Methods 0.000 description 1
- 238000005859 coupling reaction Methods 0.000 description 1
- 238000007599 discharging Methods 0.000 description 1
- 238000006073 displacement reaction Methods 0.000 description 1
- 238000007610 electrostatic coating method Methods 0.000 description 1
- 230000007613 environmental effect Effects 0.000 description 1
- 238000011156 evaluation Methods 0.000 description 1
- 238000000605 extraction Methods 0.000 description 1
- 238000012840 feeding operation Methods 0.000 description 1
- 238000000227 grinding Methods 0.000 description 1
- 230000002452 interceptive effect Effects 0.000 description 1
- 239000000314 lubricant Substances 0.000 description 1
- 230000013011 mating Effects 0.000 description 1
- 239000000843 powder Substances 0.000 description 1
- 230000002265 prevention Effects 0.000 description 1
- 230000009467 reduction Effects 0.000 description 1
- 238000007665 sagging Methods 0.000 description 1
- 238000000926 separation method Methods 0.000 description 1
- 239000011343 solid material Substances 0.000 description 1
- 238000001179 sorption measurement Methods 0.000 description 1
- 239000000126 substance Substances 0.000 description 1
- 239000006163 transport media Substances 0.000 description 1
- 238000011144 upstream manufacturing Methods 0.000 description 1
- 229910001845 yogo sapphire Inorganic materials 0.000 description 1
Images
Landscapes
- Handling Of Cut Paper (AREA)
- Delivering By Means Of Belts And Rollers (AREA)
- Rolls And Other Rotary Bodies (AREA)
Abstract
【課題】搬送精度の低下を防止することができる印刷装置を提供する。
【解決手段】印刷装置は、金属板の対向する一対の端部62a、62bが近接あるいは当接するように円筒状に形成された継ぎ目80を有し、表面に被搬送媒体を搬送するための高摩擦層50を含む印刷領域が形成された搬送ローラー15と、搬送ローラーの軸方向両端側であって印刷領域から外れた部分を搬送ローラーが周方向に回転するように支持する一対の軸受と、搬送ローラーの軸方向一方の端部側に設けられ当該搬送ローラーを回転駆動する駆動部30と、を備え、継ぎ目を形成する一対の端部には、一対の端部の一部を周方向に互いに係合させる係合部65が形成されており、係合部が、搬送ローラーの軸方向における駆動部側の一方の端部と当該端部に近い一方の軸受との間に形成されていることを特徴とする。
【選択図】図4
【解決手段】印刷装置は、金属板の対向する一対の端部62a、62bが近接あるいは当接するように円筒状に形成された継ぎ目80を有し、表面に被搬送媒体を搬送するための高摩擦層50を含む印刷領域が形成された搬送ローラー15と、搬送ローラーの軸方向両端側であって印刷領域から外れた部分を搬送ローラーが周方向に回転するように支持する一対の軸受と、搬送ローラーの軸方向一方の端部側に設けられ当該搬送ローラーを回転駆動する駆動部30と、を備え、継ぎ目を形成する一対の端部には、一対の端部の一部を周方向に互いに係合させる係合部65が形成されており、係合部が、搬送ローラーの軸方向における駆動部側の一方の端部と当該端部に近い一方の軸受との間に形成されていることを特徴とする。
【選択図】図4
Description
本発明は、印刷装置に関するものである。
従来、シート状の記録媒体上に情報を印刷する印刷装置が用いられており、この印刷装置には記録媒体を搬送する搬送装置が設けられている。この搬送装置は、回転することで記録媒体を搬送する搬送ローラーと、当該搬送ローラーに付勢されて当接された従動ローラーとを有しており、搬送ローラーと従動ローラーとで記録媒体を挟持して搬送するようになっている。搬送ローラーには中実の棒状部材が一般的に使用されている。その一方で、中実の材料は重量およびコストが嵩むという課題がある。ここで、特許文献1には、金属板を曲げ加工して円筒状に成形する技術が記載されている。
特許文献1に記載の円筒軸では、金属板を曲げ加工して円筒状に形成する際に、金属板の端面同士を突き合わせるようにする。このため、円筒軸の全長に亘って金属板の一対の端面間に繋ぎ目が形成される。
しかしながら、上記構成の円筒軸を備えた搬送ローラーを用いる場合、回転駆動時のトルクなどにより繋ぎ目が開くなどの変形が生じるおそれがある。このような変形が生じると、搬送精度が低下する場合がある。
以上のような事情に鑑み、本発明は、搬送精度の低下を防止することができる印刷装置を提供することを目的とする。
本発明の印刷装置は、金属板の対向する一対の端部が近接あるいは当接するように円筒状に形成された継ぎ目を有し、表面に被搬送媒体を搬送するための高摩擦層を含む印刷領域が形成された搬送ローラーと、前記搬送ローラーの軸方向両端側であって前記印刷領域から外れた部分を前記搬送ローラーが周方向に回転するように支持する一対の軸受と、前記搬送ローラーの軸方向一方の端部側に設けられ当該搬送ローラーを回転駆動する駆動部と、を備え、前記継ぎ目を形成する一対の端部には、前記一対の端部の一部を周方向に互いに係合させる係合部が形成されており、前記係合部が、前記搬送ローラーの軸方向における前記駆動部側の一方の前記端部と当該端部に近い一方の前記軸受との間に形成されていることを特徴とする。
これによれば、搬送ローラーの継ぎ目を形成する一対の端部に、これら一対の端部の一部を周方向に互いに係合させる係合部が形成されており、この係合部が搬送ローラーの軸方向における駆動部側の一方の端部とこの端部に近い側の軸受との間に形成されていることとしたので、搬送ローラーに回転トルクが作用したとしても、ねじれが防止されて継ぎ目が開くなどの変形が生じることが防止される。これにより、良好な搬送精度を有する搬送ローラーを得ることができる。
また、係合部は搬送ローラーの一箇所に設ければよいため、軸方向両側にそれぞれ設ける必要がなく、搬送ローラーの軸方向長さを短くすることが可能となる。これにより、装置全体を小型化することができる。
また、係合部は搬送ローラーの一箇所に設ければよいため、軸方向両側にそれぞれ設ける必要がなく、搬送ローラーの軸方向長さを短くすることが可能となる。これにより、装置全体を小型化することができる。
また、前記係合部が、前記継ぎ目を形成する前記金属板の前記一対の端部のうち、一方の前記端部側に形成された係合凹部と、他方の前記端部側に形成され前記係合凹部に係合される係合凸部と、により構成される構成としてもよい。
これによれば、係合部が金属板の一対の端部にそれぞれ形成された上記係合凹部と上記係合凸部とにより構成されており、これらが互いに係合することによって、端部同士を締結することが可能となっている。
また、前記係合部では、前記係合凹部に前記係合凸部が圧入されている構成としてもよい。
これによれば、係合部の係合凹部に係合凸部が圧入されていることから、金属板の一対の端部同士の係合状態を維持することが可能である。
また、前記係合凸部が前記搬送ローラーの正転方向に向かって突出している構成としてもよい。
これによれば、係合凸部が搬送ローラーの正転方向に向かって突出していることから、負荷の大きい搬送ローラーの回転トルクに対するねじれの防止効果が高い。
以下、本発明の実施形態について、図面を参照して説明する。
なお、以下の説明に用いる各図面では、各部材を認識可能な大きさとするため、各部材の縮尺を適宜変更している。
なお、以下の説明に用いる各図面では、各部材を認識可能な大きさとするため、各部材の縮尺を適宜変更している。
図1は、本発明の実施形態に係るインクジェットプリンターの側断面図である。
図2(a)はインクジェットプリンターの搬送ユニットを示す平面図、図2(b)は搬送ユニットの駆動系を示す側面図である。
図2(a)はインクジェットプリンターの搬送ユニットを示す平面図、図2(b)は搬送ユニットの駆動系を示す側面図である。
図1に示すように、インクジェットプリンター(印刷装置)1は、プリンター本体3と、プリンター本体3の後側上部に設けられた給紙部5と、プリンター本体3の前側に設けられた排紙部7と、を備えている。
給紙部5には給紙トレイ11が設けられており、給紙トレイ11には複数枚の記録紙(媒体、記録媒体、搬送媒体)Pが積載されるようになっている。ここで、記録紙Pとしては、普通紙、コート紙、OHP(オーバーヘッドプロジェクタ)用シート、光沢紙、光沢フィルム等が用いられる。以下、記録紙Pの搬送経路において、給紙トレイ11側を上流側、排紙部7側を下流側という。給紙トレイ11の下流側には、給紙ローラー13が設けられている。
給紙ローラー13は、対向する分離パッド(図示せず)との間で給紙トレイ11の最上部に位置する記録紙Pを挟圧し、下流側へ送り出すように構成されている。給紙ローラー13の下流側には、搬送ローラー機構19が設けられている。
搬送ローラー機構19は、下側に配置された搬送ローラー15と、上側に配置された従動ローラー17とを備えている。
搬送ローラー15は、従動ローラー17との間に記録紙Pを挟圧し、図2に示す駆動部30により回転駆動するように設けられている。これにより、搬送ローラー15は、記録紙Pを下流側に配置された記録ヘッド(印刷部)21へ、搬送印刷処理に伴う精密で正確な搬送(紙送り)動作により搬送することができるようになっている。
記録ヘッド21はキャリッジ23に保持されており、キャリッジ23は給紙方向(記録紙Pの搬送方向)と直交する方向に往復移動するよう構成されている。記録ヘッド21による印字処理(印刷処理)は、制御部CONTによって制御されるようになっている。記録ヘッド21と対向する位置には、プラテン24が配設されている。
プラテン24は、キャリッジ23の移動方向に沿って間隔をあけて配置された、複数のダイヤモンドリブ25によって構成されている。
ダイヤモンドリブ25は、記録ヘッド21によって記録紙Pに印刷を行う際に記録紙Pを下側から支持するものであり、頂面が支持面として機能するようになっている。ダイヤモンドリブ25と記録ヘッド21との距離は、記録紙Pの厚さに応じて調節可能になっている。これにより、記録紙Pはダイヤモンドリブ25の頂面上を滑らかに通過することが可能となっている。ダイヤモンドリブ25及び記録ヘッド21の下流側には、排紙ローラー機構29が設けられている。
排紙ローラー機構29は、下側に配置された排紙ローラー27と上側に配置された排紙ギザローラー28とを備え、排紙ローラー27の回転駆動によって記録紙Pを引き出し、排出するようになっている。
ここで、搬送ローラー機構19及び排紙ローラー機構29の駆動部30及び搬送ローラー15、排紙ローラー27の駆動速度の関係について説明する。
ここで、搬送ローラー機構19及び排紙ローラー機構29の駆動部30及び搬送ローラー15、排紙ローラー27の駆動速度の関係について説明する。
プリンター本体3には、図2(a)及び図2(b)に示すように、制御部CONTの制御下で駆動される搬送モーター32が設けられている。この搬送モーター32の駆動軸にはピニオン33が設けられており、ピニオン33には搬送駆動ギア35が歯合しており、搬送駆動ギア35には搬送ローラー15が内挿されて連結されている。
このような構成のもとに搬送モーター32等は、搬送ローラー15を回転駆動する駆動部30となっている。
このような構成のもとに搬送モーター32等は、搬送ローラー15を回転駆動する駆動部30となっている。
また、搬送ローラー15には、その軸方向一方の端部側に搬送駆動ギア35と同軸にインナーギア39が設けられており、このインナーギア39には中間ギア41が歯合しており、中間ギア41には排紙駆動ギア43が歯合している。排紙駆動ギア43の回転軸は、図2(a)に示すように排紙ローラー27の軸体45となっている。
このような構成のもとに、搬送ローラー機構19の搬送ローラー15と排紙ローラー機構29の排紙ローラー27とは、同一の駆動源である搬送モーター32からの回転駆動力を受け、駆動されるようになっている。
なお、排紙ローラー27の回転速度は、各ギアのギア比を調整することにより、搬送ローラー15の回転速度より速くなるように設定されている。したがって、排紙ローラー機構29の排紙速度は、搬送ローラー機構19の搬送速度より増速率だけ速くなっている。
また、搬送ローラー機構19による記録紙Pの挟持力(押圧力)は、排紙ローラー機構29による挟持力(押圧力)よりも大きく設定されている。したがって、搬送ローラー機構19と排紙ローラー機構29とが共に記録紙Pを挟持しているとき、その記録紙搬送速度は、排紙ローラー機構29の排紙速度とは関係なく、搬送ローラー機構19の搬送速度で規定されるようになっている。
次に、搬送ローラー15及びこれを備える搬送ローラー機構19について説明する。
図3(a)は搬送ローラー機構の概略構成を示す図、図3(b)はローラー本体の要部を示す部分拡大図、図3(c)は軸受の概略構成を示す図である。図4は搬送ローラーの構成を示す側面図である。
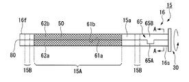
搬送ローラー15は、中空円筒状のローラー本体(円筒軸)16と、ローラー本体16の表面の長手方向(軸方向)の一部に形成された高摩擦層(媒体支持領域)50とを有している。搬送ローラー15の外周面(表面)には、記録紙Pに接触する印刷領域15Aと、軸方向に沿う印刷領域15Aの両側に設けられる一対の支持領域15Bとが設定されており、印刷領域15Aに上記した高摩擦層50が形成されている。
図3(a)は搬送ローラー機構の概略構成を示す図、図3(b)はローラー本体の要部を示す部分拡大図、図3(c)は軸受の概略構成を示す図である。図4は搬送ローラーの構成を示す側面図である。
搬送ローラー15は、中空円筒状のローラー本体(円筒軸)16と、ローラー本体16の表面の長手方向(軸方向)の一部に形成された高摩擦層(媒体支持領域)50とを有している。搬送ローラー15の外周面(表面)には、記録紙Pに接触する印刷領域15Aと、軸方向に沿う印刷領域15Aの両側に設けられる一対の支持領域15Bとが設定されており、印刷領域15Aに上記した高摩擦層50が形成されている。
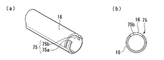
ローラー本体16は、亜鉛メッキ鋼板やステンレス鋼板等の金属板が巻回された鋼板コイルを母材として形成されている。ローラー本体16は、コイルを巻き戻した金属板の一対の端部の各端面が対向するように曲げ加工され、コイルの内周面側であった面が内周面となる円筒状に形成された円筒軸である。すなわち、ローラー本体16を形成する金属板は、コイルによる巻きぐせが円筒の内周面側に反るように残った状態で円筒状に形成されている。
また、ローラー本体16は、曲げ加工されて突き合わされた金属板の一対の端面61a,61b間に形成された継ぎ目80を有している。ローラー本体16は、周方向(曲げ方向)とコイルの巻回方向(金属板の圧延方向)とが同一となっており、継ぎ目80はローラー本体16の軸方向と略平行に形成されている。
搬送ローラー15は、図3(a)及び図4(a)に示すように、その両端(第1端部16f及び第2端部16s)がプラテン24(図1参照)に一体成形された軸受26A,26Bに回転可能に保持されている。図3(b)に示すように、軸受26A,26Bは、上方に開口するU字形に形成され、このU字形部位に搬送ローラー15を嵌め込むことで、搬送ローラー15を前後側及び下側の3方向から軸支する。そして、軸受26A,26Bと搬送ローラー15との接触面(搬送ローラー15の外周面)には、グリス等の潤滑油(潤滑剤)Gが供給(塗布)される。また、搬送ローラー15の一端又は両端には、インナーギア39や搬送駆動ギア35が回転不能に係合し連結するための連結部(図示せず)が形成されている。搬送ローラー15には、種々の部品に連結するため、種々の形態の連結部が形成可能になっている。
ここで、本実施形態の搬送ローラー15の構成について詳述する。
図3(a)及び図3(c)に示すように、搬送ローラー15を構成するローラー本体16(搬送ローラー15)は、継ぎ目80を形成する一対の端部62a,62bに、これら一対の端部62a,62bの一部を周方向に互いに係合させる係合部65が形成されている。係合部65は、ローラー本体16の軸方向における駆動部30側の第2端部16sに形成されている(図4)。
図3(a)及び図3(c)に示すように、搬送ローラー15を構成するローラー本体16(搬送ローラー15)は、継ぎ目80を形成する一対の端部62a,62bに、これら一対の端部62a,62bの一部を周方向に互いに係合させる係合部65が形成されている。係合部65は、ローラー本体16の軸方向における駆動部30側の第2端部16sに形成されている(図4)。
具体的には、高摩擦層50が形成される領域(印刷領域15A)及び軸受26A,26Bによって支持される領域(支持領域15B,15B)を避けた位置であって、ローラー本体16の軸方向一方の第2端部16s側に設けられたインナーギア39(図3(a))と、このインナーギア39に近い方の軸受26B(図3(a))との間に位置するように形成されており、なるべく駆動部30に近い位置に形成されることが望ましい。係合部65を印刷領域15Aに設けてしまうと画像の乱れや搬送精度の低下に繋がる。また、軸受26A,26B(図3(a))が配置される部分に設けてしまうと軸受26A,26Bの磨耗が激しくなるなど、不具合が生じるおそれがあるからである。
係合部65は、継ぎ目80を形成する金属板の一対の端部62a,62bのうち、一方の端部62a側に形成された係合凹部65Aと、他方の端部62b側に形成され係合凹部65Aに係合される係合凸部65Bとにより鉤形に構成されている。係合凸部65Bは、搬送ローラー15の正転方向に向かって突出しており、係合凹部65Aに圧入された状態で係合している。このような係合部65を上述したように駆動部30に近い側に設けることで、回転トルクに対する強度が増すこととなり搬送ローラー15のねじれを防止し得る構成となっている。
高摩擦層50は、図3(a)及び図4(a)に示すようにローラー本体16の軸方向両端部を除く中央部に選択的に形成されている。高摩擦層50の表面には、無機粒子の鋭く尖った部分が露出した状態で固定され、高い摩擦力を発揮するようになっている。
高摩擦層50は、ローラー本体16の表面の所定領域に樹脂粒子を10μm〜30μm程度の均一な膜厚で選択的に塗布して樹脂膜を形成し、その樹脂膜の上に無機粒子を均一に散布した後、焼成することにより形成されている。樹脂粒子としては、エポキシ系樹脂やポリエステル系樹脂等からなる、直径10〜20μm程度の微粒子が好適に用いられる。また、無機粒子としては、破砕処理によって所定の粒径分布に調整された酸化アルミニウム(アルミナ;Al2O3)や炭化珪素(SiC)、二酸化珪素(SiO2)等のセラミックス粒子が好適に用いられる。
従動ローラー17は、複数(例えば6個)のローラー17aが同軸に配列されて構成されたもので、搬送ローラー15の高摩擦層50に対向しかつ当接する位置に配置されたものである。これらローラー17aからなる従動ローラー17には、付勢バネ(図示せず)が取り付けられており、これによって従動ローラー17は、搬送ローラー15側に付勢されている。
したがって、従動ローラー17は、搬送ローラー15の高摩擦層50に所定の押圧力(記録紙Pに対する挟持力)で接し、搬送ローラー15の回転動作に従動して回転するようになっている。また、搬送ローラー15と従動ローラー17との間で記録紙Pを挟持する力が大きくなり、記録紙Pの搬送性がより良好になっている。
なお、この従動ローラー17の各ローラー17aの表面には、高摩擦層50との摺接による損傷を緩和するため、フッ素樹脂塗装等の低摩耗処理が施されている。
以上の搬送ローラー15、軸受26A,26B、駆動部30及び従動ローラー17等により、インクジェットプリンター1の搬送部20が構成されている。搬送部20は、上述のように高い搬送精度が得られる搬送ローラー15を一対の軸受26A,26Bにより支持して回転させ、高摩擦層50により記録紙Pを支持して高精度に搬送することができる。
次に、インクジェットプリンター1の動作について、図1、図2を参照して説明する。
インクジェットプリンター1は、給紙トレイ11の最上部に位置する記録紙Pを給紙ローラー13によって挟圧して下流側へ送り出す。送り出された記録紙Pは搬送ローラー機構19に至る。搬送ローラー機構19は、記録紙Pを搬送ローラー15と従動ローラー17との間で挟圧し、搬送ローラー15の回転駆動による紙送り動作で記録ヘッド21の下方に向けて定速で搬送する。記録ヘッド21の下方に搬送された記録紙Pは、ダイヤモンドリブ25の頂面上を滑らかに通過しつつ、記録ヘッド21によって高品質に印刷される。記録ヘッド21で印刷された記録紙Pは、排紙部7の排紙ローラー27によって順次排出される。
排紙ローラー機構29の搬送速度は搬送ローラー機構19の搬送速度より速く設定されているため、記録紙Pはバックテンションが掛かった状態で搬送される。ただし、搬送ローラー機構19と排紙ローラー機構29とが共に記録紙Pを挟持しているときには、その記録紙搬送速度は搬送ローラー機構19の搬送速度で規定されている。したがって、このように排紙ローラー機構29と搬送ローラー機構19とによって排紙と搬送とを同時に行う際にも、その記録紙の搬送速度は搬送ローラー機構19の搬送速度で規定されている。そのため、搬送ムラのない正確で安定した紙送り(搬送)がなされるようになる。
ここで、搬送ローラー15の高摩擦層50において記録紙Pを支持して搬送する際には、ローラー本体16にトルクが作用する。すると、ローラー本体16を形成する金属板の一対の端面61a,61bの継ぎ目80(図4参照)が開く方向に応力が作用する。ローラー本体16の継ぎ目80が開くと、記録紙Pに対して搬送ローラー15が均一に接しなくなり、搬送ムラが発生する。
しかし、本実施形態では、搬送ローラー15のローラー本体16においてその継ぎ目80の一部分がかぎ型となっており、上述したように、ローラー本体16の継ぎ目80を形成する金属板の端部62a,62bに係合部65が形成されている。これにより、ローラー本体16に回転トルクが作用しても端面61a,61bの継ぎ目80が開く方向に応力が作用するのを防止することができる。
また、係合部65は、継ぎ目80を形成する一方の端部62bに正転方向(記録紙Pを繰り出す方向)へ突出するようにして形成された係合凸部65Bが、他方の端部62aの周方向で対向する位置に形成された係合凹部65Aに圧入された状態で嵌合されている。このため、駆動部30からの最大トルクに耐えることができ、搬送ローラー15のねじれが防止されて継ぎ目80が開くなどの変形が生じるのを効果的に防止することができる。
また、本実施形態では、搬送ローラー15の一方の端部(第2端部16s)側に1つの係合部65が形成されている。搬送ローラー15の両方の端部に設けた場合、両方の第1端部16f,16Bが固定されているため、連続駆動等により搬送ローラー15に作用する軸回りの回転トルクが大きくなると搬送ローラー15に作用するねじれが大きくなり、ねじれによる大きなエネルギーが蓄積されてしまう。こうなると、トルクが作用しない状態になっても元に戻ることなく変形してしまう。これは、搬送ローラー15の軸方向で複数設けた場合も同様である。
これに対し、本実施形態のように駆動部30に近い側に係合部65を1箇所だけ設けることで、駆動部30とは反対側の端部(16A)側の継ぎ目80部分において端部62a,62b(端面61a,61b)どうしが軸方向にずれるなどして応力を逃がすことが可能となる。そのため、このときの変形は搬送ローラー15の回転が停止した後の回転トルクがかかっていない状態において元に戻るものであり、搬送ローラー15にねじれ変形が残ることはない。
また、係合部65は軸受分や印字領域を避けた領域に形成する必要があるので、両端に係合部65をそれぞれ設ける場合は、搬送ローラー15の軸方向での小型化は困難である。本実施形態では、搬送ローラー15の一端側に係合部65を一端側にのみ設けた構成としてあるので搬送ローラー15を短くすることができ、装置全体の小型化を実現することができる。
また、係合部65は、係合凹部65Aに係合凸部65Bを圧入させているため、継ぎ目80の長さが係合部65のない従来の構成に比べて長くなる。このため、係合部65を複数設けてしまうと搬送ローラー15が軸方向に反りやすくなってしまう。このような搬送ローラー15の軸方向への反りを防ぐためにも係合部65の数は少ない方が適している。
また、本実施形態では、搬送ローラー15のローラー本体16は、鋼板コイルによる巻きぐせが残った金属板により形成され、コイルの内周側であった面が内周面となる円筒状に形成されている。鋼板コイルによる金属板の巻きぐせは、鋼板コイルの内周面であった面が凹面となるような反りである。すなわち、ローラー本体16を形成する金属板には、ローラー本体16の内周面側に反るような巻きぐせが残っている。
そのため、少なくともローラー本体16の継ぎ目80を開く方向には巻きぐせが作用しなくなる。したがって、ローラー本体16の外周面側に反るような巻きぐせが残っている場合と比較して、ローラー本体16の継ぎ目80を開き難くすることができる。すなわち、本実施形態によれば、ローラー本体16の継ぎ目80を開く方向に応力が作用した場合であっても、継ぎ目80が開くことを防止することができ、高い搬送精度が得られる搬送ローラー15を提供することができる。
また、ローラー本体16の周方向(曲げ方向)と鋼板コイルの巻回方向(金属板の圧延方向)とが同一となっている。そのため、ローラー本体16を形成する金属板の曲げ方向と巻きぐせによる反りの方向とを一致させることができる。これにより、ローラー本体16を形成する金属板の巻きぐせが、ローラー本体16の継ぎ目80を閉じる方向に作用する。したがって、ローラー本体16の継ぎ目80の開きをより効果的に防止することができる。
また、ローラー本体16に中空の円筒軸を採用することで、中実軸を用いる場合と比較して重量を大幅に減少させることができる。また、ローラー本体16に中実軸を用いる場合と比較して材料の切削性に対する要求が低くなる。したがって、ローラー本体16の材料として鉛等の有害物質を含まない材料を用いることが可能になり、環境負荷を低減することができる。
また、搬送ローラー15には高摩擦層50が形成されており、従動ローラー17がこの高摩擦層50に当接する位置に配置されている。そのため、これら搬送ローラー15と従動ローラー17との間で記録紙Pを挟持する力が大きくなり、記録紙Pの搬送性がより良好になっている。このように、本実施形態のインクジェットプリンター1は、搬送部20によって記録紙Pを高精度に搬送することができ、記録紙Pに高い印刷精度で印刷処理を行うことできる。
次に、搬送ローラーのねじれ評価について述べる。
図5(a)は試験用ローラーを示す側面図、図5(b)は試験用ローラーのねじれ測定方法を示す図であり、図5(c)は、搬送ローラーに回転トルクをかけたときの、トルクの大きさとねじれ角度との関係を示したグラフである。
なお、図5(a)において、本実施形態に相当する試験用ローラー101のグラフを(1)で示し、比較用の試験用ローラー102のグラフを(2)で示す。
図5(a)は試験用ローラーを示す側面図、図5(b)は試験用ローラーのねじれ測定方法を示す図であり、図5(c)は、搬送ローラーに回転トルクをかけたときの、トルクの大きさとねじれ角度との関係を示したグラフである。
なお、図5(a)において、本実施形態に相当する試験用ローラー101のグラフを(1)で示し、比較用の試験用ローラー102のグラフを(2)で示す。
試験には直径8mmの試験用ローラー101、試験用ローラー102を用いた。
試験用ローラー101は本実施形態の搬送ローラーと同様の構成であって、係合部65が一箇所のみに設けられている。
試験用ローラー102は比較対象として用意したローラーであって、係合部65,65が両端側に設けられている。
試験用ローラー101は本実施形態の搬送ローラーと同様の構成であって、係合部65が一箇所のみに設けられている。
試験用ローラー102は比較対象として用意したローラーであって、係合部65,65が両端側に設けられている。
これら試験用ローラー101,102を治具103にそれぞれ取り付けて一端側から回転トルクを与える試験を行った。試験用ローラー101,102は、各ローラー101,102の軸方向両端側が治具103の一対の軸受104A,104Bに保持されるようになっており、このうち、各ローラー101,102に対して駆動力(回転トルク)が付与される側とは軸方向反対側の端部101a,102aが上記軸受104Aに対して回転不能に固定されるようになっている。
図5(c)に示すように、各試験用ローラー101,102に負荷した回転トルクとそのときのねじれ角度との関係を見てみると、回転トルクが460gf・cmまでは各ローラー101,102ともねじれが生じていない。しかしながら、回転トルクが460gf・cmを超えると、2箇所の係合部65,65を有する試験用ローラー102のねじれ角度が序所に大きくなっていき、回転トルクが690gf・cmになるとねじれ角度が約1°程度になる。
一方、係合部65を一箇所有する試験用ローラー101においては、回転トルクが460gf・cmを超えても試験用ローラー102ほど急激にねじれが生じることはなく、ねじれが生じる度合いは僅かである。
ここで、試験用ローラー101に係る印字中の回転トルクは200gf・cmであり、試験用ローラー102に係る印字中の回転トルクは642gf・cmである。
上述したように、試験用ローラー102にねじれが生じるのは460gf・cm以上であることから、印字中にかかる回転トルクによって試験用ローラー102には試験用ローラー101に比べて大きなねじれが生じてしまうことが分かる。
上述したように、試験用ローラー102にねじれが生じるのは460gf・cm以上であることから、印字中にかかる回転トルクによって試験用ローラー102には試験用ローラー101に比べて大きなねじれが生じてしまうことが分かる。
従って、上述した本実施形態の搬送ローラー15によれば、継ぎ目80を構成する一対の端部62a,62bに、これら端部62a,62bの一部を周方向に互いに係合させる係合部65が形成されており、この係合部65が搬送ローラー15の軸方向における駆動部30側の一方の端部16sとこの端部16sに近い側の軸受26Bとの間に形成された構成とされているので、搬送ローラー15に回転トルクが作用したとしても、ねじれが防止されて継ぎ目80が開くなどの変形が生じることが防止される。これにより良好な搬送精度を有する搬送ローラー15を提供することができる。
また、係合部65は搬送ローラー15の一箇所に設ければよいため、軸方向両端側にそれぞれ設ける必要がなく、搬送ローラー15の軸方向長さを短くすることが可能となる。これにより装置全体の小型化を実現できる。
また、係合部65は、継ぎ目80を形成する金属板の一対の端部62a,62bのうち、一方の端部62a側に形成された係合凹部65Aと、他方の端部62b側に形成され係合凹部65Aに係合される係合凸部65Bと、により構成されている。鉤形に形成された係合凹部65Aと係合凸部65Bとが互いに係合することによって、端部62a,62bどうしを締結することが可能となっている。なお、本実施形態では、係合凹部65Aに係合凸部65Bが圧入されているため、端部62a,62bどうしの係合状態が確実に維持されるようになっている。
さらに、係合凸部65Bが搬送ローラー15の正転方向に向かって突出しているので、搬送ローラー15に対して負荷の大きい回転トルクが作用したとしても、このトルクに対する搬送ローラー15のねじれ変形を防止する効果が高くなる。
次に、搬送ローラー15の製造装置について説明する。
図6は、本実施形態の搬送ローラーの製造装置の模式図である。
図6に示すように、製造装置100は、アンコイラー110と、レベラー120と、第1プレス機130と、第2プレス機140とが、一方向に配置された構成となっている。
また、製造装置100は、コイルCから巻き戻された金属板Mを一方向に送る不図示の搬送部と、加工された円筒軸を金属板Mから切り離す不図示の切断部とを備えている。
アンコイラー110は、金属板Mが圧延方向に巻回された円筒状のコイル(鋼板コイル)Cを軸回りに回転可能に支持し、コイルCを巻き戻すためのものである。
図6は、本実施形態の搬送ローラーの製造装置の模式図である。
図6に示すように、製造装置100は、アンコイラー110と、レベラー120と、第1プレス機130と、第2プレス機140とが、一方向に配置された構成となっている。
また、製造装置100は、コイルCから巻き戻された金属板Mを一方向に送る不図示の搬送部と、加工された円筒軸を金属板Mから切り離す不図示の切断部とを備えている。
アンコイラー110は、金属板Mが圧延方向に巻回された円筒状のコイル(鋼板コイル)Cを軸回りに回転可能に支持し、コイルCを巻き戻すためのものである。
レベラー120は、上下に交互に配置された複数のワークロール121を備え、これら上下のワークロール121の間に金属板Mを通すことで、金属板Mを平坦化するように構成されている。本実施形態のレベラー120は、金属板MのコイルCによる巻きぐせ(反り)を完全には除去せず、第1プレス機130による加工が可能な程度に巻きぐせを調整するようになっている。
第1プレス機130は雄型(パンチ)131と雌型(ダイ)132とを備え、プレスにより金属板Mを所定の形状に抜き加工するように構成されている。
第2プレス機140は、一方向に配置された複数の雌型(曲げダイ)141,143及び雄型(曲げパンチ)142,144、並びに、上型145及び下型146を備え、プレスにより金属板Mを曲げ加工をするように構成されている。そして、不図示の搬送部により金属板Mを一方向に間欠的に送りながら、順次、異なる型により曲げ加工を行うこと(順送)で、金属板Mを徐々に円筒に近づけるように構成されている。
第2プレス機140は、一方向に配置された複数の雌型(曲げダイ)141,143及び雄型(曲げパンチ)142,144、並びに、上型145及び下型146を備え、プレスにより金属板Mを曲げ加工をするように構成されている。そして、不図示の搬送部により金属板Mを一方向に間欠的に送りながら、順次、異なる型により曲げ加工を行うこと(順送)で、金属板Mを徐々に円筒に近づけるように構成されている。
次に、搬送ローラー15の製造方法について説明する。
まず、板厚が0.8mm〜1.2mm程度の冷間圧延鋼板や電気亜鉛めっき鋼板等の金属板Mが圧延方向に巻回されたコイルCを用意する。そして、製造装置100のアンコイラー110によってコイルCを支持し、コイルCを軸回りに回転させて金属板Mを巻き戻す。コイルCから巻き戻された金属板Mは、コイルCの内周側の面C1が凹面、外周面側の面C2が凸面となる側面視で円弧状の巻きぐせが残った状態になっている。巻き戻された金属板Mは不図示の搬送部によって一方向(圧延方向)に搬送され、レベラー120に到達する。
まず、板厚が0.8mm〜1.2mm程度の冷間圧延鋼板や電気亜鉛めっき鋼板等の金属板Mが圧延方向に巻回されたコイルCを用意する。そして、製造装置100のアンコイラー110によってコイルCを支持し、コイルCを軸回りに回転させて金属板Mを巻き戻す。コイルCから巻き戻された金属板Mは、コイルCの内周側の面C1が凹面、外周面側の面C2が凸面となる側面視で円弧状の巻きぐせが残った状態になっている。巻き戻された金属板Mは不図示の搬送部によって一方向(圧延方向)に搬送され、レベラー120に到達する。
レベラー120に到達した金属板Mは、上下に配置された複数のワークロール121によって平坦化され、巻きぐせが調整される。これにより、金属板Mは第1プレス機130による加工が可能な程度まで平坦化されるが、コイルCの内周側の面C1が凹面となる巻きぐせは、ある程度残されている。レベラー120によって平坦化された金属板Mは、不図示の搬送部によって一方向に搬送され、第1プレス機130に到達する。
第1プレス機130に到達した金属板Mは、雄型131と雌型132を用いたプレスにより抜き加工される。この抜き加工では、図7(a),図7(b)に示すような抜き加工によって型抜きされた金属板Mを母材として形成される。この際、平板部60の長辺60b,60bに係合凹部65Aと係合凸部65Bとをそれぞれ形成する。
図8は、第1プレス機によって抜き加工された金属板Mの平面図である。
図8に示すように、金属板Mには、抜き加工により、搬送方向(圧延方向)に連続する枠部66と、搬送方向と交差する方向に延びる帯状の平板部60と、枠部66と平板部60とを連結する連結部67とが形成される。本実施形態では、平板部60は略長方形であり、短辺60aが圧延方向に平行で長辺60bが圧延方向と直交するように型抜きされている。上述したように長辺60b,60b側には、係合凹部65Aと係合凸部65Bとが形成されている。金属板Mを不図示の搬送部によって間欠的に搬送しながら繰り返しプレスを行うことで、平板部60と連結部67は金属板Mの搬送方向に等間隔に複数形成される。
図8に示すように、金属板Mには、抜き加工により、搬送方向(圧延方向)に連続する枠部66と、搬送方向と交差する方向に延びる帯状の平板部60と、枠部66と平板部60とを連結する連結部67とが形成される。本実施形態では、平板部60は略長方形であり、短辺60aが圧延方向に平行で長辺60bが圧延方向と直交するように型抜きされている。上述したように長辺60b,60b側には、係合凹部65Aと係合凸部65Bとが形成されている。金属板Mを不図示の搬送部によって間欠的に搬送しながら繰り返しプレスを行うことで、平板部60と連結部67は金属板Mの搬送方向に等間隔に複数形成される。
第1プレス機130によって抜き加工された金属板Mは、不図示の搬送部によって搬送され、図6示す第2プレス機140に到達する。
そして、ローラー本体16の母材である金属板Mは、図7(b)に示す上面C2が外周面となる円筒状に曲げ加工される。
図9(a)〜図9(c)、図10(a)〜図10(c)は、第2プレス機による曲げ工程を示す側面図である。
第2プレス機140に到達した金属板Mの平板部60は、プレスによって図8に示す短辺60aに平行な方向(圧延方向)に曲げ加工される。すなわち、平板部60の両側の長辺60b,60bに沿う一対の端面を近接させるように曲げ加工する。そして、図9(a)〜図9(c)、図10(a)〜図10(c)に示すように、これら一対の端面を対向させて突き合わせるように円筒状に形成する。
第2プレス機140に到達した金属板Mの平板部60は、プレスによって図8に示す短辺60aに平行な方向(圧延方向)に曲げ加工される。すなわち、平板部60の両側の長辺60b,60bに沿う一対の端面を近接させるように曲げ加工する。そして、図9(a)〜図9(c)、図10(a)〜図10(c)に示すように、これら一対の端面を対向させて突き合わせるように円筒状に形成する。
具体的には、まず、図9(a)に示す雌型(曲げダイ)141と雄型(曲げパンチ)142とで金属板Mの平板部60をプレスし、平板部60の両端部62a,62bを円弧状(望ましくは略1/4円弧)に曲げる。なお、図9(a)においては、各部材を分かりやすくするため、平板部60と雌型141と雄型142との間にそれぞれ間隔を開けてこれらの部材を記しているが、この間隔は実際には存在せず、平板部60と雌型141、雄型142とはそれぞれの接触部においてほぼ密着している。これは、後述する図9(b)、図9(c)、図10(a)〜図10c)においても同様である。
ここで、雄型142は、図6に示すコイルCにおいて内周側であった面C1(図9において平板部60の下側の面)に対向するように配置されている。また、雌型141は、図6に示すコイルCにおいて外周側であった面C2(図9において平板部60の上側の面)に対向するように配置されている。これにより、平板部60の両端部62a,62bはコイルCの内周面であった面C1側に曲げ加工される。
次に、金属板Mを一方向に送った後、図9(b)に示す第2の雌型(曲げダイ)143と第2の雄型(曲げパンチ)144とで、平板部60の短辺方向(曲げ方向)における中央部をプレスする。そして、図6に示すコイルCにおいて内周側であった面C1側に、平板部60を円弧状(望ましくは略1/4円弧)に曲げる。
次に、金属板Mを一方向に送った後、図9(c)に示すように、平板部60の内側に芯型147を配置する。そして、図9(c)に示す上型145と下型146とを用いて、図10(a)〜図10(c)に示すように、平板部60の両端部62a,62bの各端面61a,61bを近接させる。
ここで、図9(c)および図10(a)〜図10(c)に示す芯型147の外径は、形成する中空円筒状のローラー本体16の内径と等しくしてある。また、図9(c)に示すように、下型146のプレス面146cの半径と上型145のプレス面145aの半径は、それぞれ、研磨しろを考慮したローラー本体16の外径の半径と等しくしてある。また、図10(a)〜図10(c)に示すように下型146は左右一対の割型であり、これら割型146a,146bは、それぞれ独立して昇降可能に構成されている。
すなわち、図9(c)に示す状態から、図10(a)に示すように左側の割型146aを上型145に近接させ、平板部60の一方の側をプレス加工し、略半円形状に曲げる。なお、上型145も下型146と同様左右一対の割型とし(割面145b参照)、この図10(a)に示す工程の際に、同じ側の上型を割型146aに近接させてもよい。
次いで、図10(b)に示すように、芯型147を少し(一方の側の端面61aと他方の側の端面61bとを近接させることができる程度に)上型145側へ移動させるとともに、他方の側の割型146bを上型145に近接させ、平板部60の他方の側をプレス加工し、略半円形状に曲げる。
その後、図10(c)に示すように、芯型147および一対の割型146a,146bを共に上型145に近接させ、円筒状のローラー本体(中空パイプ)16を形成する。この状態で、左右両側の端面61a,61bは互いに対向して突き合わされた状態となる。すなわち、この円筒状のローラー本体16にあっては、基材である金属板Mの平板部60の両側の端面61a,61bが互いに近接して、これらの端面61a,61b間に継ぎ目が形成されている。ここで、図6に示すコイルCの内周側であった面C1はローラー本体16の内周面となり、コイルCの外周側の面であったC2はローラー本体16の外周面となっている。このように、平板部60を芯型147に巻きつけるようにローラー本体16を形成する。
図11は、図9(a)〜図9(c)、図10(a)〜図10(c)に示す工程を経て平板部60が段階的に円筒状に形成された金属板Mを示す平面図である。
図8に示すように型抜きされた金属板Mは、図6に示す第2プレス機140に到達し、一方向に間欠的に送られながら、図9(a)〜図9(c)、図10(a)〜図10(c)に示す工程により平板部60がプレスにより順次曲げ加工される(順送プレス)。そのため、第2プレス機140に到達した平板部60は、図11に示すように、金属板Mの搬送方向の前方ほど円筒に近くなっていく。平板部60が円筒状に形成された後は、不図示の切断部により連結部67が切断されて中空円筒状のローラー本体16となる。
図8に示すように型抜きされた金属板Mは、図6に示す第2プレス機140に到達し、一方向に間欠的に送られながら、図9(a)〜図9(c)、図10(a)〜図10(c)に示す工程により平板部60がプレスにより順次曲げ加工される(順送プレス)。そのため、第2プレス機140に到達した平板部60は、図11に示すように、金属板Mの搬送方向の前方ほど円筒に近くなっていく。平板部60が円筒状に形成された後は、不図示の切断部により連結部67が切断されて中空円筒状のローラー本体16となる。
本実施形態では、金属板Mの一対の端面61a,61b(図8)を突き合わせて継ぎ目80(図10(c)等参照)を有するローラー本体16を形成する際に、係合凹部65Aと係合凸部65Bとを圧入させるようにして端面61a,61b同士を当接させ、鉤形の継ぎ目80を形成している。
これにより、回転駆動時のトルクなどにより継ぎ目80が開くなどの変形が生じるのを防止できる。また、係合凸部65Bが搬送ローラー15の正転方向に向かって突出していることから、負荷の大きい搬送ローラー15の回転トルクに対するねじれの防止効果が高い。
これにより、回転駆動時のトルクなどにより継ぎ目80が開くなどの変形が生じるのを防止できる。また、係合凸部65Bが搬送ローラー15の正転方向に向かって突出していることから、負荷の大きい搬送ローラー15の回転トルクに対するねじれの防止効果が高い。
また、抜き工程において図7(b)に示すように型抜きされた金属板Mに、ダレsd、せん断面sp、破断面bs、バリ(図示略)が形成された場合でも、比較的滑らかなダレsdが形成された上面C2を、ローラー本体16の外周側にすることが好ましい。言い換えれば、バリや破断面bsに連続する金属板Mの下面C1をローラー本体16の内周側にすることが好ましい。
これにより、金属板Mの一対の端面61a,61bを突き合わせて継ぎ目80(図10(c)等参照)を有するローラー本体16を形成する際に、バリや破断面bsの凹凸が障害となって継ぎ目80が開くことを防止できる。
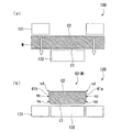
次に、本実施形態では、形成されたローラー本体16に残留する応力を調整する工程(応力調整工程)を行う。この応力調整工程では、ローラー本体16の外周面16aのうち少なくとも高摩擦層50が形成される所定部分に押圧力を加える。本実施形態では、ローラー本体16の外周面16aのほぼ全面に対して押圧力を加える場合を例に挙げて説明する。応力調整工程では、以下の3つの工程のうち少なくとも1つを用いて、ローラー本体16に対して押圧力を加えることができる。
(1)ロールレベラー工程
ロールレベラー工程では、複数の押圧ローラーが用いられる。ここでは、図12(a)に示すように、2つの押圧ローラーR1及びR2を用いた場合を例に挙げて説明する。押圧ローラーR1は、外周面が凸状に形成されている。また、押圧ローラーR2は、外周面が凹状に形成されている。
ロールレベラー工程では、複数の押圧ローラーが用いられる。ここでは、図12(a)に示すように、2つの押圧ローラーR1及びR2を用いた場合を例に挙げて説明する。押圧ローラーR1は、外周面が凸状に形成されている。また、押圧ローラーR2は、外周面が凹状に形成されている。
まず、この押圧ローラーR1及びR2により、ローラー本体16を挟持する。ローラー本体16を挟持した後、当該2つの押圧ローラーR1及びR2によってローラー本体16を押圧しつつ、押圧ローラーR1及びR2を回転させる。この状態で、ローラー本体16と押圧ローラーR1及びR2とを、当該ローラー本体16の中心軸の方向に相対的に移動させる。
、押圧ローラーR1及びR2の位置を固定させておき、ローラー本体16が押圧ローラーR1と押圧ローラーR2との間を通過させる。これにより、ローラー本体16には、第1端部16fから第2端部16sへと順に押圧力が加えられることになる。この押圧力により、ローラー本体16に残留する応力が調整されることになる。
(2)転造工程
次に、転造工程を行う場合を説明する。
転造工程は、2つの転造ローラー201,202を用いた所謂スルーフィード転造(歩み転造、通し転造とも呼ばれている)加工である。
次に、転造工程を行う場合を説明する。
転造工程は、2つの転造ローラー201,202を用いた所謂スルーフィード転造(歩み転造、通し転造とも呼ばれている)加工である。
具体的には、図12(b)に示すように、ローラー本体16を挟むように配置された二つの転造ローラー201,202をローラー本体16に対して所定の圧力で押し付けた状態とする。この状態で、二つの転造ローラー201,202を同方向に回転させる。スルーフィード転造においては、転造ローラー201,202が回転することにより、ローラー本体16が転造ローラー201,202の回転方向とは逆方向に回転しながら、軸方向Hに移動する。
転造ローラー201,202の表面には、高摩擦層50を形成するために、螺旋状の凹部201a,202aが形成されており、凹部201a,202aがローラー本体16の表面を変形させることにより、ローラー本体16の表面には、格子状の凹凸部203が形成される。
このように、ローラー本体16の第1端部16fから第2端部16sへと順に凹凸部203が形成されていく。当該凹凸部203が形成されることにより、ローラー本体16に残留する応力が調整されることになる。なお、当該凹凸部203の深さ(凹凸の段差)については、5μm〜50μmの範囲で適宜設定することができる。
なお、転造工程では、転造ローラー201、202の軸方向の寸法と、ローラー本体16の軸方向の寸法とを等しくすることにより、ローラー本体16の全体に押圧力が加えられることになる。この場合であっても、ローラー本体16に残留する応力が調整されることになる。
(3)回転押圧工程
次に、回転押圧工程を行う場合を説明する。
回転押圧工程は、ローラー本体16に押圧部材を押圧した状態で当該ローラー本体16を回転させ、押圧部材とローラー本体16とを当該ローラー本体16の中心軸方向に相対的に移動させる工程である。
次に、回転押圧工程を行う場合を説明する。
回転押圧工程は、ローラー本体16に押圧部材を押圧した状態で当該ローラー本体16を回転させ、押圧部材とローラー本体16とを当該ローラー本体16の中心軸方向に相対的に移動させる工程である。
回転押圧工程としては、図12(c)に示すようにローラー本体16を移動させる例が挙げられる。この場合、テーブルTBL上に押圧部材R3、R4を固定させておく。押圧部材R3と押圧部材R4との距離は、ローラー本体16の径よりもやや小さくなるように設定しておく。
この状態で、ローラー本体16を回転させつつ、押圧部材R3と押圧部材R4との間にローラー本体16を通過させる。押圧部材R3及び押圧部材R4は、ローラー本体16に対して挟みつけるように押圧する。このため、ローラー本体16の第1端部16fから第2端部16sへと押圧力が加えられることになる。この押圧力により、ローラー本体16に残留する応力が調整される。
また、回転押圧工程として、図12(d)に示すように、ローラー本体16を移動させずに押圧部材R5を移動させる例が挙げられる。この場合、ローラー本体16の位置を固定したまま中心軸を中心として回転させる。この状態で、押圧部材R5をローラー本体16に押し当て、押圧部材R5をローラー本体16の中心軸に沿って移動させる。
このため、ローラー本体16の第1端部16fから第2端部16sへと押圧力が加えられることになる。この押圧力により、ローラー本体16に残留する応力が調整される。なお、押圧部材R5の先端(ローラー本体16に当接する部分)は、ローラー状に形成されていることが好ましい。
なお、上記の(1)〜(3)の各工程を行う場合に、ローラー本体16の内部に芯部材(不図示)を挿入した状態で当該ローラー本体16に押圧力を加えるようにしても構わない。これにより、ローラー本体16が押圧力によって変形してしまうのを回避することができる。
次いで、本実施形態では、形成したローラー本体16の真円度を高め、振れを少なくするべく、センターレス研磨加工を行う。この研磨工程では、図13(c)に示すように、円柱状(又は円筒状)に形成された砥石部材GDを用いてローラー本体16の外周面16aを研磨する。研磨工程では、ローラー本体16の表面から所定の深さ(30μm〜80μm程度の厚さ。以下、「研磨深さ」と表記)の部分が研磨されることになる。
ローラー本体16の外径よりも小さい間隔を空けて配置された2つの砥石部材GDの間に当該ローラー本体16を配置させ、ローラー本体16が2つの砥石部材GDの外周部分に接した状態とする。その後、2つの砥石部材GDを同じ方向に回転させる。この2つの砥石部材GDの回転により、各砥石部材GDとローラー本体16との間に摩擦力が発生する。
なお、2つの砥石部材GDとしては、ローラー本体16の長手方向の全体を一度に研磨できるように、長手方向(円柱の高さ方向)の寸法がローラー本体16よりも大きくなるように形成されたものを用いることが好ましい。また、砥石部材GDの回転時には、ローラー本体16の長手方向におけるマージンを確保するため、長手方向の全体が2つの砥石部材GDに接触するように、砥石部材GDの長手方向の中央部にローラー本体16を配置することが好ましい。
砥石部材GDの回転によって発生した摩擦力により、ローラー本体16が当該砥石部材GDの回転方向とは反対方向に回転しつつ、当該ローラー本体16の外周面16aが研磨されることになる。このため、ローラー本体16の外周面16aのほぼ全面が満遍なく研磨され、研磨工程前に比べてローラー本体16の真円度がより良好になる。
なお、応力調整工程において転造工程を行っている場合、ローラー本体16の外周面16aに形成される凹凸部203が研磨によって除去される。これを踏まえて、転造工程を行う際に、ローラー本体16のうち高摩擦層50が形成される部分については、研磨工程での研磨深さよりも深くなるように凹凸部203を形成しておく。また、高摩擦層50が形成されない部分については当該研磨深さよりも浅くなるように凹凸部203を形成しておく。
この状態で研磨工程を行うと、ローラー本体16のうち高摩擦層50が形成される部分は凹凸部203の一部分が残った状態となる。また、ローラー本体16のうち高摩擦層50が形成されない部分は、凹凸部203が除去された状態となる。したがって、高摩擦層50を形成する工程においては、当該凹凸部203を用いることができるため、製造効率が高まることになる。
研磨工程を行った後、真円度が高く、かつ、振れ量の小さいローラー本体16が得られる。なお、このローラー本体16にあっては、前記の両端面61a、61b間がより狭まることで、図13(a)に示すようにこれら両端面61a、61b間の隙間がより狭くされた継ぎ目80が形成される。
なお、上記プレス加工や研磨工程では、平板部60の両端面61a、61b間の隙間が無くなるように、すなわち、両端面61a、61bが互いに当接するようにするのが好ましい。しかしながら、得られるローラー本体16の真円度や振れ量を良好にしつつ、この隙間を完全に無くすのは困難であり、現状ではある程度の隙間が形成されるようになる。
この継ぎ目80は、前記平板部60の外周面と内周面とが同じ寸法(幅)であることにより、図13(b)に示すように、一対の端面61a、61b間の距離が、ローラー本体16の外周面16a側で相対的に広く、内周面16b側で相対的に狭くなっている。
このようにして本発明に係る円筒軸となるローラー本体16を形成したら、このローラー本体16の表面に図3及び図4に示すような高摩擦層50を形成する。
この高摩擦層50の形成方法としては、乾式法及び湿式法(またはこれらを併用した方法)が採用可能であるが、本実施形態では乾式法が好適に採用される。具体的には、まず、高摩擦層50の形成材料として、樹脂粒子と無機粒子とを用意する。樹脂粒子としては、エポキシ系樹脂やポリエステル系樹脂等からなる、直径10μm程度の微粒子が好適に用いられる。
また、無機粒子としては、酸化アルミニウム(アルミナ;Al2O3)や炭化珪素(SiC)、二酸化珪素(SiO2)等のセラミックス粒子が好適に用いられる。中でもアルミナは、比較的硬度が高く摩擦抵抗を高める機能が良好に発揮され、また、比較的安価であってコストダウンを妨げることもないため、より好適に用いられる。したがって、本実施形態では無機粒子としてアルミナ粒子を用いるものとする。
このアルミナ粒子としては、破砕処理によって所定の粒径分布に調整されたものが用いられる。破砕処理によって製造されることにより、このアルミナ粒子は端部が比較的鋭く尖ったものとなり、この鋭く尖った端部によって高い摩擦力を発揮するようになる。
また、このアルミナ粒子としては、本実施形態では粒径が15μm以上90μm以下の範囲とされ、かつ、中心径となる加重平均の粒径(平均粒径)が、45μmとなるように調整されたものが用いられている。
すなわち、本発明では、アルミナ粒子(無機粒子)としてその平均粒径(中心径)が、前述の継ぎ目80の外周面側での距離d1(30μm)より大となるものが用いられる。
また、特にその粒径分布(粒度範囲)については、継ぎ目80の外周面側での距離d1より小となり、かつ、内周面側での距離d2(10μm)より大となる粒子を含んでいるのが好ましい。さらに、その粒径分布における最小粒径が、継ぎ目80における一対の端部62a、62b間の最短距離、内周面側での距離d2より大であるのが好ましい。
また、特にその粒径分布(粒度範囲)については、継ぎ目80の外周面側での距離d1より小となり、かつ、内周面側での距離d2(10μm)より大となる粒子を含んでいるのが好ましい。さらに、その粒径分布における最小粒径が、継ぎ目80における一対の端部62a、62b間の最短距離、内周面側での距離d2より大であるのが好ましい。
このような樹脂粒子と無機粒子とを用意したら、まず、ローラー本体16に前述の樹脂粒子を塗布する。すなわち、ローラー本体16を塗装ブース(図示せず)内に配置し、さらにこのローラー本体16を単体の状態で(マイナス)電位にしておく。
そして、樹脂粒子を、静電塗装装置(図示せず)のトリボガンを用いてローラー本体16に向けて噴霧(噴出)し吹き付けつつ、この噴霧粒子(樹脂粒子)を+(プラス)高電位に帯電させる。すると、この帯電された樹脂粒子はローラー本体16の外周面に吸着され、樹脂膜を形成する。
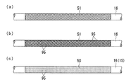
ここで、樹脂粒子の吹付による樹脂膜の形成は、図3及び図4に示した高摩擦層50の形成領域に対応させる。すなわち、ローラー本体16の全長に亘って行うことなく、その両端部をテープ等でマスキングしておくことにより、図14(a)に示すようにこの両端部を除いた中央部のみに行う。つまり、このローラー本体16からなる搬送ローラー15の、少なくとも搬送する記録紙(媒体)Pに接触する領域となる中央部に対応する領域にのみ、選択的に樹脂膜51を形成する。なお、図14(a)及び後述する図14(b)、(c)では、継ぎ目80については図示を省略している。
樹脂膜51には、吹付塗装後に+0.5KV程度の微弱な静電気が残存する。なお、この吹付塗装に際しては、ローラー本体16を軸廻りに回転させることにより、その全周に亘って樹脂膜51をほぼ均一な厚さに形成する。この樹脂膜51の膜厚については、前述のアルミナ粒子の粉径を勘案して、10μm〜30μm程度に形成する。このような膜厚については、樹脂粒子の噴出量及び噴出時間等によって適宜に調整することができる。
次いで、この樹脂膜51を形成したローラー本体16を前述の塗装ブースから取り出し、ハンドリングロボット(図示せず)によって図15に示す別の塗装ブース90に移す。
この塗装ブース90には、その下部に一対の回転駆動部材91、91が設けられており、これら回転駆動部材91、91には、ローラー本体16を略水平に支持するためのチャック92が設けられている。
この塗装ブース90には、その下部に一対の回転駆動部材91、91が設けられており、これら回転駆動部材91、91には、ローラー本体16を略水平に支持するためのチャック92が設けられている。
そして、ローラー本体16の両端部をチャック92、92に保持させて固定し、さらに回転駆動部材91によってチャック92、92を回転させる。これにより、ローラー本体16をその軸廻りに、100rpm〜500rpm程度の低速でゆっくり回転駆動させる。なお、ローラー本体16については、若干斜めに支持してもよいのはもちろんである。
また、塗装ブース90には、その上部にコロナガン93が配置されており、このコロナガン93は、シャフト94上を図15中左右方向に移動するようになっている。また、塗装ブース90の底部には排気機構90aが設けられている。これにより、塗装ブース90内には下方に向かうゆっくりとした気流が形成されるようになっている。なお、この排気機構90aの吸引風量は適宜に設定されるようになっている。
このような構成のもとに、ローラー本体16をその軸廻りに回転させつつ、コロナガン93から前述のアルミナ粒子95を噴霧し吹き付けることにより、ローラー本体16に形成した樹脂膜51上に、アルミナ粒子95を選択的に静電吸着させる。アルミナ粒子を樹脂膜51上に選択的に静電吸着させるには、樹脂膜51の形成と同様に、ローラー本体16の両端部をテープ等でマスキングしておくことで行う。
この静電塗装時には、チャック92及び回転駆動部材91の表面電位が、ローラー本体16の電位とほぼ等しくなり、しかも塗装ブース90の内面電位が、電気的に中立で略零電位となるように設定する。コロナガン93からのアルミナ粒子95が、ローラー本体16以外の部位に吸着されないようにするためである。この塗装ブース90の内表面電位を電気的に中立に保持するためには、塗装ブース90を、内表面電気抵抗が1011Ω程度の鋼板を用いて製造するのが望ましい。
そして、コロナガン93にかける電位を零Vとし、さらにこのコロナガン93に供給するエアーの圧力を0.2Mpa程度に低く設定する。次いで、このコロナガン93を図14中の左右方向に移動させつつ、上方より略零電位のアルミナ粒子95を吹き出させ、アルミナ粒子95を自重で鉛直方向に自然落下させる。
すると、前述したように、ローラー本体16の樹脂膜51には、静電塗装によって形成されたことで微弱な静電気(約+0.5KV)が残存しているため、この静電気によってアルミナ粒子95が樹脂膜51の全周にほぼ均一に静電吸着する。このようにして静電吸着したアルミナ粒子95は、樹脂膜51表面に当接しさらに一部入り込んだ状態で、この樹脂膜51をバインダとしてローラー本体16の外周面に付着する。
ここで、本実施形態では塗装ブース90の内面電位が電気的に中立で略零電位となっており、しかも塗装ブース90内の気流が下向きにゆっくりとした流れに形成されているので、アルミナ粒子95はその自重によって鉛直方向下方に自然落下する。落下方向の下方には、水平支持されたローラー本体16がその軸廻りにゆっくり回転しているので、このローラー本体16の外周面には、アルミナ粒子95がほぼ均一に散布される。
したがって、特にマスキングされていない樹脂膜51の表面にアルミナ粒子95が均一に付着し、これによってローラー本体16には、図14(b)に示すようにその中央部の樹脂膜51中に、アルミナ粒子(無機粒子)95が分散し露出する。すなわち、アルミナ粒子95は、静電吸着力によって樹脂膜51に当接した際、この樹脂膜51中に一部が入り込み、残部が樹脂膜51の表面から突き出た状態になる。その際、アルミナ粒子95はローラー本体16の表面に対して垂直に立った状態になり易いため、アルミナ粒子95は均一に分布され、その殆どが鋭く尖った端部(頂部)を外側に向けて付着する。
したがって、アルミナ粒子95は樹脂膜51の表面から突き出た端部により、高い摩擦力を発揮するようになる。ここで、アルミナ粒子95が記録紙Pに対して必要かつ十分な摩擦力を発揮するには、樹脂膜51の面積に対して、アルミナ粒子95の占める面積が20%〜80%となるようにするのが好ましい。
なお、このアルミナ粒子95の塗布(散布)については、アルミナ粒子95が鉛直方向下方にゆっくりと散布されるのであれば、静電塗装法による塗布に限定されるものではなく、スプレーガンを用いた塗布(散布)法であってもよい。
このようにしてアルミナ粒子95を樹脂膜51上に散布し付着させたら、このローラー本体16を180℃〜300℃程度の温度で20分〜30分間程度加熱し、樹脂膜51を焼成し硬化させる。これにより、アルミナ粒子95をローラー本体16に固着する。こうして、図14(c)に示すように樹脂膜51中にアルミナ粒子(無機粒子)95が分散し露出してなる高摩擦層50が形成され、本発明に係る搬送ローラー15が得られる。
なお、本実施形態では、樹脂粒子の塗布(吹付)とアルミナ粒子(無機粒子)の塗布(吹付)とを別々の塗装ブースで実施したが、同一の塗装ブース内で行ってもよいのはもちろんである。
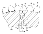
このようにして高摩擦層50を形成すると、特に継ぎ目80には、平板部60の端面61a、61b間の隙間に起因する溝が形成されることなく、端面61a、61b間の隙間が主にアルミナ粒子95によって埋め込まれる。
すなわち、アルミナ粒子95としてその平均粒径が、継ぎ目80の、外周面側での距離d1より大となるものを用いているので、アルミナ粒子95はその大半が継ぎ目80内に入り込むことなく、図16に示すようにローラー本体16の外周面上に樹脂膜51を介して付着している。したがって、継ぎ目80には平板部60の端面61a、61b間に隙間が形成されているにもかかわらず、アルミナ粒子95がこの隙間上を覆うことにより、この隙間に起因する溝が実質的に形成されなくなる。
また、アルミナ粒子95として、継ぎ目80の外周面側での距離d1(30μm)より小となり、かつ、内周面側での距離d2(10μm)より大となる粒子95aを含む粒径分布(粒度範囲)のものを用いているので、このような粒子95aが継ぎ目80に形成された隙間に入り込んでここに留まることにより、継ぎ目80による溝が確実に形成されなくなる。
また、使用時等において、ローラー本体16(搬送ローラー15)に隙間を狭める方向に力が働いても、ここに入り込んだアルミナ粒子95aがこの力に抗するため、ローラー本体16(搬送ローラー15)の変形が抑えられる。したがって、この搬送ローラー15を備えた搬送ローラー機構19にあっては、搬送ローラー15の変形に起因する搬送ムラが防止される。
さらに、アルミナ粒子95として、その粒径分布における最小粒径が、継ぎ目80における一対の端面61a、61b間の最短距離、つまり内周面側での距離d2より大であるものを用いているので、ローラー本体16の表面にアルミナ粒子95を配して高摩擦層50を形成した際、継ぎ目80に形成された隙間を通り抜けてローラー本体16内にアルミナ粒子95が入り込むことが無い。したがって、その後、ローラー本体16内を清浄化するなどの処理が軽減され、その分、生産性を向上することができる。
以上の工程を経て、図16に示すように樹脂膜中にアルミナ粒子が分散し露出してなる高摩擦層50が形成され、本実施形態の搬送ローラー15が得られる。
以上の工程を経て、図16に示すように樹脂膜中にアルミナ粒子が分散し露出してなる高摩擦層50が形成され、本実施形態の搬送ローラー15が得られる。
以上のように、本実施形態では、金属板Mを抜き加工する際に平板部60の短辺方向両側に係合凹部65Aと係合凸部65Bとを形成し、ローラー本体16を曲げ加工によって形成する際に係合凹部65Aと係合凸部65Bとを圧入させるようにして端面61a,61b同士を当接させ、鉤形の継ぎ目80を形成している。これにより、継ぎ目80が開くような変形が防止され、高い搬送精度を長期的に維持することが可能となる。
また、ローラー本体16を曲げ加工によって形成した後において、ローラー本体16の外周面16aのうち少なくとも高摩擦層50が形成される所定部分(印刷領域15A)に押圧力を加え、ローラー本体16に残留する応力を調整することとしたので、少なくとも当該所定部分において残留応力が均一化される。このため、当該所定部分におけるローラー本体16の形状変化を抑制することができる。これにより、安定した形状の搬送ローラー15を製造することができる。
また、本実施形態によれば、応力調整工程において、ローラー本体16の外周面16aの全面に対して押圧力を加えることとしたので、ローラー本体16の全面における残留応力が均一に調整されることになる。これにより、搬送ローラー15全体の形状を安定化させることができる。
また、応力調整工程においては、ローラー本体16の第1端部16fから第2端部16sに向けて順に押圧力を加えることとしたので、必ずしも大掛かりな装置を用いることなく当該工程を行うことができる。また、応力調整工程において、ローラー本体16の内部に芯部材を挿入した状態で押圧力を加える場合には、ローラー本体16の変形を抑制することができる。
本発明の技術範囲は上記実施形態に限定されるものではなく、本発明の趣旨を逸脱しない範囲で適宜変更を加えることができる。
また、上記実施形態においては、ローラー本体16は、亜鉛メッキ鋼板やステンレス鋼板等の金属板が巻回された鋼板コイルを母材として形成されている構成としたが、これに限られることは無い。平板状の金属板を母材とし、当該平板金属板から上記平板部60とほぼ同形同寸法の金属板を形成して、当該金属板を加工することでローラー本体16を形成しても構わない。したがって、上記説明あるいは以下の記載において、平板部60を当該金属板に置き換えた場合であっても適用可能である。
また、ローラー本体16に形成された継ぎ目80の一部には、図17(a)に示すように、開口170が設けてもよい。
ローラー本体16に形成される継ぎ目80は、図17(b)に示すように、一対の端面61a,61bの内周側が密着し、外周側が離間した溝状になっている。或いは、継ぎ目80は、一対の端面61a,61b同士が当接することなく、端面61a,61bが僅かに離間して、隙間として形成される場合もある。そして、この継ぎ目80が搬送ローラー15の全長に亘って形成されるので、軸受26A,26Bに供給したグリスLが搬送ローラー15の表面に付着すると、グリスLは継ぎ目80を毛細管現象により伝わり流れるようになる。特に、搬送ローラー15の強度を向上させるため、継ぎ目80(端面61a,61bの最大距離d1)を小さくする程、グリスLの毛細管現象が強くなって、グリスLが継ぎ目80に沿って流れやすくなる。
ローラー本体16に形成される継ぎ目80は、図17(b)に示すように、一対の端面61a,61bの内周側が密着し、外周側が離間した溝状になっている。或いは、継ぎ目80は、一対の端面61a,61b同士が当接することなく、端面61a,61bが僅かに離間して、隙間として形成される場合もある。そして、この継ぎ目80が搬送ローラー15の全長に亘って形成されるので、軸受26A,26Bに供給したグリスLが搬送ローラー15の表面に付着すると、グリスLは継ぎ目80を毛細管現象により伝わり流れるようになる。特に、搬送ローラー15の強度を向上させるため、継ぎ目80(端面61a,61bの最大距離d1)を小さくする程、グリスLの毛細管現象が強くなって、グリスLが継ぎ目80に沿って流れやすくなる。
そこで、図17(c)に示すように、ローラー本体16に形成された継ぎ目80の一部には、開口170が設けられている。この開口170は、図17(c)に示すように、継ぎ目80を形成する一対の端面61a、61bにそれぞれ設けられた切欠部176,177により形成される。端面61a、61bを突き合わせたときに、切欠部176,177の間の最大距離d2が1mm程度以上となるように設定され、開口170として機能する。
開口170は、搬送ローラー15(ローラー本体16)の全長に亘って形成された継ぎ目80のうち、高摩擦層50が形成された領域(印刷領域15A)と軸受26A,26Bに支持される領域(支持領域15B,15B)を除く領域に設けられる。つまり、高摩擦層50は搬送ローラー15のほぼ中央部に形成され、搬送ローラー15の両端側が軸受26A,26Bに支持されるので、搬送ローラー15には少なくとも2つの開口170が設けられる。
開口170は、軸受26A,26Bに供給(塗布)されたグリスL(潤滑油)が継ぎ目80(端面61a、61bの隙間)に沿って高摩擦層50まで達することを防止する目的で設けられる。すなわち、継ぎ目80の一部に開口170を設けることで、グリスLの毛細管現象を止めている。具体的には、継ぎ目80のうち、軸受26A,26Bに支持される領域(支持領域15B,15B)と高摩擦層50が形成された領域(印刷領域15A)の間に開口170を設けることで、グリスLが高摩擦層50に達することを防止している。そして、開口170の大きさ(一対の切欠部176,177間の最大距離d2)を調整することで、グリスLの毛細管現象を確実に止めることができる。
なお、継ぎ目80を形成する一対の端面61a、61bのそれぞれに、開口170を形成するための切欠部176,177を形成する場合に限らない。つまり、図17(d)に示すように、継ぎ目80を形成する一対の端面61a、61bの一方(端面61a)にのみに切欠部178を形成して、切欠部178と端面61bとにより開口170が形成される場合であってもよい。また、開口170の形状としては、矩形に限らず、円形等であってよい。
また、ローラー本体16に形成される継ぎ目80の形状を、図18(a)に示すような形状にしてもよい。すなわち、継ぎ目80は、第1端面274と第2端面275とが、ローラー本体271の外周面271a側で互いに接している。第1端面274と第2端面275との間の隙間は、径方向外側から内側に向かうに従い漸次幅広となっている。
また、第1端面274と外周面271aとで形成される第1角度α、及び第2端面275と外周面271aとで形成される第2角度βは、いずれも90°より小さく形成されている。
継ぎ目80の第1端面274及び第2端面275は外周面271a側で互いに接しており、接続部276において外周面271a側の平滑度が向上している。そのため、搬送ローラー15が回転してもその外周面は記録紙Pと安定して接触することができる。このため、記録紙Pを高い精度で搬送することができる。
継ぎ目80の形状は、図18(b)に示すように、継ぎ目80の第1端面274と外周面271aとで形成される第1角度αは、90°より小さく形成され、第2端面275と外周面271aとで形成される第2角度βは、90°以上の大きさで形成してもよい。すなわち、接続部276における第1端面274及び第2端面275が、周方向に関して所定の方向に傾いた形状としてもよい。
なお、継ぎ目80の形状は、以下の工程を経て形成される。すなわち、順送プレス加工における打ち抜き加工によって金属板270を形成した後に、金属板270の第1端面274及び第2端面275に対して、端面調整加工を実施し、第1端面274及び第2端面275の、外周面271aに対する傾きを調整する。
図18(c)に示すように、プレス加工によって第1端面274及び第2端面275の外周面271aに対する傾きを調整する。この調整により、第1端面274と外周面271aとで形成される第1角度α、及び第2端面275と外周面271aとで形成される第2角度βは、いずれも90°より小さくなる。
したがって、金属板270を曲げ加工して円筒状のローラー本体271を成形したときに、第1端面274と第2端面275とは少なくとも外周面271a側で互いに接することになる。
また、ローラー本体16(搬送ローラー15)の両端部には、前述したようにその一方あるいは両方に、図2に示した搬送駆動ギア35やインナーギア39など、種々の連結部品に連結するための係合部が形成されている。図19(a)、(b)に示すように、円筒状のパイプ(中空パイプ)からなるローラー本体16の相対向する位置、すなわちローラー本体16の直径を規定する二点の形成面に、それぞれ貫通孔71a、71aを形成し、これら一対の貫通孔71a、71aを含んでなる係合孔(係合部)71を形成することができる。この係合孔71によれば、歯車等の連結部品72を軸やピン等(図示せず)によって固定することができる。
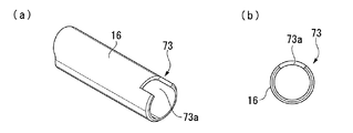
また、図20(a)、(b)に示すように、ローラー本体16の端部にDカット状の係合部73を形成することもできる。この係合部73は、円筒状の中空パイプ(ローラー本体16)の端部に形成されたもので、図19(a)に示すようにその一部が平面視矩形状に切り欠かれた開口73aを有し、これによって図20(b)に示すように端部側面の外形が見掛け上D状に形成されたものである。
したがって、歯車等の連結部品(図示せず)を、この見掛け上D状に形成された係合部73に係合させることにより、該連結部品をローラー本体16(搬送ローラー15)に対し空回りさせることなく、取り付けることができる。また、この係合部73については、中空パイプ(ローラー本体16)の内部孔に通じる溝状の開口73aが形成されていることから、この開口73aを利用することによっても、連結部品をローラー本体16に対し空回りさせることなく取り付けることができる。具体的には、連結部品に凸部を形成しておき、この凸部を開口73aに嵌合させることにより、空回りを防止することができる。
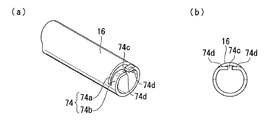
また、図21(a)、(b)に示すように、ローラー本体16の端部に溝74aとDカット部74bとを有した係合部74を形成することもできる。この係合部74において、Dカット部74bはローラー本体16の外端に形成されており、溝74aはDカット部74bより内側に形成されている。溝74aは、図21(a)に示すように、ローラー本体16がその周方向に略半分切り欠かれて形成されたものである。Dカット部74bは、溝74aの外側において該溝74aと直交する方向に延在する開口74cを有し、この開口74cの両側に、一対の折曲片74d、74dを有したものである。すなわち、図21(b)に示すようにこれら一対の折曲片74d、74dがローラー本体16の中心軸側に折曲させられたことにより、これら折曲片74d、74dに対応する部分が、ローラー本体16の円形の外周面から凹んだ状態となっている。
したがって、歯車等の連結部品(図示せず)を、溝74aに係合させまたはDカット部74bに係合させることにより、該連結部品をローラー本体16(搬送ローラー15)に対し空回りさせることなく、取り付けることができる。また、この係合部74では、折曲片74d間に形成された開口74cを利用することによっても、連結部品をローラー本体16に対し空回りさせることなく取り付けることができる。具体的には、連結部品に凸部を形成しておき、この凸部を開口74cに嵌合させることにより、空回りを防止することができる。
また、図22(a)、(b)に示すように、ローラー本体16の端部に溝75aと開口75bとを有した係合部75を形成することもできる。この係合部75において、開口75bはローラー本体16の外端に形成されており、溝75aは開口75bより内側に形成されている。溝75aは、図22(a)に示すように、ローラー本体16がその周方向に略半分切り欠かれて形成されたものである。開口75bは、溝75aの外側においてローラー本体16の一部が平面視矩形状に切り欠かれ、これによって図22(b)に示すように端部側面の外形が見掛け上D状に形成されたものである。
したがって、歯車等の連結部品(図示せず)を、溝75aに係合させまたは開口75bによって形成された見掛け上D状に形成された部位に係合させることにより、該連結部品をローラー本体16(搬送ローラー15)に対し空回りさせることなく、取り付けることができる。また、この係合部75でも、図20(a)、(b)に示した係合部73と同様に、開口75bを利用することによって、連結部品をローラー本体16に対し空回りさせることなく取り付けることができる。
このような係合孔71や係合部73、74、75を形成するには、平板部60をプレス加工して得られたローラー本体16に対して、さらに切削加工等を施すことで行うこともできる。しかし、その場合には、ローラー本体16に対して係合部の形成だけのために別途加工工程を追加することで、コストや時間についての効率が低下してしまう。そこで、本発明の製造方法では、第2プレス工程でローラー本体16にプレス加工する前に、第1プレス工程のプレス加工によって係合部となる展開係合部を平板部60に形成しておき、その後、第2プレス工程でこの平板部60をプレス加工してローラー本体16とする際に、係合部も同時に形成する。
具体的には、コイル状に巻かれた金属板Mを細長い略矩形板状の平板部60に抜き加工する際、この大型の金属板Mから小型の平板部60への加工と同時に、得られる平板部60の端部に、切欠状、突片状、孔状、あるいは溝状等の展開係合部を形成する。
、図23(a)に示すように平板部60の端部の所定位置に一対の貫通孔71a、71aを加工し、これらを展開係合部76aとしておくことにより、この平板部60をプレス加工することで一対の貫通孔71a、71aを対向させ、図19(a)、(b)に示した係合孔71を形成することができる。
また、図23(b)に示すように、平板部60の端部を所定形状に切り欠いて一対の切欠部73b、73bからなる展開係合部73cとしておくことにより、この平板部60をプレス加工することで図20(a)、(b)に示した係合部73を形成することができる。
さらに、図23(c)に示すように、平板部60の端部を所定形状に切り欠いて展開係合部76bとしておくことにより、この平板部60をプレス加工することで図21(a)、(b)に示した係合部74を形成することができる。すなわち、展開係合部76bとして、一対の切欠部(凹部)74e、74eと一対の突片74f、74fとを形成しておくことにより、係合部74を形成することができる。ただし、この例では、平板部60をプレス加工した後、一対の突片74f、74fを内側に折り曲げ加工して折曲片74dとする必要があるため、加工工程についてのコストや時間の効率化を十分に高めるにはやや不十分である。
そこで、図23(d)に示すように、平板部60の端部を所定形状に切り欠いて展開係合部76cとしておくことにより、この平板部60をプレス加工することで図22(a)、(b)に示した係合部75を形成することができる。すなわち、展開係合部76cとして、一対の切欠部(凹部)75c、75cと一対の突片75d、75dとを形成しておくことにより、係合部75を形成することができる。この例では、平板部60をプレス加工した際に一対の突片75d、75dも円弧状に曲げることにより、これら突片75d、75d間に図22(b)に示した開口75bを形成することができる。したがって、プレス加工によって形成したローラー本体16に対し、さらに加工を追加する必要がなく、これにより加工工程についてのコストや時間の効率化を十分に高めることができる。
ここで、図23(b)〜(d)に示した例では、図20、図21、図22に示した係合部73、74、75が継ぎ目80を挟んで形成されるよう、平板部60の両端部に展開係合部73c、76b、76cを形成している。このように、展開係合部73c、76b、76cを両端部に形成することにより、形成するローラー本体16の継ぎ目80を、このローラー本体16の長さより短くすることができる。したがって、継ぎ目80の形成の際に端面61a、61bが部分的に当接し干渉することなどによる、ローラー本体16の変形を抑えることが可能になる。
ただし、本発明はこれに限定されることなく、図24(a)〜(c)に示すように、展開係合部を平板部60の両端部に形成することなく、その幅方向(曲げ方向)における中心線の近傍に形成することもできる。すなわち、図24(a)に示すように端部に細長い矩形状の切欠からなる展開係合部76dを形成することで、図20に示した係合部73を形成することができる。また、図24(b)に示すようなT字状の切欠からなる展開係合部76eを形成することで、図21に示した係合部74を形成することができ、さらに、図24(c)に示すような略T字状の切欠からなる展開係合部76fを形成することで、図22に示した係合部75を形成することができる。
このように展開係合部76d〜76fを曲げ方向における中心線の近傍に形成すれば、これら展開係合部76d〜76fから得られる係合部73〜75を、より精度良く形成することができる。
以上説明したように本実施形態の搬送ローラー15の製造方法では、大型金属板(第2金属板)Mからプレス加工によって小型の金属板(第1金属板)60を形成する際に、係合凹部65Aと係合凸部65Bを同時に形成し、曲げ加工する際にこれら係合凹部65Aと係合凸部65Bを圧入させて鉤形の継ぎ目80を形成することにより、回転駆動時のトルクなどにより継ぎ目80が開くなどの変形が生じるのを防止することができるので、高い搬送精度が得られる搬送ローラー15を提供することができる。
また、型抜きされた金属板Mに、ダレsd、せん断面sp、破断面bs、バリ(図示略)が形成された場合でも、バリや破断面bsに連続する金属板Mの下面C1をローラー本体16の内周側にすることで、ローラー本体16の外周面から突出することを防止でき、バリ取り工程を省略して生産性を向上させることができる。
また、プレス加工によって小型の金属板(第1金属板)60を形成する際に、展開係合部も同時に形成し、さらに、展開係合部から係合部71、73、74、75を形成するようにしたので、ローラー本体16を形成した後、係合部の形成だけのために別途加工工程を追加する必要がなくなる。したがって、追加する加工工程にかかるコストや時間が不要になることで、搬送ローラー15自体の十分なコストダウンが可能になり、生産性も向上する。特に、大型金属板を小型化する際に展開係合部を一括して形成するので、工程を一層簡略化することができる。
以上、添付図面を参照しながら本発明に係る好適な実施形態について説明したが、本発明は係る例に限定されないことは言うまでもない。当業者であれば、特許請求の範囲に記載された技術的思想の範疇内において、各種の変更例または修正例に想到し得ることは明らかであり、それらについても当然に本発明の技術的範囲に属するものと了解される。
H 軸方向、M,270 金属板、15 搬送ローラー、15A 印刷領域、17a,101 ローラー、26A,26B,104A 軸受、30 駆動部、50 高摩擦層、62a,62b,101a 端部、65,71,73,74,75 係合部、65A 係合凹部、65B 係合凸部、80 継ぎ目、C1,C2 面、201a 凹部
Claims (4)
- 金属板の対向する一対の端部が近接あるいは当接するように円筒状に形成された継ぎ目を有し、表面に被搬送媒体を搬送するための高摩擦層を含む印刷領域が形成された搬送ローラーと、
前記搬送ローラーの軸方向両端側であって前記印刷領域から外れた部分を前記搬送ローラーが周方向に回転するように支持する一対の軸受と、
前記搬送ローラーの軸方向一方の端部側に設けられ当該搬送ローラーを回転駆動する駆動部と、を備え、
前記継ぎ目を形成する一対の端部には、前記一対の端部の一部を周方向に互いに係合させる係合部が形成されており、
前記係合部が、前記搬送ローラーの軸方向における前記駆動部側の一方の前記端部と当該端部に近い一方の前記軸受との間に形成されていることを特徴とする印刷装置。 - 前記係合部が、前記継ぎ目を形成する前記金属板の前記一対の端部のうち、一方の前記端部側に形成された係合凹部と、他方の前記端部側に形成され前記係合凹部に係合される係合凸部と、により構成されることを特徴とする請求項1記載の印刷装置。
- 前記係合部では、前記係合凹部に前記係合凸部が圧入されていることを特徴とする請求項2記載の印刷装置。
- 前記係合凸部が前記搬送ローラーの回転方向に向かって突出していることを特徴とする請求項2または3に記載の印刷装置。
Priority Applications (1)
| Application Number | Priority Date | Filing Date | Title |
|---|---|---|---|
| JP2010162536A JP2012024929A (ja) | 2010-07-20 | 2010-07-20 | 印刷装置 |
Applications Claiming Priority (1)
| Application Number | Priority Date | Filing Date | Title |
|---|---|---|---|
| JP2010162536A JP2012024929A (ja) | 2010-07-20 | 2010-07-20 | 印刷装置 |
Publications (1)
| Publication Number | Publication Date |
|---|---|
| JP2012024929A true JP2012024929A (ja) | 2012-02-09 |
Family
ID=45778481
Family Applications (1)
| Application Number | Title | Priority Date | Filing Date |
|---|---|---|---|
| JP2010162536A Withdrawn JP2012024929A (ja) | 2010-07-20 | 2010-07-20 | 印刷装置 |
Country Status (1)
| Country | Link |
|---|---|
| JP (1) | JP2012024929A (ja) |
Cited By (1)
| Publication number | Priority date | Publication date | Assignee | Title |
|---|---|---|---|---|
| US9126780B2 (en) | 2013-02-18 | 2015-09-08 | Brother Kogyo Kabushiki Kaisha | Transport apparatus and image recording apparatus |
-
2010
- 2010-07-20 JP JP2010162536A patent/JP2012024929A/ja not_active Withdrawn
Cited By (1)
| Publication number | Priority date | Publication date | Assignee | Title |
|---|---|---|---|---|
| US9126780B2 (en) | 2013-02-18 | 2015-09-08 | Brother Kogyo Kabushiki Kaisha | Transport apparatus and image recording apparatus |
Similar Documents
| Publication | Publication Date | Title |
|---|---|---|
| JP5712589B2 (ja) | 印刷装置 | |
| JP5267187B2 (ja) | 円筒軸、搬送ローラー、搬送ユニット、及び印刷装置 | |
| JP2010184286A (ja) | 円筒軸、搬送ローラー、搬送ユニット、及び印刷装置 | |
| JP5510139B2 (ja) | 円筒軸の製造方法 | |
| JP5353460B2 (ja) | 搬送ローラー、搬送装置及び印刷装置 | |
| JP2011121683A (ja) | 搬送ローラーの製造方法 | |
| JP2011184149A (ja) | 搬送装置及び印刷装置 | |
| JP2011126631A (ja) | 搬送ローラー、搬送ユニット、印刷装置及び搬送ローラーの製造方法 | |
| CN202098125U (zh) | 输送辊、输送单元以及打印装置 | |
| JP2011098817A (ja) | 搬送ローラー及び搬送ローラーの製造方法 | |
| JP2012024929A (ja) | 印刷装置 | |
| JP2012016742A (ja) | 円筒軸の製造方法 | |
| JP5509897B2 (ja) | 搬送ローラーの製造方法 | |
| JP5428854B2 (ja) | 搬送ローラー、搬送ユニット、印刷装置及び搬送ローラーの製造方法 | |
| JP2013103234A (ja) | 円筒軸及び円筒軸の製造方法 | |
| JP5866985B2 (ja) | 円筒軸の製造方法 | |
| JP2011136833A (ja) | 搬送ローラーの製造方法、搬送ローラー、搬送ユニット及び印刷装置 | |
| JP2012040577A (ja) | 円筒軸の製造方法 | |
| JP5440115B2 (ja) | 搬送装置及び印刷装置 | |
| JP2011111290A (ja) | 搬送ローラー及び搬送ローラーの製造方法 | |
| JP2012121648A (ja) | 搬送ローラー、及び印刷装置 | |
| JP2012020867A (ja) | 搬送ローラーの製造方法及び搬送ローラー | |
| JP2011219241A (ja) | 搬送装置及び印刷装置 | |
| JP2012024930A (ja) | 印刷装置 | |
| JP2012051018A (ja) | 円筒軸及び円筒軸の製造方法 |
Legal Events
| Date | Code | Title | Description |
|---|---|---|---|
| A300 | Withdrawal of application because of no request for examination |
Free format text: JAPANESE INTERMEDIATE CODE: A300 Effective date: 20131001 |