JP2011237136A - 乾燥庫を直立円筒形のチューブとした凍結乾燥機におけるチューブ内の被乾燥材料中の残存水分の除去装置及び残存水分の除去方法 - Google Patents

乾燥庫を直立円筒形のチューブとした凍結乾燥機におけるチューブ内の被乾燥材料中の残存水分の除去装置及び残存水分の除去方法 Download PDF

Info

Publication number
JP2011237136A
JP2011237136A JP2010109987A JP2010109987A JP2011237136A JP 2011237136 A JP2011237136 A JP 2011237136A JP 2010109987 A JP2010109987 A JP 2010109987A JP 2010109987 A JP2010109987 A JP 2010109987A JP 2011237136 A JP2011237136 A JP 2011237136A
Authority
JP
Japan
Prior art keywords
tube
dried
glass plate
duct
magnetron
Prior art date
Legal status (The legal status is an assumption and is not a legal conclusion. Google has not performed a legal analysis and makes no representation as to the accuracy of the status listed.)
Granted
Application number
JP2010109987A
Other languages
English (en)
Other versions
JP5204804B2 (ja
Inventor
Hiroshi Hosomi
博 細見
Yasuhiro Ikeda
康博 池田
Current Assignee (The listed assignees may be inaccurate. Google has not performed a legal analysis and makes no representation or warranty as to the accuracy of the list.)
Kyowa Vacuum Engineering Co Ltd
Original Assignee
Kyowa Vacuum Engineering Co Ltd
Priority date (The priority date is an assumption and is not a legal conclusion. Google has not performed a legal analysis and makes no representation as to the accuracy of the date listed.)
Filing date
Publication date
Application filed by Kyowa Vacuum Engineering Co Ltd filed Critical Kyowa Vacuum Engineering Co Ltd
Priority to JP2010109987A priority Critical patent/JP5204804B2/ja
Publication of JP2011237136A publication Critical patent/JP2011237136A/ja
Application granted granted Critical
Publication of JP5204804B2 publication Critical patent/JP5204804B2/ja
Active legal-status Critical Current
Anticipated expiration legal-status Critical

Links

Images

Landscapes

  • Drying Of Solid Materials (AREA)
  • Freezing, Cooling And Drying Of Foods (AREA)

Abstract

【課題】乾燥庫を直立円筒形のチューブとした凍結乾燥機による、被乾燥材料の凍結乾燥において、乾燥工程の終期に、被乾燥材料の内部に生じてくる未昇華部分の水分を昇華消失せしめる仕上げ乾燥が、チューブ内壁面への液材料の吹き付け、及び、乾燥工程の終了後に行うチューブ内の洗浄・滅菌作業に支障を生ぜしめることなく、マグネトロンで発生させたマイクロ波の照射の適用により短時間で終了させ得る手段を提供する。
【解決手段】乾燥庫を金属材で直立円筒形のチューブ1に構成した凍結乾燥機において、前記チューブ1の上端側に接続する金属材よりなる真空排気系のダクト7の周壁の、基端側に寄る部位に、窓穴aを開設して、ガラス板bにより気密に閉塞し、窓穴aの外側に、マグネトロン10を、それのマイクロ波の投射口10a、又は接続した導波管12のマイクロ波の放射口13が、前記ガラス板bの外面に臨むように配位してダクト7に対して組み付ける。
【選択図】図4

Description

本発明は、乾燥庫を直立円筒形のチューブとした凍結乾燥機で、被乾燥材料を凍結乾燥したときに、乾燥庫内の被乾燥材料中に残存する水分を除去するための、残存水分の除去方法と、その残存水分を除去するために凍結乾燥機に装備せしめる残存水分の除去装置についての改良に関する。
薬品・食品類の粉末の乾燥製品を製造するとき、薬品・食品類の原材料を液状に調整して液材料とし、この液材料を被乾燥材料として、図1にあるように乾燥庫を直立円筒形のチューブ1に形成した凍結乾燥機Wの、乾燥庫であるチューブ1の内壁面に、スプレーノズル2により吹き付けて、円筒形の氷柱状に付着氷結させ、これを真空下において凍結乾燥させて、円筒形の乾燥バルク(被乾燥材料の乾燥品)に乾燥させ、これをチューブ1の内壁面から剥離させて、チューブ1の下方に接続させた回収室3に落下させ、この回収室3内で、ノズル4から吹き込む圧風により粉砕し、粉砕機5を経て粉末の乾燥製品として機外に取り出す手段がある。
この手段は、液材料とした被乾燥材料を、乾燥庫内で凍結乾燥させる乾燥工程から、乾燥庫で乾燥した被乾燥材料の乾燥バルクを粉砕する粉砕工程、及びサイクロンで分別精選して粉末の乾燥製品とするまでの各工程が、凍結乾燥機の機体内において、外部に対し遮断した状態で行えるので、無菌の保持と汚染ハザード防止の保障が得られるようになるが、乾燥庫であるチューブの内壁面に円筒状に氷結させた被乾燥材料を凍結乾燥させるときに、チューブの筒壁の外面側からその筒壁を経て、円筒状に氷結している被乾燥材料に伝えられる昇華熱の、伝熱むらなどで、被乾燥材料中に氷晶構造のままの未昇華部分が生成されることに起因して、湿った塊の発生や仕上げた粉末の乾燥製品中の含水率を高めるようになる欠点が生じてきている。
粉末の乾燥製品の含水率は、薬品の場合には、規格の含水率以下でないと薬品として許可されない。
従って、液材料を凍結乾燥させるときの乾燥庫内の被乾燥材料を乾燥させる工程は、被乾燥材料中に生成される未昇華部分による残存水分を昇華させて消失させるまで行うことになるが、この未昇華部分は、直立円筒状のチューブの筒壁を経て伝えられる熱伝導の悪いところに生じてくるので、この未昇華部分として存在する残存水分を昇華させて消失させるまで昇華熱を供給し続けると、乾燥時間が長くなり又、既に乾燥が終えている他の部分に過剰に熱が供給されて、被乾燥材料に品質の変化を生ぜしめるようになる問題がでてくる。
このことから、乾燥庫を直立円筒形のチューブとした凍結乾燥機を用いて、液材料とした被乾燥材料を、チューブの内壁面に氷結させ、これを凍結乾燥により乾燥させる場合には、通常、乾燥庫内の被乾燥材料を乾燥させる乾燥工程を、乾燥の全工程のうちの9割までは、所定の乾燥速度で進めるが、乾燥工程の残りの1割は、前記所定の速度の10分の1程度に落としたゆっくりした速度で、9割までにかけた時間と略同じ時間をかけて進行させ、これにより被乾燥材料中に生成されている未昇華部分による残存水分を、この残りの1割のゆっくりした乾燥工程の仕上げ乾燥によって昇華除去させるようにしている。
液材料を凍結乾燥するときに被乾燥材料中に生成する未昇華部分に起因する残存水分を除去するために行われているこの残存水分の除去手段は、乾燥工程の終期を、供給する昇華熱の温度を落としてゆっくりした乾燥速度の仕上げ乾燥で行うことから、乾燥工程の全体の乾燥時間が、チューブ内の被乾燥材料を通常の乾燥工程で乾燥させる場合に比して略倍に長くなり、乾燥工程を終了させるまでに時間を要するようになる問題がある。
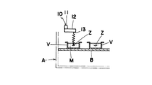
被乾燥材料中に、氷晶構造のままの未昇華部分として生じている残存水分を、昇華させて消失せしめるのに、図2に示しているように凍結乾燥機の乾燥庫Aの庫内にマグネトロン10を装備せしめて、そのマグネトロン10の機器本体11内で発生させた電磁波を、直接照射又は導波管12で誘導して照射し、凍結乾燥機の乾燥庫A内の棚段B上に載置した容器Vに充填されている被乾燥材料中に生じている未昇華部分Zに対し照射し、そのマイクロ波(電磁波)による加熱で水分を昇華させる手段が有効であることの提案がなされてきている。
これは、乾燥庫を内部に棚段を設けた乾燥室に構成している通常の形態の凍結乾燥機においては、液材料の凍結乾燥を、液材料は容器Vに充填して容器Vごと乾燥庫A内の棚段B上に並列載置し、庫内を所定の真空度に保持した状態において、棚段Bに組み込まれて循環する熱媒体等の熱源から棚段Bの棚面を経て容器V内の液材料に昇華熱を伝え、水分を昇華させることで行うことから、棚段B上に載置した容器V内の被乾燥物中に生じる未昇華部分Zは、棚段Bの棚面から容器の周面を経て伝えられる熱の伝達がおくれる容器V内の被乾燥材料の中心部位に生じてくる。
被乾燥材料中に生ずる未昇華部分は、検索するまでもなく判然としており、乾燥庫内にマグネトロンを装備し、それにより発生させたマイクロ波を直接照射又は導波管で誘導して、容器内の被乾燥材料の中心部位に照射するようにすれば、マイクロ波による未昇華部分の昇華の達成が得られることになるということである。
ところが、乾燥庫を、縦型の円筒形に構成した凍結乾燥機では、円筒形の乾燥庫の内壁面に円筒形に氷結させた被乾燥材料中に生じてくる未昇華部分は、円筒形の乾燥庫の筒壁を経て伝えられる昇華熱の伝達が遅れる部位に生じてくることになるが、この遅れる部位が予め想定することのできない部位に現出する。
また、この形態の凍結乾燥機での液材料の凍結乾燥では、円筒形の乾燥庫の内壁面に円筒状に凍結付着させた被乾燥材料が乾燥し終えたところで、乾燥庫の内壁面から剥離させて、乾燥庫の下方に接続させた円筒形状の回収室に落とし、そこで乾燥バルクに破砕することから、乾燥庫の内壁面からの被乾燥材料の剥離・落下が容易に行われるようにするため、液材料を、直立円筒形のチューブの内壁面に吹き付け氷結させる前に、そのチューブの内壁面に蒸留水を噴霧して薄膜状の氷層を形成しておいて、この氷膜の上に液材料を凍結させ、凍結した液材料の被乾燥材料が乾燥したときの、被乾燥材料のチューブ内壁面からの剥離が簡単に行われるようにしている。
この氷膜の消失による被乾燥材料のチューブ内壁面からの剥離は、チューブの外面側からチューブ筒壁を経て内壁面より被乾燥材料に伝えられる熱に対しては、その熱の流れを阻害するように働く。
このことから、氷膜が消失した部分に対面する被乾燥材料の部位には、昇華熱が伝わりにくくなることで、この部位に未昇華部が生成してくるようになる。そして、この未昇華部の生因となる氷膜の消失部位は、氷膜全体に均一に揃って生ずることはなく、ランダムに生成される。この部位を予測し、また、検索することは、殆ど不可能であるという問題がでてくる。
さらに、マイクロ波の照射によりチューブ内壁面に円筒状に凍結している被乾燥材料中の残存水分を、昇華消失させるには、乾燥庫であるチューブ内にマグネトロンとそれの導波管を組み込み装備せしめることになるが、組み込むマグネトロンと導波管が、チューブ内の上端側に装備されるスプレーノズルからの液材料の噴霧作用を阻害するようになる問題が生じてくる。
また、被乾燥材料をチューブの内壁面に氷結付着させて、チューブ内に装填して収容せしめる形態とすることから、チューブ内の被乾燥材料の凍結乾燥による乾燥工程が終了して、乾燥バルク(液材料の乾燥品)を回収室に落とし機外に取り出す一連の作業が終えたときに、次にチューブ内に液材料を供給する前に、汚染ハザードの防止のためにチューブ内のクリーニング処理と滅菌処理の作業を行うが、このとき、チューブ内に装備せしめるマグネトロンとそれの導波管とが、液材料を詰まり込ませる複雑な構造をチューブ内に持ち込むことになるので、この汚染ハザード防止のための、クリーニング処理と滅菌処理を不完全なものとする問題がでてくる。
本発明において解決しようとする課題は、乾燥庫を直立円筒形のチューブに形成した形態の凍結乾燥機による、被乾燥材料の凍結乾燥において、乾燥工程の終期に、被乾燥材料の内部に生じてくる未昇華部分の水分を昇華消失せしめるために行う仕上げ乾燥が、スプレーノズルによるチューブ内壁面への液材料の吹き付け、及び、乾燥工程の終了後に行うチューブ内の洗浄・滅菌作業に支障を生ぜしめることなく、マグネトロンで発生させたマイクロ波の照射の適用により短時間で終了させ得る手段を構成する点にある。
上述の課題を解決するための手段として、本発明においては、乾燥庫を金属材で直立円筒形のチューブに構成した凍結乾燥機において、前記チューブの上端側に接続する金属材よりなる真空排気系のダクトの周壁の、基端側に寄る部位に、窓穴を開設して、ガラス板により気密に閉塞し、窓穴の外側に、マグネトロンを、それのマイクロ波の投射口、又は接続した導波管のマイクロ波の投射口が、前記ガラス板の外面に臨むように配位してダクトに対して組み付けてなる凍結乾燥機における直立円筒形のチューブ内の被乾燥材料中の残存水分除去装置。
および、乾燥庫を金属材で直立円筒形のチューブに構成した凍結乾燥機において、前記チューブの筒壁の、被乾燥材料を円筒状に凍結させる部分よりも上方に位置する部位に、窓穴を開設して、ガラス板により気密に閉塞し、窓穴の外側には、マグネトロンを、それのマイクロ波の投射口、又は接続した導波管のマイクロ波の投射口が、前記ガラス板の外面に臨むよう配位してチューブに対し組み付け装架してなる凍結乾燥機における直立円筒形のチューブ内の被乾燥材料中の残存水分除去装置。
および、乾燥庫を金属材で直立円筒形のチューブに構成した凍結乾燥機において、前記チューブの筒壁の上端側またはチューブの上端側に接続する金属材よりなる真空排気系のダクトの周壁に形設してあるガラス板で閉塞された覗き窓の外側に、マグネトロンを、それのマイクロ波の投射口、又は接続した導波管のマイクロ波の投射口が、前記覗き窓のガラス板の外面に臨むように配位して、チューブまたはダクトに対し組み付け装架してなる凍結乾燥機における直立円筒形のチューブ内の被乾燥材料中の残存水分除去装置。
ならびに、乾燥庫を金属材で直立円筒形のチューブに構成した凍結乾燥機において、前記チューブの筒壁の上端側またはそのチューブの上端側に接続する真空排気系のダクトの周壁の基端側に寄る部位に形設せるガラス板で閉塞された窓穴の外側に、マグネトロンを、それのマイクロ波の投射口、又は接続した導波管のマイクロ波の投射口が、前記ガラス板の外面に臨むよう配位して、チューブまたはダクトに対し組み付け装架し、このマグネトロンを、チューブ内の被乾燥材料を凍結乾燥する乾燥工程の終期に、昇華してくる水蒸気の温度が零度を超えない範囲にマイクロ波の投射をコントロールして断続的に作動させ、被乾燥材料中の氷部分により残存水分を融かさない状態で昇華除去させることを特徴とする残存水分除去方法を提起するものである。
この本発明手段は、種々の試行と検討を重ねて得られた知見に基づいて成されたものである。
乾燥庫を直立円筒形のチューブに構成した凍結乾燥機を用い、被乾燥材料を液状に調整してチューブの内壁面に円筒状に氷結させ、これを凍結乾燥により乾燥させる工程において、被乾燥材料中に生成する未昇華部分による残存水分を消失させるのに、マイクロ波の照射を適用する際、マイクロ波を発生させるマグネトロンは、乾燥庫であるチューブまたはそのチューブに接続する真空排気系のダクトの外側に配置して、マグネトロンの投射口から放射するマイクロ波だけをチューブの筒壁またはダクトの周壁に窓穴状にあけた開口から、チューブまたはダクト内に投射すれば、そのマイクロ波は金属材で成形してあるチューブ・ダクトの内面の金属面に乱反射することで、チューブの下端側に向けて進み、チューブ内壁面に氷結している被乾燥材料に照射されるようになること。
そして、この開口を通してチューブ内に照射されるマイクロ波は、金属材よりなるチューブの金属面の内壁面による乱反射で誘導されることで、氷膜の消失によりチューブ内壁面と円筒状の被乾燥材料との間に形成される間隙に進入して、その間隙に対面している被乾燥材料の部分に照射されるようになること。
このチューブ・ダクト内へのマグネトロンによるマイクロ波の投射は、ダクトの上面で、チューブの上方に位置する部位に、チューブ内部を覗き見るよう設けられているガラス板を嵌装した覗き窓の外面側に、マグネトロンを配置して、マイクロ波の投射を、ガラス板ごしに行っても、ダクト・チューブの内面の金属面に乱反射してチューブ内壁面に付着している被乾燥材料の内外の周面に投射されていくこと。
さらに、マイクロ波の投射をガラス板の外からガラス板を通して行っても、マイクロ波の被乾燥材料に対する照射に支障がないことから、マグネトロンを、マグネトロンに導波管が一体的に接続しているときは導波管ごと、ガラス板で隔てたチューブ・ダクトの外面側に装備することで、チューブ内壁面のクリーニング・滅菌に支障のないよう装備し得ること、の知見を得たことによるものである。
そして、このことから、上述した手段を提起するものである。
乾燥庫を直立円筒形のチューブに構成した凍結乾燥機による被乾燥材料の凍結乾燥において、被乾燥材料の内部に生じてくる未昇華部分の水分を昇華消失させるために、乾燥工程の終期に行う仕上げ乾燥が、ノズルによるチューブ内壁面への被乾燥材料の吹き付け、及び、乾燥工程の終了後に行うチューブ内のクリーニング・滅菌作業に支障を生ぜしめずに、マグネトロンによるマイクロ波を適用して、短い時間で行えるようになる。
乾燥庫を直立円筒形のチューブに形成した凍結乾燥機の一部破断した正面図である。 凍結乾燥機の乾燥庫内の棚段に載置して凍結乾燥した被乾燥材料中の、未昇華部分に対し、マグネトロンで発生させたマイクロ波を照射する説明図である。 本発明を実施せる第1の実施例装置の一部破断した正面図である。 同上実施例の要部の縦断正面図である。 同上実施例の覗き窓の外面側に装架するマグネトロンを、導波管を除いてマグネトロン本体だけにした例の要部の縦断正面図である。 本発明の第2の実施例の要部の縦断正面図である。 同上実施例の、ダクトの一端側に開設せる開口の外側に配設したマグネトロンを、導波管の接続がないマグネトロン本体だけにした例の要部の縦断正面図である。 本発明の第3の実施例の要部の縦断正面図である。 同上実施例の、ダクトの周壁に開設せる開口の外側に配設したマグネトロンを、導波管の接続がないマグネトロン本体だけにした例の要部の縦断正面図である。 本発明の第4の実施例の要部の縦断正面図である。 同上実施例の、チューブの筒壁に開設せる開口の外側に配設したマグネトロンを導波管の接続がないマグネトロン本体だけにした例の縦断正面図である。
次に本発明手段の実施の態様を、実施例につき図面に従い詳述する。
図3は、本発明手段の一実施例の一部を縦断して示す正面図、図4は同上実施例の要部の縦断側面図である。図において、Wは凍結乾燥機の機体全体、1は凍結乾燥機Wの乾燥庫を構成する直立円筒形のチューブ、2は乾燥庫であるチューブ1の内壁面に、液状に調整した被乾燥材料の液材料を吹き付け氷結させるスプレーノズル、3はチューブ1の下方に接続させて設けた被乾燥材料の乾燥品(乾燥バルク)を回収する回収室、4はチューブ1内壁面から剥離させて回収室3内に落下させた乾燥バルクを破砕する圧風を吹き出すジェットノズル、5は回収室3から排出される乾燥バルクの破砕物を粉砕する粉砕機、6は粉砕機5から排出される粉砕物を分別する遠心分離式のサイクロン、7はチューブ1の上端側に接続せる真空排気系のダクト、Tは液状に調整した被乾燥材料の液材料を収容しておくタンク、T2は前記タンクTから汲上ポンプPで汲み上げた液材料を収容する第2タンク、Rは、第2タンクT2からスプレーノズル2に供給されて、そのスプレーノズル2から噴射される液材料を、円筒状の内壁面に沿い連続する皮膜状に拡げて円筒形のチューブ1の内壁面に流下させるよう、チューブ1の上端側に形設した液材料の流下室、8はその流下室Rの内壁面をつたいチューブ1の内壁面に流下する液材料をチューブ1内壁面に氷結させるようチューブ1の外周に設けた冷媒のジャケット、9は前記流下室R内におけるスプレーノズル2からの液材料の噴射状況、および液材料の流下状態ならびにチューブ1内壁面への液材料の凍結状態を覗き見るよう、ダクト7の基端部の上面で流下室Rの上方に位置する部位に設けた開口aにガラス板bを嵌装して形成している覗き窓、10はこの覗き窓9の外側に配設したマグネトロンを示す。
マグネトロン10は、通電により作動してマイクロ波を発生させるマイクロ波発生装置(図示省略)を本体ケース11内に装備し、発生させたマイクロ波を放射する投射口10aには、マイクロ波を誘導する導波管12が接続してある通常のもので、導波管12の先端のマイクロ波の放射口13が、覗き窓9を気密に塞ぐよう設けたガラス板bの外面側に対面する状態姿勢として、組付機枠(図示省略)により、ダクト7の外面側に組み付けてある。
マグネトロン10には、それの作動を制御する制御装置(図示省略)が接続させてあり、その制御装置は、凍結乾燥機Wの機体の外面側に装架してある。
この制御装置の制御作動で、乾燥工程の終期にマグネトロン10を作動させれば、発生して放射されるマイクロ波は、図4において鎖線の矢印で示しているように、金属材で形成してあるダクト7及びチューブ1の内面の金属面を乱反射してチューブ1内の下端側に進み、チューブ1内に円筒状に凍結している被乾燥材料Mの全周面に投射していくようになり、被乾燥材料M中に氷晶のままで残っている未昇華部分Zに昇華熱を与え、水分を昇華させるように作用する。
このとき、チューブ1内に生成してくる水蒸気の温度を検出器で検出して、その水蒸気の温度が零度以下の範囲に保持されるように、マグネトロン10の作動をオン・オフ制御する。これにより、被乾燥材料M中の既に乾燥している部分に、過剰のマイクロ波による熱を与えて変質を生ぜしめることなく、未昇華部分の昇華消失が得られるようになる。
図5は、上述の実施例におけるマグネトロン10から接続してある導波管12を除いて、マグネトロン10を、それの投射口10aが、覗き窓9の開口aを塞ぐガラス板bの外側に位置するように配位して、組付機枠(図示省略)によりダクト7の外面に組み付けている例である。この例も、上述の実施例と同様に作用する。
図6は、別の実施例を示している。
図は、乾燥庫を直立円筒形のチューブとした凍結乾燥機Wの要部だけを示し、凍結乾燥機Wの全体構成における各部材についての記載は省略している。
凍結乾燥機Wは、前述の実施例1の凍結乾燥機Wと同様に、乾燥庫を直立円筒形のチューブに構成している凍結乾燥機である。図において、1は、乾燥庫である直立円筒形のチューブ、7は、基端側を前記チューブ1の上端側に接続した真空排気系に通ずるダクト、2はチューブ1内壁面に凍結させる液材料を噴射するスプレーノズル、Rはこのスプレーノズル2から噴射される液材料を内壁面で受け止め、円筒形に連続する皮膜状の形態として、内壁面をつたわせてチューブ1の内壁面に向け流下させる流下室、であり、これらは、前述の実施例1で同じ符号で示している部材と同様の構成のものである。
aは、チューブ1の上端側に接続する真空排気系のダクト7の基端側で筒状をなす該ダクト7の軸方向における一端側の端壁に開設したマイクロ波の投射用の窓穴状の開口、10はその開口aに嵌装したガラス板bの外面側に、導波管12の先端の放射口13を臨ませて、ダクト7の外面側に組み付け装架したマグネトロンを示す。
この実施例は、チューブ1・ダクト7の外面側に配設したマグネトロン10で発生させたマイクロ波を、チューブ1内の被乾燥材料Mに向け誘導して照射させるために、チューブ1・ダクト7に開設しておく開口aを、筒状のダクト7の軸方向の一端側の端壁面に開設して、マイクロ波を、ダクト7内に軸方向に沿わせて投射し、そのマイクロ波が金属面のダクト7の内壁面による乱反射で、チューブ1内に誘導されて、被乾燥材料に照射していくようにしている例である。
ダクト7の軸方向の一端側の端壁面に開設した開口aの外側に配設するマグネトロン10は、導波管12を外した本体だけの形態のものとし、これを、図7にあるよう、開口aを塞ぐガラス板bの外側に装備させる場合がある。
この実施例では、チューブ1内壁面に付着させた被乾燥材料Mの乾燥工程が進んで、終期に近づいたとき、マグネトロン10を、それに接続してある制御装置の制御作動で作動させれば、そのマグネトロン10の導波管12の先端の放射口13から放射されるマイクロ波は、図6・図7において、破線の矢印イに示しているように、開口aに設けたガラス板bを透過してダクト7内に投射されるが、破線の矢印ロに示すようにダクト7の内面の金属面により乱反射してチューブ1内腔に進入し、そのチューブ1の内壁面の金属面によりさらに破線の矢印ハ・ニの如く反射を繰り返しながら、チューブ1内壁面に付着している被乾燥材料Mの全周面に照射していくようになり、これにより、被乾燥材料中の熱伝導の悪い部分に生じていた未昇華部分Zに昇華熱を与え、これを昇華させて消失させるようになる。
図8は、さらに別の実施例を示す。図は、前述の実施例1・2と同様に、乾燥庫を直立円筒形のチューブに構成した凍結乾燥機の液材料を内壁面に凍結させるチューブ1とそのチューブ1に接続せる真空排気系に通ずるダクト7の基端部、チューブ1の内壁面に向け液材料を噴射するスプレーノズル2を含むチューブ1のまわりの要部を示し、凍結乾燥機の全体構成における諸部材は省略してある。
図において、1は直立円筒形のチューブ、2はチューブ1内壁面に氷結させる液材料を噴射するスプレーノズル、Rはスプレーノズル2から噴射されてくる液材料を、内壁面により連続する皮膜状の態様に変換させて、チューブ1の内壁面に向け流下させる流下室、7はチューブ1の上端側に基端側を接続せしめた真空排気系に通ずるダクトであり、これらは、前述の各実施例において同じ符号で指示している部材と同様の構成のものである。
aは、チューブ1、ダクト7の外面側に配置するマグネトロン10で発生させたマイクロ波を、チューブ1内壁面に付着している被乾燥材料に照射させるために、ダクト7の周壁に開設した開口、bはその開口aに嵌装したガラス板、10は、この開口aの外面側に配置して、ダクト7に組み付け装架したマグネトロンを示す。
マグネトロン10は、図8に示しているように、本体ケース11に組み付けた導波管12の先端の放射口13が、開口aを塞ぐガラス板bの外側に位置するように装架する場合と、導波管12を外して本体だけの形態とし、図9にあるように、マグネトロン10のマイクロ波の投射口10aが、開口aを塞ぐガラス板bの外側に位置するように装架する場合がある。
この実施例は、ダクト7の周壁に開設する開口aを、ダクト7の周壁の上面側で、チューブ1の上方からダクト7の先端側に偏位させた部位に開設してある点が、前述の実施例2と異なるだけでその余の構成については前述実施例と変わりがない。
この例においては、マグネトロン10の投射口10aから放射されるマイクロ波、またはマグネトロン10の導波管12の先端の放射口13から放射されるマイクロ波が、開口aに嵌装したガラス板bごしに、ダクト7内にそのダクト7の軸線方向を横切るよう投射されるが、図8・図9において破線の矢印で示しているように、金属材よりなるダクト7の内面の金属面に衝突して乱反射することで、チューブ1内に向かうよう誘導され、金属材よりなるチューブ1内面の金属面で乱反射を続けてチューブ1内に進入し、チューブ1内壁面に付着している被乾燥材料Mの全周面に照射されていくようになる。
従って、チューブ1内の被乾燥材料Mを凍結乾燥する乾燥工程が進んで終期に達したときにマグネトロン10に接続している制御装置の制御作動で、マグネトロン10を作動させれば、それにより発生したマイクロ波が、チューブ1内に誘導されてチューブ1内の被乾燥材料に照射され、被乾燥材料中に生成している未昇華部分Zに昇華熱を与え、昇華させて消失させるようになる。
図10・図11は、さらに異なる実施例を示す。図は、前述の実施例2、実施例3と同様に、乾燥庫を直立円筒形のチューブに構成した凍結乾燥機の要部と、その要部に組み付けたマグネトロン10とを示している。
凍結乾燥機は、図10・図11では全体構成についての記載を省略しているが、図3に示している実施例1の凍結乾燥機Wの構成と変わらないものである。
この凍結乾燥機Wの要部は、液材料を内壁面に凍結させる直立円筒形に構成したチューブ1と、そのチューブ1の内壁面に凍結させる液材料を噴射するスプレーノズル2と、チューブ1に接続せる真空排気系に通ずるダクト7の基端部とを含むこの形態の凍結乾燥機の主要部である。
図において、1は直立円筒形に構成したチューブ、2は液材料を噴射させるスプレーノズル、Rはスプレーノズル2から噴射された液材料を内壁面で受けとめて、チューブ1内壁面に流下させる流下室、7は、基端側がチューブ1の上端側に接続し、先端側が真空排気系に通ずるダクトであり、これらは前述の各実施例において同じ符号で指示している部材と同じ構成のものである。
マグネトロン10は、通電により作動してマイクロ波を発生させるマイクロ波発生装置(図示省略)を、本体ケース11内に装備し、発生させたマイクロ波を、投射口10aから放射する通常のもので、図10にあるように、導波管12が一体的に組み付けてある形態のものを用いる場合と、図11にあるように、導波管12が接続されていない、マグネトロン本体だけの形態のものを用いる場合がある。
この実施例は、チューブ1・ダクト7の外面側に配設するマグネトロン10で発生させたマイクロ波を、チューブ1内にガラス板bごしに投射させるために開設する開口aを、チューブ1の筒壁の、流下室Rを構成する上端側に開設している例である。
開口aは、チューブ1の筒壁の上端側の部分に、短く突出するよう形設した筒状部1aの突出側の端部に開設し、ガラス板bを乾燥して塞ぐようにしている。そして、マグネトロン10は、導波管12が接続してある形態のものにあっては、図10に示しているように、開口aのガラス板bの外面側に、導波管12先端の放射口13が臨むように配位して、チューブ1の外面に組み付け支架せしめ、導波管12が接続していない形態のものにあっては、図11にあるように、投射口10aが、開口aのガラス板bの外面側に臨むように配位してチューブ1の外面に組み付けてある。
この実施例では、マグネトロン10を作動させてマイクロ波を発生させると、そのマイクロ波は、開口aに嵌装してあるガラス板bを通して、チューブ1の上端側に形成してある流下室R内に投射され、図10・図11において、破線の矢印に示しているように、流下室Rの内壁面の金属面により乱反射して、チューブ1内壁面に付着している被乾燥材料Mの全周面に照射されていくようになるから、乾燥工程の終期にマグネトロン10を作動させることで、被乾燥材料中に未昇華部分として残存している氷晶部分Zに、マイクロ波による熱を供給し、昇華消失させるようになる。
A 乾燥庫
B 棚
M 被乾燥材料
P ポンプ
R 流下室
T タンク
T2 第2タンク
V 容器
W 凍結乾燥機
Z 未昇華部分
a 開口
b ガラス板
1 チューブ
1a 筒状部
2 スプレーノズル
3 回収室
4 ジェットノズル
5 粉砕機
6 サイクロン
7 ダクト
8 ジャケット
9 覗き窓
10 マグネトロン
10a 投射口
11 機器本体
12 導波管
13 放射口

Claims (4)

  1. 乾燥庫を金属材で直立円筒形のチューブに構成した凍結乾燥機において、前記チューブの上端側に接続する金属材よりなる真空排気系のダクトの周壁の、基端側に寄る部位に、窓穴を開設して、ガラス板により気密に閉塞し、窓穴の外側に、マグネトロンを、それのマイクロ波の投射口、又は接続した導波管のマイクロ波の投射口が、前記ガラス板の外面に臨むように配位してダクトに対して組み付けてなる凍結乾燥機における直立円筒形のチューブ内の被乾燥材料中の残存水分除去装置。
  2. 乾燥庫を金属材で直立円筒形のチューブに構成した凍結乾燥機において、前記チューブの筒壁の、被乾燥材料を円筒状に凍結させる部分よりも上方に位置する部位に、窓穴を開設して、ガラス板により気密に閉塞し、窓穴の外側には、マグネトロンを、それのマイクロ波の投射口、又は接続した導波管のマイクロ波の投射口が、前記ガラス板の外面に臨むよう配位してチューブに対し組み付け装架してなる凍結乾燥機における直立円筒形のチューブ内の被乾燥材料中の残存水分除去装置。
  3. 乾燥庫を金属材で直立円筒形のチューブに構成した凍結乾燥機において、前記チューブの筒壁の上端側またはチューブの上端側に接続する金属材よりなる真空排気系のダクトの周壁に形設してあるガラス板で閉塞された覗き窓の外側に、マグネトロンを、それのマイクロ波の投射口、又は接続した導波管のマイクロ波の投射口が、前記覗き窓のガラス板の外面に臨むように配位して、チューブまたはダクトに対し組み付け装架してなる凍結乾燥機における直立円筒形のチューブ内の被乾燥材料中の残存水分除去装置。
  4. 乾燥庫を金属材で直立円筒形のチューブに構成した凍結乾燥機において、前記チューブの筒壁の上端側またはそのチューブの上端側に接続する真空排気系のダクトの周壁の基端側に寄る部位に形設せるガラス板で閉塞された窓穴の外側に、マグネトロンを、それのマイクロ波の投射口、又は接続した導波管のマイクロ波の投射口が、前記ガラス板の外面に臨むよう配位して、チューブまたはダクトに対し組み付け装架し、このマグネトロンを、チューブ内の被乾燥材料を凍結乾燥する乾燥工程の終期に、昇華してくる水蒸気の温度が零度を超えない範囲にマイクロ波の投射をコントロールして断続的に作動させ、被乾燥材料中の氷部分により残存水分を融かさない状態で昇華除去させることを特徴とする残存水分除去方法。
JP2010109987A 2010-05-12 2010-05-12 乾燥庫を直立円筒形のチューブとした凍結乾燥機におけるチューブ内の被乾燥材料中の残存水分の除去装置及び残存水分の除去方法 Active JP5204804B2 (ja)

Priority Applications (1)

Application Number Priority Date Filing Date Title
JP2010109987A JP5204804B2 (ja) 2010-05-12 2010-05-12 乾燥庫を直立円筒形のチューブとした凍結乾燥機におけるチューブ内の被乾燥材料中の残存水分の除去装置及び残存水分の除去方法

Applications Claiming Priority (1)

Application Number Priority Date Filing Date Title
JP2010109987A JP5204804B2 (ja) 2010-05-12 2010-05-12 乾燥庫を直立円筒形のチューブとした凍結乾燥機におけるチューブ内の被乾燥材料中の残存水分の除去装置及び残存水分の除去方法

Publications (2)

Publication Number Publication Date
JP2011237136A true JP2011237136A (ja) 2011-11-24
JP5204804B2 JP5204804B2 (ja) 2013-06-05

Family

ID=45325313

Family Applications (1)

Application Number Title Priority Date Filing Date
JP2010109987A Active JP5204804B2 (ja) 2010-05-12 2010-05-12 乾燥庫を直立円筒形のチューブとした凍結乾燥機におけるチューブ内の被乾燥材料中の残存水分の除去装置及び残存水分の除去方法

Country Status (1)

Country Link
JP (1) JP5204804B2 (ja)

Cited By (1)

* Cited by examiner, † Cited by third party
Publication number Priority date Publication date Assignee Title
CN113758079A (zh) * 2021-09-01 2021-12-07 广州韩秀科技有限公司 毛细液氮管路迭代循环捕水设备及其使用方法

Families Citing this family (1)

* Cited by examiner, † Cited by third party
Publication number Priority date Publication date Assignee Title
US11229095B2 (en) 2014-12-17 2022-01-18 Campbell Soup Company Electromagnetic wave food processing system and methods

Citations (5)

* Cited by examiner, † Cited by third party
Publication number Priority date Publication date Assignee Title
JPS5714172A (en) * 1980-06-27 1982-01-25 House Food Industrial Co Freezing drying method and apparatus employing microwave
JPH0277587U (ja) * 1988-12-01 1990-06-14
JP2003010722A (ja) * 2001-07-06 2003-01-14 Kyowa Shinku Gijutsu Kk 凍結乾燥した食品・薬品類の乾燥バルクの粉砕装置
JP2006117794A (ja) * 2004-10-21 2006-05-11 Nippon Steel Chem Co Ltd 炭素材原料の乾燥方法および炭素材原料乾燥炉
JP2008020151A (ja) * 2006-07-14 2008-01-31 Morimoto Iyaku:Kk 凍結乾燥方法および凍結乾燥装置

Patent Citations (5)

* Cited by examiner, † Cited by third party
Publication number Priority date Publication date Assignee Title
JPS5714172A (en) * 1980-06-27 1982-01-25 House Food Industrial Co Freezing drying method and apparatus employing microwave
JPH0277587U (ja) * 1988-12-01 1990-06-14
JP2003010722A (ja) * 2001-07-06 2003-01-14 Kyowa Shinku Gijutsu Kk 凍結乾燥した食品・薬品類の乾燥バルクの粉砕装置
JP2006117794A (ja) * 2004-10-21 2006-05-11 Nippon Steel Chem Co Ltd 炭素材原料の乾燥方法および炭素材原料乾燥炉
JP2008020151A (ja) * 2006-07-14 2008-01-31 Morimoto Iyaku:Kk 凍結乾燥方法および凍結乾燥装置

Cited By (2)

* Cited by examiner, † Cited by third party
Publication number Priority date Publication date Assignee Title
CN113758079A (zh) * 2021-09-01 2021-12-07 广州韩秀科技有限公司 毛细液氮管路迭代循环捕水设备及其使用方法
CN113758079B (zh) * 2021-09-01 2023-03-21 广州韩秀科技有限公司 毛细液氮管路迭代循环捕水设备及其使用方法

Also Published As

Publication number Publication date
JP5204804B2 (ja) 2013-06-05

Similar Documents

Publication Publication Date Title
JP5669989B2 (ja) 凍結乾燥粒子の製造のためのプロセスライン
EP2270409B1 (en) Freeze-drying method and freeze-drying apparatus
EP3303958B1 (en) Bulk freeze drying using spray freezing and agitated drying with heating
JP7038435B2 (ja) 噴霧凍結造粒乾燥粉体製造装置及び噴霧凍結造粒乾燥粉体製造システム
KR101053654B1 (ko) 마이크로 웨이브를 이용한 연속식 건조기
JPH04227865A (ja) 遠心分離式乾燥機
WO2013050158A1 (en) Heating device for rotary drum freeze-dryer
JP5204804B2 (ja) 乾燥庫を直立円筒形のチューブとした凍結乾燥機におけるチューブ内の被乾燥材料中の残存水分の除去装置及び残存水分の除去方法
KR101658217B1 (ko) 열풍 및 마이크로파를 이용한 배열회수형 복합 건조 시스템
JP3824891B2 (ja) 食品・薬品類の凍結乾燥装置における乾燥バルクの粉砕装置
EP0546597B1 (en) Continuous freeze drying apparatus
KR101768494B1 (ko) 식품 살균장치
JP2002369673A (ja) 食品・薬品等の凍結乾燥装置
JP4003174B2 (ja) 真空乾燥機への原料液供給方法並びにその装置
JP3903281B2 (ja) 液体原料の付着防止機能を具えた真空乾燥機
JP3077988B2 (ja) 湿式粉砕・混合および乾燥装置
JP3824890B2 (ja) 凍結乾燥した食品・薬品類の乾燥バルクの粉砕装置
JP5495865B2 (ja) 凍結乾燥機
SU848932A1 (ru) Установка непрерывного действи дл СублиМАциОННОй СушКи ТЕРМОчуВСТВиТЕль-НыХ МАТЕРиАлОВ
JP2002310556A (ja) 食品・薬品等の凍結乾燥装置および凍結乾燥方法
JP2003194460A (ja) 液体原料を用いる粉粒体製造装置及びこの装置を用いた粉粒体の製造方法
US2675070A (en) Desiccating apparatus
JP2000018791A (ja) 冷却・加温トンネル
HK1200206B (en) A process line for the production of freeze-dried particles

Legal Events

Date Code Title Description
A977 Report on retrieval

Free format text: JAPANESE INTERMEDIATE CODE: A971007

Effective date: 20120919

A131 Notification of reasons for refusal

Free format text: JAPANESE INTERMEDIATE CODE: A131

Effective date: 20121002

A521 Request for written amendment filed

Free format text: JAPANESE INTERMEDIATE CODE: A523

Effective date: 20121115

TRDD Decision of grant or rejection written
A01 Written decision to grant a patent or to grant a registration (utility model)

Free format text: JAPANESE INTERMEDIATE CODE: A01

Effective date: 20130129

A61 First payment of annual fees (during grant procedure)

Free format text: JAPANESE INTERMEDIATE CODE: A61

Effective date: 20130215

R150 Certificate of patent or registration of utility model

Ref document number: 5204804

Country of ref document: JP

Free format text: JAPANESE INTERMEDIATE CODE: R150

Free format text: JAPANESE INTERMEDIATE CODE: R150

FPAY Renewal fee payment (event date is renewal date of database)

Free format text: PAYMENT UNTIL: 20160222

Year of fee payment: 3

R250 Receipt of annual fees

Free format text: JAPANESE INTERMEDIATE CODE: R250

R250 Receipt of annual fees

Free format text: JAPANESE INTERMEDIATE CODE: R250

R250 Receipt of annual fees

Free format text: JAPANESE INTERMEDIATE CODE: R250

R250 Receipt of annual fees

Free format text: JAPANESE INTERMEDIATE CODE: R250

R250 Receipt of annual fees

Free format text: JAPANESE INTERMEDIATE CODE: R250

R250 Receipt of annual fees

Free format text: JAPANESE INTERMEDIATE CODE: R250

R250 Receipt of annual fees

Free format text: JAPANESE INTERMEDIATE CODE: R250

R250 Receipt of annual fees

Free format text: JAPANESE INTERMEDIATE CODE: R250

R250 Receipt of annual fees

Free format text: JAPANESE INTERMEDIATE CODE: R250

R250 Receipt of annual fees

Free format text: JAPANESE INTERMEDIATE CODE: R250