JP2011136855A - Method for producing glass substrate - Google Patents
Method for producing glass substrate Download PDFInfo
- Publication number
- JP2011136855A JP2011136855A JP2009296810A JP2009296810A JP2011136855A JP 2011136855 A JP2011136855 A JP 2011136855A JP 2009296810 A JP2009296810 A JP 2009296810A JP 2009296810 A JP2009296810 A JP 2009296810A JP 2011136855 A JP2011136855 A JP 2011136855A
- Authority
- JP
- Japan
- Prior art keywords
- glass substrate
- glass
- substrate
- mother substrate
- mother
- Prior art date
- Legal status (The legal status is an assumption and is not a legal conclusion. Google has not performed a legal analysis and makes no representation as to the accuracy of the status listed.)
- Granted
Links
- 239000000758 substrate Substances 0.000 title claims abstract description 193
- 239000011521 glass Substances 0.000 title claims abstract description 151
- 238000004519 manufacturing process Methods 0.000 title claims abstract description 40
- 238000003426 chemical strengthening reaction Methods 0.000 claims abstract description 30
- 238000000034 method Methods 0.000 claims description 38
- 238000005520 cutting process Methods 0.000 claims description 14
- 238000000059 patterning Methods 0.000 claims description 3
- 230000006835 compression Effects 0.000 abstract 1
- 238000007906 compression Methods 0.000 abstract 1
- 238000010348 incorporation Methods 0.000 abstract 1
- 230000002093 peripheral effect Effects 0.000 description 18
- 238000003486 chemical etching Methods 0.000 description 8
- 230000000052 comparative effect Effects 0.000 description 6
- 150000002500 ions Chemical class 0.000 description 6
- 150000003839 salts Chemical class 0.000 description 6
- XLOMVQKBTHCTTD-UHFFFAOYSA-N Zinc monoxide Chemical compound [Zn]=O XLOMVQKBTHCTTD-UHFFFAOYSA-N 0.000 description 4
- 239000003513 alkali Substances 0.000 description 4
- FGIUAXJPYTZDNR-UHFFFAOYSA-N potassium nitrate Chemical compound [K+].[O-][N+]([O-])=O FGIUAXJPYTZDNR-UHFFFAOYSA-N 0.000 description 4
- 238000005530 etching Methods 0.000 description 3
- 238000005342 ion exchange Methods 0.000 description 3
- KRHYYFGTRYWZRS-UHFFFAOYSA-N Fluorane Chemical compound F KRHYYFGTRYWZRS-UHFFFAOYSA-N 0.000 description 2
- 239000004973 liquid crystal related substance Substances 0.000 description 2
- 230000000873 masking effect Effects 0.000 description 2
- 238000000206 photolithography Methods 0.000 description 2
- 235000010333 potassium nitrate Nutrition 0.000 description 2
- 239000004323 potassium nitrate Substances 0.000 description 2
- 238000003672 processing method Methods 0.000 description 2
- 239000005361 soda-lime glass Substances 0.000 description 2
- 229910001415 sodium ion Inorganic materials 0.000 description 2
- 238000011282 treatment Methods 0.000 description 2
- 239000011787 zinc oxide Substances 0.000 description 2
- 230000015572 biosynthetic process Effects 0.000 description 1
- 238000005229 chemical vapour deposition Methods 0.000 description 1
- 238000004140 cleaning Methods 0.000 description 1
- 230000006866 deterioration Effects 0.000 description 1
- 238000007598 dipping method Methods 0.000 description 1
- 230000009477 glass transition Effects 0.000 description 1
- AMGQUBHHOARCQH-UHFFFAOYSA-N indium;oxotin Chemical compound [In].[Sn]=O AMGQUBHHOARCQH-UHFFFAOYSA-N 0.000 description 1
- 238000003698 laser cutting Methods 0.000 description 1
- 229910001416 lithium ion Inorganic materials 0.000 description 1
- 229920002120 photoresistant polymer Polymers 0.000 description 1
- 238000005498 polishing Methods 0.000 description 1
- 238000004544 sputter deposition Methods 0.000 description 1
- 238000005728 strengthening Methods 0.000 description 1
- 238000001771 vacuum deposition Methods 0.000 description 1
Images
Classifications
-
- Y—GENERAL TAGGING OF NEW TECHNOLOGICAL DEVELOPMENTS; GENERAL TAGGING OF CROSS-SECTIONAL TECHNOLOGIES SPANNING OVER SEVERAL SECTIONS OF THE IPC; TECHNICAL SUBJECTS COVERED BY FORMER USPC CROSS-REFERENCE ART COLLECTIONS [XRACs] AND DIGESTS
- Y02—TECHNOLOGIES OR APPLICATIONS FOR MITIGATION OR ADAPTATION AGAINST CLIMATE CHANGE
- Y02P—CLIMATE CHANGE MITIGATION TECHNOLOGIES IN THE PRODUCTION OR PROCESSING OF GOODS
- Y02P40/00—Technologies relating to the processing of minerals
- Y02P40/50—Glass production, e.g. reusing waste heat during processing or shaping
- Y02P40/57—Improving the yield, e-g- reduction of reject rates
Landscapes
- Surface Treatment Of Glass (AREA)
- Laser Beam Processing (AREA)
- Re-Forming, After-Treatment, Cutting And Transporting Of Glass Products (AREA)
Abstract
Description
本発明は、化学強化処理が施されるとともに電極が形成されたガラス基板の製造方法に関する。 The present invention relates to a method for manufacturing a glass substrate on which an electrode is formed while being subjected to a chemical strengthening treatment.
近年、タッチスイッチなどの入力装置は、液晶表示パネルなどの表示装置と一体化されたタッチパネルとして、携帯電話、PDA、ノートPC、産業用ディスプレイなどに用いられている(例えば、特許文献1参照)。 In recent years, an input device such as a touch switch has been used as a touch panel integrated with a display device such as a liquid crystal display panel in a mobile phone, a PDA, a notebook PC, an industrial display, or the like (for example, see Patent Document 1). .
前記タッチスイッチの一例として、静電容量方式のタッチスイッチは、ガラス基板などの透明基板の表面に電極となる導電膜パターン層が形成されており、指などが接触した位置座標を静電容量の変化により検出するものである。 As an example of the touch switch, a capacitive touch switch has a conductive film pattern layer that serves as an electrode on the surface of a transparent substrate such as a glass substrate. It detects by change.
一般に、このようなタッチスイッチに用いられるガラス基板には、イオン交換法などを用いた化学強化処理が施され、ガラスの強度が強化されている。前記イオン交換法は、ガラスをガラス転移点以下の温度域でアルカリ溶融塩に浸漬することにより、ガラス表面においてイオン半径の小さいアルカリイオン(例えば、LiイオンやNaイオン)をイオン半径の大きなイオン(例えば、Kイオン)に交換するものである。その結果、ガラス表面に所定の厚さの圧縮応力層を形成して、ガラス表面に存在する引張応力を圧縮応力に替えることにより、ガラスの強度を強化することができる。 In general, a glass substrate used in such a touch switch is subjected to a chemical strengthening treatment using an ion exchange method or the like, thereby strengthening the strength of the glass. In the ion exchange method, by immersing glass in an alkali molten salt at a temperature range below the glass transition point, alkali ions (for example, Li ions and Na ions) having a small ion radius on the glass surface are converted to ions having a large ion radius ( For example, K ions are exchanged. As a result, the strength of the glass can be strengthened by forming a compressive stress layer having a predetermined thickness on the glass surface and replacing the tensile stress existing on the glass surface with the compressive stress.
また、従来の前記ガラス基板の製造工程においては、通常、一枚の大きいガラス基板(以下、マザー基板という。)を切断して複数の個片のガラス基板を形成する。 Moreover, in the conventional manufacturing process of the said glass substrate, normally a large glass substrate (henceforth a mother substrate) is cut | disconnected, and a several piece glass substrate is formed.
ここで、一枚の大きいマザー基板から、化学強化処理が施されるとともに導電膜のパターン層が形成されたガラス基板を一連の工程により製造する場合、従来においては、まず、マザー基板を個片のガラス基板に切断した後、各ガラス基板について、それぞれ化学強化処理を施し、導電膜パターン層の形成を行うという手順がとられていた。 Here, when manufacturing a glass substrate on which a chemical strengthening process is performed and a pattern layer of a conductive film is formed from a single large mother substrate by a series of steps, conventionally, the mother substrate is first separated into individual pieces. After being cut into glass substrates, each glass substrate was subjected to a chemical strengthening treatment to form a conductive film pattern layer.
しかしながら、前記手順の場合、各ガラス基板について、それぞれ個別に化学強化処理を施し、導電膜のパターン層の形成を行う必要があるため、生産効率が悪いという問題があった。 However, in the case of the above procedure, there is a problem in that the production efficiency is poor because it is necessary to perform chemical strengthening treatment individually on each glass substrate and form a pattern layer of the conductive film.
そこで、生産効率を上げるためには、一枚の大きいマザー基板のままで、化学強化処理を施し、導電膜のパターン層の形成を行った後、個片のガラス基板に切断するという手順が考えられる。しかし、化学強化処理が施されたマザー基板を切断するには、ガラス表面の圧縮応力を取り除く力も必要となるため、切断が困難である。そのため、ガラス基板の切断面に傷や欠けが生じ、その傷や欠けが生じた部分をきっかけにガラスの破壊が生じやすくなり、結果的に、化学強化処理を施していないガラスよりも強度が低下してしまったり、ガラス基板の周縁部の直線性が得られず、均一な形状のガラス基板が形成されず、品質が低下してしまうなどの新たな問題が生じるおそれがある。 Therefore, in order to increase the production efficiency, a procedure is considered in which a large mother substrate is left as it is, and after chemical strengthening treatment is performed and a conductive film pattern layer is formed, it is cut into individual glass substrates. It is done. However, in order to cut the mother substrate that has been subjected to the chemical strengthening treatment, it is necessary to remove the compressive stress on the glass surface. Therefore, the cut surface of the glass substrate is scratched or chipped, and the glass is more likely to break due to the scratched or chipped portion, resulting in lower strength than the glass not subjected to chemical strengthening treatment. Or the linearity of the peripheral edge of the glass substrate may not be obtained, and a glass substrate having a uniform shape may not be formed, resulting in new problems such as deterioration in quality.
また、ガラス基板は、最終的には装置のケースへ組み込まれて使用されるが、その組み込みについては位置合わせも確実かつ容易にできることが望まれている。 In addition, the glass substrate is finally used by being incorporated into the case of the apparatus. However, it is desired that the glass substrate can be aligned reliably and easily.
本発明はこれらの点に鑑みてなされたものであり、生産効率の向上を図ることができ、かつ、均一な形状であってガラスの強度が強化されたガラス基板を製造することが可能なガラス基板の製造方法を提供することを第1の目的とし、さらには、ケースへの組み込みが容易なガラス基板の製造方法を提供することを第2の目的とする。 The present invention has been made in view of these points, and is capable of improving the production efficiency and capable of producing a glass substrate having a uniform shape and enhanced glass strength. A first object is to provide a method for manufacturing a substrate, and a second object is to provide a method for manufacturing a glass substrate that can be easily incorporated into a case.
前記の目的を解決するため、本発明の請求項1に記載のガラス基板の製造方法は、マザー基板に化学強化処理を施すことにより、表面に15〜50μmの厚さの圧縮応力層を形成し、前記マザー基板の少なくとも一方の面に所望の加工処理を行った後、前記マザー基板を仮想の切断線に沿って個片のガラス基板に切断することを特徴とする。
In order to solve the above-mentioned object, the glass substrate manufacturing method according to
本発明のガラス基板の製造方法によれば、ガラス表面に化学強化処理を所定の程度で施し、ガラス表面に付与する圧縮応力を適当な大きさにすることにより、化学強化処理後のマザー基板であっても、切断が容易となる。そのため、一枚の大きいマザー基板のままで、化学強化処理を施し、所望の加工処理を行った後、個片のガラス基板に切断するという手順をとることが可能となり、生産効率の向上を図ることができる。 According to the method for producing a glass substrate of the present invention, a chemical strengthening treatment is applied to a glass surface to a predetermined degree, and a compressive stress applied to the glass surface is set to an appropriate magnitude. Even if it exists, cutting | disconnection becomes easy. For this reason, it is possible to take a procedure in which a single large mother substrate is left as it is, and a chemical strengthening process is performed, a desired processing process is performed, and then a piece of glass substrate is cut, thereby improving production efficiency. be able to.
また、ガラス基板の切断面には欠けや傷が発生することなく、滑らかな切断面が得られるため、従来のように、切断面に発生した欠けや傷によってガラスが割れやすくなることがなく、化学強化処理により強化されたガラスの強度を保つことができる。さらに、ガラス基板の周縁部の直線性が得られるため、均一な形状であって、ガラスの強度が強化されたガラス基板を製造することが可能である。 In addition, since the cut surface of the glass substrate is not chipped or scratched and a smooth cut surface is obtained, the glass does not easily break due to the chipped or scratched on the cut surface, as in the past, The strength of the glass strengthened by the chemical strengthening treatment can be maintained. Furthermore, since the linearity of the peripheral part of a glass substrate is obtained, it is possible to manufacture a glass substrate having a uniform shape and enhanced glass strength.
また、請求項2に記載のガラス基板の製造方法は、請求項1に記載のガラス基板の製造方法において、前記圧縮応力層を15〜25μmに形成し、前記マザー基板をレーザーを用いて個片のガラス基板に切断することを特徴とする。
The glass substrate manufacturing method according to claim 2 is the glass substrate manufacturing method according to
特に、マザー基板をレーザーを用いて個片のガラス基板に切断する場合には、前記圧縮応力層の厚さを15〜25μmとすることが好ましい。 In particular, when the mother substrate is cut into individual glass substrates using a laser, the thickness of the compressive stress layer is preferably 15 to 25 μm.
さらに、請求項3に記載のガラス基板の製造方法は、請求項1または2に記載のガラス基板の製造方法において、前記マザー基板に化学強化処理を施す前に、マザー基板の少なくとも一方の面に、前記仮想の切断線を位置させる溝部を形成することを特徴とする。
Furthermore, the method for manufacturing a glass substrate according to
マザー基板に前記溝部を形成することで、その部分の板厚は薄くなる。したがって、前記溝部から切断することで、マザー基板をより容易に切断することができる。 By forming the groove on the mother substrate, the thickness of that portion is reduced. Therefore, the mother substrate can be more easily cut by cutting from the groove.
さらに、請求項4に記載のガラス基板の製造方法は、請求項3に記載のガラス基板の製造方法において、前記溝部は断面を矩形状に形成されており、その平底部の幅方向中央を前記仮想の切断線として切断されることを特徴とする。
Furthermore, the manufacturing method of the glass substrate of
後述するように、マザー基板の表面上に形成された前記溝部の中央に沿って切断することにより、得られたガラス基板の外周部には、厚さ方向の段差部を形成することができる。このように段差部が形成されたガラス基板は、このガラス基板を配設する凹部が形成された装置のケースに、前記段差部を係止させることにより、ガラス基板をきちんと位置決めして配置させることができるため、ケースへの組み込みが容易となる。 As described later, by cutting along the center of the groove formed on the surface of the mother substrate, a step portion in the thickness direction can be formed on the outer peripheral portion of the obtained glass substrate. The glass substrate on which the stepped portion is formed in this way is positioned and arranged properly by locking the stepped portion to the case of the apparatus in which the recess for arranging the glass substrate is formed. Can be easily incorporated into the case.
また、請求項5に記載のガラス基板の製造方法は、請求項3または4に記載のガラス基板の製造方法において、前記所望の加工処理が前記マザー基板の一方の面に形成される透明導電膜のパターニングであり、前記マザー基板の他方の面に前記溝部が形成されることを特徴とする。装置のケースに段差部を係止させてガラス基板を組み込むとともに、ガラス基板に形成される透明電極を適切に保護することができる。
The glass substrate manufacturing method according to
本発明のガラス基板の製造方法によれば、一枚の大きいマザー基板のままで、化学強化処理を施し、所望の加工処理を行うことができるため、従来のように、各ガラス基板について、それぞれ個別に処理する必要がなく、生産効率を向上させることができる。 According to the method for producing a glass substrate of the present invention, it is possible to perform a chemical strengthening process and perform a desired processing process while maintaining a single large mother substrate. There is no need to process them individually, and production efficiency can be improved.
また、ガラス基板の切断面には欠けや傷が発生することなく、滑らかな切断面が得られるため、従来のように、切断面に発生した欠けや傷によってガラスが割れやすくなることがなく、化学強化処理により強化されたガラスの強度を保つことができる。さらに、ガラス基板の周縁部の直線性が得られるため、均一な形状であって、ガラスの強度が強化されたガラス基板を形成することが可能である。 In addition, since the cut surface of the glass substrate is not chipped or scratched and a smooth cut surface is obtained, the glass does not easily break due to the chipped or scratched on the cut surface, as in the past, The strength of the glass strengthened by the chemical strengthening treatment can be maintained. Furthermore, since the linearity of the peripheral part of a glass substrate is obtained, it is possible to form a glass substrate having a uniform shape and enhanced glass strength.
さらに、本発明のガラス基板の製造方法によれば、外周部に厚さ方向の段差部が形成された複数の個片のガラス基板が得られる。このように段差部が形成されたガラス基板は、このガラス基板を配設する凹部が形成された装置のケースに、段差部を係止させることにより、ガラス基板をきちんと位置決めして配置させることができるため、ケースへの組み込みが容易となる。 Furthermore, according to the manufacturing method of the glass substrate of this invention, the glass substrate of the several piece by which the level | step difference part of the thickness direction was formed in the outer peripheral part is obtained. The glass substrate with the stepped portion formed in this way can be positioned and placed properly by locking the stepped portion in the case of the device in which the concave portion for arranging the glass substrate is formed. This makes it easy to incorporate it into the case.
以下、本発明のガラス基板の製造方法について、図面に示す実施形態により説明する。 Hereinafter, the manufacturing method of the glass substrate of this invention is demonstrated by embodiment shown on drawing.
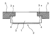
本発明の製造方法により製造されるガラス基板1は、静電容量方式のタッチスイッチ2を構成し、例えば、図1に示すように、開口となる凸部3aが形成された入力装置のケース3の最上面に面一となるように配設されている。具体的には、ガラス基板1の上面における4辺には、タッチスイッチ2として用いられる面内よりも肉薄とされたフランジ状の段差部4が形成されている。そして、ガラス基板1は、前記タッチスイッチ2として用いられる上面(図1における上面)を凸部3aに嵌合させるとともに、前記段差部4をケース3に係止することにより、ケース3の最上面と面一に位置決めして配置されるようになっている。また、ガラス基板1の背面(図1における下面)には、指などが接触した位置座標を静電容量の変化により検出するための電極となる導電膜パターン層5が形成されている。また、必要に応じて、ケース3内に液晶パネルやバックライトユニットなどを収容し、タッチパネルとして用いてもよい。
A
なお、本発明の製造方法により製造されるガラス基板1としては、上記のようなタッチスイッチ2に限らず、例えば、ガラス基板1の両面に導電膜からなる複数本のX電極およびY電極が設けられ、指と導電膜との間の静電容量の変化を捉えて位置を検出するものや、その他、抵抗膜方式のタッチスイッチ2などにも使用することができる。
The
以下、本実施形態のガラス基板1の製造方法について、図2の工程図を用いて説明する。
Hereinafter, the manufacturing method of the
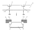
まず、マザー基板6の一方の面に、外周部に段差部4が形成された個片のガラス基板1を複数枚切り出すための溝部7を形成する(ステップST1)。なお、本実施形態においては、マザー基板6上に各ガラス基板1の導電膜のパターン層5を一括して形成し、その後、図3に示すように、格子状とされた縦横4本の仮想切断線10に沿ってマザー基板6を分断することで、一枚の大きいマザー基板6から縦横3×3に配列された計9枚のガラス基板1を分断することを想定している。
First, on one surface of the
前記溝部7の断面は、図4に示すように、所定の幅を有する矩形状となっている。また、溝部7の幅は、最終的なガラス基板1の外周部に形成される段差部4の幅の2倍となっている。すなわち、溝部7の断面形状は、後述するマザー基板6の仮想切断線10を対称軸として、左右対称形となっている。また、溝部7の深さは、マザー基板6自体の板厚の1/2以下となっている。本実施形態においては、例えば、板厚が0.3〜1.1mmのマザー基板6を用いており、溝部7の深さは0.1〜0.5mmとなっている。したがって、溝部7が形成された部分の板厚は、マザー基板6自体の板厚の1/2以上となっているため、ガラスの強度を確保することができる。また、溝部7の板厚はケース3の凸部3aの厚さ寸法より大きな数値とすることが好ましい。ケース3の凸部3aより小さな値とすると、ケース3の最上面とガラス基板1の上面とが面一の関係とならないことがある。
As shown in FIG. 4, the cross section of the
このような溝部7の形成方法としては、研削ブレードやレーザーなどを用いた研削法、フォトリソグラフィー法によりマスキングを施した後に化学エッチングを行う方法、またはこれらの組み合わせを用いることができる。化学エッチングを用いる場合には、後述するように、マスキング手段を組み合わせて行う。
As a method of forming such a
また、溝部7の板厚はケース3の凸部3aの厚さ寸法より大きな数値とすることが好ましい。ケース3の凸部3aより小さな値とすると、ケース3の最上面とガラス基板の上面とが面一の関係とならないことがある。
The plate thickness of the
なお、溝部7の断面形状は、上記のような矩形に限定されず、例えば、化学エッチングを行った場合、等方性のエッチングにより、矩形の角部分が面取りされたような略U字状となるが、このような形状も本発明の一態様に含まれる。
In addition, the cross-sectional shape of the
次に、溝部7を形成したマザー基板6にイオン交換法を用いた化学強化処理を施す(ステップST2)。具体的には、前記マザー基板6を所定の温度域でアルカリ溶融塩に浸漬することにより、ガラス表面に所定の厚さの圧縮応力層を形成する。これにより、ガラス表面に存在する引張応力を圧縮応力に替えることにより、ガラスの強度を強化することができる。このとき、本実施形態においては、アルカリ溶融塩の温度や浸漬させる時間を調整することで、圧縮応力層の厚さが15〜50μmとなるように処理する。また、特に、後述するマザー基板6の切断をレーザーを用いて行う場合には、圧縮応力層の厚さが15〜25μmとなるように処理する。この処理によって、溝部7を含め、マザー基板6の表・裏面が化学強化される。
Next, a chemical strengthening process using an ion exchange method is performed on the
次いで、化学強化処理を行ったマザー基板6を洗浄後、マザー基板6の溝部7が形成されている反対の面に、指などの接触位置を静電容量の変化により検出するための電極となる導電膜パターン層5を形成する。具体的には、まず、マザー基板6の表面にスパッタ法、真空蒸着法、CVD法などを用いて、例えば、ITO(酸化インジウム錫)、ZnO(酸化亜鉛)などからなる透明導電膜を成膜する。その後、透明導電膜の表面にフォトレジストで所定のパターンを形成し、その露出部分に対して透明導電膜のエッチングを行うことで、パターニングを行う(ステップST3)。
Next, after cleaning the
次に、マザー基板6の溝部7が形成された面と反対側の面(図4における下面)から、溝部7の平底部の幅方向中央である仮想切断線10に超硬ホイールカッターを挿入し、格子状とされた縦横4本の仮想切断線10に沿ってマザー基板6を分断する(ステップST4)。なお、切断方法としては、超硬ホイールカッターの他、レーザーなどを用いることができる。これにより、その外周部に厚さ方向の段差部4が形成された、所望の形状のガラス基板1が複数枚得られる。なお、レーザー切断はエキシマレーザ、CO2レーザー等を挙げられる。
Next, a carbide wheel cutter is inserted into a
なお、マザー基板6の切断処理の後に、必要に応じて、得られたガラス基板1の面取り加工を行ってもよい。
In addition, you may chamfer the obtained
以上の工程により、化学強化処理によりガラス表面に所定の厚さの圧縮応力層が形成され、一方の面に電極となる導電膜パターン層5が形成されるとともに、外周部に厚さ方向の段差部4が形成された、所望の形状のガラス基板1を得ることができる。このガラス基板1を入力装置のケース3に組み込んで使用する場合には、図1に示すように、ガラス基板1のタッチスイッチ2として用いられる上面(図1における上面)をケース3の凸部3aに嵌合させるとともに、段差部4をケース3に係止することにより、ケース3の最上面と面一に位置決めして配置する。
Through the above steps, a compressive stress layer having a predetermined thickness is formed on the glass surface by the chemical strengthening treatment, and the conductive
本実施形態のガラス基板1の製造方法においては、化学強化処理により形成する圧縮応力層の厚さを15〜50μmとし、特に、マザー基板6の切断処理をレーザーを用いて行う場合には15〜25μmとして、ガラス表面に付与する圧縮応力を適当な大きさにすることにより、化学強化処理後のマザー基板6であっても、切断が容易となる。そのため、一枚の大きいマザー基板6のままで、化学強化処理を施し、導電膜パターン層5の形成を行うことが可能となり、従来のように、各ガラス基板1について、それぞれ個別に処理する必要がなく、生産効率を向上させることができる。
In the manufacturing method of the
また、ガラス基板1の切断面には欠けや傷が発生することなく、滑らかな切断面が得られるため、従来のように、切断面に発生した欠けや傷によってガラスが割れやすくなることがなく、化学強化処理により強化されたガラスの強度を保つことができる。さらに、ガラス基板1の周縁部の直線性が得られるため、均一な形状であって、ガラスの強度が強化されたガラス基板1を製造することが可能である。
In addition, since the cut surface of the
また、本実施形態のガラス基板1の製造方法によれば、その上面における4辺に、厚さ方向においてタッチスイッチ2として用いられる面内よりも肉薄とされたフランジ状の段差部4が形成された個片のガラス基板1を得ることができる。したがって、ガラス基板1は、この段差部4を凸部3aが形成された入力装置のケース3の係止部に係止させることにより、入力装置のケース3の最上面に面一に位置決めして配置させることができるため、組み立てが容易となる。
Moreover, according to the manufacturing method of the
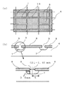
まず、1.1mmの厚さのソーダライムガラスからなるマザー基板6上に、外周部に段差部4が形成された個片のガラス基板1を複数枚切り出すための溝部7を化学エッチングによって形成する。これに先だって、各ガラス基板1のタッチスイッチ2として用いる面内を保護するため、マザー基板6上にレジスト8のパターンを形成する。なお、本実施例においては、図5(a)に示すように、格子状とされた縦横4本の仮想切断線10に沿ってマザー基板6を分断することで、一枚の大きいマザー基板6から縦横3×3に配列された計9枚のガラス基板1を分断することを想定している。
First, on a
前記レジスト8には、図5(b)に示すように、断面視において開口部9が形成されている。ここで、本実施例においては、最終的なガラス基板1の外周部に形成する段差部4の幅をL、深さを0.5mmに設定する。したがって、前記開口部9の幅は、前記段差部4の幅Lの2倍(2L)よりも、段差部4の深さ0.5mmの2倍(1.0mm)だけ短い長さ、すなわち(L−1.0)mmとなっている。
As shown in FIG. 5B, the resist 8 has an
このようにレジスト8のパターンを形成した後、フッ酸エッチング液を用いてその深さが0.5mmとなるまで化学エッチングを行い、溝部7を形成する。その後、マザー基板6からレジスト8を剥離し、洗浄する。
After the pattern of the resist 8 is formed in this way, chemical etching is performed using a hydrofluoric acid etching solution until the depth becomes 0.5 mm, thereby forming the
次に、マザー基板6を所定の温度域で硝酸カリウムの溶融塩に浸漬し、ガラス表面においてソーダライムガラスに含まれるNaイオンを溶融塩中のKイオンに交換することにより、ガラス表面に圧縮応力層を形成する。このとき、硝酸カリウムの溶融塩の温度と、マザー基板6を浸漬する時間を調整することにより、前記圧縮応力層の厚さが30μmとなるように処理する。
Next, the
次に、公知の方法にて、マザー基板6の溝部7が形成された面と反対の面に、ITOからなる透明導電膜を成膜し、フォトリソ法にて電極となる導電膜パターン層5をパターニングする。
Next, a transparent conductive film made of ITO is formed on the surface of the
その後、マザー基板6の溝部7が形成された面と反対の面から、溝部7の幅方向の中央に超硬ホイールカッターを挿入し、マザー基板6の平面視における仮想切断線10のパターン形状に沿って切断する。これにより、外周部に段差部4が形成された、所望の形状の個片のガラス基板1を複数枚得る。
Thereafter, a carbide wheel cutter is inserted into the center of the
次に、このガラス基板1の強度を測定した。具体的には、ガラス基板1を下方から四辺のみを支持するような台の上に載せ、ガラス基板1の中央の一点を押え付け、ガラス基板1が割れたときに加えた荷重を測定した。
Next, the strength of the
その際、比較例(以下、「比較例1」という。)として、上記のような化学強化処理を行わず、それ以外の処理については実施例1と同様に行ったものを用意し、このガラス基板1の強度を基準として相対値を求めた。
At that time, as a comparative example (hereinafter referred to as “Comparative Example 1”), the above-described chemical strengthening treatment was not performed, and the other treatments were performed in the same manner as in Example 1, and this glass was prepared. A relative value was obtained based on the strength of the
その結果、表1に示すように、実施例1のガラス基板1の強度は、化学強化処理を行っていないガラス基板1(比較例1)と比べて2倍の強度となった。これにより、マザー基板6のままで、化学強化処理を施し、導電膜パターン層5の形成を行った後、個片のガラス基板1に切断した場合であっても、化学強化処理を行っていないガラス基板1よりも、ガラスの強度の向上させることができることが分かった。
As a result, as shown in Table 1, the strength of the
溝部7の加工方法として、実施例1のような化学エッチングの代わりに、必要な幅を持った研削ブレードを用いた研削法により行い、それ以外の処理については実施例1と同様に行った。その結果、マザー基板6を容易に切断することができ、各ガラス基板1の周縁部には直線性が得られた。また、複数のガラス基板1について再現性が得られた。
As a processing method of the
溝部7の加工方法として、実施例1のような化学エッチングの代わりに、まず、必要な幅を持った研磨ブレードを用いた研削法により深さが0.4mmの溝部7を形成した後、さらに、レジスト形成および化学エッチングを行い、最終的に深さが0.5mmの溝部7を形成した。その結果、マザー基板6を容易に切断することができ、各ガラス基板1の周縁部の直線性が得られた。また、複数のガラス基板1について再現性が得られた。
As a processing method of the
また、他の実施例として、前述した実施例1と同様の処理において、圧縮応力層の厚さを変更したもの(実施例4:50μm、実施例5:20μm)や、マザー基板6の切断処理を超硬ホイールカッターの代わりにレーザーを用いて行い、圧縮応力層の厚さを変更したもの(実施例6:25μm、実施例7:15μm)を形成し、実施例1と同様にガラスの強度を測定した。表1にこれらの結果をまとめる。
Further, as other examples, in the same process as the above-described example 1, the thickness of the compressive stress layer is changed (example 4: 50 μm, example 5: 20 μm), and the
表1に示すように、化学強化処理により形成する圧縮応力層の厚さを15〜50μmとした場合については、ガラス基板1の周縁部の直線性が得られ、複数のガラス基板1について再現性が得られた。また、レーザーを用いてマザー基板6の切断を行った場合については、圧縮応力層の厚さを15〜25μmとしたときには、ガラス基板1の周縁部の直線性が得られ、複数のガラス基板1について再現性が得られた。また、これらのガラス基板は、化学強化処理を行わないもの(比較例1)と比べて、ガラスの強度が強化された。
As shown in Table 1, in the case where the thickness of the compressive stress layer formed by the chemical strengthening treatment is 15 to 50 μm, the linearity of the peripheral portion of the
なお、レーザーを用いて切断処理を行った場合の比較例(以下、「比較例2」という。)として、圧縮応力層の厚さを30μmとしてガラス基板1を形成した。この場合、マザー基板6を切断することは可能であるが、ガラス基板1の外周面の直線性は得られず、再現性も得られなかった。
In addition, the
本発明は、上記実施形態に限定されるものではなく、必要に応じて変更することができる。 The present invention is not limited to the above embodiment, and can be changed as necessary.
例えば、上記実施形態においては、上面における4辺に段差部4が形成されたガラス基板1を複数枚得るようにしたが、図2のステップST1において、マザー基板1の一方の面に形成する溝部7のパターン形状を縦方向(横方向に)並列した複数のライン状とすることで、上面における2辺に段差部4が形成されたガラス基板1を複数枚得るようにしてもよい。この場合、ガラス基板1は、ガラス基板1のタッチスイッチ2として用いられる上面をケース3の凸部3aに嵌合させるとともに、背面における2辺に形成された段差部4をケース3に係止することにより、ケース3の最上面に面一に位置決めして配置させる。
For example, in the above embodiment, a plurality of
また、マザー基板6の一方または両方の面に形成する電極としては、上述したような導電膜のパターン層5に限定されない。さらに、図2のステップST3において、導電膜の成膜およびパターニングを行い、導電膜のパターン層5を形成する代わりに、別の処理を行ってもよい。
Further, the electrodes formed on one or both surfaces of the
また、前記溝部7は、マザー基板6を切断するためのいわゆるスクライブ溝として利用してもよい。すなわち、溝部7を形成することで、その部分のマザー基板6の板厚を薄くし、切断を容易にすることができる。この場合には、溝部7の断面形状は、前述したような矩形の代わりに、例えば、V字状であってもよい。
The
1 ガラス基板
2 タッチスイッチ
3 ケース
3a 凹部
4 段差部
5 導電膜パターン層
6 マザー基板
7 溝部
8 レジスト
9 開口部
10 仮想切断線
DESCRIPTION OF
Claims (5)
Priority Applications (1)
| Application Number | Priority Date | Filing Date | Title |
|---|---|---|---|
| JP2009296810A JP5541623B2 (en) | 2009-12-28 | 2009-12-28 | Manufacturing method of glass substrate |
Applications Claiming Priority (1)
| Application Number | Priority Date | Filing Date | Title |
|---|---|---|---|
| JP2009296810A JP5541623B2 (en) | 2009-12-28 | 2009-12-28 | Manufacturing method of glass substrate |
Publications (2)
| Publication Number | Publication Date |
|---|---|
| JP2011136855A true JP2011136855A (en) | 2011-07-14 |
| JP5541623B2 JP5541623B2 (en) | 2014-07-09 |
Family
ID=44348681
Family Applications (1)
| Application Number | Title | Priority Date | Filing Date |
|---|---|---|---|
| JP2009296810A Expired - Fee Related JP5541623B2 (en) | 2009-12-28 | 2009-12-28 | Manufacturing method of glass substrate |
Country Status (1)
| Country | Link |
|---|---|
| JP (1) | JP5541623B2 (en) |
Cited By (25)
| Publication number | Priority date | Publication date | Assignee | Title |
|---|---|---|---|---|
| KR101144264B1 (en) * | 2011-10-07 | 2012-05-11 | 전선화 | Strengthened glass window manufacturing method for display and strengthened glass window using the same |
| JP4932059B1 (en) * | 2011-12-16 | 2012-05-16 | 株式会社ミクロ技術研究所 | Tempered glass, touch panel, and method of manufacturing tempered glass |
| CN102508586A (en) * | 2011-10-26 | 2012-06-20 | 胡伟 | Capacitive touch screen glass panel and manufacture method thereof |
| CN102887632A (en) * | 2011-07-20 | 2013-01-23 | 群康科技(深圳)有限公司 | Glass substrate, manufacturing method thereof and touch control device provided with glass substrate |
| CN102923939A (en) * | 2012-09-17 | 2013-02-13 | 江西沃格光电科技有限公司 | Method for cutting tempered glass |
| WO2013031548A1 (en) * | 2011-08-29 | 2013-03-07 | 旭硝子株式会社 | Glass plate |
| CN102992599A (en) * | 2011-09-09 | 2013-03-27 | 东莞万士达液晶显示器有限公司 | Strengthened glass unit, manufacturing method thereof, and cover plate having strengthened glass unit |
| CN103019455A (en) * | 2012-12-29 | 2013-04-03 | 苏州市智诚光学科技有限公司 | Process for manufacturing glass touchpad used in notebook computer |
| CN103043891A (en) * | 2012-12-26 | 2013-04-17 | 东莞宇龙通信科技有限公司 | Glass manufacturing process |
| CN103105961A (en) * | 2011-11-09 | 2013-05-15 | 宸鸿科技(厦门)有限公司 | Manufacture method of touch-control panel |
| US20130293485A1 (en) * | 2012-05-07 | 2013-11-07 | Samsung Electro-Mechanics Co., Ltd. | Touch panel and method of manufacturing the same |
| JP2013245153A (en) * | 2012-05-29 | 2013-12-09 | Hamamatsu Photonics Kk | Method for cutting tempered glass plate |
| CN103543890A (en) * | 2012-07-17 | 2014-01-29 | 沈虎 | Manufacturing technology of monolayer capacitive touch screen and processing method of electronic device with touch screen |
| JP2014069995A (en) * | 2012-09-28 | 2014-04-21 | Kiso Micro Kk | Method for manufacturing glass substrate |
| CN103838443A (en) * | 2012-11-26 | 2014-06-04 | 比亚迪股份有限公司 | Manufacturing method of capacitive screen |
| CN104045227A (en) * | 2013-03-13 | 2014-09-17 | 得八益十意恩至股份有限公司 | Method for manufacturing reinforced glass plate for display device and reinforced glass plate |
| CN104166485A (en) * | 2013-05-17 | 2014-11-26 | 袁博 | Monolithic substrate capacitive touch screen and manufacturing method thereof |
| KR101469827B1 (en) * | 2013-02-13 | 2014-12-18 | 주식회사 블루네트웍스 | Method for manufacturing glass substrate for touch panel |
| KR20160014571A (en) * | 2012-11-29 | 2016-02-11 | 코닝 인코포레이티드 | Methods of fabricating glass articles by laser damage and etching |
| CN105549784A (en) * | 2015-12-23 | 2016-05-04 | 苏州安洁科技股份有限公司 | Touch panel and corresponding machining method |
| WO2017181741A1 (en) * | 2016-04-20 | 2017-10-26 | 京东方科技集团股份有限公司 | Method for manufacturing touch control substrate, touch control substrate and touch control display screen |
| JP2018509365A (en) * | 2015-02-27 | 2018-04-05 | コーニング インコーポレイテッド | Method for manufacturing channels in glass articles by laser damage and etching and articles made thereby |
| KR20180057730A (en) * | 2011-05-13 | 2018-05-30 | 니폰 덴키 가라스 가부시키가이샤 | Laminate, method for cutting laminate, method for processing laminate, and device and method for cutting brittle plate-like object |
| EP4334260A4 (en) * | 2021-05-06 | 2025-01-22 | Schott Ag | ULTRA-THIN GLASSES WITH HIGH EDGE IMPACT STRENGTH |
| US12538647B2 (en) | 2022-02-21 | 2026-01-27 | Samsung Display Co., Ltd. | Method of manufacturing display apparatus and display apparatus |
Citations (5)
| Publication number | Priority date | Publication date | Assignee | Title |
|---|---|---|---|---|
| JP2001192240A (en) * | 2000-10-30 | 2001-07-17 | Seiko Instruments Inc | Display device and method for manufacturing the same |
| JP2004083378A (en) * | 2002-08-29 | 2004-03-18 | Central Glass Co Ltd | Chemically strengthened glass |
| JP2004131314A (en) * | 2002-10-09 | 2004-04-30 | Asahi Glass Co Ltd | Chemically tempered glass substrate with transparent conductive film and method for producing the same |
| WO2008108332A1 (en) * | 2007-03-02 | 2008-09-12 | Nippon Electric Glass Co., Ltd. | Reinforced plate glass and method for manufacturing the same |
| JP2009084076A (en) * | 2007-09-27 | 2009-04-23 | Nippon Electric Glass Co Ltd | Reinforced glass and reinforced glass substrate, and method for producing the same |
-
2009
- 2009-12-28 JP JP2009296810A patent/JP5541623B2/en not_active Expired - Fee Related
Patent Citations (5)
| Publication number | Priority date | Publication date | Assignee | Title |
|---|---|---|---|---|
| JP2001192240A (en) * | 2000-10-30 | 2001-07-17 | Seiko Instruments Inc | Display device and method for manufacturing the same |
| JP2004083378A (en) * | 2002-08-29 | 2004-03-18 | Central Glass Co Ltd | Chemically strengthened glass |
| JP2004131314A (en) * | 2002-10-09 | 2004-04-30 | Asahi Glass Co Ltd | Chemically tempered glass substrate with transparent conductive film and method for producing the same |
| WO2008108332A1 (en) * | 2007-03-02 | 2008-09-12 | Nippon Electric Glass Co., Ltd. | Reinforced plate glass and method for manufacturing the same |
| JP2009084076A (en) * | 2007-09-27 | 2009-04-23 | Nippon Electric Glass Co Ltd | Reinforced glass and reinforced glass substrate, and method for producing the same |
Cited By (42)
| Publication number | Priority date | Publication date | Assignee | Title |
|---|---|---|---|---|
| KR20180057730A (en) * | 2011-05-13 | 2018-05-30 | 니폰 덴키 가라스 가부시키가이샤 | Laminate, method for cutting laminate, method for processing laminate, and device and method for cutting brittle plate-like object |
| KR101941483B1 (en) | 2011-05-13 | 2019-01-23 | 니폰 덴키 가라스 가부시키가이샤 | Laminate, method for cutting laminate, method for processing laminate, and device and method for cutting brittle plate-like object |
| CN102887632A (en) * | 2011-07-20 | 2013-01-23 | 群康科技(深圳)有限公司 | Glass substrate, manufacturing method thereof and touch control device provided with glass substrate |
| JP5382280B2 (en) * | 2011-08-29 | 2014-01-08 | 旭硝子株式会社 | Glass plate |
| CN103764586B (en) * | 2011-08-29 | 2016-12-14 | 旭硝子株式会社 | Glass plate |
| CN103764586A (en) * | 2011-08-29 | 2014-04-30 | 旭硝子株式会社 | Glass plate |
| KR102132175B1 (en) * | 2011-08-29 | 2020-07-09 | 에이지씨 가부시키가이샤 | Glass plate |
| WO2013031548A1 (en) * | 2011-08-29 | 2013-03-07 | 旭硝子株式会社 | Glass plate |
| KR20190068636A (en) * | 2011-08-29 | 2019-06-18 | 에이지씨 가부시키가이샤 | Glass plate |
| CN102992599A (en) * | 2011-09-09 | 2013-03-27 | 东莞万士达液晶显示器有限公司 | Strengthened glass unit, manufacturing method thereof, and cover plate having strengthened glass unit |
| KR101144264B1 (en) * | 2011-10-07 | 2012-05-11 | 전선화 | Strengthened glass window manufacturing method for display and strengthened glass window using the same |
| CN102508586A (en) * | 2011-10-26 | 2012-06-20 | 胡伟 | Capacitive touch screen glass panel and manufacture method thereof |
| KR101474785B1 (en) * | 2011-11-09 | 2014-12-19 | 티피케이 터치 솔루션즈 (씨아먼) 인코포레이티드 | Method of manufacturing a touch panel |
| CN103105961A (en) * | 2011-11-09 | 2013-05-15 | 宸鸿科技(厦门)有限公司 | Manufacture method of touch-control panel |
| TWI478881B (en) * | 2011-11-09 | 2015-04-01 | Tpk Touch Solutions Xiamen Inc | Method of manufacturing a touch panel |
| CN103159411A (en) * | 2011-12-16 | 2013-06-19 | 株式会社微龙技术研究所 | Strengthened glass, touch panel and method of manufacturing strengthened glass |
| WO2013088755A1 (en) * | 2011-12-16 | 2013-06-20 | 株式会社ミクロ技術研究所 | High-strength glass, touch panel, and method for manufacturing high-strength glass |
| EP2604584A1 (en) * | 2011-12-16 | 2013-06-19 | Micro Technology Co. Ltd. | Strengthened glass, touch panel and method of manufacturing strengthened glass |
| JP4932059B1 (en) * | 2011-12-16 | 2012-05-16 | 株式会社ミクロ技術研究所 | Tempered glass, touch panel, and method of manufacturing tempered glass |
| US20130293485A1 (en) * | 2012-05-07 | 2013-11-07 | Samsung Electro-Mechanics Co., Ltd. | Touch panel and method of manufacturing the same |
| KR102082672B1 (en) | 2012-05-29 | 2020-03-02 | 하마마츠 포토닉스 가부시키가이샤 | Method for cutting toughened glass plate |
| TWI600624B (en) * | 2012-05-29 | 2017-10-01 | 旭硝子股份有限公司 | Reinforced glass cutting method |
| KR20150021507A (en) * | 2012-05-29 | 2015-03-02 | 하마마츠 포토닉스 가부시키가이샤 | Method for cutting toughened glass plate |
| JP2013245153A (en) * | 2012-05-29 | 2013-12-09 | Hamamatsu Photonics Kk | Method for cutting tempered glass plate |
| CN103543890B (en) * | 2012-07-17 | 2016-12-28 | 沈虎 | Monolayer capacitive touch screen manufacture method and use the electronic equipment processing method of this touch screen |
| CN103543890A (en) * | 2012-07-17 | 2014-01-29 | 沈虎 | Manufacturing technology of monolayer capacitive touch screen and processing method of electronic device with touch screen |
| CN102923939A (en) * | 2012-09-17 | 2013-02-13 | 江西沃格光电科技有限公司 | Method for cutting tempered glass |
| JP2014069995A (en) * | 2012-09-28 | 2014-04-21 | Kiso Micro Kk | Method for manufacturing glass substrate |
| CN103838443A (en) * | 2012-11-26 | 2014-06-04 | 比亚迪股份有限公司 | Manufacturing method of capacitive screen |
| KR20160014571A (en) * | 2012-11-29 | 2016-02-11 | 코닝 인코포레이티드 | Methods of fabricating glass articles by laser damage and etching |
| JP2016506351A (en) * | 2012-11-29 | 2016-03-03 | コーニング インコーポレイテッド | Method for manufacturing glass articles by laser damage and etching |
| KR102157750B1 (en) * | 2012-11-29 | 2020-09-21 | 코닝 인코포레이티드 | Methods of fabricating glass articles by laser damage and etching |
| CN103043891A (en) * | 2012-12-26 | 2013-04-17 | 东莞宇龙通信科技有限公司 | Glass manufacturing process |
| CN103019455A (en) * | 2012-12-29 | 2013-04-03 | 苏州市智诚光学科技有限公司 | Process for manufacturing glass touchpad used in notebook computer |
| KR101469827B1 (en) * | 2013-02-13 | 2014-12-18 | 주식회사 블루네트웍스 | Method for manufacturing glass substrate for touch panel |
| CN104045227A (en) * | 2013-03-13 | 2014-09-17 | 得八益十意恩至股份有限公司 | Method for manufacturing reinforced glass plate for display device and reinforced glass plate |
| CN104166485A (en) * | 2013-05-17 | 2014-11-26 | 袁博 | Monolithic substrate capacitive touch screen and manufacturing method thereof |
| JP2018509365A (en) * | 2015-02-27 | 2018-04-05 | コーニング インコーポレイテッド | Method for manufacturing channels in glass articles by laser damage and etching and articles made thereby |
| CN105549784A (en) * | 2015-12-23 | 2016-05-04 | 苏州安洁科技股份有限公司 | Touch panel and corresponding machining method |
| WO2017181741A1 (en) * | 2016-04-20 | 2017-10-26 | 京东方科技集团股份有限公司 | Method for manufacturing touch control substrate, touch control substrate and touch control display screen |
| EP4334260A4 (en) * | 2021-05-06 | 2025-01-22 | Schott Ag | ULTRA-THIN GLASSES WITH HIGH EDGE IMPACT STRENGTH |
| US12538647B2 (en) | 2022-02-21 | 2026-01-27 | Samsung Display Co., Ltd. | Method of manufacturing display apparatus and display apparatus |
Also Published As
| Publication number | Publication date |
|---|---|
| JP5541623B2 (en) | 2014-07-09 |
Similar Documents
| Publication | Publication Date | Title |
|---|---|---|
| JP5541623B2 (en) | Manufacturing method of glass substrate | |
| JP5649592B2 (en) | Manufacturing method of glass substrate of cover glass for portable electronic device, glass substrate of cover glass for portable electronic device, and portable electronic device | |
| TWI503292B (en) | Glass substrate for protective glass for mobile electronic devices, image display device for mobile electronic device, mobile electronic device, and glass substrate for protective glass for mobile electronic device | |
| JP5448217B2 (en) | Tempered plate glass and manufacturing method thereof | |
| KR101895591B1 (en) | Glass substrate of cover glass for mobile electronics device, image display apparatus for mobile electronics device, mobile electronics device, manufacturing method of glass substrate of cover glass for mobile electronics device | |
| JP2008007360A (en) | Mother glass substrate, glass substrate and method for manufacturing the glass substrate | |
| EP2755926B1 (en) | Cover glass for electronic devices | |
| JP6313391B2 (en) | Glass substrate, cover glass for electronic device, and method for manufacturing glass substrate | |
| KR20130111269A (en) | Method for cutting tempered glass | |
| JP2008007384A (en) | Method for manufacturing glass substrate | |
| CN103713773A (en) | Touch device, touch display device and organic light emitting diode display device | |
| KR20180025383A (en) | Cover window, display device including a cover window, and method of manufacturing a cover window | |
| KR101757927B1 (en) | Window panel and method of fabricating of the same, touch screen panel and method of fabricating of the same | |
| JP2014125399A (en) | Method for producing reinforced glass substrate for forming touch panel | |
| KR20120010201A (en) | Manufacturing method of display panel and display panel | |
| CN102992599A (en) | Strengthened glass unit, manufacturing method thereof, and cover plate having strengthened glass unit | |
| JP2014133691A (en) | Manufacturing method of glass substrate for wiring equipped with via hole | |
| JP2013241291A (en) | Method for producing cover glass for electronic equipment | |
| KR101381123B1 (en) | Method of cutting substrate | |
| TW201418177A (en) | Touch-sensitive device, touch-sensitive display device and organic light-emitting display device | |
| JP6324599B1 (en) | Manufacturing method of cover glass | |
| KR101413673B1 (en) | manufacturing method high integrated capacitive touch sensor | |
| TWM481233U (en) | Touch-sensitive device, touch-sensitive display device and organic light-emitting display device | |
| JP2014084266A (en) | Manufacturing method of patterned glass substrate and cutting method of patterned mother glass substrate | |
| JP2018188318A (en) | Manufacturing method of glass substrate |
Legal Events
| Date | Code | Title | Description |
|---|---|---|---|
| A621 | Written request for application examination |
Free format text: JAPANESE INTERMEDIATE CODE: A621 Effective date: 20121220 |
|
| A977 | Report on retrieval |
Free format text: JAPANESE INTERMEDIATE CODE: A971007 Effective date: 20131122 |
|
| A131 | Notification of reasons for refusal |
Free format text: JAPANESE INTERMEDIATE CODE: A131 Effective date: 20140114 |
|
| A521 | Written amendment |
Free format text: JAPANESE INTERMEDIATE CODE: A523 Effective date: 20140307 |
|
| TRDD | Decision of grant or rejection written | ||
| A01 | Written decision to grant a patent or to grant a registration (utility model) |
Free format text: JAPANESE INTERMEDIATE CODE: A01 Effective date: 20140408 |
|
| A61 | First payment of annual fees (during grant procedure) |
Free format text: JAPANESE INTERMEDIATE CODE: A61 Effective date: 20140428 |
|
| R150 | Certificate of patent or registration of utility model |
Ref document number: 5541623 Country of ref document: JP Free format text: JAPANESE INTERMEDIATE CODE: R150 |
|
| S111 | Request for change of ownership or part of ownership |
Free format text: JAPANESE INTERMEDIATE CODE: R313111 |
|
| R350 | Written notification of registration of transfer |
Free format text: JAPANESE INTERMEDIATE CODE: R350 |
|
| LAPS | Cancellation because of no payment of annual fees |
