JP2011102494A - 舗装用ブロック - Google Patents
舗装用ブロック Download PDFInfo
- Publication number
- JP2011102494A JP2011102494A JP2009257869A JP2009257869A JP2011102494A JP 2011102494 A JP2011102494 A JP 2011102494A JP 2009257869 A JP2009257869 A JP 2009257869A JP 2009257869 A JP2009257869 A JP 2009257869A JP 2011102494 A JP2011102494 A JP 2011102494A
- Authority
- JP
- Japan
- Prior art keywords
- block
- glass
- water
- layer
- paving
- Prior art date
- Legal status (The legal status is an assumption and is not a legal conclusion. Google has not performed a legal analysis and makes no representation as to the accuracy of the status listed.)
- Pending
Links
- 239000011521 glass Substances 0.000 claims abstract description 154
- XLYOFNOQVPJJNP-UHFFFAOYSA-N water Substances O XLYOFNOQVPJJNP-UHFFFAOYSA-N 0.000 claims abstract description 58
- 239000000463 material Substances 0.000 claims abstract description 37
- 229920005992 thermoplastic resin Polymers 0.000 claims abstract description 31
- 239000011230 binding agent Substances 0.000 claims abstract description 21
- 230000035699 permeability Effects 0.000 claims description 31
- 238000005507 spraying Methods 0.000 claims description 27
- 238000000034 method Methods 0.000 claims description 26
- 239000002245 particle Substances 0.000 claims description 21
- 239000004568 cement Substances 0.000 claims description 18
- 238000002347 injection Methods 0.000 claims description 9
- 239000007924 injection Substances 0.000 claims description 9
- 239000002699 waste material Substances 0.000 abstract description 19
- 238000013461 design Methods 0.000 abstract description 10
- 230000000007 visual effect Effects 0.000 abstract 1
- 239000010410 layer Substances 0.000 description 81
- 238000012360 testing method Methods 0.000 description 21
- 239000000758 substrate Substances 0.000 description 19
- 238000004519 manufacturing process Methods 0.000 description 18
- VYPSYNLAJGMNEJ-UHFFFAOYSA-N Silicium dioxide Chemical compound O=[Si]=O VYPSYNLAJGMNEJ-UHFFFAOYSA-N 0.000 description 11
- 239000006063 cullet Substances 0.000 description 9
- 229920005989 resin Polymers 0.000 description 9
- 239000011347 resin Substances 0.000 description 9
- 239000004567 concrete Substances 0.000 description 8
- 239000000843 powder Substances 0.000 description 8
- 230000000694 effects Effects 0.000 description 7
- 238000005516 engineering process Methods 0.000 description 6
- 238000004898 kneading Methods 0.000 description 6
- 239000004973 liquid crystal related substance Substances 0.000 description 6
- 239000004570 mortar (masonry) Substances 0.000 description 6
- 239000007921 spray Substances 0.000 description 6
- 239000003638 chemical reducing agent Substances 0.000 description 5
- 239000011248 coating agent Substances 0.000 description 5
- 238000001816 cooling Methods 0.000 description 5
- 239000005357 flat glass Substances 0.000 description 5
- 238000010438 heat treatment Methods 0.000 description 5
- 238000005259 measurement Methods 0.000 description 5
- 238000000576 coating method Methods 0.000 description 4
- 239000004576 sand Substances 0.000 description 4
- 239000002893 slag Substances 0.000 description 4
- 239000002344 surface layer Substances 0.000 description 4
- 239000011398 Portland cement Substances 0.000 description 3
- 239000010426 asphalt Substances 0.000 description 3
- 239000011324 bead Substances 0.000 description 3
- 238000005452 bending Methods 0.000 description 3
- 238000007664 blowing Methods 0.000 description 3
- 239000005038 ethylene vinyl acetate Substances 0.000 description 3
- 239000012634 fragment Substances 0.000 description 3
- 239000010922 glass waste Substances 0.000 description 3
- 239000000203 mixture Substances 0.000 description 3
- 238000000465 moulding Methods 0.000 description 3
- 229920001200 poly(ethylene-vinyl acetate) Polymers 0.000 description 3
- 229920000642 polymer Polymers 0.000 description 3
- 238000012545 processing Methods 0.000 description 3
- 239000007787 solid Substances 0.000 description 3
- CSCPPACGZOOCGX-UHFFFAOYSA-N Acetone Chemical compound CC(C)=O CSCPPACGZOOCGX-UHFFFAOYSA-N 0.000 description 2
- ATUOYWHBWRKTHZ-UHFFFAOYSA-N Propane Chemical compound CCC ATUOYWHBWRKTHZ-UHFFFAOYSA-N 0.000 description 2
- 238000006243 chemical reaction Methods 0.000 description 2
- 239000000567 combustion gas Substances 0.000 description 2
- 238000011156 evaluation Methods 0.000 description 2
- 238000001704 evaporation Methods 0.000 description 2
- 230000008020 evaporation Effects 0.000 description 2
- 239000010881 fly ash Substances 0.000 description 2
- 239000002440 industrial waste Substances 0.000 description 2
- 239000007788 liquid Substances 0.000 description 2
- 238000002156 mixing Methods 0.000 description 2
- 230000000704 physical effect Effects 0.000 description 2
- 239000000377 silicon dioxide Substances 0.000 description 2
- 239000004575 stone Substances 0.000 description 2
- 239000000126 substance Substances 0.000 description 2
- 238000007751 thermal spraying Methods 0.000 description 2
- 238000011041 water permeability test Methods 0.000 description 2
- 229920000178 Acrylic resin Polymers 0.000 description 1
- 239000004925 Acrylic resin Substances 0.000 description 1
- 229920001651 Cyanoacrylate Polymers 0.000 description 1
- LFQSCWFLJHTTHZ-UHFFFAOYSA-N Ethanol Chemical compound CCO LFQSCWFLJHTTHZ-UHFFFAOYSA-N 0.000 description 1
- 239000005909 Kieselgur Substances 0.000 description 1
- 235000019738 Limestone Nutrition 0.000 description 1
- MWCLLHOVUTZFKS-UHFFFAOYSA-N Methyl cyanoacrylate Chemical compound COC(=O)C(=C)C#N MWCLLHOVUTZFKS-UHFFFAOYSA-N 0.000 description 1
- 239000004372 Polyvinyl alcohol Substances 0.000 description 1
- 239000006004 Quartz sand Substances 0.000 description 1
- 239000004433 Thermoplastic polyurethane Substances 0.000 description 1
- XTXRWKRVRITETP-UHFFFAOYSA-N Vinyl acetate Chemical compound CC(=O)OC=C XTXRWKRVRITETP-UHFFFAOYSA-N 0.000 description 1
- 238000010521 absorption reaction Methods 0.000 description 1
- 239000000654 additive Substances 0.000 description 1
- 230000000996 additive effect Effects 0.000 description 1
- 230000002411 adverse Effects 0.000 description 1
- 239000005328 architectural glass Substances 0.000 description 1
- 239000011400 blast furnace cement Substances 0.000 description 1
- 210000000988 bone and bone Anatomy 0.000 description 1
- 150000001732 carboxylic acid derivatives Chemical class 0.000 description 1
- 238000005266 casting Methods 0.000 description 1
- 239000000919 ceramic Substances 0.000 description 1
- 238000004140 cleaning Methods 0.000 description 1
- 239000011247 coating layer Substances 0.000 description 1
- 238000012790 confirmation Methods 0.000 description 1
- 230000001276 controlling effect Effects 0.000 description 1
- 238000007796 conventional method Methods 0.000 description 1
- 230000006866 deterioration Effects 0.000 description 1
- 238000011161 development Methods 0.000 description 1
- 238000001035 drying Methods 0.000 description 1
- 239000000839 emulsion Substances 0.000 description 1
- 238000010304 firing Methods 0.000 description 1
- 238000005187 foaming Methods 0.000 description 1
- 238000009472 formulation Methods 0.000 description 1
- 238000009415 formwork Methods 0.000 description 1
- 239000008187 granular material Substances 0.000 description 1
- 230000003760 hair shine Effects 0.000 description 1
- 239000008235 industrial water Substances 0.000 description 1
- 239000006028 limestone Substances 0.000 description 1
- 230000005923 long-lasting effect Effects 0.000 description 1
- 239000002184 metal Substances 0.000 description 1
- 230000000116 mitigating effect Effects 0.000 description 1
- 239000005416 organic matter Substances 0.000 description 1
- 239000003960 organic solvent Substances 0.000 description 1
- 239000003973 paint Substances 0.000 description 1
- 229910001562 pearlite Inorganic materials 0.000 description 1
- 239000010451 perlite Substances 0.000 description 1
- 235000019362 perlite Nutrition 0.000 description 1
- 238000007517 polishing process Methods 0.000 description 1
- 229920006122 polyamide resin Polymers 0.000 description 1
- 229920005672 polyolefin resin Polymers 0.000 description 1
- 229920002451 polyvinyl alcohol Polymers 0.000 description 1
- 238000001556 precipitation Methods 0.000 description 1
- 238000003672 processing method Methods 0.000 description 1
- 239000001294 propane Substances 0.000 description 1
- 238000004064 recycling Methods 0.000 description 1
- 230000001105 regulatory effect Effects 0.000 description 1
- 238000011160 research Methods 0.000 description 1
- 230000000717 retained effect Effects 0.000 description 1
- 230000001953 sensory effect Effects 0.000 description 1
- 238000007873 sieving Methods 0.000 description 1
- 229910021487 silica fume Inorganic materials 0.000 description 1
- 239000010802 sludge Substances 0.000 description 1
- 230000001629 suppression Effects 0.000 description 1
- 239000008399 tap water Substances 0.000 description 1
- 235000020679 tap water Nutrition 0.000 description 1
- 238000010998 test method Methods 0.000 description 1
- 229920001169 thermoplastic Polymers 0.000 description 1
- 229920002803 thermoplastic polyurethane Polymers 0.000 description 1
- 239000004416 thermosoftening plastic Substances 0.000 description 1
- 239000005341 toughened glass Substances 0.000 description 1
- 238000005406 washing Methods 0.000 description 1
Images
Landscapes
- Road Paving Structures (AREA)
Abstract
【課題】情報機器のガラス基板を破砕して得られる薄板状廃ガラス片をも材料の一つとして有効に利用でき、しかも表面(舗装面)が光の反射によりキラキラ光り、視認性及び意匠性に優れるとともに、夏季の直射日光による舗装面上の温度上昇を効果的に抑制することができる舗装用ブロックを提案すること。
【解決手段】保水性を有するセメント硬化体からなるブロック2の舗装面となる表面に、熱可塑性樹脂を結合剤とした平均粒径が0.5〜1.5mmのガラス破砕物からなる透水性を有するガラス層3が形成されている舗装用ブロック1とした。
【選択図】 図1
【解決手段】保水性を有するセメント硬化体からなるブロック2の舗装面となる表面に、熱可塑性樹脂を結合剤とした平均粒径が0.5〜1.5mmのガラス破砕物からなる透水性を有するガラス層3が形成されている舗装用ブロック1とした。
【選択図】 図1
Description
本発明は、インターロッキングブロック等の即脱ブロックを基体として好適に用いた舗装用ブロックに関するもので、特に、表面(舗装面)にガラス層があることにより、表面が光の反射によりキラキラ光り、視認性及び意匠性に優れるとともに、夏季の直射日光による舗装面上の温度上昇を抑制する効果を有する、舗装用ブロックに関するものである。
最近、都市部では、コンクリートやアスファルトなどによる路面の舗装整備により、夏期の路面温度は非常に高くなり、いわゆるヒートアイランド現象の問題が発生している。
そのため、路面温度の高温化を防ぐべく、舗装材料や舗装方法について様々な検討がなされている。また、その中で、廃ガラス等の産業廃棄物の有効利用についても、併せて検討が行われている。
そのため、路面温度の高温化を防ぐべく、舗装材料や舗装方法について様々な検討がなされている。また、その中で、廃ガラス等の産業廃棄物の有効利用についても、併せて検討が行われている。
例えば、特許文献1には、産業廃棄物等の無機系粉体からなる人工骨材中に、ガラスのビーズ又はカレットが分散されて硬化してなる硬化体である昇温抑制骨材が提案されている。
また、特許文献2には、廃ガラス等の骨材100質量部に対してセメント1〜25質量部、アスファルト乳剤1〜25質量部からなる組成物を所定の形状に成形した後、養生し硬化させた舗装用透水性コンクリート製品が提案されている。
さらに、特許文献3には、色瓶を含むガラス瓶を破砕工程を含む処理工程により作成されたガラスカレットのうち、0.3mm〜0.6mmの粒径範囲に含まれるものを分別した後研磨加工して作成されたガラス粒を含む塗料を、吹き付け塗装して形成された塗布層を有する縁石、歩道用ブロック等が提案されている。
上記の例では、路面温度の高温化を防ぐため、また、廃ガラスの有効利用の観点から、舗装体の一材料として廃ガラスが使用されている。
また、特許文献2には、廃ガラス等の骨材100質量部に対してセメント1〜25質量部、アスファルト乳剤1〜25質量部からなる組成物を所定の形状に成形した後、養生し硬化させた舗装用透水性コンクリート製品が提案されている。
さらに、特許文献3には、色瓶を含むガラス瓶を破砕工程を含む処理工程により作成されたガラスカレットのうち、0.3mm〜0.6mmの粒径範囲に含まれるものを分別した後研磨加工して作成されたガラス粒を含む塗料を、吹き付け塗装して形成された塗布層を有する縁石、歩道用ブロック等が提案されている。
上記の例では、路面温度の高温化を防ぐため、また、廃ガラスの有効利用の観点から、舗装体の一材料として廃ガラスが使用されている。
また、従来より、視認性及び意匠性を高めることを目的としても、同様に、舗装体の一材料としてガラスカレット等を用いる技術が知られている。
例えば、特許文献4には、自動車のウィンドウガラスに使用されていた強化ガラス等を破砕して得られるガラスカレットを、骨材として混入したコンクリート製品であって、前記ガラスカレットは、平面部を備え、該平面部を表面に露出させ、光の反射により視認性を良くしたコンクリート製品が提案されている。
また、特許文献5には、インターロッキングブロックの表面を予熱した後、高分子塗料を溶射し、次いで、該溶射面にガラスビーズをビーズの約半分程度が溶射層内に埋め込まれるように吹き付けることにより被覆膜を形成する、道路マーキング用インターロッキングブロックの製造方法が開示されている。
例えば、特許文献4には、自動車のウィンドウガラスに使用されていた強化ガラス等を破砕して得られるガラスカレットを、骨材として混入したコンクリート製品であって、前記ガラスカレットは、平面部を備え、該平面部を表面に露出させ、光の反射により視認性を良くしたコンクリート製品が提案されている。
また、特許文献5には、インターロッキングブロックの表面を予熱した後、高分子塗料を溶射し、次いで、該溶射面にガラスビーズをビーズの約半分程度が溶射層内に埋め込まれるように吹き付けることにより被覆膜を形成する、道路マーキング用インターロッキングブロックの製造方法が開示されている。
一方、薄型テレビ、パソコン、ゲーム機器、携帯電話等の情報機器の画面にガラス基板が用いられているが、これらのガラス基板は、建物の窓ガラスや自動車のウィンドウガラス等に比べると厚みが非常に薄く、破砕すると薄板状ガラス片となるとともに、表面には種々のコーティング剤が付着しており、その除去が難しいため、有効な再生方法や再利用方法が見つからず、情報機器の大量廃棄処分によって大量発生するこの廃ガラス基板の処分に苦慮している。
上述のとおり、路面温度の高温化抑制、或いは意匠性等に優れる舗装体を形成するための材料の一つとして、また、廃ガラスの有効利用を促進するために、ガラス瓶、ウィンドウガラス等に由来するガラスカレットを用いることは知られている。しかしながら、近年廃材として急激に増えつつあるフラットパネルディスプレイ等の情報機器のガラス基板を破砕して得られる薄板状廃ガラス片については、有効な大量処理方法が未だ見出されておらず、土木建築分野への展開もないのが現状である。
また、溶射技術、吹き付け塗装技術を用いて、ブロック等の表面の耐久性を高めたり、視認性を良くした舗装体はあるものの、路面温度の高温化抑制効果が長続きする舗装体はない。特に、インターロッキングブロックのような即脱ブロックによる舗装体にあっては、路面温度の高温化抑制効果、及び視認性、意匠性の向上効果の両者を有効に兼ね備えたものはない。
本発明は、上述した背景技術が有する実状に鑑み成されたものであって、その目的は、高分子塗装の溶射技術やガラス粒の吹き付け技術を用いて、十分な有効利用がなされていないフラットパネルディスプレイ等の情報機器のガラス基板を破砕して得られる薄板状廃ガラス片をも材料の一つとして有効に利用でき、しかも表面(舗装面)にガラス層があることにより、表面が光の反射によりキラキラ光り、視認性及び意匠性に優れるとともに、夏季の直射日光による舗装面上の温度上昇を効果的に抑制することができる、舗装用ブロックを提案することにある。
本発明者等は、上記した目的を達成すべく鋭意研究を進めた結果、保水性を有するブロックの舗装面となる表面に、溶射技術や吹き付け技術を用いて熱可塑性樹脂を結合剤として特定粒径のガラス破砕物を結合させることにより透水性を有するガラス層を容易に形成することができ、また、該透水性を有するガラス層を備えた保水性を有するブロックは、表面(舗装面)にガラス層があることにより、表面が光の反射によりキラキラ光り、視認性及び意匠性に優れるとともに、夏季の直射日光による舗装面上の温度上昇を効果的に抑制することができることを見出し、本発明を完成した。
すなわち、本発明は、次の[1]〜[5]の舗装用ブロックを提供するものである。
[1]保水性を有するセメント硬化体からなるブロックの舗装面となる表面に、熱可塑性樹脂を結合剤とした平均粒径が0.5〜1.5mmのガラス破砕物からなる透水性を有するガラス層が形成されていることを特徴とする、舗装用ブロック。
[2]上記ガラス層の厚みは、1.0〜3.0mmであることを特徴とする、上記[1]に記載の舗装用ブロック。
[3]上記ガラス層は、上記ブロックの舗装面となる表面に火炎噴射により形成された可塑化した上記結合剤層に上記ガラス破砕物を火炎噴射により吹き付けて形成されていることを特徴とする、上記[1]又は〔2〕に記載の舗装用ブロック。
[4]上記保水性を有するブロックは、即脱ブロックであることを特徴する、上記[1]〜[3]のいずれかに記載の舗装用ブロック。
[5]上記保水性を有するブロックは、JIPEA−TM−7に規定された方法により測定された保水量が0.15g/cm3以上であることを特徴とする、上記[1]〜[4]のいずれかに記載の舗装用ブロック。
[1]保水性を有するセメント硬化体からなるブロックの舗装面となる表面に、熱可塑性樹脂を結合剤とした平均粒径が0.5〜1.5mmのガラス破砕物からなる透水性を有するガラス層が形成されていることを特徴とする、舗装用ブロック。
[2]上記ガラス層の厚みは、1.0〜3.0mmであることを特徴とする、上記[1]に記載の舗装用ブロック。
[3]上記ガラス層は、上記ブロックの舗装面となる表面に火炎噴射により形成された可塑化した上記結合剤層に上記ガラス破砕物を火炎噴射により吹き付けて形成されていることを特徴とする、上記[1]又は〔2〕に記載の舗装用ブロック。
[4]上記保水性を有するブロックは、即脱ブロックであることを特徴する、上記[1]〜[3]のいずれかに記載の舗装用ブロック。
[5]上記保水性を有するブロックは、JIPEA−TM−7に規定された方法により測定された保水量が0.15g/cm3以上であることを特徴とする、上記[1]〜[4]のいずれかに記載の舗装用ブロック。
上記した本発明に係る舗装用ブロックによれば、該ブロックの舗装面となる表面に熱可塑性樹脂を結合剤としたガラス層が形成されているため、街灯、自動車等の光の照射によってキラキラとガラス層が光り、該舗装用ブロックを用いて視認性及び意匠性に優れた車道、歩道、広場、駐車場等を容易に構築することができる。
また、本発明の舗装用ブロックは、保水性を有するセメント硬化体からなるブロックの表面に透水性を有するガラス層を形成したものであるため、降雨時の雨水は透水性を有するガラス層から保水性を有するブロックに流れ、水はけが良いものとなるとともに、保水性を有するブロックに雨水が溜まり、この雨水がゆっくり蒸発するため、またガラス層が光(熱の一部)を反射してブロック自体の温度上昇が抑えられるため、夏季の直射日光による舗装面上の温度上昇が効果的に長時間に渡って抑制でき、ヒートアイランド現象を緩和することができる。
さらに、本発明に係る舗装用ブロックは、種々の廃ガラス、特に十分な有効利用がなされていなかったフラットパネルディスプレイ等の情報機器のガラス基板を破砕して得られる薄板状廃ガラス片をも材料の一つとして有効に利用でき、廃棄物の低減に貢献することができる。
また、本発明の舗装用ブロックは、保水性を有するセメント硬化体からなるブロックの表面に透水性を有するガラス層を形成したものであるため、降雨時の雨水は透水性を有するガラス層から保水性を有するブロックに流れ、水はけが良いものとなるとともに、保水性を有するブロックに雨水が溜まり、この雨水がゆっくり蒸発するため、またガラス層が光(熱の一部)を反射してブロック自体の温度上昇が抑えられるため、夏季の直射日光による舗装面上の温度上昇が効果的に長時間に渡って抑制でき、ヒートアイランド現象を緩和することができる。
さらに、本発明に係る舗装用ブロックは、種々の廃ガラス、特に十分な有効利用がなされていなかったフラットパネルディスプレイ等の情報機器のガラス基板を破砕して得られる薄板状廃ガラス片をも材料の一つとして有効に利用でき、廃棄物の低減に貢献することができる。
以下に、図面を参照しつつ、本発明の舗装用ブロックを詳細に説明する。
本発明の舗装用ブロック1は、図1に示したように、保水性を有するセメント硬化体からなるブロック2(以下、「保水性を有するブロック2」若しくは単に「ブロック2」と記す。)の舗装面となる表面に、透水性を有するガラス層3を形成したものである。
上記保水性を有するブロック2は、JIPEA−TM−7に規定された方法により測定された保水量が、0.15g/cm3以上であることが好ましい。この値が0.15g/cm3に満たない場合には、保水性が小さく、降雨時の水の供給後における蒸発水分の量を十分確保し難くなる。
また、保水性を有するブロック2は、JIPEA−TM−8に規定された方法により測定された水の吸上げ高さ(30分後の吸上げ高さ)が、70%以上であることが好ましく、また、JIS A 5371に規定された方法により測定された曲げ強度が、3.0MPa以上であることが好ましい。
また、保水性を有するブロック2は、当然、適度な透水性を有するものでなければならない。その透水性能は、特に限定されるものではないが、一般的ブロックと透水性ブロックの中間程度が好ましい。
本発明において用いる保水性を有するブロック2の大きさも、何ら限定されるものではないが、取扱性及び施工性等の観点から、縦×横×高さが、100〜600mm×100〜600mm×30〜100mm程度であることが好ましい。
また、保水性を有するブロック2は、JIPEA−TM−8に規定された方法により測定された水の吸上げ高さ(30分後の吸上げ高さ)が、70%以上であることが好ましく、また、JIS A 5371に規定された方法により測定された曲げ強度が、3.0MPa以上であることが好ましい。
また、保水性を有するブロック2は、当然、適度な透水性を有するものでなければならない。その透水性能は、特に限定されるものではないが、一般的ブロックと透水性ブロックの中間程度が好ましい。
本発明において用いる保水性を有するブロック2の大きさも、何ら限定されるものではないが、取扱性及び施工性等の観点から、縦×横×高さが、100〜600mm×100〜600mm×30〜100mm程度であることが好ましい。
上記保水性を有するブロック2としては、従来より歩道、車道、公園等に敷設されて使用されている上記各物性値を満たすインターロッキングブロック、平板ブロック等の即脱ブロックが好適に用いられるが、これらに限定されるものではなく、流し込み成形によって製造されたモルタル成形体やコンクリート成形体も用いることができる。また、これらは一層からなるものでも、表層と基層の二層からなるものでもよい。二層からなる場合は、基層が保水層となる。即脱ブロックは、概して、多孔質なセメント硬化体からなり、また振動加圧成形により成形されるので、透水性や保水性を制御し易く、容易に適度な透水性能と保水性能を有するブロックが得られるので好ましい。
上記各物性値を満たすインターロッキングブロック、平板ブロック等の即脱ブロックの材料としては、通常、セメント、保水材、細骨材、混練水等が用いられる。また、必要に応じて、減水剤、粗骨材、混和材等が用いられる。
上記セメントは、普通ポルトランドセメント、早強ポルトランドセメント等の各種ポルトランドセメントの他、高炉セメント等の混合セメント、白色セメント、エコセメント等が挙げられる。
また、混和材としては、高炉スラグ粉末、フライアッシュ、シリカフューム、石灰石粉末、珪石粉末等の1種または2種以上の組み合わせが挙げられる。
また、混和材としては、高炉スラグ粉末、フライアッシュ、シリカフューム、石灰石粉末、珪石粉末等の1種または2種以上の組み合わせが挙げられる。
保水材としては、例えば、軟質水砕スラグ、ケイソウ土、パーライト等の無機発泡粒、ペーパースラッジ、発泡樹脂、吸水性高分子等が挙げられる。これらの中でも、軟質水砕スラグは、保水性、吸水性及び強度の観点から好ましく用いられる。また、軟質水砕スラグは、保水材と細骨材を兼ねることもできる。
保水材の量は、セメント100質量部に対して、好ましくは100〜600質量部、より好ましくは200〜450質量部である。この量が100質量部未満では、保水性が低下してしまう。逆にこの量が600質量部を超えると、保水性が大き過ぎ、ブロック全体の透水性が低下して降雨等の水の供給時の水はけが悪くなる虞がある。また、ブロックの必要強度を確保し難くなる。
保水材の量は、セメント100質量部に対して、好ましくは100〜600質量部、より好ましくは200〜450質量部である。この量が100質量部未満では、保水性が低下してしまう。逆にこの量が600質量部を超えると、保水性が大き過ぎ、ブロック全体の透水性が低下して降雨等の水の供給時の水はけが悪くなる虞がある。また、ブロックの必要強度を確保し難くなる。
細骨材の種類としては、珪砂、山砂、川砂、海砂、砕砂、セラミック細骨材、原料造粒物を焼成してなる焼成細骨材、廃コンクリートからの再生細骨材、軽量骨材(フライアッシュ、パーライト等)等が挙げられる。強度改善を目的とする場合は、珪砂等の強度及び耐久性のある骨材を用いることが好ましい。また、粒度は3mm以下を80%以上含むことが好ましい。
細骨材の量は、セメント、保水材(ただし、粉体に限る。)、及び必要に応じて混和される他の混和材からなる粉体の合計量100質量部に対して、好ましくは100〜550質量部、より好ましくは100〜500質量部である。この量が550質量部を超えると、十分な保水性と強度を確保し難くなる。
上記の他、水分の蒸発速度を制御するための細骨材として、保水性を有するブロック2の表層に、ドライビスコシティ試験で、ガラスカレット100質量部に対して0.5質量部の水分が付着している場合に、ガラスカレットからなる試料がオリフィスに詰まって流下せず、測定不可となる特定のガラスカレット(特願2009−160716参照)を含ませておくことは好ましい。
細骨材の量は、セメント、保水材(ただし、粉体に限る。)、及び必要に応じて混和される他の混和材からなる粉体の合計量100質量部に対して、好ましくは100〜550質量部、より好ましくは100〜500質量部である。この量が550質量部を超えると、十分な保水性と強度を確保し難くなる。
上記の他、水分の蒸発速度を制御するための細骨材として、保水性を有するブロック2の表層に、ドライビスコシティ試験で、ガラスカレット100質量部に対して0.5質量部の水分が付着している場合に、ガラスカレットからなる試料がオリフィスに詰まって流下せず、測定不可となる特定のガラスカレット(特願2009−160716参照)を含ませておくことは好ましい。
減水剤は、必要に応じて、カルポン酸系高性能減水剤等の従来から用いられているものを、必要な添加量(例えば、セメント100質量部に対して固形分換算で0.1〜0.5質量部)添加して用いればよい。
混練水としては、水道水、工業用水、回収水等が使用される。混練水の量は、セメント100質量部に対して、好ましくは25〜35質量部である。この範囲を外れると、良好な保水性を有する即脱ブロックが得難くなる。
混練水としては、水道水、工業用水、回収水等が使用される。混練水の量は、セメント100質量部に対して、好ましくは25〜35質量部である。この範囲を外れると、良好な保水性を有する即脱ブロックが得難くなる。
本発明において用いる保水性を有するブロック2を得るための好ましい配合は、例えば、インターロッキングブロックのような即脱ブロックの場合、セメント100質量部、保水材(ただし、粉体に限る。)0〜450質量部、混和材0〜30質量部、細骨材(保水材であって細骨材にも該当する場合を含む。)100〜550質量部、減水剤0〜0.5質量部(液状の場合、固形分換算値である。)、混練水20〜30質量部である。
二層からなる即脱ブロックは、基層に骨材として細骨材に加えて粗骨材を用いることができる。粗骨材としては、砂利、陸砂利、砕石等が挙げられる。粗骨材の粒度は、好ましくは5〜13mmである。粗骨材の配合量は、通常、セメント100質量部に対して、100質量部以下である。
二層からなる即脱ブロックは、基層に骨材として細骨材に加えて粗骨材を用いることができる。粗骨材としては、砂利、陸砂利、砕石等が挙げられる。粗骨材の粒度は、好ましくは5〜13mmである。粗骨材の配合量は、通常、セメント100質量部に対して、100質量部以下である。
本発明において用いる保水性を有するブロック2の製造装置及び製造方法は、従来からのインターロッキングブロック等の即脱ブロックの製造装置及び製造方法をそのまま使用することができ、モルタルの混練に用いるミキサー等の製造装置も、従来からの各製造装置を用いることができる。混練方法、成型方法も、従来からの混練方法、成型方法を採用することができる。
具体的には、例えば、保水性を有するブロック2が一層からなる場合は、上記配合で混練した保水性モルタルもしくは保水性コンクリートを型枠内に投入し、外部振動を加えつつ上面(舗装面となる表面)から加圧し、養生すればよい。振動数は通常5,000vpm程度であり、加圧力は60kg/cm2程度である。養生は、気中養生、蒸気養生、炭酸化養生等の従来から行なわれている方法のいずれでもよい。
また、多層の保水性を有するブロック2を形成する場合には、例えば、先ず基層用として上記と同様の保水性モルタルもしくは保水性コンクリートを型枠内に投入した後、表層用として透水性モルタルを型枠内に投入し、その後、外部振動を加えつつ上面を加圧し、養生すればよい。
なお、表層用として用いる上記透水性モルタルの好ましい配合は、例えば、セメント100質量部、混和材0〜30質量部、細骨材40〜550質量部、減水剤0〜0.5質量部(液状の場合、固形分換算値である。)、混練水20〜30質量部である。
具体的には、例えば、保水性を有するブロック2が一層からなる場合は、上記配合で混練した保水性モルタルもしくは保水性コンクリートを型枠内に投入し、外部振動を加えつつ上面(舗装面となる表面)から加圧し、養生すればよい。振動数は通常5,000vpm程度であり、加圧力は60kg/cm2程度である。養生は、気中養生、蒸気養生、炭酸化養生等の従来から行なわれている方法のいずれでもよい。
また、多層の保水性を有するブロック2を形成する場合には、例えば、先ず基層用として上記と同様の保水性モルタルもしくは保水性コンクリートを型枠内に投入した後、表層用として透水性モルタルを型枠内に投入し、その後、外部振動を加えつつ上面を加圧し、養生すればよい。
なお、表層用として用いる上記透水性モルタルの好ましい配合は、例えば、セメント100質量部、混和材0〜30質量部、細骨材40〜550質量部、減水剤0〜0.5質量部(液状の場合、固形分換算値である。)、混練水20〜30質量部である。
本発明の舗装用ブロック1は、上記した保水性を有するブロック2の舗装面となる表面に、特定粒径のガラス破砕物を吹き付けてガラス層3を形成したものであるが、形成するガラス層3は、透水性を有するものでなければならない。ここで、本明細書において「透水性を有する」とは、雨水等の降水がガラス層3を通してブロック2に浸透可能であることを言う。
このガラス層3の透水性は、例えば、インターロッキングブロック等の透水性試験であるJIS A 5371に準拠した試験方法で求めた透水係数が1×10-2cm/秒以上であることが好ましく、5×10-2cm/秒以上であることが更に好ましい。この値が1×10-2cm/秒に満たないものである場合には、降雨量によっては降雨時の排水性が悪く、水溜まりが形成される虞があり、また、良好に、基体である保水性を有するブロック2に雨水を供給することができなくなる虞がある。
このガラス層3の透水性は、例えば、インターロッキングブロック等の透水性試験であるJIS A 5371に準拠した試験方法で求めた透水係数が1×10-2cm/秒以上であることが好ましく、5×10-2cm/秒以上であることが更に好ましい。この値が1×10-2cm/秒に満たないものである場合には、降雨量によっては降雨時の排水性が悪く、水溜まりが形成される虞があり、また、良好に、基体である保水性を有するブロック2に雨水を供給することができなくなる虞がある。
上記透水性を有するガラス層3は、熱可塑性樹脂を結合剤としたガラス破砕物からなるものである。
結合剤として用いられる熱可塑性樹脂としては、酢酸ビニル樹脂系、エチレン酢酸ビニル共重合体樹脂系、アクリル樹脂系、シアノアクリレート樹脂系、ポリビニルアルコール樹脂系、ポリアミド樹脂系、ポリオレフィン樹脂系、熱可塑性ポリウレタン樹脂系等が挙げられるが、中でも、エチレン酢酸ビニル共重合体樹脂系が、耐候性、耐薬品性、耐摩耗性等に優れていることから好ましい。
結合剤として用いられる熱可塑性樹脂としては、酢酸ビニル樹脂系、エチレン酢酸ビニル共重合体樹脂系、アクリル樹脂系、シアノアクリレート樹脂系、ポリビニルアルコール樹脂系、ポリアミド樹脂系、ポリオレフィン樹脂系、熱可塑性ポリウレタン樹脂系等が挙げられるが、中でも、エチレン酢酸ビニル共重合体樹脂系が、耐候性、耐薬品性、耐摩耗性等に優れていることから好ましい。
また、ガラス破砕物としては、無色或いは有色のガラス瓶の破砕物、窓ガラス等の建築用ガラスの破砕物、自動車のウィンドウガラスの破砕物等の従来から種々の分野において用いられているガラス破砕物の他、ブラウン管用ガラスの破砕物、薄型テレビ、パソコンのディスプレイ、携帯電話等の情報機器の薄厚ガラス基板の破砕物が挙げられる。これらの中でも、近年、廃材として急激に増えつつある薄型テレビ、パソコンのディスプレイ、携帯電話等の情報機器の薄厚ガラス基板の破砕物が、薄板状の特定形状を有することなどからその十分な有効利用が現在においては成されていないが、本発明においては好適に用いることができる。これは、薄板状廃ガラス片を用いることにより、間隙が形成され易く、適度な透水性と適度な水分蒸発速度を併せ持つガラス層3が得られ易いためである。情報機器の薄厚ガラス基板の中でも、フラットパネルディスプレイの液晶ガラス(液晶ディスプレイ中のガラス基板)もしくはプラズマガラス(プラズマディスプレイ中のガラス基板)は、これら廃材の処理技術がある程度確立していることと、容易かつ大量に上記ガラス破砕物が得られることから特に好ましい。
本発明において用いるガラス破砕物は、例えば、液晶ガラスからは次のようにして得られる。
まず、ガラス基板のガラス表面に付着した液晶を、アセトン等の有機溶剤洗浄によって回収する。次いで、ガラス基板にプラズマを照射し、ガラス基板から金属、有機物等のガラス以外の物質を分離させる。その後、ガラス基板を破砕装置などで破砕すれば、鋭利な輪郭を有するガラス破砕物が得られる。この鋭利な輪郭を有するガラス破砕物を篩装置等で分級し、さらにエッジ処理を行なえば、作業者が素手で取り扱うことも可絶な薄板状ガラス片からなるガラス破砕物が得られる。
まず、ガラス基板のガラス表面に付着した液晶を、アセトン等の有機溶剤洗浄によって回収する。次いで、ガラス基板にプラズマを照射し、ガラス基板から金属、有機物等のガラス以外の物質を分離させる。その後、ガラス基板を破砕装置などで破砕すれば、鋭利な輪郭を有するガラス破砕物が得られる。この鋭利な輪郭を有するガラス破砕物を篩装置等で分級し、さらにエッジ処理を行なえば、作業者が素手で取り扱うことも可絶な薄板状ガラス片からなるガラス破砕物が得られる。
本発明において用いるガラス破砕物は、平均粒径0.5〜1.5mm、好ましくは平均粒径0.6〜1.2mmである。ここで、平均粒径とは、任意に100個程度のガラス破砕物を取り出し、その破砕物の最長部を粒径として計り、その算術平均を言う。平均粒径が0.5mmに満たないガラス破砕物を用いた場合は、十分な透水性を有するガラス層が得られ難く、また形成されるガラス層がキラキラ光り難いものとなる。逆に平均粒径が1.5mmを超えるガラス破砕物を用いた場合は、ガラス層から剥離し易くなるとともに、取扱い上での安全性にも問題が生じる虞がある。
上記ガラス破砕物からなるガラス層3の厚みは、1.0〜3.0mmであることが好ましい。ガラス層3の厚みが1.0mmに満たない場合には、ガラス層がキラキラと光り難いものとなり、またガラス層が光(熱の一部)を反射してブロック自体の温度上昇を抑える効果も得られ難いものとなる。逆にガラス層3の厚みが3.0mmを超える場合は、透水性を有するガラス層が形成し難くなる。
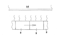
上記したガラス層3を、保水性を有するブロック2の舗装面となる表面に形成するガラス層の製造装置としては、例えば図2及び図3に示した装置がある。
この製造装置10は、一種の吹き付け装置であり、機枠11に設けられた各工程にブロックを搬送するコンベア12と、ブロック表面(ガラス層形成面)の汚れを吹き飛ばす圧縮エアーを噴射するエアーノズル13と、ブロック表面を加熱するヒーター14と、ブロック表面の温度を検知する温度センサー15と、ブロック表面に熱可塑性樹脂を火炎噴射により吹き付ける幅方向に自在に動く第1のガン16と、同じくブロック表面にガラス破砕物を火炎噴射により吹き付ける幅方向に自在に動く第2のガン17とから主に構成されている。
なお、本明細書において「火炎噴射による吹き付け」とは、図8に示すように、細長い火炎の中央を空気圧送により吹き付け材(熱可塑性樹脂或いはガラス破砕物)を通過させ、火炎の熱エネルギーによって吹き付け材を加熱して半溶融、溶融、軟化或いは可塑化状態とし、その加熱状態にある吹き付け材を被吹き付け物に吹き付けることを言う。
この製造装置10は、一種の吹き付け装置であり、機枠11に設けられた各工程にブロックを搬送するコンベア12と、ブロック表面(ガラス層形成面)の汚れを吹き飛ばす圧縮エアーを噴射するエアーノズル13と、ブロック表面を加熱するヒーター14と、ブロック表面の温度を検知する温度センサー15と、ブロック表面に熱可塑性樹脂を火炎噴射により吹き付ける幅方向に自在に動く第1のガン16と、同じくブロック表面にガラス破砕物を火炎噴射により吹き付ける幅方向に自在に動く第2のガン17とから主に構成されている。
なお、本明細書において「火炎噴射による吹き付け」とは、図8に示すように、細長い火炎の中央を空気圧送により吹き付け材(熱可塑性樹脂或いはガラス破砕物)を通過させ、火炎の熱エネルギーによって吹き付け材を加熱して半溶融、溶融、軟化或いは可塑化状態とし、その加熱状態にある吹き付け材を被吹き付け物に吹き付けることを言う。
上記製造装置10を用いて、保水性を有するブロック2の舗装面となる表面にガラス層3を形成する方法は、次のとおりである。
先ず、コンベア12上に複数個のブロック2を並べ、コンベア12を稼動させてブロック2を搬送する。搬送されたブロック2は、先ずエアーノズル13の下方に達し、図4に示したように、エアーノズル13から噴出される圧縮エアーによってブロック表面の汚れ(付着物)が吹き飛ばされ、ブロック2の表面は清掃される。
先ず、コンベア12上に複数個のブロック2を並べ、コンベア12を稼動させてブロック2を搬送する。搬送されたブロック2は、先ずエアーノズル13の下方に達し、図4に示したように、エアーノズル13から噴出される圧縮エアーによってブロック表面の汚れ(付着物)が吹き飛ばされ、ブロック2の表面は清掃される。
続いて、コンベア12により搬送されてブロック2はヒーター14の下方に達し、図5に示したように、ヒーター14によってブロック2の表面が加熱される。ヒーター14によるブロック表面の加熱温度は、通常80〜100℃程度が好ましく、この予熱によってブロック2の表面を乾燥させて含有水分による悪影響を防止するとともに、ブロック2の表面を加熱して後工程において吹き付けられる熱可塑性樹脂の密着性を向上させるとともに、熱可塑性樹脂が直ぐさま硬化しないようにする。
なお、ブロック2の表面の加熱温度は、ヒーター14のすぐ下流側に設けた温度センサー15によって計測され、その計測温度がフィードバックされてヒーター14による加熱温度が制御される。
なお、ブロック2の表面の加熱温度は、ヒーター14のすぐ下流側に設けた温度センサー15によって計測され、その計測温度がフィードバックされてヒーター14による加熱温度が制御される。
続いて、コンベア12により搬送されてブロック2は第1のガン16の下方に達する。第1のガン16は、図3に示したように、機枠11の幅方向に往復運動しており、かつ該第1のガン16からは、火炎により加熱されて可塑化した熱可塑性樹脂が噴出され、図6に示したように、その可塑化した熱可塑性樹脂がブロック2の表面に吹き付けられる。吹き付けによって形成される熱可塑性樹脂層(結合剤層)3aの厚みは、吹き付け時間(コンベア12の速度、第1のガン16の幅方向への移動速度)、吹き付け量等を変化させることにより容易に調整することができ、0.5〜1.0mm程度の厚さとすることが、透水性を有し、かつガラス破砕物を十分担持する作用を果たす結合剤層を形成する上で重要である。
熱可塑性樹脂を火炎噴射により吹き付ける第1のガン16の構造は、特に限定されないが、例えば、図8の構造のものが使用できる。このガン(吹き付け機)20は、吹き付け材(熱可塑性樹脂)を空気圧送する通路21が中心に形成され、その周囲に冷却・搬送空気を供給する環状の通路22が形成され、更にその周囲に火炎を形成する燃焼ガス(プロパン等)を供給する環状の通路23が形成された構造のものである。このガン(吹き付け機)20によれば、火炎Aと吹き付け材(熱可塑性樹脂)Bとの間に冷却・搬送空気の層Cが形成されるため、吹き付け材Bが直接高温の火炎Aに触れることがなく、その劣化を防止できるとともに、冷却・搬送空気の層Cの流量を調整することにより、容易の吹き付け材Bの火炎Aによる加熱温度を適切なものとすることができる。
また、第1のガン16による熱可塑性樹脂の吹き付け方も、特に限定されないが、ブロック2の表面に密着し、かつ均一な厚みを有する熱可塑性樹脂層(結合剤層)3aを形成するためには、空気圧送によって微細な熱可塑性樹脂を速い速度でブロック2の表面に衝突させるとともに、第1のガン16を幅方向に速い速度で往復動させ、少量づつの熱可塑性樹脂を重ねてブロック2の表面に吹き付けることが好ましい。特に、インターロッキングブロックのような即脱ブロックでは、表面が多孔質で平滑ではないので、その密着性を上げる観点から、上記熱可塑性樹脂の吹き付け方が好ましい。
なお、ブロック2の表面に、火炎噴射によって可塑化した熱可塑性樹脂を吹き付ける場合、その火炎の保有する熱エネルギーによってブロック2の温度が上昇し、ブロック中の水分が蒸発してブロック表面に形成された熱可塑性樹脂層(結合剤層)3aに気泡が現れる虞があるが、ブロック2の表面(ガラス層形成面)を予めヒーター14によって加熱して十分に乾燥させているとともに、形成する熱可塑性樹脂層(結合剤層)3aの厚さが薄くかつ透水性を有する多孔質のものであるため、このような発泡の問題は解決される。
続いて、コンベア12により搬送されることにより、可塑化した熱可塑性樹脂が吹き付けられたブロック2は直ちに第2のガン17の下方に達する。この第2のガン17は、図3に示したように、やはり機枠11の幅方向に往復運動しており、かつ該第2のガン17からは、火炎により加熱されて若干軟化したガラス破砕物が噴出され、図7に示したように、ブロック2の表面に形成された上記未硬化状態の熱可塑性樹脂層(結合剤層)3aに、その若干軟化したガラス破砕物が吹き付けられて圧入され、熱可塑性樹脂を結合剤としたガラス破砕物からなるガラス層3がブロック2の表面に形成される。
ガラス破砕物を吹き付ける第2のガン17としては、やはり上記したガン(吹き付け機)20を用いることができ、冷却・搬送空気の層Cの流量を調整することにより、ガラス破砕物の溶融状態を適切なものとすることができる。また、吹き付けるガラス破砕物の量は、吹き付け時間(コンベア12の速度、第2のガン17の幅方向への移動速度)、吹き付け量等を変化させることにより容易に調整することができ、200〜500g/m2とすることが、透水性を有し、かつ温度上昇を抑える効果を有するガラス層3を形成する上で好ましい。なお、ガラス破砕物をより強固にブロック2の表面に担持させるために、透水性を阻害しない範囲で、火炎噴射によって吹き付けられるガラス破砕物中に先に吹き付けた熱可塑性樹脂を少し交ぜておいてもよい。
上記のようにしてブロック2の表面に形成されたガラス層3は、結合剤である熱可塑性樹脂の吹き付け量とガラス破砕物の平均粒径及び吹き付け量等が制御されているので、十分な透水性を有し、かつガラス破砕物を強固に担持したものとなる。
以上、説明した本発明に係る舗装用ブロック1によれば、該ブロックの舗装面となる表面に熱可塑性樹脂を結合剤としたガラス層3が形成されているため、街灯、自動車等の光の照射によってキラキラとガラス層が光り、該舗装用ブロック1を用いて、視認性及び意匠性に優れた車道、歩道、広場、駐車場等を容易に構築することができる。
また、本発明の舗装用ブロック1は、保水性を有するセメント硬化体からなるブロック2の表面に透水性を有するガラス層3を形成したものであるため、降雨時の雨水は透水性を有するガラス層3から保水性を有するブロック2に流れ、水はけが良いものとなるとともに、降雨後においては保水性を有するブロック2に雨水が溜まりこの水がゆっくり蒸発するため、またガラス層3が光(熱の一部)を反射してブロック自体の温度上昇が抑えられるため、夏季の直射日光による舗装面上の温度上昇が効果的に抑制でき、ヒートアイランド現象を緩和することができる。
さらに、本発明に係る舗装用ブロック1は、種々の廃ガラス、特に十分な有効利用がなされていなかったフラットパネルディスプレイ等の情報機器のガラス基板を破砕して得られる薄板状廃ガラス片をも材料の一つとして有効に利用でき、廃棄物の低減に貢献することができる。
また、本発明の舗装用ブロック1は、保水性を有するセメント硬化体からなるブロック2の表面に透水性を有するガラス層3を形成したものであるため、降雨時の雨水は透水性を有するガラス層3から保水性を有するブロック2に流れ、水はけが良いものとなるとともに、降雨後においては保水性を有するブロック2に雨水が溜まりこの水がゆっくり蒸発するため、またガラス層3が光(熱の一部)を反射してブロック自体の温度上昇が抑えられるため、夏季の直射日光による舗装面上の温度上昇が効果的に抑制でき、ヒートアイランド現象を緩和することができる。
さらに、本発明に係る舗装用ブロック1は、種々の廃ガラス、特に十分な有効利用がなされていなかったフラットパネルディスプレイ等の情報機器のガラス基板を破砕して得られる薄板状廃ガラス片をも材料の一つとして有効に利用でき、廃棄物の低減に貢献することができる。
本発明に係る舗装用ブロックについて、その性能確認を行った。
1.使用材料
〔A〕基体となるブロック
・保水性を有するブロックとして、市販されている保水性インターロッキングブロック(太平洋プレコン工業株式会社製:エコクール)を用いた(以下、「ブロックI」)。
このブロックIは、JIPEA−TM−7に規定された方法により測定された保水量が0.17g/cm3、JIPEA−TM−8に規定された方法により測定された水の吸上げ高さ(30分後の吸上げ高さ)が75%、JIS A 5371に規定された方法により測定された曲げ強度が4.7MPaであった。また、外形寸法は、縦×横×高さが、100mm×200mm×60mmであった。
・保水性を有しないブロックとして、市販されている透水性インターロッキングブロック(太平洋プレコン工業株式会社製:グランパム)を用いた(以下、「ブロックII」)。 このブロックIIは、JIS A 5371に規定された方法により測定された透水係数が5×10-2cm/sec、JIS A 5371に規定された方法により測定された曲げ強度が4.5MPaであった。また、外形寸法は、縦×横×高さが、100mm×200mm×60mmであった。
〔B〕ガラス層
・結合剤
エチレン酢酸ビニル共重合体樹脂系である粉体塗装用樹脂(東ソー株式会社製:メルセン900W)を用いた。
・ガラス破砕物
ガラスA:液晶ディスプレイ中のガラス基板を破砕した薄板状廃ガラス片 平均粒 径0.9mm
ガラスB:ブラウン管用ガラスの破砕物 平均粒径0.9mm
ガラスC:ブラウン管用ガラスの破砕物 平均粒径0.3mm
ガラスD:液晶ディスプレイ中のガラス基板を破砕した薄板状廃ガラス片 平均粒 径1.7mm
1.使用材料
〔A〕基体となるブロック
・保水性を有するブロックとして、市販されている保水性インターロッキングブロック(太平洋プレコン工業株式会社製:エコクール)を用いた(以下、「ブロックI」)。
このブロックIは、JIPEA−TM−7に規定された方法により測定された保水量が0.17g/cm3、JIPEA−TM−8に規定された方法により測定された水の吸上げ高さ(30分後の吸上げ高さ)が75%、JIS A 5371に規定された方法により測定された曲げ強度が4.7MPaであった。また、外形寸法は、縦×横×高さが、100mm×200mm×60mmであった。
・保水性を有しないブロックとして、市販されている透水性インターロッキングブロック(太平洋プレコン工業株式会社製:グランパム)を用いた(以下、「ブロックII」)。 このブロックIIは、JIS A 5371に規定された方法により測定された透水係数が5×10-2cm/sec、JIS A 5371に規定された方法により測定された曲げ強度が4.5MPaであった。また、外形寸法は、縦×横×高さが、100mm×200mm×60mmであった。
〔B〕ガラス層
・結合剤
エチレン酢酸ビニル共重合体樹脂系である粉体塗装用樹脂(東ソー株式会社製:メルセン900W)を用いた。
・ガラス破砕物
ガラスA:液晶ディスプレイ中のガラス基板を破砕した薄板状廃ガラス片 平均粒 径0.9mm
ガラスB:ブラウン管用ガラスの破砕物 平均粒径0.9mm
ガラスC:ブラウン管用ガラスの破砕物 平均粒径0.3mm
ガラスD:液晶ディスプレイ中のガラス基板を破砕した薄板状廃ガラス片 平均粒 径1.7mm
2.試験体の作製
上記インターロッキングブロックの舗装面となる表面に、図2及び図3に示した装置を用い、表1に示した種々のガラス層を形成した。
上記インターロッキングブロックの舗装面となる表面に、図2及び図3に示した装置を用い、表1に示した種々のガラス層を形成した。
3.各種試験
〔1〕ガラス層の透水試験
インターロッキングブロックの表面に形成した各ガラス層につき、その透水係数を測定した。透水係数を測定は、JIS A 5371に準拠し、10mm程度に形成したガラス層を用い、その厚みと透水量との関係から求めた。その測定結果を表1に併記する。
〔2〕「キラキラ感」の評価試験
写真撮影用のライトを光源とし、薄暗くした室内において、ガラス層を形成したインターロッキングブロックの表面から約3m離れた斜め30度の方向から光りを照射し、種々の角度、方向から眺めて、ガラス層に「キラキラ感」が出ているか否かの官能試験を行った。「キラキラ感」が出ている場合は「○」、「キラキラ感」が無い場合は「×」とした。評価者は3人とした。その結果を表1に併記する。
〔3〕ガラス層の剥離抵抗試験
ワイヤーブラシによりインターロッキングブロックの表面に形成した各ガラス層を強く擦り、表面に表出しているガラス破砕物が容易に剥離するか否かの確認試験を行った。ガラス破砕物が剥離しない場合は「○」、剥離し易い場合は「×」とした。その結果を表1に併記する。
〔1〕ガラス層の透水試験
インターロッキングブロックの表面に形成した各ガラス層につき、その透水係数を測定した。透水係数を測定は、JIS A 5371に準拠し、10mm程度に形成したガラス層を用い、その厚みと透水量との関係から求めた。その測定結果を表1に併記する。
〔2〕「キラキラ感」の評価試験
写真撮影用のライトを光源とし、薄暗くした室内において、ガラス層を形成したインターロッキングブロックの表面から約3m離れた斜め30度の方向から光りを照射し、種々の角度、方向から眺めて、ガラス層に「キラキラ感」が出ているか否かの官能試験を行った。「キラキラ感」が出ている場合は「○」、「キラキラ感」が無い場合は「×」とした。評価者は3人とした。その結果を表1に併記する。
〔3〕ガラス層の剥離抵抗試験
ワイヤーブラシによりインターロッキングブロックの表面に形成した各ガラス層を強く擦り、表面に表出しているガラス破砕物が容易に剥離するか否かの確認試験を行った。ガラス破砕物が剥離しない場合は「○」、剥離し易い場合は「×」とした。その結果を表1に併記する。
〔4〕舗装面温度の測定
上記試験例2、3と同様のガラス層が形成されたインターロッキングブロック(試験例10、11)、上記試験例5〜9と同様のガラス層が形成されたインターロッキングブロック(試験例12〜16)、及びガラス層が形成されていない上記市販のブロックI、II(試験例17、18)の各試験体を用いて14.4m2の舗装面を形成し、夏季(8月)における3日間にわたる降雨の終了時から2日(48時間)の晴天を経た後の、午後0時(12時)における舗装面上の温度をそれぞれ測定した。
また、基準試験体として、舗装性能評価法別冊(社団法人日本道路協会編)に示される標準供試体である密粒度アスファルト(寸法:300mm×300mm×50mm)を用い、上記と同様に舗装面上の温度を測定した。
なお、舗装面上の温度の測定は、アルコール棒温度計を舗装面に接触させることにより行ない、舗装面上の5つの地点の平均値とした。その測定結果を表2に記載する。
上記試験例2、3と同様のガラス層が形成されたインターロッキングブロック(試験例10、11)、上記試験例5〜9と同様のガラス層が形成されたインターロッキングブロック(試験例12〜16)、及びガラス層が形成されていない上記市販のブロックI、II(試験例17、18)の各試験体を用いて14.4m2の舗装面を形成し、夏季(8月)における3日間にわたる降雨の終了時から2日(48時間)の晴天を経た後の、午後0時(12時)における舗装面上の温度をそれぞれ測定した。
また、基準試験体として、舗装性能評価法別冊(社団法人日本道路協会編)に示される標準供試体である密粒度アスファルト(寸法:300mm×300mm×50mm)を用い、上記と同様に舗装面上の温度を測定した。
なお、舗装面上の温度の測定は、アルコール棒温度計を舗装面に接触させることにより行ない、舗装面上の5つの地点の平均値とした。その測定結果を表2に記載する。
また、上記試験例10、試験例17及び基準試験体について、翌日の午前9時30分に直射日光の照射下で30分間散水(10リットル/m2)を行ない、散水の終了時(午前10時)から1時間、2時間、3時間、4時間及び5時間経過後のそれぞれの試験体の舗装面上の温度を、上記と同様の方法で測定した(試験例19,20及び基準試験体)。なお、この試験の間に降雨はなく、晴天が続いた。その測定結果を表3に記載する。
上記の試験結果から、本発明の舗装用ブロックには、表面(舗装面)が光の反射によりキラキラ光り、視認性及び意匠性に優れるとともに、夏季の直射日光による舗装面上の温度の上昇を長時間に渡って抑制する効果があり、ヒートアイランド現象の緩和効果があることが分かる。
1 舗装用ブロック
2 保水性を有するブロック
3 透水性を有するガラス層
10 ガラス層の製造装置
11 機枠
12 コンベア
13 エアーノズル
14 ヒーター
15 温度センサー
16 第1のガン
17 第2のガン
20 ガン(吹き付け機)
21 吹き付け材を空気圧送する通路
22 冷却・搬送空気を供給する環状の通路
23 火炎を形成する燃焼ガスを供給する環状の通路
A 火炎
B 吹き付け材
C 冷却・搬送空気の層
2 保水性を有するブロック
3 透水性を有するガラス層
10 ガラス層の製造装置
11 機枠
12 コンベア
13 エアーノズル
14 ヒーター
15 温度センサー
16 第1のガン
17 第2のガン
20 ガン(吹き付け機)
21 吹き付け材を空気圧送する通路
22 冷却・搬送空気を供給する環状の通路
23 火炎を形成する燃焼ガスを供給する環状の通路
A 火炎
B 吹き付け材
C 冷却・搬送空気の層
Claims (5)
- 保水性を有するセメント硬化体からなるブロックの舗装面となる表面に、熱可塑性樹脂を結合剤とした平均粒子径が0.5〜1.5mmのガラス破砕物からなる透水性を有するガラス層が形成されていることを特徴とする、舗装用ブロック。
- 上記ガラス層の厚みは、1.0〜3.0mmであることを特徴とする、請求項1に記載の舗装用ブロック。
- 上記ガラス層は、上記ブロックの舗装面となる表面に火炎噴射により形成された可塑化した上記結合剤層に上記ガラス破砕物を火炎噴射により吹き付けて形成されていることを特徴とする、請求項1又は2に記載の舗装用ブロック。
- 上記保水性を有するブロックは、即脱ブロックであることを特徴とする、請求項1〜3のいずれかに記載の舗装用ブロック。
- 上記保水性を有するブロックは、JIPEA−TM−7に規定された方法により測定された保水量が0.15g/cm3以上であることを特徴とする、請求項1〜4のいずれかに記載の舗装用ブロック。
Priority Applications (1)
| Application Number | Priority Date | Filing Date | Title |
|---|---|---|---|
| JP2009257869A JP2011102494A (ja) | 2009-11-11 | 2009-11-11 | 舗装用ブロック |
Applications Claiming Priority (1)
| Application Number | Priority Date | Filing Date | Title |
|---|---|---|---|
| JP2009257869A JP2011102494A (ja) | 2009-11-11 | 2009-11-11 | 舗装用ブロック |
Publications (1)
| Publication Number | Publication Date |
|---|---|
| JP2011102494A true JP2011102494A (ja) | 2011-05-26 |
Family
ID=44192932
Family Applications (1)
| Application Number | Title | Priority Date | Filing Date |
|---|---|---|---|
| JP2009257869A Pending JP2011102494A (ja) | 2009-11-11 | 2009-11-11 | 舗装用ブロック |
Country Status (1)
| Country | Link |
|---|---|
| JP (1) | JP2011102494A (ja) |
Cited By (4)
| Publication number | Priority date | Publication date | Assignee | Title |
|---|---|---|---|---|
| JP2013199805A (ja) * | 2012-03-26 | 2013-10-03 | Ube Ind Ltd | 高保水性ブロックおよび高保水性ブロックの製造方法 |
| CN106946517A (zh) * | 2016-12-20 | 2017-07-14 | 梁洲辅 | 一种发光透水砖及其制备方法 |
| JP2017203264A (ja) * | 2016-05-10 | 2017-11-16 | 三和グランド株式会社 | 舗装材および舗装用ブロック |
| JP2019031866A (ja) * | 2017-08-09 | 2019-02-28 | 株式会社フクユー緑地 | 簡易舗装方法および簡易舗装材 |
Citations (4)
| Publication number | Priority date | Publication date | Assignee | Title |
|---|---|---|---|---|
| JPH0543358A (ja) * | 1991-08-08 | 1993-02-23 | Mitsubishi Materials Corp | 道路マーキング用インターロツキングブロツクの製造方法 |
| JPH0931904A (ja) * | 1995-07-14 | 1997-02-04 | Mino Doro Kk | 舗装用ブロック |
| JP2006161335A (ja) * | 2004-12-03 | 2006-06-22 | Kinugasa Mokuzai Kk | 舗装用ブロック |
| JP2007145669A (ja) * | 2005-11-29 | 2007-06-14 | Mitsubishi Materials Corp | 保水性ブロックとその製造方法 |
-
2009
- 2009-11-11 JP JP2009257869A patent/JP2011102494A/ja active Pending
Patent Citations (4)
| Publication number | Priority date | Publication date | Assignee | Title |
|---|---|---|---|---|
| JPH0543358A (ja) * | 1991-08-08 | 1993-02-23 | Mitsubishi Materials Corp | 道路マーキング用インターロツキングブロツクの製造方法 |
| JPH0931904A (ja) * | 1995-07-14 | 1997-02-04 | Mino Doro Kk | 舗装用ブロック |
| JP2006161335A (ja) * | 2004-12-03 | 2006-06-22 | Kinugasa Mokuzai Kk | 舗装用ブロック |
| JP2007145669A (ja) * | 2005-11-29 | 2007-06-14 | Mitsubishi Materials Corp | 保水性ブロックとその製造方法 |
Cited By (5)
| Publication number | Priority date | Publication date | Assignee | Title |
|---|---|---|---|---|
| JP2013199805A (ja) * | 2012-03-26 | 2013-10-03 | Ube Ind Ltd | 高保水性ブロックおよび高保水性ブロックの製造方法 |
| JP2017203264A (ja) * | 2016-05-10 | 2017-11-16 | 三和グランド株式会社 | 舗装材および舗装用ブロック |
| CN106946517A (zh) * | 2016-12-20 | 2017-07-14 | 梁洲辅 | 一种发光透水砖及其制备方法 |
| JP2019031866A (ja) * | 2017-08-09 | 2019-02-28 | 株式会社フクユー緑地 | 簡易舗装方法および簡易舗装材 |
| JP7051037B2 (ja) | 2017-08-09 | 2022-04-11 | 株式会社フクユー緑地 | 簡易舗装方法および簡易舗装材 |
Similar Documents
| Publication | Publication Date | Title |
|---|---|---|
| CN101050093A (zh) | 利用钢渣作骨料的透水性水泥混凝土路面材料组合物及方法 | |
| CN106746683B (zh) | 玻璃轻石透水砖及其制备方法 | |
| KR101300515B1 (ko) | 고성능 시멘트 콘트리트 조성물 및 이를 이용한 접착식 덧씌우기 포장공법 | |
| JP2011102494A (ja) | 舗装用ブロック | |
| CN107235662B (zh) | 一种废弃物再生浅色集料沥青混凝土及其明色化铺装应用 | |
| KR102521217B1 (ko) | 폐플라스틱 골재 및 다공성 골재를 이용한 콘크리트 투수블록 및 그 제조방법 | |
| CN105645842B (zh) | 一种用抛光砖废渣制备的人造石材及其制备方法 | |
| KR101167279B1 (ko) | 슬래그볼 및 우레탄 바인더 혼합 조성물 및 이를 이용한 인보도 및 자전거도로 포장시공방법 | |
| WO1994000638A1 (fr) | Composition de matiere permeable, matiere permeable et production de cette matiere | |
| KR100796209B1 (ko) | 칼라 바닥재용 폴리머 시멘트 조성물 및 그 포장방법 | |
| KR101178588B1 (ko) | 슬래그 볼 및 규사를 이용한 인보도 및 자전거도로 포장시공방법 | |
| CN109537395A (zh) | 一种阻热降温式沥青混凝土磨耗层施工方法 | |
| KR102445706B1 (ko) | 초속경 콘크리트 포장용 조성물, 이의 제조방법 및 이를 이용한 콘크리트 보수방법 | |
| CN103966935A (zh) | Ecc耐久型彩色路面铺装结构及其铺设方法 | |
| RU2372304C1 (ru) | Способ изготовления крупного заполнителя для бетонов | |
| JP2010144439A (ja) | コンクリート部材およびその製造方法 | |
| KR100871865B1 (ko) | 경계 블록 및 그 제조방법 | |
| JP5483312B2 (ja) | 舗装用即脱ブロック | |
| KR100414901B1 (ko) | 제강슬래그를 이용한 투수성 콘크리트 조성물 | |
| KR102450053B1 (ko) | 동결융해저항성을 향상시킨 도로포장구조 | |
| JP2009185597A (ja) | コンクリート打設面の修復方法及び保水材含有プレミックスモルタル | |
| CN109778657B (zh) | 一种水泥路面快速维修方法 | |
| KR101037906B1 (ko) | 환경친화형 도로포장용 미끄럼 방지층 및 이를 이용한 도로 | |
| JP5292207B2 (ja) | 舗装用遅蒸発型即脱ブロック | |
| KR100532811B1 (ko) | 유색 세립 다짐 콘크리트 포장공법 |
Legal Events
| Date | Code | Title | Description |
|---|---|---|---|
| A621 | Written request for application examination |
Free format text: JAPANESE INTERMEDIATE CODE: A621 Effective date: 20121017 |
|
| A977 | Report on retrieval |
Free format text: JAPANESE INTERMEDIATE CODE: A971007 Effective date: 20130807 |
|
| A131 | Notification of reasons for refusal |
Free format text: JAPANESE INTERMEDIATE CODE: A131 Effective date: 20130903 |
|
| A02 | Decision of refusal |
Free format text: JAPANESE INTERMEDIATE CODE: A02 Effective date: 20140128 |
