JP2011069896A - 偏光解消シート、バックライトユニット及びディスプレイ装置 - Google Patents
偏光解消シート、バックライトユニット及びディスプレイ装置 Download PDFInfo
- Publication number
- JP2011069896A JP2011069896A JP2009219376A JP2009219376A JP2011069896A JP 2011069896 A JP2011069896 A JP 2011069896A JP 2009219376 A JP2009219376 A JP 2009219376A JP 2009219376 A JP2009219376 A JP 2009219376A JP 2011069896 A JP2011069896 A JP 2011069896A
- Authority
- JP
- Japan
- Prior art keywords
- light
- sheet
- light source
- polarized
- axis
- Prior art date
- Legal status (The legal status is an assumption and is not a legal conclusion. Google has not performed a legal analysis and makes no representation as to the accuracy of the status listed.)
- Granted
Links
Images
Landscapes
- Optical Elements Other Than Lenses (AREA)
- Liquid Crystal (AREA)
- Planar Illumination Modules (AREA)
Abstract
Description
BEF(符号6)は、“ 軸外(off−axis)”からの光を集光し、この光を視聴者に向けて“ 軸上(on−axis)”に方向転換(redirect)又は“リサイクル(recycle)”する。
単位プリズム62の反復的アレイ構造が一方向のみの並列では、その並列方向での方向転換又はリサイクルのみが可能であり、水平および垂直方向での表示光の輝度制御を行なうために、プリズム群の並列方向が互いに略直交するように、2枚のシートを重ねて組み合わせて用いられる。
このようなBEF(符号6)を採用することにより、ディスプレイ設計者が電力消費を低減しながら所望の軸上輝度を達成することができる。
ところで、直下型バックライトに使用する拡散板としては、従来は平板型のものが良く用いられていたが、近年ではバックライトの薄型化や光源数の削減に対応するため、例えば特許文献4のように拡散板の表面に凹凸構造を形成し拡散機能を高めたものが知られている。
すなわち、図15(a)に示すように、BEFに代表される単位プリズム62が一方向に配列したプリズムシートを使用する場合、BEFから射出される光は視野方向Fへ射出する光Xの他に、視野方向Fから大きく傾いた方向へ射出するサイドローブ光Yが発生する。サイドローブ光Yの発生は、ディスプレイを見る角度によって明るさムラを引き起こすため、望ましくない。図15(b)は、BEFの輝度分布を表す。±60°付近に現れるピークがサイドローブ光Yによるものである。
また、本発明に係る偏光解消シートでは、凸構造は、底面が楕円からなる楕円体であってもよい。
また、本発明に係る偏光解消シートでは、凸構造は、底面が楕円である楕円錐であってもよい。
また、本発明に係る偏光解消シートでは、凸構造は、X軸方向に延在した第1プリズムと、Y軸方向に延在した第2プリズムからなるクロスプリズムであってもよい。
また、本発明に係る偏光解消シートでは、凸構造は、X軸方向に延在した第1レンチキュラーレンズと、Y軸方向に延在した第2レンチキュラーレンズからなるクロスレンチキュラーレンズであってもよい。
また、本発明に係る偏光解消シートでは、凸構造は、X軸方向に延在した台形プリズムアレイと、その頂部にY軸方向に延在したプリズムアレイとを形成した複合プリズムであってもよい。
このように、面光源装置から射出したX方向に部分的に偏光した光は、偏光解消シートによってX方向の偏光成分のみの強度が弱められ、Y方向に偏光した光はX方向に偏光した光の反射成分によって強度が強められる。したがって、X、Yそれぞれの偏光方向の強度差が小さくなり、偏光が解消されることになる。
本発明では、上述した偏光解消シートを備えているから、偏光解消効果を有するバックライトユニットを提供することができる。
本発明では、光源から射出した斜め方向の光を正面方向へ立ち上げることができ、従来のように表面が平坦な拡散板で発生していた光源と光源の間の暗いスポットを消すことが可能になる。
本発明では、導光板の内部でS偏光が強く反射され、導光板から射出される光がS偏光に偏った光、つまり光源の並ぶ方向と平行な方向に偏光した光が射出されることになる。
本発明では、導光板の長辺から中心までの距離が、短辺から中心までの距離と比べて短いため、導光板の中心から射出される光が長辺に配置された光源による寄与が大きく、これにより、導光板から射出される光が導光板の長辺に平行な方向に偏光し、強く射出されることになる。
本発明では、上述した偏光解消シートを有するバックライトユニットを備えているから、偏光解消効果を有する良好な表示品位の画像を提供することができる。
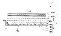
ここで、以下の説明では、図1に示すディスプレイ装置1において、画像表示素子3側を上側、正面側といい、後述するバックライトユニット2の反射板42側を下側といい、画像表示素子3の平面に対して直交する方向を上下方向といい、その上下方向で上側を表側、下側を裏側という。
図1に示すディスプレイ装置1は、直下型のバックライトユニット2を備え、上方に光を照射するバックライトユニット2の光の送出側に画像表示素子3を重ねて設けることで構成され、画像表示素子3から上側に向けて画像信号によって表示制御された表示光を送出することで画像を表示するものである。
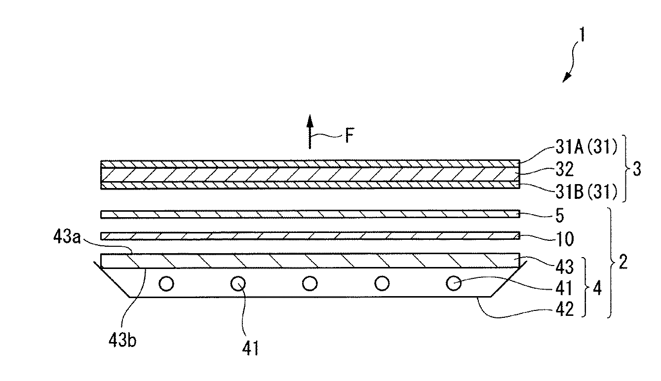
なお、この光学シート5は、偏光解消シート10の上に配置させているが、これに限定されず、面光源装置4と偏光解消シート10の間に配置させる構成としてもよい。また、光学シート5の枚数は、1枚以上であればとくに制限されることはない。
なお、凸状部43cは、拡散板43の光射出面43a側、もしくは光入射面43b側、もしくはその両方に形成しても良い。
図3は、屈折率1.5の媒質から空気中(屈折率1)に光線が進行する際の透過率を、フレネル係数から計算したものを示している。このグラフから分かるように、入射角(deg)が小さいほどP偏光とS偏光との偏光の違いによる透過率の変化は小さいが、入射角が大きくなるにつれて偏光による透過率の違いが顕著に現れる。
なお、実際にバックライトユニット2を設計するにあたって、輝度を高めるために、バックライトユニット2から射出される光の偏光方向と偏光板31の透過軸の方向が一致していることが好ましい。
ここで、図5に示すように、図1に示す面光源装置4から射出される光が強く偏光する方向をX軸とし、X軸と直交する方向をY軸とする。
偏光解消シート10の凸部12は、底面が長方形の四角錐形状をなし、X軸方向に図5(a)に示すような緩やかな傾斜面(第1傾斜面12A)を有し、Y軸方向に図5(b)に示すような第1傾斜面12Aよりも急な傾斜面(第2傾斜面12B)を有する。
ここで、θxはX方向の平均傾斜角、θYはY方向の平均傾斜角である。Zは、凸部12の基材11面からの高さである。Tは、凸部12の1周期長さである。
そして、第2傾斜面12Bで反射したX方向に偏光した光は、視覚方向とは逆向きに進行し、面光源装置4の反射板42により反射され、再び面光源装置4の射出光と混じって再利用される。反射板42による反射では偏光が解消されるため、戻された光の一部が面光源装置4のY方向の偏光成分の強度を強める役割を果たす。そして、Y方向に偏光した光は、第2傾斜面12Bに対してP偏光として入射するため、それほど強度を弱められずに透過する。第1傾斜面12Aに対しては、X、Y方向のどちらの向きに偏光した光が入射しても、入射角θAが小さいために透過率が高く、それほど強度を弱められずに透過する。
また、第2傾斜面12Bは、P偏光を透過させてS偏光を反射させるために、平均傾斜角を50°以上75°以下の範囲で設定するのが好ましい。
画像表示素子3は、液晶表示素子であることが好ましい。液晶表示素子は、画素単位で光を透過/遮光して画像を表示する代表的な素子であり、他の表示素子と比べて、画像品位を高くすることができるとともに、製造コストの低減が図れる利点がある。
本第2の実施の形態によるバックライトユニット2Aの面光源装置4は、導光板46と、導光板46の端部46aに配置された光源44とから構成される。
反射パターン47は、例えば白色ドットパターンをスクリーン印刷によって形成する方法や、微細な凹凸形状を樹脂成型する方法などがあり、導光板46内部を伝播する光を反射によって観察者側Fに立ち上げるために設けたものである。光源44は、導光板46の対向する2辺、もしくは4辺に配列されている。
また、図7に示すように、導光板46の内部で反射する場合には、S偏光が強く反射される。そのため、導光板46から射出される光は、S偏光に偏った光、つまり光源44の並ぶ方向と平行な方向に偏光した光が射出される。導光板46の4辺に光源44が配列される場合、導光板46を視覚方向F側から眺めたときに略長方形である場合に、偏光した光が射出される。これは、導光板46の長辺から中心までの距離が、短辺から中心までの距離と比べて短いため、導光板46の中心から射出される光が長辺に配置された光源44による寄与が大きいためであり、これにより導光板46から射出される光が導光板46の長辺に平行な方向に偏光し、強く射出されることになる。
例えば図8に示す第1変形例による偏光解消シート10Aは、底面が楕円の楕円体をなす形状となっている。また、図9に示す第2変形例による偏光解消シート10Bは楕円錐、図10に示す第3変形例による偏光解消シート10Cはプリズム、もしくはレンチキュラーレンズをクロスして配列したクロスプリズム、図11に示す第4変形例による偏光解消シート10Dはクロスレンチキュラーレンズ、図12に示す第5変形例による偏光解消シート10Eは台形プリズムの頂部に直交するようにプリズムを配列した複合プリズムをなす形状となっている。
ここで、以下の比較例、実施例で用いる拡散板は、表面(光射出面側)に傾斜角60°の三角プリズムを多数形成したものとする。また、拡散板の屈折率は1.59とする。偏光解消シートは、PET基材(屈折率1.57)の上に凸構造(屈折率1.51)を複数形成したものである。
拡散板単体でシミュレーションを行ったところ、拡散板の凸構造が延在する方向と平行な方向に偏光する光の輝度を100とした場合、それと垂直な方向に偏光する光の輝度は105となった。拡散板単体の場合、拡散板の凸構造と垂直な方向に偏光する光が強く発生することが確認できた。
偏光解消シートに形成する凸構造は、等ピッチの三角プリズムが直交して配列したクロスプリズムとする。プリズムの傾斜角は、どちらも45°とする。拡散板と偏光解消シートの2枚構成でシミュレーションを行ったところ、拡散板のプリズムが延在する方向に偏光する光の輝度を100とした場合、それと垂直な方向に偏光する光の輝度は104 となり、拡散板の射出光の偏光を十分に解消することができなかった。
偏光解消シートに形成する凸構造は、等ピッチの三角プリズムが直交して配列したクロスプリズムとする。クロスプリズムは、拡散板の三角プリズムの延在する方向に対して平行な方向に傾斜角45°のプリズムを、それと直交する方向に傾斜角53°のプリズムを等ピッチで配列した。
シミュレーションの結果、拡散板の凸構造が延在する方向と平行な方向に偏光する光の輝度を100とした場合、それと垂直な方向に偏光する光の輝度は101となり、拡散板の射出光の偏光が十分に解消された。
また、図13(a)に示すように、射出光の配光分布のシミュレーション結果により、BEFに見られたようなサイドローブ光による配光分布の凹凸が軽減されたことが確認できた。ここで、図13(a)のV方向は、拡散板の凸構造が延在する方向であり、H方向はそれと直交する方向である。
偏光解消シートに形成する凸構造は、等ピッチのレンチキュラーレンズが直交して配列したクロスレンチキュラーレンズとする。クロスレンチキュラーレンズは、拡散板の凸構造の延在する方向に対して平行な方向に平均傾斜角45°のレンズを、それと直交する方向に平均傾斜角53°のレンズを等ピッチで配列した。
シミュレーションの結果、拡散板の凸構造が延在する方向と平行な方向に偏光する光の輝度を100とした場合、それと垂直な方向に偏光する光の輝度は101となり、拡散板の射出光の偏光が十分に解消された。
また、図13(b)に示すように、射出光の配光分布のシミュレーション結果により、BEFに見られたようなサイドローブ光による配光分布の凹凸が軽減されたことが確認できた。ここで、図13(b)のV方向は、拡散板の凸構造が延在する方向であり、H方向はそれと直交する方向である。
2、1A バックライトユニット
3 画像表示素子
4 面光源装置
5 光学シート
10、10A〜10E 偏光解消シート
11 基材
12 凸部(凸構造)
12A 第1傾斜面
12B 第2傾斜面
31、31A、31B 偏光板
41、44 光源
42、45 反射板
43 拡散板
46 導光板
47 反射パターン
Claims (14)
- 前記凸構造は、底面が長方形の四角錐形状であることを特徴とする請求項1に記載の偏光解消シート。
- 前記凸構造は、底面が楕円からなる楕円体であることを特徴とする請求項1に記載の偏光解消シート。
- 前記凸構造は、底面が楕円である楕円錐であることを特徴とする請求項1に記載の偏光解消シート。
- 前記凸構造は、前記X軸方向に延在した第1プリズムと、前記Y軸方向に延在した第2プリズムからなるクロスプリズムであることを特徴とする請求項1に記載の偏光解消シート。
- 前記凸構造は、前記X軸方向に延在した第1レンチキュラーレンズと、前記Y軸方向に延在した第2レンチキュラーレンズからなるクロスレンチキュラーレンズであることを特徴とする請求項1に記載の偏光解消シート。
- 前記凸構造は、前記X軸方向に延在した台形プリズムアレイと、その頂部に前記Y軸方向に延在したプリズムアレイとを形成した複合プリズムであることを特徴とする請求項1に記載の偏光解消シート。
- 請求項1乃至8のいずれかに記載の偏光解消シートを備えることを特徴とするバックライトユニット。
- 前記面光源装置は、光源と、光源から射出した光を拡散する拡散板を備え、
該拡散板には、光射出面側および光入射面側の少なくとも一方に、面内のある一つの軸方向に延在した凸状部が周期的に配列していることを特徴とする請求項9に記載のバックライトユニット。 - 前記面光源装置は、導光板と、該導光板の対向する2辺に光源が近接して配置されてなることを特徴とする請求項9又は10に記載のバックライトユニット。
- 前記面光源装置は、導光板と、該導光板の4辺に光源が近接して配置され、前記導光板を、光射出面側から眺めたときに、略長方形であることを特徴とする請求項9又は10に記載のバックライトユニット。
- 少なくとも一種類以上の光学シートを備えることを特徴とする請求項9乃至12のいずれかに記載のバックライトユニット。
- 請求項13に記載のバックライトユニットと、画素単位で光を透過・遮光して画像を表示する画像表示素子と、を備えることを特徴とするディスプレイ装置。
Priority Applications (1)
| Application Number | Priority Date | Filing Date | Title |
|---|---|---|---|
| JP2009219376A JP5458772B2 (ja) | 2009-09-24 | 2009-09-24 | 偏光解消シート、バックライトユニット及びディスプレイ装置 |
Applications Claiming Priority (1)
| Application Number | Priority Date | Filing Date | Title |
|---|---|---|---|
| JP2009219376A JP5458772B2 (ja) | 2009-09-24 | 2009-09-24 | 偏光解消シート、バックライトユニット及びディスプレイ装置 |
Publications (2)
| Publication Number | Publication Date |
|---|---|
| JP2011069896A true JP2011069896A (ja) | 2011-04-07 |
| JP5458772B2 JP5458772B2 (ja) | 2014-04-02 |
Family
ID=44015265
Family Applications (1)
| Application Number | Title | Priority Date | Filing Date |
|---|---|---|---|
| JP2009219376A Expired - Fee Related JP5458772B2 (ja) | 2009-09-24 | 2009-09-24 | 偏光解消シート、バックライトユニット及びディスプレイ装置 |
Country Status (1)
| Country | Link |
|---|---|
| JP (1) | JP5458772B2 (ja) |
Cited By (2)
| Publication number | Priority date | Publication date | Assignee | Title |
|---|---|---|---|---|
| JP2014006372A (ja) * | 2012-06-25 | 2014-01-16 | Ricoh Opt Ind Co Ltd | 偏光解消素子及びその素子を用いた光学機器 |
| US9080748B2 (en) | 2012-11-20 | 2015-07-14 | Samsung Electronics Co., Ltd. | Display panel having improved light-use efficiency, display device including the display panel, and method of manufacturing the display panel |
Citations (6)
| Publication number | Priority date | Publication date | Assignee | Title |
|---|---|---|---|---|
| JPH0533129U (ja) * | 1991-10-09 | 1993-04-30 | 住友化学工業株式会社 | 面光源 |
| JPH11142622A (ja) * | 1997-11-13 | 1999-05-28 | Dainippon Printing Co Ltd | レンズフィルム、面光源装置、液晶表示装置 |
| JP2007286573A (ja) * | 2005-09-15 | 2007-11-01 | Sony Corp | 光透過フィルム、光透過フィルムの製造方法及び液晶表示装置 |
| JP2008521030A (ja) * | 2004-11-15 | 2008-06-19 | スリーエム イノベイティブ プロパティズ カンパニー | 矩形底面プリズムを備えた構造化表面を有する光学フィルム |
| WO2009004696A1 (ja) * | 2007-06-29 | 2009-01-08 | Toppan Printing Co., Ltd. | レンズシート、ディスプレイ用光学シート及びそれを用いたバックライトユニット、ディスプレイ装置 |
| JP2009075366A (ja) * | 2007-09-20 | 2009-04-09 | Toppan Printing Co Ltd | 光学シート、バックライトユニット及び表示装置 |
-
2009
- 2009-09-24 JP JP2009219376A patent/JP5458772B2/ja not_active Expired - Fee Related
Patent Citations (6)
| Publication number | Priority date | Publication date | Assignee | Title |
|---|---|---|---|---|
| JPH0533129U (ja) * | 1991-10-09 | 1993-04-30 | 住友化学工業株式会社 | 面光源 |
| JPH11142622A (ja) * | 1997-11-13 | 1999-05-28 | Dainippon Printing Co Ltd | レンズフィルム、面光源装置、液晶表示装置 |
| JP2008521030A (ja) * | 2004-11-15 | 2008-06-19 | スリーエム イノベイティブ プロパティズ カンパニー | 矩形底面プリズムを備えた構造化表面を有する光学フィルム |
| JP2007286573A (ja) * | 2005-09-15 | 2007-11-01 | Sony Corp | 光透過フィルム、光透過フィルムの製造方法及び液晶表示装置 |
| WO2009004696A1 (ja) * | 2007-06-29 | 2009-01-08 | Toppan Printing Co., Ltd. | レンズシート、ディスプレイ用光学シート及びそれを用いたバックライトユニット、ディスプレイ装置 |
| JP2009075366A (ja) * | 2007-09-20 | 2009-04-09 | Toppan Printing Co Ltd | 光学シート、バックライトユニット及び表示装置 |
Cited By (2)
| Publication number | Priority date | Publication date | Assignee | Title |
|---|---|---|---|---|
| JP2014006372A (ja) * | 2012-06-25 | 2014-01-16 | Ricoh Opt Ind Co Ltd | 偏光解消素子及びその素子を用いた光学機器 |
| US9080748B2 (en) | 2012-11-20 | 2015-07-14 | Samsung Electronics Co., Ltd. | Display panel having improved light-use efficiency, display device including the display panel, and method of manufacturing the display panel |
Also Published As
| Publication number | Publication date |
|---|---|
| JP5458772B2 (ja) | 2014-04-02 |
Similar Documents
| Publication | Publication Date | Title |
|---|---|---|
| US7973880B2 (en) | Illumination device and liquid crystal display device | |
| KR100978078B1 (ko) | 프리즘 시트와 이를 구비한 액정표시장치 | |
| JP5071675B2 (ja) | 照明装置および表示装置 | |
| US20070147088A1 (en) | Backlight module with dual light guide plates and liquid crystal display with same | |
| WO2011065052A1 (ja) | 面状照明装置およびそれを備えた表示装置 | |
| US20090296021A1 (en) | Optical sheet, backlight unit, and liquid crystal display | |
| JP2009170205A (ja) | 導光板、導光板連結体、バックライトユニット、及び表示装置 | |
| KR102266737B1 (ko) | 렌즈, 렌즈를 포함하는 발광 장치, 및 발광 장치를 포함하는 백 라이트 유닛 | |
| KR20080072197A (ko) | 휘도 특성이 개선된 편광 도광판 및 이의 제작 방법 | |
| JP4423933B2 (ja) | 光学シートとそれを用いたバックライトユニットおよびディスプレイ | |
| JP2010118240A (ja) | 光学部材、バックライトユニット及びディスプレイ装置 | |
| JP5493312B2 (ja) | 面発光装置及び画像表示装置 | |
| JP2011134560A (ja) | 隠蔽構造体を備えた照明装置と表示装置 | |
| TW201314314A (zh) | 導光板、面光源裝置及透過型圖像顯示裝置 | |
| US7787074B2 (en) | Optical sheet, backlight unit, and liquid crystal display | |
| CN104133318B (zh) | 聚光片、背光单元和使用它们的液晶显示装置 | |
| JP5434403B2 (ja) | 照明ユニット及び表示装置 | |
| JP5458772B2 (ja) | 偏光解消シート、バックライトユニット及びディスプレイ装置 | |
| JP2012079460A (ja) | 隠蔽レンズシートを用いた照明ユニット及びこれを備えた表示装置 | |
| CN205028004U (zh) | 背光模组与显示装置 | |
| TWI895975B (zh) | 光控制膜、背光單元和顯示裝置 | |
| JP2010049012A (ja) | 光学シート、バックライト及びディスプレイ装置 | |
| US20080112190A1 (en) | Light guide plate having recessed region(s) disposed thereon | |
| JP2011064745A (ja) | 光学シート、バックライトユニット及びディスプレイ装置 | |
| JP4956933B2 (ja) | 光学シートとそれを用いたバックライト・ユニットおよびディスプレイ |
Legal Events
| Date | Code | Title | Description |
|---|---|---|---|
| A621 | Written request for application examination |
Free format text: JAPANESE INTERMEDIATE CODE: A621 Effective date: 20120823 |
|
| A977 | Report on retrieval |
Free format text: JAPANESE INTERMEDIATE CODE: A971007 Effective date: 20130828 |
|
| A131 | Notification of reasons for refusal |
Free format text: JAPANESE INTERMEDIATE CODE: A131 Effective date: 20130903 |
|
| A521 | Written amendment |
Free format text: JAPANESE INTERMEDIATE CODE: A523 Effective date: 20131105 |
|
| A521 | Written amendment |
Free format text: JAPANESE INTERMEDIATE CODE: A821 Effective date: 20131107 |
|
| TRDD | Decision of grant or rejection written | ||
| A01 | Written decision to grant a patent or to grant a registration (utility model) |
Free format text: JAPANESE INTERMEDIATE CODE: A01 Effective date: 20131217 |
|
| A61 | First payment of annual fees (during grant procedure) |
Free format text: JAPANESE INTERMEDIATE CODE: A61 Effective date: 20131230 |
|
| R150 | Certificate of patent or registration of utility model |
Free format text: JAPANESE INTERMEDIATE CODE: R150 |
|
| LAPS | Cancellation because of no payment of annual fees |
