JP2011046245A - 自動二輪車の電装品の取外し防止構造 - Google Patents

自動二輪車の電装品の取外し防止構造 Download PDF

Info

Publication number
JP2011046245A
JP2011046245A JP2009195043A JP2009195043A JP2011046245A JP 2011046245 A JP2011046245 A JP 2011046245A JP 2009195043 A JP2009195043 A JP 2009195043A JP 2009195043 A JP2009195043 A JP 2009195043A JP 2011046245 A JP2011046245 A JP 2011046245A
Authority
JP
Japan
Prior art keywords
rear frame
guard body
rear fender
electrical components
electrical component
Prior art date
Legal status (The legal status is an assumption and is not a legal conclusion. Google has not performed a legal analysis and makes no representation as to the accuracy of the status listed.)
Granted
Application number
JP2009195043A
Other languages
English (en)
Other versions
JP5432639B2 (ja
Inventor
Hiroyuki Wada
浩行 和田
Current Assignee (The listed assignees may be inaccurate. Google has not performed a legal analysis and makes no representation or warranty as to the accuracy of the list.)
Kawasaki Heavy Industries Ltd
Original Assignee
Kawasaki Heavy Industries Ltd
Priority date (The priority date is an assumption and is not a legal conclusion. Google has not performed a legal analysis and makes no representation as to the accuracy of the date listed.)
Filing date
Publication date
Application filed by Kawasaki Heavy Industries Ltd filed Critical Kawasaki Heavy Industries Ltd
Priority to JP2009195043A priority Critical patent/JP5432639B2/ja
Publication of JP2011046245A publication Critical patent/JP2011046245A/ja
Application granted granted Critical
Publication of JP5432639B2 publication Critical patent/JP5432639B2/ja
Expired - Fee Related legal-status Critical Current
Anticipated expiration legal-status Critical

Links

Images

Landscapes

  • Automatic Cycles, And Cycles In General (AREA)

Abstract

【課題】リヤフレームとリヤフェンダとの隙間を埋め、且つ電装品が抜き出されることを防止する取外し防止構造であって、該構造を取り外した場合の外観および作業性が向上する自動二輪車の電装品の取外し防止構造を提供する。
【解決手段】後輪14の上方に配置されたリヤフェンダ27と、リヤフェンダ27の上方のリヤフレーム21と、リヤフェンダ27に支持されたECU68と、ECU68に前方への抜き出し可能に接続されたカプラ72と、リヤフェンダ27に設けられてECU68を支持する保持部65と、リヤフレーム21に設けられてカプラ72とともにECU68が前方に移動するのを阻止するガード体70とを備えている。
【選択図】図2

Description

本発明は、自動二輪車のシートの下方に配置される、例えばエンジン・コントロール・ユニットのような電装品の取外し防止構造に関するものである。
いわゆるスーパースポーツタイプの自動二輪車では、整備性向上などの理由からフロントシートが容易に取り外せる構造となっている。そのため、シートの下方に取り付けられる、例えばエンジン・コントロール・ユニットのような電装品にアクセスされる恐れがある。また、組立性向上のために、リヤフレームとリヤフェンダとの隙間が比較的大きくなっていることも、上記アクセスされ得る要因の一つである。そこで、蓋体により上方から電装品をリヤフェンダに設けられたボスに押し付けて固定し、さらにリヤフェンダに設けられた規制壁により、接続コネクタが電装品から分離されるのを阻止するようにした電装品の取外し防止構造がある(例えば、特許文献1)。
特開2005−251640号公報
このような電装品の取外し防止構造は、保険の適用、法律などによる地域の実情や、顧客のニーズにより、導入するか否かを選択できることが好ましい。しかしながら、特許文献1の盗難防止構造では、リヤフェンダにボスおよび規制壁を一体形成しているので、取外し防止構造が要求されない場合でも、これらのボス、規制壁が残ってしまい、シートを開けたときの外観が好ましくないうえに、メンテナンスの障害になる恐れもある。
本発明は、上記課題に鑑みてなされたもので、電装品の抜き出しを防止するとともに、該構造を設けない場合の外観および作業性が向上する自動二輪車の電装品の取外し防止構造を提供することを目的としている。
上記目的を達成するために、本発明に係る自動二輪車の電装品の取り外し防止構造は、後輪の上方に配置されたリヤフェンダと、前記リヤフェンダの上方のリヤフレームと、前記リヤフェンダに支持された電装品と、前記電装品に一方向への抜き出し可能に接続された接続コネクタと、前記リヤフェンダに設けられて前記電装品を支持する保持部と、前記リヤフレームに設けられて前記接続コネクタとともに前記電装品が前記一方向に移動するのを阻止するガード体とを備えている。前記一方向は、例えば車体の前方向である。
この構成によれば、リヤフレームに電装品が一方向に移動するのを阻止するガード体が設けられているので、電装品の一方向への抜き出しが阻止される。また、ガード体はリヤフェンダに設けられていないので、ガード体を取り外したあとにリヤフェンダに突起が残らないから、シートを開けたときの外観およびメンテナンスの作業性を損なうことがない。
本発明において、前記ガード体は前記リヤフレームとは別体に形成され、締結部材により前記リヤフレームに固定されていることが好ましい。この構成によれば、ガード体を選択的に取り付けることができ、ガード体を取り付けるモデルと取り付けないモデルとでリヤフレームおよびリヤフェンダが共通化されるので、部品の汎用性を向上させることができる。
さらに、前記締結部材は下方から挿入されるボルトとすることができる。この構成によれば、車体の下側からボルトが締め付けられるので、ドライバ、ペンチ等の工具を用いてボルトの頭部にアクセスするのを防ぐことができる。また、前記ボルトが締結された状態で、前記ボルトの頭部が前記リヤフレームと前記リヤフェンダの間に位置していることが好ましい。この構成によれば、前記工具をボルトの頭部に近づけることがさらに困難になるので、ガード体が不所望に取り外されることを防止できる。
本発明において、前記電装品の一部が前記リヤフレームのクロスメンバーの下方に位置していることが好ましい。この構成によれば、電装品に上方からアクセスしたり、電装品を上方に取り外したりするのが困難になる。
本発明において、例えば、前記保持部は、前記電装品の前記リヤフェンダからの持ち上げ高さが一定値未満の状態で前記電装品の前記一方向への移動を規制する規制壁を有し、前記カード体により、前記接続コネクタの前記一定値以上の持ち上げを阻止する。この構成によれば、規制壁により電装品が一方向へ引き出されるのが防がれるとともに、ガード体により電装品の上方、すなわちリヤフェンダとリヤフレームとの隙間への移動が阻止されるので、電装品が取り外されるのを効果的に防止することができる。
本発明において、前記保持部は、前記電装品の上方および前記一方向と反対の他方向側を覆う壁部を有していることが好ましい。この構成によれば、電装品へのアクセスが困難となり、電装品が取り外されるのを効果的に防止できる。
本発明において、前記ガード体はリヤフレームのクロスメンバに取り付けられる取付片と、前記取付片から下方に延びる延出片と、前記延出片の下端に連設されて前記接続コネクタに近接し前記接続コネクタの前記一定値以上の持ち上げを阻止するストッパ片とを有することが好ましい。この構成によれば、ガード体の構造が簡略化されるので、ガード体を、例えば板材の曲げ加工によって形成することで、安価に製造できる。
本発明の自動二輪車の電装品の取り外し防止構造によれば、リヤフェンダの上方に位置するリヤフレームに、電装品が一方向に移動するのを阻止するガード体が設けられているので、電装品の一方向へのが抜き出しが阻止される。また、ガード体はリヤフェンダに設けられていないので、ガード体を取り外したあとにリヤフェンダに突起が残らないから、シートを開けたときの外観およびメンテナンスの作業性を損なうことがない。
本発明の電装品の取外し防止構造が適用される自動二輪車を示す側面図である。 同上の自動二輪車における取外し防止構造を含む上方後部構成を示す分解斜視図である。 (a)は、同上の取外し防止構造におけるリヤフェンダを示す平面図、(b)は側面図である。 同上のECUの取付部分を示す分解斜視図である。 (a)は、同上の取外し防止構造におけるガード体を示す正面図、(b)は(a)の平面図、(c)は(a)の右側面図である。 同上のECU収納空間に電装品が設置され、テールカバーセンターを取り外した状態を示す平面図である。 本発明の第2実施形態に係るガード体を示す正面図、(b)は(a)の平面図、(c)は(a)の右側面図である。 本発明の第3実施形態に係るガード体を示す正面図、(b)は(a)の平面図、(c)は(a)の右側面図である。 本発明の第4実施形態に係るガード体を示す正面図、(b)は(a)の平面図、(c)は(a)の右側面図である。
以下、本発明の好ましい実施形態について図面を参照しながら詳細に説明する。
図1は本発明が適用される自動二輪車を示す。この自動二輪車は、車体フレームFRの前半部を構成するメインフレーム1の前端にヘッドパイプ2が取り付けられ、このヘッドパイプ2に回動自在に挿通されたステアリングシャフト3を介してアッパブラケット4およびロワブラケット5が取り付けられ、これらアッパブラケット4およびロワブラケット5にフロントフォーク8が支持され、このフロントフォーク8の下端部に前輪9が支持されている。フロントフォーク8の上端部のアッパブラケット4にハンドル10が取り付けられている。
前記メインフレーム1の後端下部には、スイングアームブラケット11が設けられ、このスイングアームブラケット11に、スイングアーム12が、前端部に挿通されたピボット軸13を介して上下揺動自在に支持されている。このスイングアーム12の後端部には後輪14が支持されている。メインフレーム1の中央下部には多気筒エンジンEが支持されている。前記エンジンEのシリンダヘッド17には複数の排気管18が接続され、これら排気管18は車体後部の両側に一つずつ配置されたマフラ20に接続されている。
前記メインフレーム1の後部に連結されたリヤフレーム21が車体フレームFRの後半部を構成しており、このリヤフレーム21にライダー用シート35と同乗者用シート36とが支持されている。リヤフレーム21は、上部のライダー用シート35および同乗者用シート36の取付箇所を除く側部全体が、テールカバー24によって覆われている。リヤフレーム21の下方には、後輪14の上方に位置する、車体構成部材の一つであるリヤフェンダ27が取り付けられており、リヤフェンダ27の後部にリヤフラップ30が装着されている。
メインフレーム1の上部、つまり、車体上部で、前記ハンドル10とライダー用シート35との間には、燃料タンク28が取り付けられている。また、車体前部に、前記ハンドル10の前方から車体前部の側方にかけての部分を覆う樹脂製のカウリング29が装着されている。
図2は、図1の自動二輪車の上方後部の分解斜視図を示す。リヤフレーム21はアルミニウム合金のような金属製であり、その前半部を形成するリヤフレームフロント21Fと、後半部を形成するリヤフレームリヤ21Rとが、左右一対ずつの連結孔56,56に挿通された図示しない締結部材より連結されて、平面視でほぼ矩形の枠状に形成されている。リヤフレームフロント21Fの前端部に設けた4つの連結部31が締結部材(図示せず)で図1のメインフレーム1に連結されることにより、リヤフレーム21がメインフレーム1に固定されている。
リヤフレームフロント21Fは、左右一対の側板22A,22Bと、前部および後端部の上部に配置されて車体の左右方向に延びる前部クロスメンバー25Aおよび第1中間クロスメンバー25Bとが一体形成されている。リヤフレームリヤ21Rは、左右一対の側板23A,23Bと、前後方向中央部の上部に配置された第2中間クロスメンバー25Cと、その後方の後部クロスメンバー25Dと、その後方の後端クロスメンバー25Eとが一体形成されている。こうして、前部クロスメンバー25Aと第1中間クロスメンバー25Bとの間、第1中間クロスメンバー25Bと第2中間クロスメンバー25Cとの間、および第2中間クロスメンバー25Cと後部クロスメンバー25Dとの間にそれぞれ、上方に開口した前部開口26A、中部開口26Bおよび後部開口26Cが形成されている。
リヤカバー24は、左右一対のサイドカバー部24a,24bと、車幅方向中央のセンターカバー部24cの3つが連結されてなるものである。リヤカバー24には、その上部の前部に、ライダー用シート35の外形に対応した形状の前部上側開口40が設けられ、上部の後部に、同乗者用シート36の外形に対応した形状の後部上側開口41が設けられている。さらに、リヤカバー24の下部には、その全長にわたって延びた下部開口42が設けられている。
両サイドカバー部24a,24bのそれぞれの前部には、ねじ孔が形成された固定部38が設けられ、リヤフレームフロント21Fのねじ挿入孔51に、内側から図示しないボルトのような締結部材を挿入して、この締結部材を固定部38にねじ込むことにより、両サイドカバー部24a,24bの前部がリヤフレーム21に取り付けられている。両サイドカバー部24a,24bの後部は、リヤフレームリヤ21Rに被せた配置で、2つの固定孔39を用いたねじ結合によりリヤフレーム21に固定される。
センターカバー部24cは、前端および前後方向中央部に設けられた係合爪49を、テールカバー24に形成された係合孔50(図6)に係合して、後端に設けられた取付孔52にボルトのような締結部材(図示しない)を挿入し、図示しないナット部材で締め上げることで、両サイドカバー部24a,24bに固定されている。
ライダー用シート35は、リヤフレーム21の前部開口26Aおよびリヤカバー24の前部上側開口40を塞ぐように配置される。ライダー用シート35の後方へ突出した係止爪32を第1中間クロスメンバー25Bに設けられたフック部33に掛け止めした状態で、前側下面に設けられた一対の取付片34を、前部クロスメンバー25Aの取付部37の両側に形成された取付ねじ孔37aにそれぞれ合致させて、取付ねじ(図示しない)を取付片34の挿通孔34aから取付ねじ孔37aにねじ込んで締結することにより、ライダー用シート35がリヤフレーム21に取り付けられる。すなわち、ライダー用シート35は、取付ねじを取り外すだけでリヤフレーム21から容易に取り外すことが可能な簡易な構造で、リヤフレーム21に取り付けられている。
同乗者用シート36は、リヤフレーム21に固定されたリヤカバー24に対し後部上側開口41を上方から塞ぐように被せて配置される。同乗者用シート36の後側下面に設けた係合爪(図示せず)をリヤフレームリヤ21Rのフック部43に掛け止めし、かつ、前側下面に設けたフック(図示せず)を後部クロスメンバー部25Cの上面に装着したシートロック装置に係止することにより、同乗者用シート36がリヤフレーム21に対して施錠された状態で取り付けられる。こうして同乗者用シート36が取り付けられた状態で、リヤフェンダ27を底面とし、両サイドカバー部24a,24bを側面とし、上部開口40を出入口とし、同乗者用シート36を蓋部材とする内部空間が形成され、この空間を例えば工具入れなどに利用できる。同乗者用シート36は、前記センターカバー部24cを抑えるように固定されているので、シートロック装置が解除されない限り、センターカバー部24cを取り外すことができないようになっている。
型成形品である樹脂製のリヤフェンダ27は、その前半部を形成するリヤフェンダフロント27Fと後半部を形成するリヤフェンダリヤ27Rとを、連結孔67に取り付けた連結部材(図示しない)により連結して構成されている。リヤフェンダリヤ27Rの後端部が、リヤフレーム21の2つの取付孔46から挿入される固定ねじ(図示しない)をリヤフェンダ27に形成された挿通孔55に挿通してナット(図示しない)で締め上げることにより固定され、かつ、リヤフェンダフロント27Fの左右両側が、リヤフェンダ27に形成された取付孔53からリヤフレーム21の側板22A,22Bのねじ孔54にねじ込んだ取付ねじ(図示しない)により、リヤフレーム21に固定されている。この実施形態では、両サイドカバー部24a,24bに設けられた上記2つのねじ挿通孔39も、上記取付孔46および挿通孔55と共締めされている。
図3(a)および(b)はそれぞれ、前記リヤフェンダフロント27Fを示す平面図および側面図である。このリヤフェンダフロント27Fは、型成形品であって、図3(a)の底壁58の左右両側部に、上方へ突出する図3(b)に示す側壁59が形成されており、この両側壁59が図2のリヤフレーム21の左右両側壁の内面に接する配置でリヤフレーム21に組み合わされる。図3(a)に示すように、リヤフェンダフロント27Fの内側の内部空間は、後方側から、ECU(電子制御ユニット)収納空間60、排気バルブ用アクチュエータ収納空間62、ヒューズボックス収納空間64およびバッテリボックス収納空間66に区画されている。
前記ECU収納空間60における底壁58には、後述のECUを走行時にがたつくことなく、かつ、取り外し不能状態に支持するための保持部65が一体形成されている。すなわち、ECU収納空間60には、同図に2点鎖線で示す、電装品の一種であるECU68が配置され、このECU68の取付箇所の前方にはECU68の一方向である前方への移動を規制する規制壁71が形成され、他方向側である後方には後方を覆う後方壁部61が形成され、両側方の後側にはECU68の位置決めを行う係止片63,63が形成されている。さらに、前記両側壁59の一部がECU68の左右方向の移動を抑止しており、これら規制壁71、後方壁部61、係止片63,63および両側壁59は底壁58に直交するように立ち上がっており、これらが保持部65を構成している。また、ECU68は、図6からわかるように、その一部(前部)が前記第1中間クロスメンバー25Bの下方に位置している。
図3(a)の規制壁71は、車体の左右方向に延びる抑止壁部71aと、抑止壁部71aの左右方向中央部から後方へ延びる係合壁部71bとを有している。抑止壁部71aは、ECU68の前部に接続されたカプラ72,72のリヤフェンダ27からの持ち上げ高さが、後述する一定高さ以下の状態でECU68の前方への移動を規制している。したがって、メンテナンスの際にECU68の前部を一定高さを越えて持ち上げることにより、抑止壁部71aを越えてカプラ72,72を前方へ引き抜くことができる。係合壁部71bは、抑止壁部71aよりも高く設定されており、横片71baと縦片71bbとを有する、平面視でT字形に形成されている。縦片71bbに後述するガード体70が係合される。
図4に示すように、ECU68は、これの要部がゴム製の保護ケース84の下部収納部84aに挿入して保護され、保護ケース84の上部収納部84bにはリレーボックス83が挿入され、この状態でリヤフェンダ27(図3)に設置される。保護ケース84には、前後の側面下部に、リヤフェンダ27の左右一対の係止片63を挿通させるスリット87がそれぞれ形成されている。ECU68には、2つのカプラ接続用のソケット部68a,68bが突設されており、これらソケット部68a,68bに接続コネクタであるカプラ72,72(図2)がそれぞれ挿入されて前方に抜き出し可能に接続される。ECU68の上方は、図6に二点鎖線で示すように、センターカバー部24cにより覆われている。
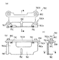
図2に戻って、リヤフレーム21の第1中間クロスメンバー25Bに、リヤフレーム21とは別体のガード体70が設けられている。ガード体70は1枚の板材から折り曲げ加工により形成されたもので、図5(a)〜(c)に示すように、第1中間クロスメンバー25Bに取り付けられる左右一対の取付片74と、取付片74の前端部に連設されて下方に延びる延出片76と、延出片76の下端に連設されて車体後方へ延びるストッパ片78とを有する。
取付片74は後方に向って水平に延びる、ほぼ矩形状であり、表面にはボルト挿入孔74aが形成されている。取付片74の上面には、このボルト挿入孔74aに合致するように溶接ナット80が溶接されている。この実施形態では、一方の取付片74が真っ直ぐ後方へ延び、他方の取付片74が斜め後方に延びているが、両方とも真っ直ぐ後方へ延びていてもよいし、両方とも斜め後方に延びていてもよい。
ガード体70は、下方から挿入されるボルト81により第1中間クロスメンバー25Bに固定される。具体的には、第1中間クロスメンバー25Bに形成されたボルト挿入孔48および取付片74のボルト挿入孔74aにボルト81を下方から挿入して、溶接ナット80に螺合することにより、ガード体70が第1中間クロスメンバー25Bに固定される。したがって、ボルト81が締結された状態で、ボルト81の頭部81aがリヤフレーム21とリヤフェンダ27の間に位置している。この実施形態では、ボルト81はの頭部81a、工具に締まり方向のみに工具が係止可能になった、いわゆるワンウェイボルトを使用している。
延出片76は、取付片74の前端部から折れ曲がって第1中間クロスメンバー25Bの前縁の前方を通って下方に延び、さらに折れ曲がって後方へ延びる左右一対の第1接続部76aと、第1接続部76aの下端部からストッパ片78まで下方に延びる単一の第2接続部76bとを有し、第1接続部76aにリブ77がプレス加工により一体形成されている。第1接続部76aの折れ曲がった形状とリブ77により、ガード体70が補強されている。また、リブ77は、図5(b)に示すように、第1中間クロスメンバー25Bの前端面に近接しており、これによって、延出片76の水平軸まわりの回動を抑制する。
第2接続部76bは左右方向に延びる、正面視(図5(a))でほぼ矩形状であり、左右方向中央部には、下方に開口して、第2接続部76bの上端縁近傍まで延びた上下方向のスリット75が形成されている。スリット75は、ストッパ片78にまで及び、ストッパ片78を左右に分断している。また、第2接続部76bの左端に、曲げ加工により折り曲げられたガイド部79が形成されている。このガイド部79に近接して図5(b)に示すように、ハーネス73が配線されるが、ガイド部79の右端は丸味79aが形成されているので、ハーネス73を損傷させることなくガイドすることができる。ただし、ガイド部79はなくてもよい。
ストッパ片78は、図5(c)に示すように、カプラ72の上方に近接して配置され、カプラ72が一定高さ以上の高さに持ち上げられるのを阻止している。ここで、一定高さとは、カプラ72が抑止壁部71aを乗り越える高さ、すなわち、カプラ72の下面72aと抑止壁部71aの上面71aaとの高低差Hをいう。カプラ72が一定高さHを超えて持ち上げられなければ、カプラ72を前方に引っ張っても抑止壁部71aにより前方に移動するのが阻止され、カプラ72とともにECU68が前方に引き出されることがない。したがって、ストッパ片78の下面とカプラ72の上面との隙間Gが一定高さHよりも小さくなるように、ストッパ片78をカプラ72に近接させておけばよい。
次に、図2のECU68およびガード体70の取り付けについて説明する。ECU68およびリレーボックス83の取り付けに際しては、先ず、図4に示すように、ECU68およびリレーボックス83を挿入した保護ケース84が、図3(a)の保持部65で囲まれたECU収納空間60の底壁58上に設置される。この設置の際に、図4の保護ケース84の2つのスリット87をリヤフェンダ27の係止片63に嵌め込む。これにより、保護ケース84がリヤフェンダ27に位置決めされて支持される。このとき、保護ケース84は、図3(a)のカプラ72,72の間に規制壁71の係合壁部71bが入り込むように位置決めされる。
続いて、上述の方法により、図2に示すガード体70を、ボルト81を用いてリヤフレーム21に取り付ける。次に、リヤフレーム21をリヤフェンダ27に被せて、上述の方法で固定する。このとき、図5(a)に示すように、ガード体70のスリット75に、規制壁71の係合壁部71bの縦片71bbが入り込むことで車幅方向の位置決めがなされるとともに、第2接続部76bが横片71baの後面に近接することで、ガード体70が強制的に前方へ曲げられるのを防止している。この状態で、図6に示すように、第1中間クロスメンバー25Bがカプラ72,72の上方に位置している。その後、図2に示すテールカバー24、センターカバー部24c、同乗者シート36、ライダー用シート35の順に組み立てられる。
上記構成によれば、図6に示すように、センターカバー部24cと、リヤフレーム21の第1中間クロスメンバー25BとによりECU68の上方が覆われているので、ライダー用シート35(図2)を取り外しても外部からECU68にアクセスすることが困難になる。
また、カプラ72に接続されるハーネス73を前方に引っ張ってECU68を引き出そうとしても、リヤフェンダ27に保持部65の一部分である抑止壁部71aが設けられているので、カプラ72の前方への移動が規制されECU68を引き出すことはできない。また、カプラ72を上方に持ち上げて抑止壁部71aを越えようとしても、図5(c)に示すように、ガード体70のストッパ片78がカプラ72の上方に近接して設けられているので、ECU68とリヤフレーム21との隙間が埋められるから、カプラ72とともにECU68が一定高さHを越えて持ち上げられて引き出されるのを効果的に阻止できる。
また、ガード体70は、図2に示すリヤフェンダ27に設けられておらず、リヤフレーム21にボルト81で固定されているだけなので、ガード体70を取り外したあとにリヤフェンダ27に突起などが残らないから、シート35を開けたときの外観およびメンテナンスの作業性を損なうことがない。このように、ガード体70が選択的に取り付けられるから、ガード体70を取り付けるモデルと取り付けないモデルとでリヤフレーム21およびリヤフェンダ27が共通化されるので、部品の汎用性を向上させることができる。
さらに、前記ボルト81は下方から挿入されて車体の下側から締め付けられるので、ドライバ、ペンチ等の工具を用いてボルト81の頭部81aにアクセスするのを防ぐことができる。また、ボルト81が締結された状態で、ボルト81の頭部81aがリヤフレーム21とリヤフェンダ27との間に位置しているので、工具をボルト81の頭部81aに近づけることがさらに困難になり、ガード体70が不所望に取り外されることを防止できる。
ECU68の後方には、後方壁部61が形成されているので、後方からECU68にアクセスするのが困難となり、ECU68を後方に移動させて取り外すのを効果的に防止できる。
前記ガード体70は、1枚の板材にプレス加工および曲げ加工を施すことで形成されるので、ガード体の構造が簡略化され、ガード体を安価に製造できる。
図7(a)〜(c)は、本発明の第2実施形態に係るガード体70Aを示す正面図、平面図および側面図である。このガード体70Aは1枚の板材から折り曲げ加工されたもので、溶接ナット80Aが取付片74aの上面に溶接されて、ボルト81Aが上方から挿入される。補強のために、各取付片74Aの外側に連接した三角形状の補強片85を90°折り曲げて延出片76Aの外側縁部に溶接で連結している。延出片76Aは、図7(a)の正面視で、スリット75Aにより2分割された、水平な2つの下縁76Aa,76Abの左側に外側に向って上方に傾斜した下縁76Acが形成されており、これら下縁76Aa,76Abおよび,76Acに、180°折り曲げた折り返し部88が形成されて、下縁76Aa,76Abおよび,76Acに丸味が付けられている。傾斜した左側の下縁76Acの下側をハーネス73(図2)が通る。
第2実施形態のガード体70Aによれば、補強片85により強度が確保されるので、板厚を薄くすることが可能となり、これにより、ガード体70Aの軽量化、生産性の向上が達成される。
図8(a)〜(d)は、本発明の第3実施形態に係るガード体70Bを示す正面図、平面図、側面図および後方斜め下方から視た斜視図である。このガード体70Bは、取付片74Bおよび延出片76Bを有するガード本体90と、補強部材82の2つの部品からなる。ガード本体90には、取付片74Bの後端部から上方に折り曲げられて前方へ延びる突出片86が形成されている。突出片86は、ボルト挿入孔74Baの開口の上方を囲むように形成される。取付片74Bは第1中間クロスメンバー部25Bに対して後方から嵌め込まれる。補強部材82は、1枚の板材から曲げ加工されたもので、図8(d)に示すように、斜め後方から見てほぼ矩形である。
図8(c)に示すように、補強部材82の上部82aは、取付片74Bの後端部に沿うように折り曲げられている。補強部材82の下部82bは折り曲げられて前方に向って水平に延び、さらに上方へ向かってに90°折り曲げられ、その上縁82cがガード本体90の延出部76Bに溶接されている。図8(d)に示すように、補強部材82における、ガード本体90のスリット75Bに対応する位置には、補強部材スリット92が形成され、両スリット75B,92は連続している。
図8(a)に示すように、補強部材82の左右方向両側部には、延出部76Bの一側縁付近で延出部76Bに向って90°折り曲げられた折り曲げ部82dが形成されている。延出部76Bの左側部には、180°折り曲げた折り返し部76Bdが形成されている。この折り返し部76Bdは、ハーネス73(図2)のガイド部として機能する。
この第3実施形態によれば、図8(b)に示す突出片86がボルト81Bの頭部81Baの外周面の一部に近接しているので、ボルト81Bの頭部81Baの外周面に、ペンチのような工具でアクセスするのを防ぐことができる。また、補強部材82により、ガード体70B全体の強度が向上する。
図9(a)〜(c)は、本発明の第4実施形態に係るガード体70Cを示す正面図、平面図および側面図である。この実施形態では、取付片74Cが平面視で矩形ではなく、円形に近い形状をしている。また、ガード体70は、ボルト81Cと、非溶接のナット80Cとで、第1中間クロスメンバー25Bに締結される。延出部76Cの上部を形成する左右一対の第1接続部76Caには、リブ77Cが形成されている。
第4実施形態に係るガード体70Cは、折り曲げ箇所が少なく、生産性に優れている。
以上のとおり、図面を参照しながら本発明の好適な実施形態を説明したが、本発明の趣旨を逸脱しない範囲内で、種々の追加、変更または削除が可能である。例えば、本発明のガード体70はリヤフレーム21に一体形成してもよく、また、本発明は、自動二輪車のほか、三輪車、不整地走行四輪車にも適用できる。したがって、そのようなものも本発明の範囲内に含まれる。
14 後輪
21 リヤフレーム
25B 第1中間クロスメンバー部(クロスメンバー)
27 リヤフェンダ
65 保持部
68 ECU(電装品)
70、70A、70B、70C ガード体
71 規制壁
72 カプラ(接続コネクタ)
74 取付片
76 延出片
78 ストッパ片
81 ボルト
81a ボルト頭部

Claims (8)

  1. 後輪の上方に配置されたリヤフェンダと、
    前記リヤフェンダの上方のリヤフレームと、
    前記リヤフェンダに支持された電装品と、
    前記電装品に一方向への抜き出し可能に接続された接続コネクタと、
    前記リヤフェンダに設けられて前記電装品を支持する保持部と、
    前記リヤフレームに設けられて前記接続コネクタとともに前記電装品が前記一方向に移動するのを阻止するガード体と、
    を備えた自動二輪車の電装品の取り外し防止構造。
  2. 請求項1において、前記ガード体は前記リヤフレームとは別体に形成され、締結部材により前記リヤフレームに固定されている自動二輪車の電装品の取り外し防止構造。
  3. 請求項2において、前記締結部材は下方から挿入されるボルトである自動二輪車の電装品の取り外し防止構造。
  4. 請求項3において、前記ボルトが締結された状態で、前記ボルトの頭部が前記リヤフレームと前記リヤフェンダの間に位置している自動二輪車の電装品の取り外し防止構造。
  5. 請求項1から4のいずれか一項において、前記電装品の一部が前記リヤフレームのクロスメンバの下方に位置している自動二輪車の電装品の取り外し防止構造。
  6. 請求項1から5のいずれか一項において、前記保持部は、前記電装品の前記リヤフェンダからの持ち上げ高さが一定値未満の状態で前記電装品の前記一方向への移動を規制する規制壁を有し、前記カード体は前記接続コネクタの前記一定値以上の持ち上げを阻止する自動二輪車の電装品の取り外し防止構造。
  7. 請求項1から6のいずれか一項において、前記保持部は、前記電装品の上方および前記一方向と反対の他方向側を覆う壁部を有している自動二輪車の電装品の取り外し防止構造。
  8. 請求項1から7のいずれか一項において、前記ガード体はリヤフレームのクロスメンバに取り付けられる取付片と、前記取付片から下方に延びる延出片と、前記延出片の下端に連設されて前記接続コネクタに近接し前記接続コネクタの前記一定値以上の持ち上げを阻止するストッパ片とを有する自動二輪車の電装品の取り外し防止構造。
JP2009195043A 2009-08-26 2009-08-26 自動二輪車の電装品の取外し防止構造 Expired - Fee Related JP5432639B2 (ja)

Priority Applications (1)

Application Number Priority Date Filing Date Title
JP2009195043A JP5432639B2 (ja) 2009-08-26 2009-08-26 自動二輪車の電装品の取外し防止構造

Applications Claiming Priority (1)

Application Number Priority Date Filing Date Title
JP2009195043A JP5432639B2 (ja) 2009-08-26 2009-08-26 自動二輪車の電装品の取外し防止構造

Publications (2)

Publication Number Publication Date
JP2011046245A true JP2011046245A (ja) 2011-03-10
JP5432639B2 JP5432639B2 (ja) 2014-03-05

Family

ID=43833029

Family Applications (1)

Application Number Title Priority Date Filing Date
JP2009195043A Expired - Fee Related JP5432639B2 (ja) 2009-08-26 2009-08-26 自動二輪車の電装品の取外し防止構造

Country Status (1)

Country Link
JP (1) JP5432639B2 (ja)

Cited By (5)

* Cited by examiner, † Cited by third party
Publication number Priority date Publication date Assignee Title
JP2013129268A (ja) * 2011-12-20 2013-07-04 Honda Motor Co Ltd 自動2輪車の盗難対策装置配置構造
WO2014084195A1 (ja) * 2012-11-27 2014-06-05 本田技研工業株式会社 車載電装部品の支持構造
JP2016041529A (ja) * 2014-08-18 2016-03-31 スズキ株式会社 鞍乗型車両の電装部品の取付構造
US9849929B2 (en) * 2012-12-17 2017-12-26 Kawasaki Jukogyo Kabushiki Kaisha Saddled vehicle
JP2024047439A (ja) * 2022-09-26 2024-04-05 本田技研工業株式会社 鞍乗型車両

Citations (3)

* Cited by examiner, † Cited by third party
Publication number Priority date Publication date Assignee Title
JPS58186985U (ja) * 1982-06-09 1983-12-12 本田技研工業株式会社 自動二輪車のシ−ト取付構造
JPH10250662A (ja) * 1997-03-10 1998-09-22 Suzuki Motor Corp 自動二輪車のリヤフェンダ装置
JP2007062571A (ja) * 2005-08-31 2007-03-15 Kawasaki Heavy Ind Ltd 電装品の取外し防止構造

Patent Citations (3)

* Cited by examiner, † Cited by third party
Publication number Priority date Publication date Assignee Title
JPS58186985U (ja) * 1982-06-09 1983-12-12 本田技研工業株式会社 自動二輪車のシ−ト取付構造
JPH10250662A (ja) * 1997-03-10 1998-09-22 Suzuki Motor Corp 自動二輪車のリヤフェンダ装置
JP2007062571A (ja) * 2005-08-31 2007-03-15 Kawasaki Heavy Ind Ltd 電装品の取外し防止構造

Cited By (7)

* Cited by examiner, † Cited by third party
Publication number Priority date Publication date Assignee Title
JP2013129268A (ja) * 2011-12-20 2013-07-04 Honda Motor Co Ltd 自動2輪車の盗難対策装置配置構造
WO2014084195A1 (ja) * 2012-11-27 2014-06-05 本田技研工業株式会社 車載電装部品の支持構造
CN104661906A (zh) * 2012-11-27 2015-05-27 本田技研工业株式会社 车载电装部件的支承结构
JP5903501B2 (ja) * 2012-11-27 2016-04-13 本田技研工業株式会社 車載電装部品の支持構造
US9849929B2 (en) * 2012-12-17 2017-12-26 Kawasaki Jukogyo Kabushiki Kaisha Saddled vehicle
JP2016041529A (ja) * 2014-08-18 2016-03-31 スズキ株式会社 鞍乗型車両の電装部品の取付構造
JP2024047439A (ja) * 2022-09-26 2024-04-05 本田技研工業株式会社 鞍乗型車両

Also Published As

Publication number Publication date
JP5432639B2 (ja) 2014-03-05

Similar Documents

Publication Publication Date Title
JP5879173B2 (ja) 電動式鞍乗り型車両
EP1818247B1 (en) Motorcycle
JP5432639B2 (ja) 自動二輪車の電装品の取外し防止構造
EP3061679B1 (en) Rear structure for saddle-ride type vehicle
US20070068201A1 (en) Guard structure for vehicle seat lock
US10232900B2 (en) Saddle-ride-type vehicle
EP2711273B1 (en) Saddle riding type vehicle
CN104870302B (zh) 骑乘式车辆
KR100472328B1 (ko) 자동 이륜차의 스티어링 록 장치
US8573667B2 (en) Cover structure of saddle ride type vehicle
JP2002211468A (ja) スクータ型自動二輪車のフレーム構造
JP5021191B2 (ja) 電装品の取外し防止構造
EP2431263B1 (en) Saddle ride-type vehicle
US7641238B2 (en) Vehicle wheel fender flap
EP2336013B1 (en) Fastening structure for vehicle front cover
JP3814066B2 (ja) 自動2輪車のシートロック装置
JP5212695B2 (ja) 自動二輪車
JP2014108748A (ja) 自動二輪車
JP5779571B2 (ja) 鞍乗型車両のバッテリ収納構造
JP3838592B2 (ja) 自動二輪車のボディカバー支持構造
JP5593123B2 (ja) 鞍乗り型車両
JP5828794B2 (ja) スクータ型車両
JP6590873B2 (ja) シート構造
JP6953377B2 (ja) 車両のロック装置
JP2025145905A (ja) 鞍乗り型車両

Legal Events

Date Code Title Description
A621 Written request for application examination

Free format text: JAPANESE INTERMEDIATE CODE: A621

Effective date: 20120313

A131 Notification of reasons for refusal

Free format text: JAPANESE INTERMEDIATE CODE: A131

Effective date: 20130730

A977 Report on retrieval

Free format text: JAPANESE INTERMEDIATE CODE: A971007

Effective date: 20130731

A521 Written amendment

Free format text: JAPANESE INTERMEDIATE CODE: A523

Effective date: 20130911

TRDD Decision of grant or rejection written
A01 Written decision to grant a patent or to grant a registration (utility model)

Free format text: JAPANESE INTERMEDIATE CODE: A01

Effective date: 20131126

A61 First payment of annual fees (during grant procedure)

Free format text: JAPANESE INTERMEDIATE CODE: A61

Effective date: 20131206

R150 Certificate of patent or registration of utility model

Free format text: JAPANESE INTERMEDIATE CODE: R150

Ref document number: 5432639

Country of ref document: JP

Free format text: JAPANESE INTERMEDIATE CODE: R150

LAPS Cancellation because of no payment of annual fees