JP2010141345A - 半導体装置の作製方法 - Google Patents

半導体装置の作製方法 Download PDF

Info

Publication number
JP2010141345A
JP2010141345A JP2010022083A JP2010022083A JP2010141345A JP 2010141345 A JP2010141345 A JP 2010141345A JP 2010022083 A JP2010022083 A JP 2010022083A JP 2010022083 A JP2010022083 A JP 2010022083A JP 2010141345 A JP2010141345 A JP 2010141345A
Authority
JP
Japan
Prior art keywords
laser
laser beam
film
semiconductor film
semiconductor
Prior art date
Legal status (The legal status is an assumption and is not a legal conclusion. Google has not performed a legal analysis and makes no representation as to the accuracy of the status listed.)
Granted
Application number
JP2010022083A
Other languages
English (en)
Other versions
JP5244832B2 (ja
Inventor
Shunpei Yamazaki
舜平 山崎
Koichiro Tanaka
幸一郎 田中
Current Assignee (The listed assignees may be inaccurate. Google has not performed a legal analysis and makes no representation or warranty as to the accuracy of the list.)
Semiconductor Energy Laboratory Co Ltd
Original Assignee
Semiconductor Energy Laboratory Co Ltd
Priority date (The priority date is an assumption and is not a legal conclusion. Google has not performed a legal analysis and makes no representation as to the accuracy of the date listed.)
Filing date
Publication date
Application filed by Semiconductor Energy Laboratory Co Ltd filed Critical Semiconductor Energy Laboratory Co Ltd
Priority to JP2010022083A priority Critical patent/JP5244832B2/ja
Publication of JP2010141345A publication Critical patent/JP2010141345A/ja
Application granted granted Critical
Publication of JP5244832B2 publication Critical patent/JP5244832B2/ja
Anticipated expiration legal-status Critical
Expired - Fee Related legal-status Critical Current

Links

Images

Landscapes

  • Thin Film Transistor (AREA)
  • Recrystallisation Techniques (AREA)

Abstract

【課題】半導体装置の作製工程において、高調波のCWレーザを半導体膜上に相対的に走査させながら照射すると、走査方向に延びた長い結晶粒がいくつも形成される。このようにして形成された半導体膜は前記走査方向においては実質的に単結晶に近い特性のものとなるが、高調波のCWレーザの出力が小さくアニールの効率が悪い。
【解決手段】第2高調波に変換されたCWレーザと同時に基本波のCWレーザを半導体膜の同一部分に照射することで、出力の補助を行う。通常、基本波は1μmあたりの波長域に入り、この波長域では半導体膜に対する吸収が低い。しかしながら、可視光線以下の高調波を基本波と同時に半導体膜に照射すると、高調波により溶かされた半導体膜に基本波はよく吸収されるため、アニールの効率が著しく上がる。
【選択図】図1

Description

本発明はレーザ光の照射方法およびそれを行うためのレーザ照射装置(レーザと該レーザから出力されるレーザ光を被照射体まで導くための光学系を含む装置)、並びにそれらを用いた半導体装置の作製方法に関する。
近年、ガラス等の絶縁基板上に形成された非晶質半導体膜を結晶化させ、結晶構造を有する半導体膜(以下、結晶性半導体膜という)を形成する技術が広く研究されている。結晶化法としては、ファーネスアニール炉を用いた熱アニール法や、瞬間熱アニール法(RTA法)、又はレーザアニール法等が検討されている。結晶化に際してはこれらの方法の内、いずれか一つまたは複数を組み合わせて行うことが可能である。
結晶性半導体膜は、非晶質半導体膜と比較し、非常に高い移動度を有する。このため、この結晶性半導体膜を用いて薄膜トランジスタ(TFT)を形成し、例えば、1枚のガラス基板上に、画素部用、または、画素部用と駆動回路用のTFTを形成したアクティブマトリクス型の液晶表示装置等に利用されている。
通常、ファーネスアニール炉で非晶質半導体膜を結晶化させるには、600℃以上で10時間以上の熱処理を必要としていた。この結晶化に適用できる基板材料は石英であるが、石英基板は高価で、特に大面積に加工するのは非常に困難であった。生産効率を上げる手段の1つとして基板を大面積化することが挙げられるが、安価で大面積基板に加工が容易なガラス基板上に半導体膜を形成する研究がなされる理由はこの点にある。近年においては一辺が1mを越えるサイズのガラス基板の使用も考慮されるようになっている。
前記研究の一例として、金属元素を用いる熱結晶化法が開発されている。これは、従来問題とされていた結晶化温度を低温化することを可能としている。その方法は、非晶質半導体膜にニッケルまたは、パラジウム、または鉛等の元素を微量に添加し、その後550℃にて4時間の熱処理で結晶性半導体膜の形成を可能にしている。550℃であれば、ガラス基板の歪み点温度以下であるため、変形等の心配のない温度である(例えば、特許文献1参照。)。
一方、レーザアニール法は、基板の温度をあまり上昇させずに、半導体膜にのみ高いエネルギーを与えることが出来るため、歪み点温度の低いガラス基板には勿論、プラスチック基板等にも用いることが出来る点で注目されている技術である。
レーザアニール法の一例は、エキシマレーザに代表されるパルスレーザ光を、照射面において、数cm角の四角いスポットや、長さ100mm以上の線状となるように光学系にて成形し、レーザ光の照射位置を被照射体に対し相対的に移動させて、アニールを行う方法である。なお、ここでいう「線状」は、厳密な意味で「線」を意味しているのではなく、アスペクト比の大きい長方形(もしくは長楕円形)を意味する。例えば、アスペクト比が2以上(好ましくは10〜10000)のもの指すが、照射面における形状が矩形状であるレーザ光(矩形状ビーム)
に含まれることに変わりはない。なお、線状とするのは被照射体に対して十分なアニールを行うためのエネルギー密度を確保するためであり、矩形状や面状であっても被照射体に対して十分なアニールを行えるのであれば構わない。
このようにして作製される結晶性半導体膜は、複数の結晶粒が集合して形成されており、その結晶粒の位置と大きさはランダムなものである。ガラス基板上に作製されるTFTは素子分離のために、前記結晶性半導体を島状のパターニングに分離して形成している。その場合において、結晶粒の位置や大きさを指定して形成する事はできなかった。結晶粒内と比較して、結晶粒の界面(結晶粒界)は非晶質構造や結晶欠陥等に起因する再結合中心や捕獲中心が無数に存在している。この捕獲中心にキャリアがトラップされると、結晶粒界のポテンシャルが上昇し、キャリアに対して障壁となるため、キャリアの電流輸送特性を低下することが知られている。チャネル形成領域の半導体膜の結晶性は、TFTの特性に重大な影響を及ぼすが、結晶粒界の影響を排除して単結晶の半導体膜で前記チャネル形成領域を形成することはほとんど不可能であった。
特開平7-183540号公報
最近、連続発振波(CW)レーザを一方向に走査させながら半導体膜に照射することで、走査方向に繋がって結晶成長し、その方向に長く延びた単結晶の粒を形成する技術が注目されている。この方法を用いれば、少なくともTFTのチャネル方向には結晶粒界のほとんどないものが形成できると考えられている。
しかしながら、本方法においては、半導体膜に十分に吸収される波長域のCWレーザを使う都合上、例えばYAGレーザを使用する場合、高調波に変換しなければならなかった。そのため、出力が10W程度と非常に小さいレーザしか適用できず、生産性の面でエキシマレーザを使う技術と比較し劣っている。なお、本方法に適当なCWレーザは、出力が高く、波長が可視光線以下で、出力の安定性の著しく高いものであり、例えば、YVO4レーザの第2高調波や、YAGレーザの第2高調波、YLFレーザの第2高調波、ガラスレーザの第2高調波、YAlO3レーザの第2高調波、Arレーザ等が当てはまる。他の高調波でも問題なくアニールには使用できるが、出力が小さくなる欠点がある。しかしながら、先に列挙した諸レーザによるアニールは、照射のムラが生じやすい。また、出力が非常に小さいため、スループットの点で問題がある。
本発明は、このような問題点を鑑みなされたものであり、照射ムラを解消して、均一なレーザ処理が可能で、スループット(処理能力)の高いレーザー照射方法及びレーザ処理装置、並びにそれに関連する技術を提供することを目的とする。
CWレーザによる半導体膜の結晶化工程においては、少しでも生産性を上げるためにレーザビームを照射面において長い楕円状に加工し、楕円状のレーザビーム(以下楕円ビームと称する。)の短径方向に走査させ、半導体膜を結晶化させることができる。加工後のレーザビームの形状が楕円状になるのは、元のレーザビームの形状が円形もしくはそれに近い形状であるからである。あるいは、レーザビームの元の形状が長方形状であればそれをシリンドリカルレンズ等で1方向に拡大して長い長方形状に加工し同様に用いても良い。本明細書中では、楕円ビームと長方形状のビームを総称して、長いビームと呼ぶ。また複数のレーザビームをそれぞれ長いビームに加工し、それらをつなげてさらに長いビームを作っても良い。本発明は、このような工程において照射ムラの少ない長いビームの照射方法および照射装置を提供する。
本発明のレーザ照射装置の構成は、可視光線以下の波長を出力するレーザ発振器1と、前記レーザ発振器1から射出されるレーザビーム1を照射面もしくはその近傍にて長いビームに加工する手段と、基本波を出力するレーザ発振器2と、前記照射面において、前記レーザビーム1が照射される範囲に前記レーザ発振器2から射出されるレーザビーム2を照射する手段と、前記レーザビーム1及び前記レーザビーム2に対して前記照射面を相対的に第1方向に移動させる手段と、前記レーザビーム1及び前記レーザビーム2に対して前記照射面を相対的に第2方向に移動させる手段と、を有するレーザ照射装置であることを特徴としている。
また、前記第1方向と前記第2方向は互いに直交することを特徴とする。
上記発明の構成において、前記レーザ発振器1及び前記レーザ発振器2は、連続発振の気体レーザ、固体レーザまたは金属レーザであることを特徴としている。前記気体レーザとして、Arレーザ、Krレーザ、XeFエキシマレーザ、CO2レーザ等があり、前記固体レーザとして、YAGレーザ、YVO4レーザ、YLFレーザ、YAlO3レーザ、ガラスレーザ、ルビーレーザ、アレキサンドライドレーザ、Ti:サファイヤレーザ等があり、前記金属レーザとしてはヘリウムカドミウムレーザ、銅蒸気レーザ、金蒸気レーザが挙げられる。
また、上記発明の構成において、前記レーザビーム1は非線形光学素子により高調波に変換されていることを特徴とする。前記非線形光学素子に使われる結晶は、例えばLBOやBBOやKDP、KTPやKB5、CLBOと呼ばれるものを使うと変換効率の点で優れている。これらの非線形光学素子をレーザの共振器の中に入れることで、変換効率を大幅に上げることができる。
また、上記発明の構成において、前記レーザビーム1はTEM00で発振されると、得られる長いビームのエネルギー均一性を上げることができるので好ましい。
レーザビームに対して透光性を持つ基板上に成膜された半導体膜をアニールする場合、均一なレーザビームの照射を実現するためには、照射面に垂直な平面であって、かつビームの形状を長方形と見立てたときの短辺を含む面または長辺を含む面のいずれか一方を入射面と定義すると、前記レーザ光の入射角度φは、入射面に含まれる前記短辺または前記長辺の長さがW、前記照射面に設置され、かつ、前記レーザ光に対して透光性を有する基板の厚さがdであるとき、φ≧arctan(W/2d)を満たすのが望ましい。複数のレーザビームを使用する場合、この議論は個々のレーザビームについて成り立つ必要がある。なお、レーザビームの軌跡が、前記入射面上にないときは、該軌跡を該入射面に射影したものの入射角度をφとする。この入射角度φでレーザビームが入射されれば、基板の表面での反射光と、前記基板の裏面からの反射光とが干渉せず、一様なレーザビームの照射を行うことができる。以上の議論は、基板の屈折率を1として考えた。実際は、基板の屈折率が1.5前後のものが多く、この数値を考慮に入れると上記議論で算出した角度よりも大きな計算値が得られる。しかしながら、ビームスポットの長手方向の両端のエネルギーは減衰があるため、この部分での干渉の影響は少なく、上記の算出値で十分に干渉減衰の効果が得られる。
また、前記基板として、ガラス基板、石英基板やシリコン基板、プラスチック基板、金属基板、ステンレス基板、可撓性基板等を用いることができる。前記ガラス基板として、バリウムホウケイ酸ガラス、またはアルミノホウケイ酸ガラス等のガラスからなる基板が挙げられる。また、可撓性基板とは、ポリエチレンテレフタレート(PET)、ポリエーテルスルホン(PES)、ポリエチレンナフタレート(PEN)、ポリカーボネート(PC)、ナイロン、ポリエーテルエーテルケトン(PEEK)、ポリスルホン(PSF)、ポリエーテルイミド(PEI)、ポリアリレート(PAR)、ポリブチレンテレフタレート(PBT)、ポリイミド、アクリル等からなるフィルム状の基板のことであり、可撓性基板を用いて半導体装置を作製すれば、軽量化が見込まれる。可撓性基板の表面、または表面および裏面にアルミ膜(AlON、AlN、AlO等)、炭素膜(DLC(ダイヤモンドライクカーボン)等)、SiN等のバリア層を単層または多層にして形成すれば、耐久性等が向上するので望ましい。上記のφに対する不等式は、基板がレーザビームに対して透光性のあるもの以外には適用されない。なぜならば、この場合、基板の厚さdが全く意味のない数値となるからである。
また、本発明で開示するレーザ照射方法に関する構成は、可視光線以下の波長であるレーザビーム1を照射面もしくはその近傍にて長いビームに加工し、前記照射面において、前記レーザビーム1が照射される範囲に、基本波であるレーザビーム2をレーザビーム1と同時に照射し、前記長いビームに対して前記照射面を相対的に第1方向に移動しながら照射するレーザ照射方法である。
上記発明の構成において、前記レーザビーム1または前記レーザビーム2は、連続発振の気体レーザ、固体レーザまたは金属レーザから射出されたものであることを特徴としている。前記気体レーザとして、Arレーザ、Krレーザ、XeFエキシマレーザ、CO2レーザ等があり、前記固体レーザとして、YAGレーザ、YVO4レーザ、YLFレーザ、YAlO3レーザ、ガラスレーザ、ルビーレーザ、アレキサンドライドレーザ、Ti:サファイヤレーザ等があり、前記金属レーザとしてはヘリウムカドミウムレーザ、銅蒸気レーザ、金蒸気レーザが挙げられる。
また、上記発明の構成において、前記レーザビーム1は非線形光学素子により高調波に変換されていることを特徴とする。前記非線形光学素子に使われる結晶は、例えばLBOやBBOやKDP、KTPやKB5、CLBOと呼ばれるものを使うと変換効率の点で優れている。これらの非線形光学素子をレーザの共振器の中に入れることで、変換効率を大幅に上げることができる。
また、上記発明の構成において、前記レーザビームはTEM00で発振されると、得られる長いビームのエネルギー均一性を上げることができるので好ましい。
レーザビームに対して透光性を持つ基板上に成膜された半導体膜をアニールする場合、均一なレーザビームの照射を実現するためには、照射面に垂直な平面であって、かつビームの形状を長方形と見立てたときの短辺を含む面または長辺を含む面のいずれか一方を入射面と定義すると、前記レーザ光の入射角度φは、入射面に含まれる前記短辺または前記長辺の長さがW、前記照射面に設置され、かつ、前記レーザ光に対して透光性を有する基板の厚さがdであるとき、φ≧arctan(W/2d)を満たすのが望ましい。複数のレーザビームを使用する場合、この議論は個々のレーザビームについて成り立つ必要がある。なお、レーザビームの軌跡が、前記入射面上にないときは、該軌跡を該入射面に射影したものの入射角度をφとする。この入射角度φでレーザビームが入射されれば、基板の表面での反射光と、前記基板の裏面からの反射光とが干渉せず、一様なレーザビームの照射を行うことができる。以上の議論は、基板の屈折率を1として考えた。実際は、基板の屈折率が1.5前後のものが多く、この数値を考慮に入れると上記議論で算出した角度よりも大きな計算値が得られる。しかしながら、ビームスポットの長手方向の両端のエネルギーは減衰があるため、この部分での干渉の影響は少なく、上記の算出値で十分に干渉減衰の効果が得られる。
また、前記基板として、ガラス基板、石英基板やシリコン基板、プラスチック基板、金属基板、ステンレス基板、可撓性基板等を用いることができる。上記のφに対する不等式は、基板がレーザビームに対して透光性のあるもの以外には適用されない。なぜならば、この場合、基板の厚さdが全く意味のない数値となるからである。
また、本発明が開示する半導体装置の作製方法に関する構成は以下の通りである。
可視光線以下の波長であるレーザビーム1を半導体の表面もしくはその近傍にて長いビームに加工し、前記半導体の表面において、前記レーザビーム1が照射される範囲に、基本波であるレーザビーム2をレーザビーム1と同時に照射し、前記長いビームに対して前記半導体の表面を相対的に第1方向に移動しながら照射して、前記半導体の結晶化を行う工程を含むものである。
可視光線以下の波長であるレーザビーム1を半導体の表面もしくはその近傍にて長いビームに加工し、前記半導体の表面において、前記レーザビーム1が照射される範囲に、基本波であるレーザビーム2をレーザビーム1と同時に照射し、前記長いビームに対して前記半導体の表面を相対的に第1方向に移動しながら照射して、前記半導体に形成された不純物領域の活性化を行う工程を含むものである。
ガラス基板上に導電層を形成し、前記ガラス基板と前記導電層との間に、前記導電層の内側に位置する半導体層と、前記半導体層の上面及び側面を被覆する絶縁層とを形成し、可視光線以下の波長であるレーザビーム1を照射面もしくはその近傍にて長いビームに加工し、該照射面において前記レーザビーム1が照射される範囲に、基本波であるレーザビーム2をレーザビーム1と同時に照射し、前記長いビームに対して前記照射面を相対的に第1方向に移動しながら照射して、前記導電層が形成された領域を選択的に加熱して、前記半導体層及び前記絶縁層の熱処理を行う工程を含むものである。
上記発明の構成において、前記レーザビーム1または前記レーザビーム2は、連続発振の気体レーザ、固体レーザまたは金属レーザから射出されるものである。前記レーザビーム1または前記レーザビーム2は、Arレーザ、Krレーザ、XeFエキシマレーザ、CO2レーザ、YAGレーザ、YVO4レーザ、YLFレーザ、YAlO3レーザ、ガラスレーザ、ルビーレーザ、アレキサンドライドレーザ、Ti:サファイヤレーザ、ヘリウムカドミウムレーザ、銅蒸気レーザまたは金蒸気レーザから射出されるものである。
本発明の構成を採用することにより、以下に示すような基本的有意性を得ることが出来る。
(a)波長が1μm程度の基本波は通常の半導体薄膜にはあまり吸収されず効率が悪いが、高調波を同時に用いると、高調波により溶かされた半導体薄膜に基本波がよく吸収されて、より半導体膜のアニール効率が良くなる。
(b)波長が1μm程度の基本波を、高調波と同時に半導体膜に照射すると、該半導体膜の急激な温度変化を抑えることや、出力の小さい高調波のエネルギーの補助等に有効である。基本波は、高調波とは異なり波長変換のための非線形光学素子を用いる必要がなく、非常に大出力なレーザビーム、例えば高調波の100倍以上のエネルギーをもつもの、を得ることが可能である。非線形光学素子の対レーザの耐力が非常に弱いために、このようなエネルギー差が生じる。また、高調波を発生させる非線形光学素子は変質しやすく、固体レーザの利点であるメンテフリーの状態を長く保てないなどの欠点がある。よって、本発明により基本波で高調波を補助することは、非常に意義のあることと言える。
(c)被照射体に対して均一にアニールすることを可能とする。特に半導体膜の結晶化や結晶性の向上、不純物元素の活性化を行うのに適している。
(d)スループットを向上させることを可能とする。
(e)以上の利点を満たした上で、アクティブマトリクス型の液晶表示装置に代表される半導体装置において、半導体装置の動作特性および信頼性の向上を実現することができる。さらに、半導体装置の製造コストの低減を実現することができる。
発明の実施の形態1を説明する図。 発明の実施の形態2を説明する図。 発明の実施の形態2を説明する図。 発明の実施の形態3を説明する図。 発明の実施の形態4を説明する図。 レーザアニールの様子を示す図。 本発明に係る半導体装置の作製方法を説明する図である。 本発明に係る半導体装置の作製方法を説明する図である。 本発明に係る半導体装置の作製方法を説明する図である。 本発明に係る半導体装置の作製方法を説明する図である。 本発明に係る半導体装置の作製方法を説明する図である。 本発明に係る半導体装置の作製方法を説明する図である。 本発明に係る半導体装置の作製方法を説明する図である。 本発明に係る半導体装置の作製方法を説明する図である。 本発明に係る半導体装置の作製方法を説明する図である。 本発明に係る半導体装置の作製方法を説明する図である。 本発明に係る半導体装置の作製方法を説明する図である。 本発明によるマイクロコンピュータの構成を説明する図である。
[実施の形態1]
本発明の実施形態について図1を用いて説明する。本実施形態では、長いビーム105及び長いビーム106を形成し半導体膜表面104に照射する例を示す。
まず、LD励起式の10Wのレーザ発振器101(Nd:YVO4レーザ、CW、第2高調波(532nm))を用意する。前記レーザ発振器は、TEM00の発振モードで、共振器にLBO結晶が内蔵されており、第2高調波に変換されている。特に第2高調波に限定する必要はないがエネルギー効率の点で、第2高調波の方が、さらに高次の高調波と比較して優れている。ビーム径は2.25mmである。広がり角は0.3mrad程度である。45°反射ミラーにて、鉛直方向から角度φずれた方向にレーザビームの進行方向を変換する。次に、焦点距離20mm、平面の部分が水平面と一致する平凸レンズ103にレーザビームを角度φで入射させる。前記角度φは適宜変更してよいが、本実施の形態では20°とする。照射面には半導体膜104を設置し、水平面と平行とする。半導体膜104はガラス基板の表面に成膜する。半導体膜104と平凸レンズ103との距離は、20mm程度とし、できるだけ入射面に平行な方向に伸びた長いビーム105が半導体膜104上に形成されるよう、距離を微調整する。微調整の精度は50μm程度とする。これにより、長径500μm、短径20μm程度の楕円形状に近い長いビーム105が形成される。
半導体膜104が成膜された基板は、厚さdのガラス基板であり、レーザ照射の際に基板が落ちないように、吸着ステージ107に固定されている。吸着ステージ107は、X軸用の一軸ロボット108とY軸用の一軸ロボット109により、半導体膜表面104に平行な面上をXY方向に動作できる。前述の干渉が出ない条件式は、φ≧arctan(W/2d)であるから、例えば基板に厚さ0.7mmのものを使うとφ≧19.7°となる。
次に、出力30Wのレーザ発振器110(Nd:YAGレーザ、CW、基本波(1.064μm)、TEM00)を用意する。広がり角は3mrad程度で、これを平凸レンズ111に角度θで入射させる。角度θは40°程度とする。平凸レンズの焦点距離は15mmとし、照射面に1mm×0.2mmの楕円形状に近い長いビーム106を形成する。長いビーム106は長いビーム105を覆うように配置する。
波長が1μm程度の基本波は通常の半導体薄膜にはあまり吸収されず効率が悪いが、第2高調波を同時に用いると、第2高調波により溶かされた半導体薄膜に基本波がよく吸収されて、より半導体膜のアニール効率が良くなる。すなわち、半導体膜の液化による吸収係数の上昇を利用することで、基本波を本工程に採用できるようにする。その効果は、半導体膜104の急激な温度変化を抑えることや、出力の小さい第2高調波のレーザビームのエネルギーの補助等である。基本波は、高調波とは異なり波長変換のための非線形光学素子を用いる必要がなく、非常に大出力なレーザビーム、例えば高調波の100倍以上のエネルギーをもつものを得ることが可能である。非線形光学素子の対レーザの耐力が非常に弱いために、このようなエネルギー差が生じる。また、高調波を発生させる非線形光学素子は変質しやすく、固体レーザの利点であるメンテフリーの状態を長く保てない等の欠点がある。よって、本発明により基本波で高調波を補助することは、非常に意義のあることと言える。
次に、半導体膜の作製方法の例を示す。前記半導体膜は、可視光線に対して透明なガラス基板上に形成する。具体的には、厚さ0.7mmのガラス基板の片面に厚さ200nmの酸化窒化シリコンを成膜しその上に厚さ70nmのアモルファスシリコン(a−Si)膜をプラズマCVD法にて成膜する。さらに半導体膜のレーザに対する耐性を高めるために、500℃1時間の熱アニールを該半導体膜に対して行う。前記熱アニールの他に、従来技術の項目で述べた金属元素による半導体膜の結晶化を行ってもよい。どちらの膜を使っても、最適なレーザビームの照射条件はほぼ同様である。
次いで、前記半導体膜104に対するレーザの照射の例を示す。レーザ発振器101の出力は最大10W程度であるが、長いビーム105のサイズが比較的小さいためエネルギー密度が十分あり、5.5W程度に出力を落として照射を行う。
また、レーザ発振器110の出力は15Wとし、長いビーム105を覆うように長いビーム106を形成する。長いビーム106の短径は、長いビーム105の短径と比較し、長さが10倍異なる。Y軸ロボット109を使って長いビーム105の短径方向に半導体膜104が成膜された基板を走査させることにより、長いビーム105の長径方向、幅150μmの領域に、走査方向に長く延びた単結晶の粒が敷き詰められた状態で形成できるが、前記走査のとき、先に基本波が半導体膜104に照射され、その後、第2高調波が照射され、最後に基本波が再び照射される。これにより、半導体膜104の急激な温度変化を抑えることが可能となる。以下前記領域を長結晶粒領域と称する。このとき、高調波のレーザビームの入射角度は20°以上とする。これにより干渉が抑制されるので、より均一なレーザの照射が可能となる。長いビームの長径は500μm程度であるが、TEM00モードのレーザビームであるため、エネルギー分布がガウシアンであり、ガウシアンの中央付近のみに前記長結晶粒領域ができる。走査速度は数十cm/s〜数百cm/s程度が適当であり、ここでは50cm/sとする。
図6に半導体膜全面を長結晶粒領域とする照射方法を示す。識別を容易にするため図中の符号は図1と同じものを使った。半導体膜が成膜された基板を吸着ステージ107に固定し、レーザ発振器101及びレーザ発振器110を発振させる。出力は5.5W及び15Wとし、まずY軸ロボット109により走査速度50cm/sにて、半導体膜表面を1筋走査する。前記1筋は図6中において、A1の部分に相当する。図6中、Y軸ロボットにて、往路Am(mは正の整数)の部分をレーザ照射した後、X軸ロボット108により、長結晶粒領域の幅分だけ長いビームをその長径方向にスライドさせ、復路Bmの部分をレーザ照射する。このような一連の動作を繰り返すことにより、半導体膜全面を長結晶粒領域とすることができる。なお、長結晶粒領域の半導体膜の特性は非常に高く特にTFT等の半導体素子を作製した場合には極めて高い電気移動度を示すことが期待できるが、そのような高い特性が必要でない半導体膜の部分には長結晶粒領域を形成する必要がない。よって、そのような部分にはレーザビームを照射しない、もしくは長結晶粒領域を形成しないようにレーザ照射を行ってもよい。長結晶粒領域を形成しないで効率よく半導体膜をアニールするには、例えば、走査の速度を増加させればよい。例えば、2m/s程度の速度で走査させれば、a−Si膜を結晶化することができるが、このとき長結晶粒領域は形成されず、所謂一般に言われるポリシリコン(poly−Si)膜が形成される。
[実施の形態2]
本実施形態では、基本波を使うことで、実施の形態1で示した第2高調波を成形して得られる長いビームのエネルギー分布をより均一化する例を図2に沿って示す。
まず、LD励起式の10Wのレーザ発振器201(Nd:YVO4レーザ、CW、第2高調波(532nm))を用意する。前記レーザ発振器は、TEM00の発振モードで、共振器にLBO結晶が内蔵されており、第2高調波に変換されている。ビーム径は2.25mmである。広がり角は0.3mrad程度である。45°反射ミラーにて、鉛直方向から角度φずれた方向にレーザビームの進行方向を変換する。次に、焦点距離20mm、平面の部分が水平面と一致する平凸レンズ203にレーザビームを角度φで入射させる。前記角度φは適宜変更してよいが、本実施例では20°とした。照射面には半導体膜204を設置し、水平面と平行とする。半導体膜204はガラス基板の表面に成膜する。半導体膜204と平凸レンズ203との距離は、20mm程度とし、できるだけ入射面に平行な方向に伸びた長いビーム205が半導体膜204上に形成されるよう、距離を微調整する。微調整の精度は50μm程度とする。これにより、長径500μm、短径20μm程度の楕円形状に近い長いビーム205が形成される。
半導体膜204が成膜された基板は、厚さdのガラス基板であり、レーザ照射の際に基板が落ちないように、吸着ステージ207に固定されている。吸着ステージ207は、X軸用の一軸ロボット208とY軸用の一軸ロボット209により、半導体膜表面204に平行な面上をXY方向に動作できる。前述の干渉が出ない条件式は、φ≧arctan(W/2d)であるから、例えば基板に厚さ0.7mmのものを使うと、φ≧19.7°となる。
次に、出力30Wのレーザ発振器210及び214(Nd:YAGレーザ、CW、基本波(1.064μm)、TEM00)を用意する。広がり角は3mrad程度で、これを平凸レンズ211及び213に角度θで入射させる。角度θは40°程度とする。
平凸レンズの焦点距離はそれぞれ15mmとし、照射面に1mm×0.2mmの楕円形状に近い長いビーム206及び212を形成する。長いビーム206と長いビーム212の両方で長いビーム205を覆うように配置する。
前記配置は、例えば図2b)に記載したようにし、第2高調波により出来る長いビーム205の長径の方向の両側に、基本波による長いビーム206、212を配置し、それぞれの長いビームの長径を同一直線上に乗せるようにする。このようにすると、第2高調波により出来る長いビーム205のビームの両端におけるエネルギーの減衰部分に直接、基本波が作用し、エネルギーの減衰分のエネルギーを補助するので好ましい。通常レーザビームは、スポットの中央のエネルギーが最も強く、その周辺部にいくに従いエネルギーが減衰する、ガウシアン状のエネルギー分布を持つ。よって、第2高調波により形成された長いビーム205も、その両端のエネルギーはその中央のエネルギーと比較して弱く、レーザアニールの均一性に影響する。それを、半導体膜に対してより透光性の高い基本波を、第2高調波により形成された長いビーム205によって溶かされた領域に向かって照射することで、前記溶かされた領域における前記基本波の照射された部分を選択的に加熱することが可能となる。
図2b)の構成を、図3a)、b)を使ってより詳細に説明する。図2b)の側面図において、第2高調波による長いビーム205のみでレーザアニールを行う場合、図3a)に図示したような温度分布で半導体膜が加熱される。通常溶融部分は固体部分よりも熱伝導がよいため、長いビーム中央部分においてはエネルギー分布は一様となるが、やはり長いビーム205の両端部分はエネルギーの減衰が激しく温度低下が起こっている。基本波は半導体膜を高い透過率で透過するので、この領域に直接、基本波を照射することが可能であることから、これにより半導体膜における温度分布の一様な部分をより増加させることができる。すなわち、図2b)の側面図のように長いビーム205の両端から長いビーム206、212を照射することで、半導体膜の温度分布は、図3b)のように変化させることが出来る。すなわち、半導体膜の温度分布の一様な部分を増やし、アニールの温度ムラを抑えることが可能となる。
次いで、半導体膜204に対するレーザの照射の例を示す。半導体膜204は例えば、実施の形態1に記載の方法で作製する。レーザ発振器201の出力は最大10W程度であるが、長いビーム205のサイズが比較的小さいためエネルギー密度が十分あり、5.5W程度に出力を落として照射を行う。また、レーザ発振器210、214の出力は15Wとし、長いビーム205を両端から覆うように長いビーム206、212を配置する。本実施形態においては、長いビーム206及び212の短径は、長いビーム205の短径と比較し、長さが10倍異なるが、図2では図を見やすくするため同程度の大きさに記載した。同程度の大きさとしても本発明の主旨は変わらないので、実施者が使用する膜等の条件に合わせたレーザビームの大きさを適宜選べばよい。
Y軸ロボット209を使って長いビーム205の短径方向に半導体膜204が成膜された基板を走査させることにより、長いビーム205の長径方向、幅200μmの領域に、走査方向に長く延びた単結晶の粒が敷き詰められた状態で形成できるが、前記走査のとき、先に基本波が半導体膜204に照射され、その後、第2高調波が照射され、最後に基本波が再び照射される。これにより、半導体膜204の急激な温度変化を抑えることが可能となる。このとき、高調波のレーザビームの入射角度は20°以上とする。これにより干渉が抑制されるので、より均一なレーザの照射が可能となる。基本波の長いビーム206、212の補助がないと、形成される長結晶粒領域の幅は、150μmくらいであるが、前記補助のため、前記長結晶粒領域の幅は、200μm程度と広がる。温度分布の一様な領域は広がるがやはり前記長結晶粒領域の幅方向における両端部分においては、温度の低い部分でのアニールが施されており、この部分に作製される半導体素子の特性低下が懸念される。よって、この部分には半導体素子を作製しないか、あるいは、長いビームをその長径方向にオーバーラップさせて走査させることで、半導体素子の特性が低下するような領域を消失させることを行ってもよい。例えば、前記長結晶粒領域の幅200μmのうち、特性の低下が懸念される領域が、その両端の50μmずつあると仮定すると、有効に使用できる前記長結晶粒領域の幅は100μmとなる。よって、Y軸ロボット209により1方向の走査で、半導体膜204を結晶化した後、X軸ロボットを100μm動かして、再びY軸ロボット209の走査により長結晶粒領域を形成することを繰り返せば、前記特性の低下が懸念される領域は完全に特性のよい領域で塗りつぶすことが可能である。半導体膜204を全面に渡り結晶化させる、または、一部を結晶化させるためには、例えば、実施の形態1に記載の、図6に沿った説明に従えばよい。
[実施の形態3]
本実施形態では、第2高調波を成形して得られる長いビームを幾つか組み合わせ、より長いビームを形成し、さらに、基本波によりエネルギーの補助を施す例を図4に沿って示す。
まず、図示しないLD励起式の10Wのレーザ発振器(Nd:YVO4レーザ、CW、第2高調波(532nm))を4台用意する。前記レーザ発振器は、TEM00の発振モードで、共振器にLBO結晶が内蔵されており、第2高調波に変換されている。ビーム径は2.25mmである。広がり角は0.3mrad程度である。反射ミラーを幾つか使用することで、鉛直方向から角度βずれた方向にレーザビームの進行方向をそれぞれ変換し、照射面にてほぼ1つに合成されるように4方向から入射させる。前記4方向は、それぞれ光軸A、光軸B、光軸C、光軸Dと一致させる。光軸Aと光軸B、及び、光軸Cと光軸Dは、照射面に対し垂直な平面Aに対し面対称に位置させ、光軸Aと光軸Bとのなす角度、及び、光軸Cと光軸Dの成す角度、をそれぞれ10°とする。また、平面Aと照射面に垂直な平面Bに対して、光軸Aと光軸C、及び、光軸Bと光軸をD面対称に位置させ、光軸Aと光軸Bを含む平面Cと、光軸Cと光軸Dを含む平面Dとの成す角度を25°とする。
次に、焦点距離150mmの平凸シリンドリカルレンズ401a、401b、401c、及び401dを、前記光軸A、光軸B、光軸C、及び光軸Dにそれぞれ0°入射させるよう配置する。このとき前記平凸シリンドリカルレンズの集光方向は平面Cまたは平面Dに含まれる方向とする。前記平凸シリンドリカルレンズ401と照射面との距離はそれぞれの光軸上で測って110〜120mmの間で調整する。
さらに、焦点距離20mmの平凸シリンドリカルレンズ402a及び402bの母線が、前記平面C及び平面Dにそれぞれ含まれるように配置する。前記母線は、シリンドリカルレンズの曲面部における、シリンドリカルレンズの平面部から最も離れた場所に位置する母線とする。また、前記平凸シリンドリカルレンズ402a及び402bの平面部と、前記平面C及び平面Dとは、互いにそれぞれ直交するように配置する。前記平凸シリンドリカルレンズ402と照射面との距離はそれぞれの光軸上で測って約18mmの辺りで調整する。
以上の配置により、長径400μm、短径20μm程度のサイズの長いビームが4つ、照射面において形成される。このままでは、前記照射面において、4つのビームは完全に1つに合成されるので、より長いビームを形成することは出来ないが、各レンズの位置を微調整することで、図4b)に記載したような配置に変換することができる。すなわち、4つ長いビーム405a、405b、405c及び405dの長径を一直線上に配置し、それらを前記直線の方向に互いにずらし合わせることで、長いビームをより長いビームとすることができる。これにより、幅1.5mmの長結晶粒領域が得られる。
次に、出力500WのCWのLD励起YAGレーザ(基本波)を用い、光学系404により1×5mmの楕円ビーム405eを照射面に形成する。このとき前記4つの長いビームを覆うように前記楕円ビーム405eを形成する。用いる光学系404は例えば、図1で示した平凸レンズ111のようにレーザビームを平凸レンズに斜め入射させて形成してもよい。あるいは、2枚のシリンドリカルレンズを直交させて用い、丸のビームを楕円に変換してもよい。ここで重要なのは、決して基本波をレーザ発振器に戻してはならないということである。半導体膜の表面は、多少なりとも反射があることから、レーザビームを照射面に対して垂直に入射させることだけはやってはならない。
以上のようにして形成した長いビームを用い、例えば実施形態1で示したX軸用の一軸ロボット108とY軸用の一軸ロボット109等を用いて半導体膜を全面結晶化すればよい。半導体膜は例えば、実施形態1で示した方法にて作製すればよい。本実施形態を用いる利点は、より長いビームが出来ているので処理時間が短く済み、また、ガウシアンライクのエネルギー分布を持つ長いビームを互いにオーバーラップさせて隣接させることでエネルギー分布を長径方向に均一化できるため、比較的温度のムラが抑えられるので好ましい。
[実施の形態4]
本実施形態では、第2高調波を成形して得られる長いビームをガルバノミラー等の偏向手段を用いて、さらに、基本波によりエネルギーの補助を施す例を図5に沿って示す。
まず、LD励起式の10Wのレーザ発振器501(Nd:YVO4レーザ、CW、第2高調波(532nm))を用意する。前記レーザ発振器は、TEM00の発振モードで、共振器にLBO結晶が内蔵されており、第2高調波に変換されている。ビーム径は2.25mmである。広がり角は0.3mrad程度である。このビームは丸型なので、これを長楕円形に変換する光学系502に入射させる。変換手段は、例えば、シリンドリカルレンズ2枚構成のビームエキスパンダーとし、1方向だけビームを伸ばし楕円形としてもよい。また、通常のビームエキスパンダーを前記ビームエキスパンダーに組み合わせて用い、広がり角を制御してもよい。次いで、ガルバノミラー503にて、楕円形状に変換されたレーザビームを偏向する。偏向されたレーザビームはfθレンズ504を介し、半導体膜506が形成する平面上に到達する。fθレンズにより楕円形状に変換された前記レーザビームを前記平面上で集光する。これにより、例えば短径20μm、長径400μmの長いビーム505が前期平面上に形成される。
ガルバノミラー503の角度を変化させることで、前記平面上において、前記長いビーム505が走査させる。ガルバノミラーの角度による長いビーム505の形状の変化はfθレンズ504により抑えられる。レーザビームの半導体膜506に対する入射角度は20°とする。これにより半導体膜506上における、半導体膜506表面からのレーザビームの反射光と半導体膜506が成膜された基板の裏面からのレーザビームの反射光との干渉の発生を防ぐことができる。本実施形態では、ガルバノミラー503は1枚構成で用い、1軸のみの走査とする。これでは、2次元平面の全面走査ができないので、前記基板を1軸ステージ507に載せ、図5紙面の左右方向に動作させ、基板全面をアニールできるようにする。長いビーム505の走査の速度は、100〜2000mm/sとし、好ましくは500mm/s程度とする。
第2高調波により形成される長いビーム505に合わせて同時に半導体膜506に基本波を照射するため、出力2000WのLD励起のYAGレーザ508を用いる。長いビーム505は比較的高速で動作するため、基本波により形成するビームを前記動作に合わせて動かすためには精密な制御装置を必要とする。勿論そのような装置構成としても問題はないが、本発明実施形態においては、予めガルバノミラー503による走査領域全体を基本波による長いビーム511で覆うことで、前記長いビーム511を動作させる必要のない構成とする。これにより同期が取れなかった場合の、レーザアニールの不均一の発生確率をほぼ0とすることができる。このような大きなビームが形成できるのは、基本波が第2高調波と比較して、100倍以上の出力を持っているためである。
例えば、半導体膜506のサイズが、125×125mmの正方形であるとすると、例えば、長さ125mm、幅0.5mmの長いビーム511をガルバノミラーの走査方向に形成し、前記正方形の領域を完全に覆うようにすればよい。長いビーム511の形成手段として、例えば、凹レンズ509によりビームを一様に拡大後、平凸シリンドリカルレンズ510により一方向に集光して形成してもよい。
また、他の光学系にてそのようなビームを形成してもよい。エネルギー分布を均一するために、ホモジナイザを用いてもよいが、そのときはYAGレーザの干渉性を考慮して、設計しなくてはならない。例えば、レーザビームを分割して合成することでエネルギー分布を平均化する方法がよくホモジナイザでは用いられるが、該方法を用いるときは、レーザのコヒーレント長以上の光路差を分割されたレーザビームそれぞれに付ける等して干渉の発生を抑制することが必要となる。
半導体膜506の全面をレーザアニールするために、例えば、ガルバノミラー503を半周期動作させた後、1軸ステージ507を長結晶粒領域の幅の分だけ移動させ、再びガルバノミラー503を半周期動作させることを繰り返し行えばよい。本実施形態では、前記長結晶粒領域の幅は150μm程度であり、その分だけ1軸ステージ507を順次送っていけばよい。
[実施の形態5]
本実施の形態では、半導体膜とゲート絶縁膜及び導電層を積層した構造を有する部位に、レーザアニールを加える加工段階を含む半導体装置の作製工程について説明する。
まず、実施の形態1乃至4のいずれか一に基づいて、基板上に形成された半導体膜を所望の形状にエッチング処理して島状に分割する。図7(A)で示す半導体膜703はこうして形成するものであり、TFTのチャネル領域やソース及びドレイン等を形成する主要構成部となる。基板701は市販の無アルカリガラス基板等の使用が可能であり、半導体膜との間には窒化シリコン、酸化シリコン、酸窒化シリコン等の下地絶縁膜702が50〜200nmの厚さで形成している。
また、この半導体膜703に対し、しきい値電圧をプラス側にシフトするにはp型を付与する不純物元素を、マイナス側にシフトさせるにはn型を付与する不純物元素を添加する。
次いで、半導体膜703上にゲート絶縁膜を構成する複数層の絶縁膜を堆積する。好適な一例は、酸化シリコン膜704、窒化シリコン膜705を高周波スパッタリング法で成膜するものである。スパッタリングによる成膜前処理として、オゾン水含有水溶液による酸化処理と、フッ酸含有水溶液による酸化膜除去処理を行い、半導体膜703の表面をエッチングすると共に水素で表面ダングリングボンドを終端して不活性にしておく。その後、高周波スパッタリング法によりシリコン(Bドープ、1〜10Ωcm)をターゲットとして酸化シリコン膜を10〜60nmの厚さで形成する。代表的な成膜条件は、スパッタガスにO2とArを用いその混合比(流量比)を1対3とする。スパッタリング時の圧力0.4Pa、放電電力4.1W/cm2(13.56MHz)、基板加熱温度200℃とする。この条件により半導体層と界面準位密度が低く緻密な酸化シリコン膜704を形成することができる。また、酸化シリコン膜の堆積に先立って、予備加熱室103で減圧下の加熱処理や酸素プラズマ処理等の表面処理を行っても良い。酸素プラズマ処理により表面を酸化しておくと界面準位密度を低減させることができる。次いで、高周波スパッタリング法にて窒化シリコン膜705を10〜30nmの厚さで形成する。代表的な成膜条件は、スパッタガスにN2とArを用いその混合比(流量比)を1対1とする。スパッタリング時の圧力0.8Pa、放電電力4.1W/cm2(13.56MHz)基板加熱温度200℃とする。
この積層構造のゲート絶縁膜は、酸化シリコンの比誘電率3.8に対し窒化シリコンの比誘電率は約7.5であることから実質的にはその薄膜化を図るのと同等の効果を得ることができる。半導体層の表面の平滑性に関し、凹凸形状の最大値を10nm以下好ましくは5nm以下とし、ゲート絶縁膜において酸化シリコン膜と窒化シリコン膜の2層構造とすることで、当該ゲート絶縁膜の全厚さを30〜80nmとしてもゲートリーク電流を低減させ、2.5〜10V、代表的には3.0〜5.5VでTFTを駆動させることができる。
酸化シリコン膜704と窒化シリコン膜705の積層体を形成した後、第1導電膜706を形成する。第1導電膜706はモリブデン(Mo)、タングステン(W)、チタン(Ti)等の高融点金属、窒化チタン、窒化タンタル、窒化タングステン等の金属窒化物、タングステンシリサイド(WSi2)、モリブデンシリサイド(MoSi2)、チタンシリサイド(TiSi2)、タンタルシリサイド(TaSi2)、クロムシリサイド(CrSi2)、コバルトシリサイド(CoSi2)、白金シリサイド(PtSi2)等のシリサイド、リンやボロンをドーピングした多結晶シリコン等この種の材料から選択する。第1導電膜706の厚さは10〜100nm、好ましくは20〜50nmとする。
図7(B)で示すように、基板表面に対して入射角が異なるレーザ光707と708を第1導電膜706のある部分に照射して、照射領域にある第1導電膜を加熱する。レーザ光の照射方法及びレーザ照射装置は、例えば、実施の形態1で示すものを適用することができる。すなわち、レーザ光707をLD励起式の10Wのレーザ発振器を光源とする第2高調波(Nd:YVO4レーザ、CW、532nm)とし、レーザ光708を出力30Wのレーザ発振器を光源とする基本波(Nd:YAGレーザ、CW、1.064μm、TEM00)とする。第1導電膜706がレーザ光707、708のエネルギーを吸収して発熱し、伝導加熱によりその下層側にある窒化シリコン膜、酸化シリコン膜、及び半導体膜を加熱する。この局所的な処理により、膜中に取り込まれた微小なシリコンクラスターを酸化若しくは窒化させ、また、内部歪みを緩和して膜中欠陥密度、界面欠陥準位密度を低減させることができる。
その後、図7(C)で示すように、第2導電膜709としてタンタル(Ta)
、タングステン(W)、チタン(Ti)、モリブデン(Mo)、アルミニウム(Al)、銅(Cu)から選ばれた元素又は当該金属元素を主成分とする合金材料もしくは化合物材料を堆積する。第1導電膜706と第2導電膜709とを加工してゲート電極を形成するが、その好ましい組み合わせは導電膜706を窒化タンタル(TaN)膜で形成し、第2導電膜709をタングステン(W)とする組み合わせ、第1導電膜706を窒化タンタル(TaN)膜で形成し、第2導電膜709をTi膜とする組み合わせである。
次に、図8(A)で示すように、ゲート電極パターンを形成するレジストマスク710を設けてドライエッチングにより第1エッチング処理を行う。エッチングには例えばICP(Inductively Coupled Plasma:誘導結合型プラズマ)エッチング法が適用しても良い。エッチング用ガスに限定はないが、タングステン(W)や窒化タンタル(TaN)のエッチングにはCF4とCl2とO2とを用いる。第1エッチング処理では、基板側には所定のバイアス電圧を印加して、第1形状のゲート電極パターン711、712の側面に15〜50度の傾斜角を持たせる。エッチング条件にもよるが、第1エッチング処理によりゲート絶縁膜として形成された窒化シリコン膜705は、第1形状のゲート電極パターン711、712の下部において残存し、酸化シリコン膜704が露出する状態となる。
この後、第2エッチング条件に変え、エッチング用ガスにSF6とCl2とO2とを用い、基板側に印加するバイアス電圧を所定の値として、タングステン(W)膜の異方性エッチングを行う。こうして第1導電層711と第2導電層713の2層構造から成るゲート電極を形成する(図8(B))。
ゲート電極は第1導電層711と第2導電層713との積層構造体であり、断面形状で表すと第1導電層711が庇のように突出した構造(トップハット型)
を有している。その後、図8(C)で示すようにドーピング処理を行う。価電子制御用の不純物イオンを電界で加速して注入するドーピング法では、イオンの加速電圧を適宜調節することにより半導体層703に形成する不純物領域の濃度を異ならせることも可能である。すなわち、第1導電層711の庇部を透過するように高加速電圧で一導電型の不純物イオンを注入して、ゲート電極とオーバーラップする第1不純物領域715を形成し、その後、図8(D)で示すように、第1導電層711の庇部を不純物イオンが透過しない低加速電圧で一導電型のイオンを注入して第2不純物領域716を形成する。このようなドーピング方法により所謂ゲートオーバーラップLDD構造のTFTを形成することができる。
一導電型の不純物として、n型不純物(ドナー)であればリン又はヒ素等の周期律15族元素であり、p型不純物(アクセプタ)であればボロン等の周期律13族元素である。これらの不純物を適宜選択することによりnチャネル型又はpチャネル型のTFTを作製することができる。また、nチャネル型とpチャネル型のTFTを同一基板上に作り込むことも、ドーピング用のマスクパターンを追加するのみで実施することができる。
ソース及びドレインを形成する第2不純物領域716、LDDを形成する第1不純物領域715の活性化は基板表面に対して入射角が異なるレーザ光717と718を第1不純物領域715と第2不純物領域716が形成された半導体層703に照射する。レーザ光の照射方法及びレーザ照射装置は、例えば、実施の形態1で示すものを適用することができる。すなわち、レーザ光707をLD励起式の10Wのレーザ発振器を光源とする第2高調波(Nd:YVO4レーザ、CW、532nm)とし、レーザ光708を出力30Wのレーザ発振器を光源とする基本波(Nd:YAGレーザ、CW、1.064μm、TEM00)とすることができる。この処理において、レーザ光が直接照射されない第1不純物領域715は、ゲート電極を形成する第1導電層711をレーザ光が加熱して、そこからの伝導加熱により、非晶質化した領域の再結晶化及び/又は注入欠陥を修復して不純物の活性化をすることができる。
そして、図9(A)に示すように第3絶縁層719に水素を含有する酸窒化シリコン膜をSiH4、N2O、NH3、H2の混合ガスを用いてプラズマCVD法により基板加熱温度325℃で形成する。膜厚は50〜200nmの厚さとし、その後、窒素雰囲気中で410℃の加熱処理により半導体層の水素化を行う。
その後、第3絶縁層719にコンタクトホールを形成し、Al、Ti、Mo、W等を用いて配線720を適宜形成する。配線構造の一例は、膜厚50〜250nmのTi膜と、膜厚300〜500nmの合金膜(AlとTiとの合金膜)との積層膜を用いる(図9(B))。
こうして、ゲートオーバーラップLDD構造のTFTを完成させることができる。シリコンをターゲットとして高周波スパッタリング法で作製する酸化シリコン膜と窒化シリコン膜を積層させ、パターン形成した導電層を用いて局所的に加熱する熱処理を行った積層体をTFTのゲート絶縁膜に適用することにより、しきい値電圧やサブスレッショルド特性の変動が少ないTFTを得ることができる。
本発明によれば、照射ムラを解消して均一なレーザ処理が可能で、スループット(処理能力)の高いレーザ照射方法及びレーザ処理装置が提供されるが、本実施の形態で示すように、半導体膜の結晶化やゲート絶縁膜の熱処理、不純物領域の活性化等に適用することで、ガラス基板の収縮や歪み等を発生させることなくTFTで様々な機能回路を集積化した半導体装置を提供することができる。特に、ガラス基板の収縮がないことから、ゲート部まわりの寸法精度が確保され、チャネル長0.3〜1.5μmのTFTをガラス基板上に形成することを可能とする。
なお、本実施形態では、実施の形態1で例示するレーザ照射方法及びレーザ照射装置を適用する場合を示したが、本発明に係る半導体装置の製造工程はこれに限定されず、実施の形態2乃至4で例示するレーザ照射方法及びレーザ照射装置を適用することもできる。
[実施の形態6]
実施の形態5と同様にして、図9(A)で示す水素化の工程までを行う。その後、図10(A)で示すように第3絶縁層719上に、第4絶縁層721を高周波スパッタリング法でシリコンをターゲットとして形成される窒化シリコン膜で形成する。この窒化シリコン膜はバリア性に優れ、酸素や空気中の水分をはじめナトリウム等のイオン性の不純物の侵入を阻止するブロッキング作用を得ることができる。
さらにアクリル又はポリイミド等を主成分とする感光性又は非感光性の有機樹脂材料で第5絶縁層722を形成する。Al、Ti、Mo、W等の導電性材料で形成する配線723は第3〜第5絶縁層に形成したコンタクトホールに合わせて設ける。第5絶縁膜を有機樹脂材料で形成することで配線間容量が低減し、又表面が平滑化されるため、この層上で配線の高密度化を実現することができる。
[実施の形態7]
本実施形態では、実施の形態5と異なる工程でゲートオーバーラップ構造のLDDを有するTFTを作製する方法について示す。なお、以下に説明する本実施形態において、実施の形態5と同じものを指す符号は共通して用いることとして、その共通する符号の説明は省略する。
まず、実施の形態と同様にして、基板701上に下地絶縁膜702、半導体膜703、酸化シリコン膜704、窒化シリコン膜705、第1導電層706、第2導電層709を形成する。すなわち、図7(C)で示す工程まで行う。
次に、図11(A)で示すように、ゲート電極のパターンに合わせてエッチング加工して、第1導電層706上に第2導電層730を形成する。次いで、この第2導電層730をマスクとして、一導電型の不純物をドーピングする。第1導電膜706を通過させて半導体膜703に一導電型の不純物を注入し、第1不純物領域732を形成する(図11(B))。
次に、第1導電層706、第2導電層730上に酸化シリコン膜等の絶縁層を形成し、異方性エッチングによりサイドスペーサ733を形成する(図11(C))。このサイドスペーサ733と第2導電層730をドーピング時のマスクとして用い、第1導電層706を通して一導電型の不純物が添加された第2不純物領域734を自己整合的に形成する(図11(D))。
一導電型の不純物として、n型不純物(ドナー)であればリン又はヒ素等の周期律15族元素であり、p型不純物(アクセプタ)であればボロン等の周期律13族元素である。これらの不純物を適宜選択することによりnチャネル型又はpチャネル型のTFTを作製することができる。また、nチャネル型とpチャネル型のTFTを同一基板上に作り込むことも、ドーピング用のマスクパターンを追加するのみで実施することができる。
図11(E)で示すように、ソース及びドレインを形成する第2不純物領域734、LDDを形成する第1不純物領域732の活性化は基板表面に対して入射角が異なるレーザ光717と718を第1不純物領域715と第2不純物領域716が形成された半導体層703に照射する。レーザ光の照射方法及びレーザ照射装置は、例えば、実施の形態1で示すものを適用することができる。すなわち、レーザ光717をLD励起式の10Wのレーザ発振器を光源とする第2高調波(Nd:YVO4レーザ、CW、532nm)とし、レーザ光718を出力30Wのレーザ発振器を光源とする基本波(Nd:YAGレーザ、CW、1.064μm、TEM00)とすることができる。
その後、第2導電層730とサイドスペーサ733をマスクとして第1導電層706のエッチングを行う。そして、第3絶縁層735に水素を含有する酸窒化シリコン膜をSiH4、N2O、NH3、H2の混合ガスを用いてプラズマCVD法により基板加熱温度250〜350℃で形成する。膜厚は50〜200nmの厚さとし、成膜後に窒素雰囲気中で410℃の加熱処理により半導体層の水素化を行う(図12(A))。
さらにアクリル又はポリイミド等を主成分とする感光性又は非感光性の有機樹脂材料で第5絶縁層736を形成する。Al、Ti、Mo、W等の導電性材料で形成する配線737は第3〜第5絶縁層に形成したコンタクトホールに合わせて設ける。第5絶縁膜を有機樹脂材料で形成することで配線間容量が低減し、又表面が平滑化されるため、この層上で配線の高密度化を実現することができる(図12(B))。
こうして、ゲートオーバーラップLDD構造のTFTを完成させることができる。本発明によれば、照射ムラを解消して均一なレーザ処理が可能で、スループット(処理能力)の高いレーザ照射方法及びレーザ処理装置が提供されるが、本実施の形態で示すように、半導体膜の結晶化やゲート絶縁膜の熱処理、不純物領域の活性化等に適用することで、ガラス基板の収縮や歪み等を発生させることなくTFTで様々な機能回路を集積化した半導体装置を提供することができる。特に、ガラス基板の収縮がないことから、ゲート部まわりの寸法精度が確保され、チャネル長0.3〜1.5μmのTFTをガラス基板上に形成することを可能とする。
なお、本実施形態では、実施の形態1で例示するレーザ照射方法及びレーザ照射装置を適用する場合を示したが、本発明に係る半導体装置の製造工程はこれに限定されず、実施の形態2乃至4で例示するレーザ照射方法及びレーザ照射装置を適用することもできる。
[実施の形態8]
本実施の形態は、実施の形態1と異なる工程でゲートオーバーラップLDD構造のTFTを作製する態様について示す。なお、以下の説明において、実施の形態1と同じものを指す符号は共通して用い、簡単のためその部位の説明は省略する。
図13(A)において、基板701上に下地絶縁膜702と半導体層703を形成し、その上にマスク740を形成した後、ドーピング処理を行い、第1不純物領域741の形成を行う。
マスク740を剥離して、オゾン水とフッ酸を交互に用いたサイクル洗浄やUV(紫外線)オゾン処理で有機物汚染を除去して清浄表面を形成した後、酸化シリコン膜704、窒化シリコン膜705、第1導電層706を形成する(図13(B))。
その後、第2導電層709を形成する(図13(C))。そして、エッチング処理を行いゲート電極のパターンに加工された第2導電層742を形成する。ゲート電極の位置はマスク740を形成した位置に対応して形成し、第1不純物領域741と重畳させることでゲートオーバーラップ構造をこの段階で作り込む(図14(D))。
次いで、図14(A)で示すように、第2導電層742上にマスク743を形成する。このマスク743は第2導電層742を覆うとともに、ゲート電極とオーバーラップしないLDD領域の長さ分だけ半導体膜703上にも形成する。この状態で、マスク743を利用してドーピング処理を行い第2不純物領域744を形成する。
その後、第1不純物領域741、第2不純物領域744の活性化とゲート絶縁膜の改質を目的とした熱処理を実施の形態1と同様にして行う(図14(B))
。基板表面に対して入射角が異なるレーザ光717と718を第1不純物領域741と第2不純物領域744が形成された半導体層703に照射する。レーザ光の照射方法及びレーザ照射装置は、例えば、実施の形態1で示すものを適用することができる。すなわち、レーザ光717をLD励起式の10Wのレーザ発振器を光源とする第2高調波(Nd:YVO4レーザ、CW、532nm)とし、レーザ光718を出力30Wのレーザ発振器を光源とする基本波(Nd:YAGレーザ、CW、1.064μm、TEM00)とすることができる。
本実施の形態では第1不純物領域及び第2不純物領域の活性化と、ゲート絶縁膜の改質を同時に行うことが可能である。以降の工程は、実施の形態1と同様に行えば、LDD領域の一部がゲート電極とオーバーラップし(Lov)、一部がオーバーラップしない(Loff)LDD構造のTFTを完成させることができる。
なお、本実施形態では、実施の形態1で例示するレーザ照射方法及びレーザ照射装置を適用する場合を示したが、本発明に係る半導体装置の製造工程はこれに限定されず、実施の形態2乃至4で例示するレーザ照射方法及びレーザ照射装置を適用することもできる。
[実施の形態9]
本実施形態では、ボトムゲート(逆スタガ)型の構造を含む半導体装置の作製方法の一例を示す。
図15(A)において、基板701上に下地絶縁膜702を形成する。ゲート電極761はチタン、モリブデン、クロム、タングステン等の金属、又はこれらの元素を含む合金で形成する。例えば、モリブデンとタングステンの合金で形成する。また、ゲート電極761をアルミニウムで形成し、その表面を陽極酸化して安定化させてえも良い。
その上に、ゲート絶縁膜として、高周波スパッタリング法により、窒化シリコン膜705と酸化シリコン膜704を、この順に積層形成する。半導体膜703は、実施の形態1乃至4のいずれか一の方法を適用し、同様にして形成する。
図15(B)に示すように、この状態で、基板表面に対して入射角が異なるレーザ光762と763を照射してゲート絶縁膜の熱処理を行っても良い。レーザ光の照射方法及びレーザ照射装置は、例えば、実施の形態1で示すものを適用することができる。すなわち、レーザ光762をLD励起式の10Wのレーザ発振器を光源とする第2高調波(Nd:YVO4レーザ、CW、532nm)とし、レーザ光763を出力30Wのレーザ発振器を光源とする基本波(Nd:YAGレーザ、CW、1.064μm、TEM00)とする。ゲート電極761がレーザ光762、763のエネルギーを吸収して発熱し、伝導加熱によりその下層側にある窒化シリコン膜、酸化シリコン膜、及び半導体膜を加熱する。この局所的な処理により、膜中に取り込まれた微小なシリコンクラスターを酸化若しくは窒化させ、また、内部歪みを緩和して膜中欠陥密度、界面欠陥準位密度を低減させることができる。なお、レーザ光は基板側(ゲート電極側)から照射しても良い。
次に、半導体膜703上にチャネル保護膜764を酸化シリコン等で形成し、それをマスクとして一導電型の不純物領域を形成する。図15(C)ではソース及びドレインを形成する第2不純物領域765を形成する場合を示している。また、図示しないが、ドーピング工程を2回に分けて行い、LDDを形成する第1不純物領域を付加しても良い。一導電型の不純物として、n型不純物(ドナー)
であればリン又はヒ素等の周期律15族元素であり、p型不純物(アクセプタ)
であればボロン等の周期律13族元素である。これらの不純物を適宜選択することによりnチャネル型又はpチャネル型のTFTを作製することができる。また、nチャネル型とpチャネル型のTFTを同一基板上に作り込むことも、ドーピング用のマスクパターンを追加するのみで実施することができる。
ソース及びドレインを形成する第2不純物領域765の活性化は基板表面に対して入射角が異なるレーザ光762と763を第2不純物領域765が形成された半導体層703に照射する。レーザ光の照射方法及びレーザ照射装置は、例えば、実施の形態1で示すものを適用することができる。すなわち、レーザ光762をLD励起式の10Wのレーザ発振器を光源とする第2高調波(Nd:YVO4レーザ、CW、532nm)とし、レーザ光763を出力30Wのレーザ発振器を光源とする基本波(Nd:YAGレーザ、CW、1.064μm、TEM00)とすることができる。
そして、図15(E)に示すように第3絶縁層766に水素を含有する酸窒化シリコン膜をSiH4、N2O、NH3、H2の混合ガスを用いてプラズマCVD法により基板加熱温度325℃で形成する。膜厚は50〜200nmの厚さとし、その後、窒素雰囲気中で410℃の加熱処理により半導体層の水素化を行う。
さらにアクリル又はポリイミド等を主成分とする感光性又は非感光性の有機樹脂材料で第5絶縁層722を形成する。Al、Ti、Mo、W等の導電性材料で形成する配線723は第3〜第5絶縁層に形成したコンタクトホールに合わせて設ける。第5絶縁膜を有機樹脂材料で形成することで配線間容量が低減し、又表面が平滑化されるため、この層上で配線の高密度化を実現することができる。
こうして、ボトムゲート型(逆スタガ型)のTFTを完成させることができる。シリコンをターゲットとして高周波スパッタリング法で作製する酸化シリコン膜と窒化シリコン膜を積層させ、パターン形成した導電層を用いて局所的に加熱する熱処理を行った積層体をTFTのゲート絶縁膜に適用することにより、しきい値電圧やサブスレッショルド特性の変動が少ないTFTを得ることができる。
[実施の形態10]
実施の形態1乃至9では、a−Si膜にレーザ光を照射して結晶化することを例示したが、本発明はこのような適用に限定されず、例えば、結晶化した半導体膜に対し、さらに本発明に係るレーザ照射方法及びレーザ照射装置を用いてその結晶性の向上並びに改質を図る処理に適用することができる。
まず、図16(A)で示すように、基板701上に酸化シリコン膜、窒化シリコン膜又は酸窒化シリコン膜等の絶縁膜から成る下地絶縁膜702を形成する。
代表的にはSiH4、NH3、及びN2Oを反応ガスとしてプラズマCVDにより400℃の基板加熱温度で成膜され窒素含有量が酸素含有量よりも多い又は同程度の第1酸窒化シリコン膜と、SiH4、及びN2Oを反応ガスとしてプラズマCVDにより400℃の基板加熱温度で成膜され酸素含有量が窒素含有量よりも多い第2酸窒化シリコン膜を積層形成する構造である。
この構成において、第1酸窒化シリコン膜を高周波スパッタリング法で形成する窒化シリコン膜と置き換えても良い。当該窒化シリコン膜はナトリウム(Na)等ガラス基板に微量に含まれるアルカリ金属が拡散するのを防ぐことができる。
TFTのチャネル部やソース及びドレイン部を形成する半導体層は、下地絶縁膜702上に形成した非晶質シリコン膜751を結晶化して得る。プラズマCVD法で300℃の基板加熱温度で成膜する非晶質シリコン膜は20〜60nmの厚さで形成する。半導体層は非晶質シリコン膜に換えて非晶質シリコンゲルマニウム(Si1-xGex;x=0.001〜0.05)膜を適用しても良い。
結晶化はニッケル(Ni)等半導体の結晶化に対し触媒作用のある金属元素を添加して結晶化させて行う。図16(A)ではニッケル(Ni)含有層752を非晶質シリコン膜751上に保持させた後、輻射加熱又は伝導加熱による熱処理で結晶化を行う。例えば、ランプの輻射を熱源としたRTA(Rapid Thermal Anneal)、又は加熱された気体を用いるRTA(ガスRTA)で設定加熱温度740℃で180秒のRTAを行う。設定加熱温度は、パイロメータで測る基板の温度であり、その温度を熱処理時の設定温度としている。他の方法としては、ファーネスアニール炉を用いて550℃にて4時間の熱処理があり、これを用いても良い。結晶化温度の低温化及び時短化は触媒作用のある金属元素の作用によるものである。
結晶性シリコン膜755に対し、更に結晶性を向上させるためにレーザ処理を加える(図16(B))。すなわち、レーザ光753をLD励起式の10Wのレーザ発振器を光源とする第2高調波(Nd:YVO4レーザ、CW、532nm)とし、レーザ光754を出力30Wのレーザ発振器を光源とする基本波(Nd:YAGレーザ、CW、1.064μm、TEM00)とすることができる。このよいうに第2高調波に基本波を照射面で重畳させることにより、照射ムラを解消して均一なレーザ処理が可能で、スループット(処理能力)の高い結晶化処理をすることができる。こうして結晶化した半導体膜756を得ることができる(図16(C))。
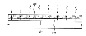
図17で示すゲッタリングは、結晶性シリコン膜中に含まれる金属等の不純物を除去するために行う。特に、結晶化の工程で意図的に添加した触媒作用のある金属を1×1017/cm3以下の濃度にまで低減するのに有効である。薄膜状に形成した結晶性シリコン膜に対してゲッタリングを行うには、新たにゲッタリングサイトを形成する必要がある。図17では半導体膜756上にバリア層757を介在させて非晶質シリコン膜758を形成してゲッタリングサイトとしている。非晶質シリコン膜758にはリンやボロン等の不純物元素、又はAr、Kr、Xe等の希ガス元素、酸素、窒素等を1×1020/cm3以上含ませて歪み場を形成する。好ましい形成方法として高周波スパッタリングでArをスパッタガスとして非晶質シリコン膜を形成する。成膜時の基板加熱温度は任意であるが、例えば150℃とすれば十分である。
熱処理は、ランプを熱源とするRTA、又は加熱された気体を用いるRTA(ガスRTA)で750℃で180秒のRTAを行う。或いは、ファーネスアニール炉を用いて550℃にて4時間の熱処理を行う。この熱処理により金属元素は非晶質シリコン膜758側に偏析して、結果的に半導体膜756の高純度化をすることができる。熱処理後、非晶質シリコン膜758はNF3やCF4を用いたドライエッチング、ClF3によるプラズマを用いないドライエッチング、或いはヒドラジンや、テトラエチルアンモニウムハイドロオキサイド(化学式 (CH34NOH)を含む水溶液等アルカリ溶液によるウエットエッチングで除去する。またバリア層756はフッ酸でエッチング除去する。
このようにして得られる半導体膜756は、実施の形態5乃至8の半導体膜として使用することができる。
[実施の形態11]
実施の形態5乃至10により作製することができる代表的な半導体装置としてマイクロコンピュータの一実施形態を図18を用いて説明する。図18に示すように、0.3〜1.1mmの厚さのガラス基板上に各種の機能回路部を集積してマイクロコンピュータを実現することができる。各種の機能回路部は実施の形態1〜5により作製されるTFTや容量部を主体として形成することが可能である。
図18で示すマイクロコンピュータ800の要素としては、CPU801、ROM802、割り込みコントローラ803、キャッシュメモリー804、RAM805、DMAC806、クロック発生回路807、シリアルインターフェース808、電源発生回路809、ADC/DAC810、タイマカウンタ811、WDT812、I/Oポート802などである。
本実施の形態ではマイクロコンピュータの形態を一例として示したが、各種機能回路の構成や組み合わせを換えれば、メディアプロセッサ、グラフィクス用LSI、暗号LSI、メモリー、グラフィクス用LSI、携帯電話用LSIなど様々な機能の半導体装置を完成させることができる。
また、その他にもガラス基板上にTFTを形成することにより、それを用いた液晶表示装置、EL(エレクトロルミネセンス)表示装置を作製することができる。そのような表示装置を用いた電子機器として、ビデオカメラ、デジタルカメラ、ゴーグル型ディスプレイ(ヘッドマウントディスプレイ)、ナビゲーションシステム、音響再生装置(カーオーディオ、オーディオコンポ等)、ノート型パーソナルコンピュータ、ゲーム機器、携帯情報端末(モバイルコンピュータ、携帯電話、携帯型ゲーム機又は電子書籍等)、記録媒体を備えた画像再生装置(具体的にはDigital Versatile Disc(DVD)等の記録媒体を再生し、その画像を表示しうるディスプレイを備えた装置)等が挙げられる。また、家庭電化製品として冷蔵庫、洗濯機、電子レンジ、固定電話機、ファクシミリなどに組み込む表示装置としても適用することも可能である。このように本発明の適用範囲はきわめて広く、さまざまな製品に適用することができる。

Claims (7)

  1. 半導体膜を形成し、
    第1のレーザビーム、第2のレーザビーム、及び第3のレーザビームを照射して前記半導体膜を結晶化し、
    前記第1のレーザビームは第2高調波のレーザビームであり、かつ、連続発振のレーザであり、
    前記第2のレーザビーム及び前記第3のレーザビームは基本波のレーザビームであり、かつ、連続発振のレーザであり、
    前記第1のレーザビームのビームスポットは楕円状又は長方形状であり、
    前記第2のレーザビームのビームスポットは、前記第1のレーザビームのビームスポットの長径方向の一方の端部を覆い、
    前記第3のレーザビームのビームスポットは、前記第1のレーザビームのビームスポットの長径方向の他方の端部を覆うことを特徴とする半導体装置の作製方法。
  2. 半導体膜を形成し、
    第1のレーザビーム及び第2のレーザビームを照射して前記半導体膜を結晶化し、
    前記第1のレーザビームは第2高調波のレーザビームであり、かつ、連続発振のレーザであり、
    前記第2のレーザビームは基本波のレーザビームであり、かつ、連続発振のレーザであり、
    前記第1のレーザビームのビームスポットは楕円状であり、
    前記第1のレーザビームは、偏向手段によって前記第1のレーザビームのビームスポットの短径方向に走査され、
    前記第2のレーザビームのビームスポットは、前記第1のレーザビームの走査領域を覆うことを特徴とする半導体装置の作製方法。
  3. 請求項2において、
    前記第2のレーザビームのビームスポットは、前記第1のレーザビームのビームスポットの短径方向に長い形状であることを特徴とする半導体装置の作製方法。
  4. 請求項2または3において、
    前記偏向手段は、ガルバノミラーであることを特徴とする半導体装置の作製方法。
  5. 請求項1乃至4のいずれか一において、
    前記第1のレーザビームは、YVOレーザであることを特徴とする半導体装置の作製方法。
  6. 請求項1乃至5のいずれか一において、
    前記第2のレーザビームは、YAGレーザであることを特徴とする半導体装置の作製方法。
  7. 請求項1において、
    前記第3のレーザビームは、YAGレーザであることを特徴とする半導体装置の作製方法。
JP2010022083A 2010-02-03 2010-02-03 半導体装置の作製方法 Expired - Fee Related JP5244832B2 (ja)

Priority Applications (1)

Application Number Priority Date Filing Date Title
JP2010022083A JP5244832B2 (ja) 2010-02-03 2010-02-03 半導体装置の作製方法

Applications Claiming Priority (1)

Application Number Priority Date Filing Date Title
JP2010022083A JP5244832B2 (ja) 2010-02-03 2010-02-03 半導体装置の作製方法

Related Parent Applications (1)

Application Number Title Priority Date Filing Date
JP2002294305A Division JP2004128421A (ja) 2002-10-07 2002-10-07 レーザ照射方法およびレーザ照射装置、並びに半導体装置の作製方法

Publications (2)

Publication Number Publication Date
JP2010141345A true JP2010141345A (ja) 2010-06-24
JP5244832B2 JP5244832B2 (ja) 2013-07-24

Family

ID=42351127

Family Applications (1)

Application Number Title Priority Date Filing Date
JP2010022083A Expired - Fee Related JP5244832B2 (ja) 2010-02-03 2010-02-03 半導体装置の作製方法

Country Status (1)

Country Link
JP (1) JP5244832B2 (ja)

Cited By (5)

* Cited by examiner, † Cited by third party
Publication number Priority date Publication date Assignee Title
JP2012129500A (ja) * 2010-10-22 2012-07-05 Ultratech Inc 時間平均化ライン像を形成するシステム及び方法
CN104979230A (zh) * 2015-07-13 2015-10-14 中国建材国际工程集团有限公司 测量非晶硅薄膜带隙缺陷态密度的装置
US9411163B2 (en) 2014-07-29 2016-08-09 Ultratech, Inc. High-efficiency line-forming optical systems and methods
US10083843B2 (en) 2014-12-17 2018-09-25 Ultratech, Inc. Laser annealing systems and methods with ultra-short dwell times
CN115377298A (zh) * 2022-07-29 2022-11-22 深圳公大激光有限公司 一种用于钙钛矿光伏的激光退火装置及其使用方法

Citations (8)

* Cited by examiner, † Cited by third party
Publication number Priority date Publication date Assignee Title
JPH0899186A (ja) * 1994-09-30 1996-04-16 A G Technol Kk レーザ加工装置
JPH09199441A (ja) * 1996-01-22 1997-07-31 Sharp Corp 半導体装置の製造方法
JP2000286209A (ja) * 1999-03-31 2000-10-13 Toshiba Corp 薄膜半導体結晶の溶融再結晶化方法
JP2002141302A (ja) * 2000-11-02 2002-05-17 Mitsubishi Electric Corp レーザアニーリング用レーザ光学系とこれを用いたレーザアニーリング装置
JP2002176008A (ja) * 2000-12-08 2002-06-21 Mitsubishi Electric Corp 照射レーザビームの測定方法とその測定装置
JP2002203862A (ja) * 2000-10-26 2002-07-19 Semiconductor Energy Lab Co Ltd 半導体装置およびその作製方法
JP2002217125A (ja) * 2001-01-23 2002-08-02 Sumitomo Heavy Ind Ltd 表面処理装置及び方法
JP2002261015A (ja) * 1997-12-17 2002-09-13 Matsushita Electric Ind Co Ltd 半導体薄膜、その製造方法、および製造装置、ならびに半導体素子、およびその製造方法

Patent Citations (8)

* Cited by examiner, † Cited by third party
Publication number Priority date Publication date Assignee Title
JPH0899186A (ja) * 1994-09-30 1996-04-16 A G Technol Kk レーザ加工装置
JPH09199441A (ja) * 1996-01-22 1997-07-31 Sharp Corp 半導体装置の製造方法
JP2002261015A (ja) * 1997-12-17 2002-09-13 Matsushita Electric Ind Co Ltd 半導体薄膜、その製造方法、および製造装置、ならびに半導体素子、およびその製造方法
JP2000286209A (ja) * 1999-03-31 2000-10-13 Toshiba Corp 薄膜半導体結晶の溶融再結晶化方法
JP2002203862A (ja) * 2000-10-26 2002-07-19 Semiconductor Energy Lab Co Ltd 半導体装置およびその作製方法
JP2002141302A (ja) * 2000-11-02 2002-05-17 Mitsubishi Electric Corp レーザアニーリング用レーザ光学系とこれを用いたレーザアニーリング装置
JP2002176008A (ja) * 2000-12-08 2002-06-21 Mitsubishi Electric Corp 照射レーザビームの測定方法とその測定装置
JP2002217125A (ja) * 2001-01-23 2002-08-02 Sumitomo Heavy Ind Ltd 表面処理装置及び方法

Cited By (7)

* Cited by examiner, † Cited by third party
Publication number Priority date Publication date Assignee Title
JP2012129500A (ja) * 2010-10-22 2012-07-05 Ultratech Inc 時間平均化ライン像を形成するシステム及び方法
US8822353B2 (en) 2010-10-22 2014-09-02 Ultratech, Inc. Systems and methods for forming a time-averaged line image
US9411163B2 (en) 2014-07-29 2016-08-09 Ultratech, Inc. High-efficiency line-forming optical systems and methods
US9638922B2 (en) 2014-07-29 2017-05-02 Ultratech, Inc. High-efficiency line-forming optical systems and methods
US10083843B2 (en) 2014-12-17 2018-09-25 Ultratech, Inc. Laser annealing systems and methods with ultra-short dwell times
CN104979230A (zh) * 2015-07-13 2015-10-14 中国建材国际工程集团有限公司 测量非晶硅薄膜带隙缺陷态密度的装置
CN115377298A (zh) * 2022-07-29 2022-11-22 深圳公大激光有限公司 一种用于钙钛矿光伏的激光退火装置及其使用方法

Also Published As

Publication number Publication date
JP5244832B2 (ja) 2013-07-24

Similar Documents

Publication Publication Date Title
KR101019137B1 (ko) 레이저 조사방법 및 레이저 조사장치, 및 반도체장치의제조방법
KR101188356B1 (ko) 레이저 조사장치, 레이저 조사방법 및 반도체장치의제조방법
CN100479116C (zh) 激光照射设备和制造半导体器件的方法
JP4850858B2 (ja) 半導体装置の作製方法
US7405114B2 (en) Laser irradiation apparatus and method of manufacturing semiconductor device
CN1322561C (zh) 激光装置、激光退火方法和半导体器件的制造方法
CN100444320C (zh) 半导体器件制造方法以及激光辐照设备
JP4610178B2 (ja) 半導体装置の作製方法
US6844523B2 (en) Laser apparatus, laser irradiation method, manufacturing method for a semiconductor device, semiconductor device and electronic equipment
JP2003051446A (ja) 半導体装置の作製方法
CN101599427B (zh) 激光照射设备和激光照射方法
US20040106242A1 (en) Method for fabricating semiconductor film and semiconductor device and laser processing apparatus
TW200525844A (en) Laser irradiation method and method for manufacturing crystalline semiconductor film
CN106783536A (zh) 激光退火设备、多晶硅薄膜和薄膜晶体管的制备方法
JP2002324808A (ja) 半導体装置およびその作製方法
US7199027B2 (en) Method of manufacturing a semiconductor film by plasma CVD using a noble gas and nitrogen
JP5244832B2 (ja) 半導体装置の作製方法
JP4230160B2 (ja) 半導体装置の作製方法
JP4498716B2 (ja) レーザ照射装置及び前記レーザ照射装置を用いた半導体装置の作製方法
JP4481040B2 (ja) 半導体装置の作製方法
JP3908153B2 (ja) 半導体装置の作製方法
JP4762121B2 (ja) レーザ照射方法、及び半導体装置の作製方法
JP3883952B2 (ja) レーザ照射装置
JP2008263218A (ja) 半導体装置の作製方法
CN100485872C (zh) 非晶半导体膜和半导体器件的制造方法

Legal Events

Date Code Title Description
A977 Report on retrieval

Free format text: JAPANESE INTERMEDIATE CODE: A971007

Effective date: 20120727

A131 Notification of reasons for refusal

Free format text: JAPANESE INTERMEDIATE CODE: A131

Effective date: 20121106

A521 Request for written amendment filed

Free format text: JAPANESE INTERMEDIATE CODE: A523

Effective date: 20121218

TRDD Decision of grant or rejection written
A01 Written decision to grant a patent or to grant a registration (utility model)

Free format text: JAPANESE INTERMEDIATE CODE: A01

Effective date: 20130402

A61 First payment of annual fees (during grant procedure)

Free format text: JAPANESE INTERMEDIATE CODE: A61

Effective date: 20130408

FPAY Renewal fee payment (event date is renewal date of database)

Free format text: PAYMENT UNTIL: 20160412

Year of fee payment: 3

R150 Certificate of patent or registration of utility model

Free format text: JAPANESE INTERMEDIATE CODE: R150

Ref document number: 5244832

Country of ref document: JP

Free format text: JAPANESE INTERMEDIATE CODE: R150

R250 Receipt of annual fees

Free format text: JAPANESE INTERMEDIATE CODE: R250

R250 Receipt of annual fees

Free format text: JAPANESE INTERMEDIATE CODE: R250

R250 Receipt of annual fees

Free format text: JAPANESE INTERMEDIATE CODE: R250

R250 Receipt of annual fees

Free format text: JAPANESE INTERMEDIATE CODE: R250

R250 Receipt of annual fees

Free format text: JAPANESE INTERMEDIATE CODE: R250

R250 Receipt of annual fees

Free format text: JAPANESE INTERMEDIATE CODE: R250

LAPS Cancellation because of no payment of annual fees