JP2010141297A - 導光体および光電変換器ならびに平面光電変換装置 - Google Patents
導光体および光電変換器ならびに平面光電変換装置 Download PDFInfo
- Publication number
- JP2010141297A JP2010141297A JP2009245700A JP2009245700A JP2010141297A JP 2010141297 A JP2010141297 A JP 2010141297A JP 2009245700 A JP2009245700 A JP 2009245700A JP 2009245700 A JP2009245700 A JP 2009245700A JP 2010141297 A JP2010141297 A JP 2010141297A
- Authority
- JP
- Japan
- Prior art keywords
- light
- photoelectric conversion
- conversion element
- light guide
- photoelectric
- Prior art date
- Legal status (The legal status is an assumption and is not a legal conclusion. Google has not performed a legal analysis and makes no representation as to the accuracy of the status listed.)
- Pending
Links
Images
Classifications
-
- Y—GENERAL TAGGING OF NEW TECHNOLOGICAL DEVELOPMENTS; GENERAL TAGGING OF CROSS-SECTIONAL TECHNOLOGIES SPANNING OVER SEVERAL SECTIONS OF THE IPC; TECHNICAL SUBJECTS COVERED BY FORMER USPC CROSS-REFERENCE ART COLLECTIONS [XRACs] AND DIGESTS
- Y02—TECHNOLOGIES OR APPLICATIONS FOR MITIGATION OR ADAPTATION AGAINST CLIMATE CHANGE
- Y02E—REDUCTION OF GREENHOUSE GAS [GHG] EMISSIONS, RELATED TO ENERGY GENERATION, TRANSMISSION OR DISTRIBUTION
- Y02E10/00—Energy generation through renewable energy sources
- Y02E10/50—Photovoltaic [PV] energy
- Y02E10/52—PV systems with concentrators
Landscapes
- Photovoltaic Devices (AREA)
Abstract
【課題】光電変換器に入射するための高輝度な光を得る。
【解決手段】導光体3は、光電変換器が挿入される開口部21を出射部として導光体3の中心に位置して設ける。表面部31や裏面部32には、出射部方向に向く傾斜部を有する凹形状34を、開口部21を中心として放射状に同心円上に設ける。外部からの光は、導光体3の表面部31から入射し、表面部31に設けた凹形状34の傾斜部で全反射や屈折等をして円周方向(360°の範囲)放射状から中心方向に出射する。
【選択図】図1
【解決手段】導光体3は、光電変換器が挿入される開口部21を出射部として導光体3の中心に位置して設ける。表面部31や裏面部32には、出射部方向に向く傾斜部を有する凹形状34を、開口部21を中心として放射状に同心円上に設ける。外部からの光は、導光体3の表面部31から入射し、表面部31に設けた凹形状34の傾斜部で全反射や屈折等をして円周方向(360°の範囲)放射状から中心方向に出射する。
【選択図】図1
Description
本発明は、外部からの光を表面部から導き、当該表面部の反対側に位置する裏面部の中心に位置した所の開口部や凹部により光を出射する出射部を有し、表面部や裏面部に出射部を中心として放射状に同心円上に出射部方向に向く傾斜部を有した凹形状を設けた導光体に関する。
また、本発明は、導光体の出射部の開口部や凹部に備えることができるように、リードフレームや基板上の載置面に光電変換素子が載置され、載置面に略並行に放射状に光が入射して光電変換素子の対向する位置に設けた面で全反射を行うことが出来る様に光電変換素子の受光面を円錐形状に形成したり、全体が円柱形状や四角形状にモールドで成し、光電変換素子に対向する位置が逆向きの円錐形状や四角錐形状に切除した形状の光電変換器に関する。
さらに、太陽光の広範囲な波長に対する光電変換素子の種類に依るエネルギー変換効率に対応させる為に波長変換部や波長変換材を備えた光電変換器に関する。
また、本発明は、これら導光体や光電変換器や反射体等から成る平面光電変換装置に関する。
また、本発明は、導光体の出射部の開口部や凹部に備えることができるように、リードフレームや基板上の載置面に光電変換素子が載置され、載置面に略並行に放射状に光が入射して光電変換素子の対向する位置に設けた面で全反射を行うことが出来る様に光電変換素子の受光面を円錐形状に形成したり、全体が円柱形状や四角形状にモールドで成し、光電変換素子に対向する位置が逆向きの円錐形状や四角錐形状に切除した形状の光電変換器に関する。
さらに、太陽光の広範囲な波長に対する光電変換素子の種類に依るエネルギー変換効率に対応させる為に波長変換部や波長変換材を備えた光電変換器に関する。
また、本発明は、これら導光体や光電変換器や反射体等から成る平面光電変換装置に関する。
従来の薄膜太陽電池としては、光電変換層を有する薄膜太陽電池素子と、集光反射素子とを備えたものが知られている。集光反射素子は、蛍光特性を有する透明基板上に、円形状ピンホール群からなる光透過孔群を有する反射層と、上記光透過孔群に入射光を集光する半球状集光レンズ群とが順次設けられている。集光反射素子は、薄膜太陽電池素子の光入射面に集光反射素子の透明基板側が対向した状態で薄膜太陽電池素子に取り付けられている。この薄膜太陽電池では、入射光が、集光反射素子の半球状集光レンズ群によって反射層の円形状ピンホール群に集光される。そして、円形状ピンホール群から入射した光は、蛍光特性を有する透明基板を通って、光電変換層により光電変換に利用できる波長域の光に変換される。
また、従来の太陽電池としては、線状集光レンズに太陽電池セルが一体化されたものが知られている。線状集光レンズは、長手方向に延びる軸に対する垂直断面が略扇型形状をなし、根元部が平面状になっている。太陽電池セルは、線状集光レンズの平面状の根元部に接触配置され、かつ線状集光レンズにより根元部に形成される集光部の幅と略同じ幅を有して線状集光レンズに一体化されている。そして、これらをパネル上に複数本隣接し、かつ各太陽電池セル同士が間隙を有するように並行に並べて太陽電池セルを構成している。
さらに、従来、集光型太陽発電装置として、受光面と反射面とを有する複数の集光体と、各集光体の受光面および反射面以外の他の面に、その表面の少なくとも一部が接している複数の光電変換素子とを有したものが知られている。複数の集光体および複数の光電変換素子は、一方向に平行に配置され、各集光体は、それぞれの反射面が受光面に対して所定の傾斜角を有し、各集光体の受光面と反射面との成す角が同一方向を向くように配置されている。
また、光電変換素子は、相対出力としてアモルファスシリコン系では0.6μmの波長で最大となり、単結晶シリコン系では0.85μmの波長で最大となり、光電変換素子の種類によって波長感度が異なる。
また、光電変換素子は、相対出力としてアモルファスシリコン系では0.6μmの波長で最大となり、単結晶シリコン系では0.85μmの波長で最大となり、光電変換素子の種類によって波長感度が異なる。
光エレクトロニクス入門(出版社名(発行):日本技能教育開発センター)
従来の薄膜太陽電池素子と集光反射素子とを備えた薄膜太陽電池では、集光レンズ群や円形状ピンホール群等を設ける必要があり、集光レンズ群によって円形状ピンホール群のピンホール部分に光をコントロールする必要があるという課題があった。
また、線状集光レンズと太陽電池セルとが一体化された従来の太陽電池モジュールでは、太陽電池セルと一体化される線状集光レンズの略扇型形状により大きさが限定されてしまう課題がある。
さらに、複数の集光体と複数の光電変換素子とを有する従来の集光型太陽発電装置では、集光体の各々に光電変換素子を設けなければならず、反射面での反射角によってはガラス基板の上面で全反射(上方からの透過と全反射とを兼ね備える)が起こり難い課題がある。
また、光電変換素子は、相対出力としてアモルファスシリコン系では0.6μmの波長で最大となり、単結晶シリコン系では0.85μmの波長で最大となり、光電変換素子の種類によって波長感度が異なるために効率良く安定した出力を得にくい課題がある。
また、光電変換素子は、相対出力としてアモルファスシリコン系では0.6μmの波長で最大となり、単結晶シリコン系では0.85μmの波長で最大となり、光電変換素子の種類によって波長感度が異なるために効率良く安定した出力を得にくい課題がある。
(発明の目的)
本発明は、上記のような課題を解決するためになされたもので、外部からの光を導く表面部と、当該表面部の反対側に位置する裏面部と、光を出射する出射部とを有し、出射部は中心に位置した開口部または裏面部に凹部を設けるとともに表面部や裏面部に出射部を中心として放射状に同心円上に出射部方向に向く傾斜部を有した凹形状を設けた導光体と、この出射部にリードフレームや基板上の載置面に光電変換素子が載置され、載置面に略並行に放射状に光が入射して光電変換素子の対向する位置に設けた面で全反射を行うことが出来る様に光電変換素子の受光面を円錐形状に形成したり、全体が円柱形状や四角形状にモールドで成し、光電変換素子に対向する位置が逆向きの円錐形状や四角錐形状に切除した形状の光電変換器を挿入して成る導光体および光電変換器ならびに平面光電変換装置を提供することにある。
本発明は、上記のような課題を解決するためになされたもので、外部からの光を導く表面部と、当該表面部の反対側に位置する裏面部と、光を出射する出射部とを有し、出射部は中心に位置した開口部または裏面部に凹部を設けるとともに表面部や裏面部に出射部を中心として放射状に同心円上に出射部方向に向く傾斜部を有した凹形状を設けた導光体と、この出射部にリードフレームや基板上の載置面に光電変換素子が載置され、載置面に略並行に放射状に光が入射して光電変換素子の対向する位置に設けた面で全反射を行うことが出来る様に光電変換素子の受光面を円錐形状に形成したり、全体が円柱形状や四角形状にモールドで成し、光電変換素子に対向する位置が逆向きの円錐形状や四角錐形状に切除した形状の光電変換器を挿入して成る導光体および光電変換器ならびに平面光電変換装置を提供することにある。
本発明の請求項1に係る導光体は、出射部として、導光体の中心に位置した開口部または裏面部に凹部を設けるとともに表面部または/および裏面部に出射部を中心として放射状に同心円上に出射部方向に向く傾斜部を有した凹形状を設けたことを特徴とする。
請求項1に係る導光体は、出射部として、導光体の中心に位置した開口部または裏面部に凹部を設けるとともに表面部または/および裏面部に出射部を中心として放射状に同心円上に出射部方向に向く傾斜部を有した凹形状を設けたので、外部からの光を導光体の表面部で入射し表面部の傾斜部で全反射や屈折等をして円周方向(360°の範囲)放射状から中心方向に出射することができる。
また、請求項2に係る導光体は、出射部として、導光体の中心に位置した四角形状の開口部または裏面部に四角形状の凹部を設けるとともに表面部または/および裏面部に出射部を中心として平行に出射部方向に向く傾斜部を有した凹形状を設けたことを特徴とする。
請求項2に係る導光体は、出射部として、導光体の中心に位置した四角形状の開口部または裏面部に四角形状の凹部を設けるとともに表面部または/および裏面部に出射部を中心として平行に出射部方向に向く傾斜部を有した凹形状を設けたので、外部からの光を導光体の表面部で入射し表面部の傾斜部で全反射や屈折等をして四方向(180°の範囲で四方向)から中心方向に出射することができる。
さらに、請求項3に係る導光体は、凹部が、裏面部で円形または四角形を成し、裏面部方向に傾きを有した傾斜面を設けたことを特徴とする。
請求項3に係る導光体は、凹部が、裏面部で円形または四角形を成し、裏面部方向に傾きを有した傾斜面を設けたので、斜め裏面部方向から凹部の中心方向に光を出射することができる。
また、請求項4に係る導光体は、出射部から遠ざかるに従って厚さが厚くなるまたは出射部に近づくに従って厚さが厚くなるあるいは厚さが一定であることを特徴とする。
請求項4に係る導光体は、出射部から遠ざかるに従って厚さが厚くなるまたは出射部に近づくに従って厚さが厚くなるあるいは厚さが一定であるので、表面部から導光体内に入射した光によって導光体の形状を選択する事ができる。
さらに、請求項5に係る導光体は、表面部および裏面部に対して球および楕円球の一部ならびに三角錐、円錐、四角錐、三角柱、四角柱、円柱等から成る形状を垂直にまたは三角形、四角柱、半円柱等から成る形状を水平にランダムおよび直線状や曲線状ならびに任意の分布で光偏向素子を設けることを特徴とする。
請求項5に係る導光体は、表面部および裏面部に対して球および楕円球の一部ならびに三角錐、円錐、四角錐、三角柱、四角柱、円柱等から成る形状を垂直にまたは三角形、四角柱、半円柱等から成る形状を水平にランダムおよび直線状や曲線状ならびに任意の分布で光偏向素子を設けるので、光を屈折させて内部に導き出射したり、一度光を屈折してから全反射して再度導光体に戻すことができる。
また、請求項6に係る導光体は、表面部または出射部は、外部からの光に対して任意の波長に変換する波長変換部を設けることを特徴とする。
請求項6に係る導光体は、表面部または出射部は、外部からの光に対して任意の波長に変換する波長変換部を設けるので、光電変換素子の種類に係わらず波長感度の効率の良い波長に変換することができるとともに外光を光電変換素子による波長変換特性にシフトさせることができる。
さらに、請求項7に係る光電変換器は、リードフレームや基板上の載置面に光電変換素子が載置され、載置面に略並行に放射状に入射するように光電変換素子の対向する位置に設けた面で全反射を行い、光電変換素子の載置面の対向方向から入射する光を光電変換素子で受光することを特徴とする。
請求項7に係る光電変換器は、リードフレームや基板上の載置面に光電変換素子が載置され、載置面に略並行に放射状に入射するように光電変換素子の対向する位置に設けた面で全反射を行い、光電変換素子の載置面の対向方向から入射する光を光電変換素子で受光するので、略平行な放射状の円周方向からの輝度が高い光を受光することができる。
また、請求項8に係る光電変換器は、モールド部の全体が円柱形状にモールドで成し、光電変換素子に対向する位置が逆向きの円錐形状に切除した形状とすることを特徴とする。
請求項8に係る光電変換器は、モールド部の全体が円柱形状にモールドで成し、光電変換素子に対向する位置が逆向きの円錐形状に切除した形状とするので、円周方向(360°の範囲)から入射した光を円錐面で全反射をして光電変換素子に大部分入射することができる。
さらに、請求項9に係る光電変換器は、モールド部の全体が円柱形状にモールドで成し、光電変換素子に対向する上部位置が円柱形状よりも外側に放射状の曲面を有した漏斗形状であるとともに上部位置が逆向きの円錐形状に切除した形状であることを特徴とする。
請求項9に係る光電変換器は、モールド部の全体が円柱形状にモールドで成し、光電変換素子に対向する上部位置が円柱形状よりも外側に放射状の曲面を有した漏斗形状であるとともに上部位置が逆向きの円錐形状に切除した形状であるので、漏斗形状の先端部から円周方向(360°の範囲)から入射した光を円錐形状の面と放射状の曲面とで全反射を繰り返し、光電変換素子に光の大部分を入射することができる。
また、請求項10に係る光電変換器は、モールド部の全体が光電変換素子の側面に対応した四角柱形状にモールドで成し、光電変換素子に対向する位置が逆向きの四角錐形状に切除し、四角柱の側面と四角柱の底辺とが接続する形状とすることを特徴とする。
請求項10に係る光電変換器は、モールド部の全体が光電変換素子の側面に対応した四角柱形状にモールドで成し、光電変換素子に対向する位置が逆向きの四角錐形状に切除し、四角柱の側面と四角柱の底辺とが接続する形状とするので、四方向(180°の範囲で四方向)から入射した光を四角錐面で全反射し、光電変換素子に光の大部分を入射することができる。
さらに、請求項11に係る光電変換器は、光電変換素子の受光面を円錐形状または四角錐形状に形成し、略上方放射方向から入射する光を光電変換素子で受光することを特徴とする。
請求項11に係る光電変換器は、光電変換素子の受光面を円錐形状または四角錐形状に形成し、略上方放射方向から入射する光を光電変換素子で受光するので、上方および斜め上方からの光を完全に受光することができる。
また、請求項12に係る光電変換器は、モールドの外側に光に対して任意の波長に変換する波長変換部を設けるか、またはモールドに光に対して任意の波長に変換する波長変換材を混入することを特徴とする。
請求項12に係る光電変換器は、モールドの外側に光に対して任意の波長に変換する波長変換部を設けるか、またはモールドに光に対して任意の波長に変換する波長変換材を混入するので、外部からの光に対して光電変換素子の種類に係わらず波長感度の効率の良い波長に変換することができるとともに外光を光電変換素子による波長変換特性にシフトさせることができる。
さらに、請求項13に係る平面光電変換装置は、光電変換素子または光電変換素子を有する光電変換器と、
光電変換素子または光電変換器を挿入する開口部または裏面部に凹部を設けるとともに出射部から遠ざかるに従って厚さが厚くなるまたは出射部に近づくに従って厚さが厚くなるあるいは厚さが一定であり、表面部または/および裏面部に光偏向素子を設けた導光体と、
入射部と出射面部以外の光を反射する反射体とを備え、
導光体の表面部から入射した光線を傾斜部で全反射または/および屈折して開口部または裏面部の凹部に位置する出射部に光電変換素子または光電変換器を挿入し、出射部に出射した光線を光電変換素子または光電変換器で受光することを特徴とする。
光電変換素子または光電変換器を挿入する開口部または裏面部に凹部を設けるとともに出射部から遠ざかるに従って厚さが厚くなるまたは出射部に近づくに従って厚さが厚くなるあるいは厚さが一定であり、表面部または/および裏面部に光偏向素子を設けた導光体と、
入射部と出射面部以外の光を反射する反射体とを備え、
導光体の表面部から入射した光線を傾斜部で全反射または/および屈折して開口部または裏面部の凹部に位置する出射部に光電変換素子または光電変換器を挿入し、出射部に出射した光線を光電変換素子または光電変換器で受光することを特徴とする。
請求項13に係る平面光電変換装置は、光電変換素子または光電変換素子を有する光電変換器と、
光電変換素子または光電変換器を挿入する開口部または裏面部に凹部を設けるとともに出射部から遠ざかるに従って厚さが厚くなるまたは出射部に近づくに従って厚さが厚くなるあるいは厚さが一定であり、表面部または/および裏面部に光偏向素子を設けた導光体と、
入射部と出射面部以外の光を反射する反射体とを備え、
導光体の表面部から入射した光線を傾斜部で全反射または/および屈折して開口部または裏面部の凹部に位置する出射部に光電変換素子または光電変換器を挿入し、出射部に出射した光線を光電変換素子または光電変換器で受光するので、導光体の表面部からどの位置でも入射光を効率良く導き、導光体の出射部から光を出射でき、広い範囲からの外光を光電変換素子や光電変換器に導くことによって高出力の電気(電荷)を発生することができる。
光電変換素子または光電変換器を挿入する開口部または裏面部に凹部を設けるとともに出射部から遠ざかるに従って厚さが厚くなるまたは出射部に近づくに従って厚さが厚くなるあるいは厚さが一定であり、表面部または/および裏面部に光偏向素子を設けた導光体と、
入射部と出射面部以外の光を反射する反射体とを備え、
導光体の表面部から入射した光線を傾斜部で全反射または/および屈折して開口部または裏面部の凹部に位置する出射部に光電変換素子または光電変換器を挿入し、出射部に出射した光線を光電変換素子または光電変換器で受光するので、導光体の表面部からどの位置でも入射光を効率良く導き、導光体の出射部から光を出射でき、広い範囲からの外光を光電変換素子や光電変換器に導くことによって高出力の電気(電荷)を発生することができる。
またさらに、請求項14に係る平面光電変換装置は、光電変換素子または光電変換素子を有する光電変換器と、
光電変換素子または光電変換器を挿入する開口部または裏面部に凹部を設けるとともに出射部から遠ざかるに従って厚さが厚くなるまたは出射部に近づくに従って厚さが厚くなるあるいは厚さが一定であり、表面部または/および裏面部に光偏向素子を設けた導光体と、
入射部と出射面部以外の光を反射する反射体とを備え、
導光体の表面部から入射した光線を傾斜部で全反射または/および屈折して開口部または裏面部の凹部に位置する出射部に光電変換素子または光電変換器を挿入し、出射部に出射した光線を光電変換素子または光電変換器で受光することを特徴とする。
光電変換素子または光電変換器を挿入する開口部または裏面部に凹部を設けるとともに出射部から遠ざかるに従って厚さが厚くなるまたは出射部に近づくに従って厚さが厚くなるあるいは厚さが一定であり、表面部または/および裏面部に光偏向素子を設けた導光体と、
入射部と出射面部以外の光を反射する反射体とを備え、
導光体の表面部から入射した光線を傾斜部で全反射または/および屈折して開口部または裏面部の凹部に位置する出射部に光電変換素子または光電変換器を挿入し、出射部に出射した光線を光電変換素子または光電変換器で受光することを特徴とする。
請求項14に係る平面光電変換装置は、光電変換素子または光電変換素子を有する光電変換器と、
光電変換素子または光電変換器を挿入する開口部または裏面部に凹部を設けるとともに出射部から遠ざかるに従って厚さが厚くなるまたは出射部に近づくに従って厚さが厚くなるあるいは厚さが一定であり、表面部または/および裏面部に光偏向素子を設けた導光体と、
入射部と出射面部以外の光を反射する反射体とを備え、
導光体の表面部から入射した光線を傾斜部で全反射または/および屈折して開口部または裏面部の凹部に位置する出射部に光電変換素子または光電変換器を挿入し、出射部に出射した光線を光電変換素子または光電変換器で受光するので、表面部から導光体内に入射した光によって導光体の形状を選択する事ができ、広い範囲からの外光を光電変換素子や光電変換器に導くことによって高出力の電気(電荷)を発生することができる。
光電変換素子または光電変換器を挿入する開口部または裏面部に凹部を設けるとともに出射部から遠ざかるに従って厚さが厚くなるまたは出射部に近づくに従って厚さが厚くなるあるいは厚さが一定であり、表面部または/および裏面部に光偏向素子を設けた導光体と、
入射部と出射面部以外の光を反射する反射体とを備え、
導光体の表面部から入射した光線を傾斜部で全反射または/および屈折して開口部または裏面部の凹部に位置する出射部に光電変換素子または光電変換器を挿入し、出射部に出射した光線を光電変換素子または光電変換器で受光するので、表面部から導光体内に入射した光によって導光体の形状を選択する事ができ、広い範囲からの外光を光電変換素子や光電変換器に導くことによって高出力の電気(電荷)を発生することができる。
また、請求項15に係る平面光電変換装置は、光電変換素子または光電変換素子を有する光電変換器と、
外部からの光を出射する出射部を中心に位置し、光電変換素子または光電変換器を挿入する開口部を設け、表面部または/および裏面部に光偏向素子を設けるとともに出射部から遠ざかるに従って厚さが厚くなる導光体と、
外部からの光を出射する出射部が中心に位置し、光電変換素子または光電変換器を挿入する凹部を裏面部に設け、表面部または/および裏面部に光偏向素子を設けるとともに出射部に近づくに従って厚さが厚くなる導光体と、
光を反射する反射体とを備え、
出射部から遠ざかるに従って厚さが厚くなる導光体と出射部に近づくに従って厚さが厚くなる導光体とを互いに傾斜する面を向かい合わせにし、光電変換素子または光電変換器を各々の導光体の開口部および裏面部の凹部に挿入し、最終裏面部と出射部以外の側面部とを反射体で覆い、出射部に近づくに従って厚さが厚くなる導光体の表面部から外部からの光を導き、光偏向素子により導光体内に進んだ光を出射部から出射するとともに裏面部から漏れた光を出射部から遠ざかるに従って厚さが厚くなる導光体内に導き光偏向素子により導光体内に進んだ光を出射部から出射することもに裏面部から漏れた光を反射体によって反射した光を再度導光体内に戻し、出射部から出射光を得ることを特徴とする。
外部からの光を出射する出射部を中心に位置し、光電変換素子または光電変換器を挿入する開口部を設け、表面部または/および裏面部に光偏向素子を設けるとともに出射部から遠ざかるに従って厚さが厚くなる導光体と、
外部からの光を出射する出射部が中心に位置し、光電変換素子または光電変換器を挿入する凹部を裏面部に設け、表面部または/および裏面部に光偏向素子を設けるとともに出射部に近づくに従って厚さが厚くなる導光体と、
光を反射する反射体とを備え、
出射部から遠ざかるに従って厚さが厚くなる導光体と出射部に近づくに従って厚さが厚くなる導光体とを互いに傾斜する面を向かい合わせにし、光電変換素子または光電変換器を各々の導光体の開口部および裏面部の凹部に挿入し、最終裏面部と出射部以外の側面部とを反射体で覆い、出射部に近づくに従って厚さが厚くなる導光体の表面部から外部からの光を導き、光偏向素子により導光体内に進んだ光を出射部から出射するとともに裏面部から漏れた光を出射部から遠ざかるに従って厚さが厚くなる導光体内に導き光偏向素子により導光体内に進んだ光を出射部から出射することもに裏面部から漏れた光を反射体によって反射した光を再度導光体内に戻し、出射部から出射光を得ることを特徴とする。
請求項15に係る平面光電変換装置は、光電変換素子または光電変換素子を有する光電変換器と、
外部からの光を出射する出射部を中心に位置し、光電変換素子または光電変換器を挿入する開口部を設け、表面部または/および裏面部に光偏向素子を設けるとともに出射部から遠ざかるに従って厚さが厚くなる導光体と、
外部からの光を出射する出射部が中心に位置し、光電変換素子または光電変換器を挿入する凹部を裏面部に設け、表面部または/および裏面部に光偏向素子を設けるとともに出射部に近づくに従って厚さが厚くなる導光体と、
光を反射する反射体とを備え、
出射部から遠ざかるに従って厚さが厚くなる導光体と出射部に近づくに従って厚さが厚くなる導光体とを互いに傾斜する面を向かい合わせにし、光電変換素子または光電変換器を各々の導光体の開口部および裏面部の凹部に挿入し、最終裏面部と出射部以外の側面部とを反射体で覆い、出射部に近づくに従って厚さが厚くなる導光体の表面部から外部からの光を導き、光偏向素子により導光体内に進んだ光を出射部から出射するとともに裏面部から漏れた光を出射部から遠ざかるに従って厚さが厚くなる導光体内に導き光偏向素子により導光体内に進んだ光を出射部から出射することもに裏面部から漏れた光を反射体によって反射した光を再度導光体内に戻し、出射部から出射光を得るので、互いに異なる導光体を用いることによって広範囲の光を得ることができるとともに多くの出射光を出射することができ、広い範囲からの外光を光電変換素子や光電変換器に導き、最上部の導光体から漏れた光も下方の導光体に導き、無駄なく高出力の電気(電荷)を発生することができる。
外部からの光を出射する出射部を中心に位置し、光電変換素子または光電変換器を挿入する開口部を設け、表面部または/および裏面部に光偏向素子を設けるとともに出射部から遠ざかるに従って厚さが厚くなる導光体と、
外部からの光を出射する出射部が中心に位置し、光電変換素子または光電変換器を挿入する凹部を裏面部に設け、表面部または/および裏面部に光偏向素子を設けるとともに出射部に近づくに従って厚さが厚くなる導光体と、
光を反射する反射体とを備え、
出射部から遠ざかるに従って厚さが厚くなる導光体と出射部に近づくに従って厚さが厚くなる導光体とを互いに傾斜する面を向かい合わせにし、光電変換素子または光電変換器を各々の導光体の開口部および裏面部の凹部に挿入し、最終裏面部と出射部以外の側面部とを反射体で覆い、出射部に近づくに従って厚さが厚くなる導光体の表面部から外部からの光を導き、光偏向素子により導光体内に進んだ光を出射部から出射するとともに裏面部から漏れた光を出射部から遠ざかるに従って厚さが厚くなる導光体内に導き光偏向素子により導光体内に進んだ光を出射部から出射することもに裏面部から漏れた光を反射体によって反射した光を再度導光体内に戻し、出射部から出射光を得るので、互いに異なる導光体を用いることによって広範囲の光を得ることができるとともに多くの出射光を出射することができ、広い範囲からの外光を光電変換素子や光電変換器に導き、最上部の導光体から漏れた光も下方の導光体に導き、無駄なく高出力の電気(電荷)を発生することができる。
またさらに、請求項16に係る平面光電変換装置は、光電変換素子または光電変換素子を有する光電変換器と、
光電変換素子または光電変換器を挿入する開口部または裏面部に凹部を設けるとともに表面部または/および裏面部に出射部を中心として出射部方向に向く傾斜部を有した凹形状を設けた導光体と、
外部からの光に対して任意の波長に変換する波長変換部または波長変換材とを備え、
導光体の表面部から入射した光線を傾斜部で全反射または/および屈折して開口部または裏面部の凹部に位置する出射部に光電変換素子または光電変換器を挿入し、出射部に出射した光線が波長変換部または波長変換材によって、任意の波長に変換した光を光電変換素子または光電変換器で受光することを特徴とする。
光電変換素子または光電変換器を挿入する開口部または裏面部に凹部を設けるとともに表面部または/および裏面部に出射部を中心として出射部方向に向く傾斜部を有した凹形状を設けた導光体と、
外部からの光に対して任意の波長に変換する波長変換部または波長変換材とを備え、
導光体の表面部から入射した光線を傾斜部で全反射または/および屈折して開口部または裏面部の凹部に位置する出射部に光電変換素子または光電変換器を挿入し、出射部に出射した光線が波長変換部または波長変換材によって、任意の波長に変換した光を光電変換素子または光電変換器で受光することを特徴とする。
請求項16に係る平面光電変換装置は、光電変換素子または光電変換素子を有する光電変換器と、
光電変換素子または光電変換器を挿入する開口部または裏面部に凹部を設けるとともに表面部または/および裏面部に出射部を中心として出射部方向に向く傾斜部を有した凹形状を設けた導光体と、
外部からの光に対して任意の波長に変換する波長変換部または波長変換材とを備え、
導光体の表面部から入射した光線を傾斜部で全反射または/および屈折して開口部または裏面部の凹部に位置する出射部に光電変換素子または光電変換器を挿入し、出射部に出射した光線が波長変換部または波長変換材によって、任意の波長に変換した光を光電変換素子または光電変換器で受光するので、導光体の表面部からどの位置でも入射光を効率良く導き、導光体の出射部から光を出射でき、広い範囲からの外光を光電変換素子や光電変換器に導くことによって高出力の電気(電荷)を発生することができ、外部からの光に対して光電変換素子の種類に係わらず波長感度の効率の良い波長に変換することができるとともに外光を光電変換素子による波長変換特性にシフトさせることができる。
光電変換素子または光電変換器を挿入する開口部または裏面部に凹部を設けるとともに表面部または/および裏面部に出射部を中心として出射部方向に向く傾斜部を有した凹形状を設けた導光体と、
外部からの光に対して任意の波長に変換する波長変換部または波長変換材とを備え、
導光体の表面部から入射した光線を傾斜部で全反射または/および屈折して開口部または裏面部の凹部に位置する出射部に光電変換素子または光電変換器を挿入し、出射部に出射した光線が波長変換部または波長変換材によって、任意の波長に変換した光を光電変換素子または光電変換器で受光するので、導光体の表面部からどの位置でも入射光を効率良く導き、導光体の出射部から光を出射でき、広い範囲からの外光を光電変換素子や光電変換器に導くことによって高出力の電気(電荷)を発生することができ、外部からの光に対して光電変換素子の種類に係わらず波長感度の効率の良い波長に変換することができるとともに外光を光電変換素子による波長変換特性にシフトさせることができる。
以上のように、請求項1に係る導光体は、出射部として、導光体の中心に位置した開口部または裏面部に凹部を設けるとともに表面部または/および裏面部に出射部を中心として放射状に同心円上に出射部方向に向く傾斜部を有した凹形状を設けたので、外部からの光を導光体の表面部で入射し表面部の傾斜部で全反射や屈折等をして円周方向(360°の範囲)放射状から中心方向に出射することができる。これにより、高輝度な入射光を得ることができる。
請求項2に係る導光体は、出射部として、導光体の中心に位置した四角形状の開口部または裏面部に四角形状の凹部を設けるとともに表面部または/および裏面部に出射部を中心として平行に出射部方向に向く傾斜部を有した凹形状を設けたので、外部からの光を導光体の表面部で入射し表面部の傾斜部で全反射や屈折等をして四方向(180°の範囲で四方向)から中心方向に出射することができる。これにより、目的とする出射方向に対応した出射光を得ることができる。
請求項3に係る導光体は、凹部が、裏面部で円形または四角形を成し、裏面部方向に傾きを有した傾斜面を設けたので、斜め裏面部方向から凹部の中心方向に光を出射することができる。そのために、凹部の中心方向を目的とする出射方向に出射することができる。
請求項4に係る導光体は、出射部から遠ざかるに従って厚さが厚くなるまたは出射部に近づくに従って厚さが厚くなるあるいは厚さが一定であるので、表面部から導光体内に入射した光によって導光体の形状を選択する事ができる。そのため、大きさや光の入射角度に対応することができる。
請求項5に係る導光体は、表面部および裏面部に対して球および楕円球の一部ならびに三角錐、円錐、四角錐、三角柱、四角柱、円柱等から成る形状を垂直にまたは三角形、四角柱、半円柱等から成る形状を水平にランダムおよび直線状や曲線状ならびに任意の分布で光偏向素子を設けるので、光を屈折させて内部に導き出射したり、一度光を屈折してから全反射して再度導光体に戻すことができる。これにより、光を出射部方向の目的通りに制御することができる。
請求項6に係る導光体は、表面部または出射部は、外部からの光に対して任意の波長に変換する波長変換部を設けるので、光電変換素子の種類に係わらず波長感度の効率の良い波長に変換することができるとともに外光を光電変換素子による波長変換特性にシフトさせることができる。
そのため、あらゆる光電変換素子に対応することができる。
また、光電変換素子の波長変換特性に合う波長の他の波長も利用することができて、より光電変換出力を上げることができる。
そのため、あらゆる光電変換素子に対応することができる。
また、光電変換素子の波長変換特性に合う波長の他の波長も利用することができて、より光電変換出力を上げることができる。
請求項7に係る光電変換器は、リードフレームや基板上の載置面に光電変換素子が載置され、載置面に略並行に放射状に入射するように光電変換素子の対向する位置に設けた面で全反射を行い、光電変換素子の載置面の対向方向から入射する光を光電変換素子で受光するので、略平行な放射状の円周方向からの輝度が高い光を受光することができる。これにより、広い範囲からの光を受光することができる。
請求項8に係る光電変換器は、モールド部の全体が円柱形状にモールドで成し、光電変換素子に対向する位置が逆向きの円錐形状に切除した形状とするので、円周方向(360°の範囲)から入射した光を円錐面で全反射をして光電変換素子に大部分入射することができる。これにより、光エネルギの大部分を偏向することができる。
請求項9に係る光電変換器は、モールド部の全体が円柱形状にモールドで成し、光電変換素子に対向する上部位置が円柱形状よりも外側に放射状の曲面を有した漏斗形状であるとともに上部位置が逆向きの円錐形状に切除した形状であるので、漏斗形状の先端部から円周方向(360°の範囲)から入射した光を円錐形状の面と放射状の曲面とで全反射を繰り返し、光電変換素子に光の大部分を入射することができる。これにより、円周方向からの光エネルギの大部分を偏向することができる。
請求項10に係る光電変換器は、モールド部の全体が光電変換素子の側面に対応した四角柱形状にモールドで成し、光電変換素子に対向する位置が逆向きの四角錐形状に切除し、四角柱の側面と四角柱の底辺とが接続する形状とするので、四方向(180°の範囲で四方向)から入射した光を四角錐面で全反射し、光電変換素子に光の大部分を入射することができる。これにより、四方向からの光エネルギの大部分を偏向することができる。
請求項11に係る平面光電変換装置は、光電変換素子の受光面を円錐形状または四角錐形状に形成し、略上方放射方向から入射する光を光電変換素子で受光するので、上方および斜め上方からの光を完全に受光することができる。そのため、光を効率良く変換することができる。
請求項12に係る光電変換器は、モールドの外側に光に対して任意の波長に変換する波長変換部を設けるか、またはモールドに光に対して任意の波長に変換する波長変換材を混入するので、外部からの光に対して光電変換素子の種類に係わらず波長感度の効率の良い波長に変換することができるとともに外光を光電変換素子による波長変換特性にシフトさせることができる。
そのため、あらゆる光電変換素子に対応することができる。
また、光電変換素子の波長変換特性に合う波長の他の波長も利用することができて、より光電変換出力を上げることができる。
そのため、あらゆる光電変換素子に対応することができる。
また、光電変換素子の波長変換特性に合う波長の他の波長も利用することができて、より光電変換出力を上げることができる。
請求項13に係る平面光電変換装置は、光電変換素子または光電変換素子を有する光電変換器と、
光電変換素子または光電変換器を挿入する開口部または裏面部に凹部を設けるとともに表面部または/および裏面部に出射部を中心として出射部方向に向く傾斜部を有した凹形状を設けた導光体とを備え、
導光体の表面部から入射した光線を傾斜部で全反射または/および屈折して開口部または裏面部の凹部に位置する出射部に光電変換素子または光電変換器を挿入し、出射部に出射した光線を光電変換素子または光電変換器で受光するので、導光体の表面部からどの位置でも入射光を効率良く導き、導光体の出射部から光を出射でき、広い反致からの外光を光電変換素子や光電変換器に導くことによって高出力の電気(電荷)を発生することができる。このため、高輝度の出射光を得ることができ、高出力の平面光電変換装置を得ることができる。
光電変換素子または光電変換器を挿入する開口部または裏面部に凹部を設けるとともに表面部または/および裏面部に出射部を中心として出射部方向に向く傾斜部を有した凹形状を設けた導光体とを備え、
導光体の表面部から入射した光線を傾斜部で全反射または/および屈折して開口部または裏面部の凹部に位置する出射部に光電変換素子または光電変換器を挿入し、出射部に出射した光線を光電変換素子または光電変換器で受光するので、導光体の表面部からどの位置でも入射光を効率良く導き、導光体の出射部から光を出射でき、広い反致からの外光を光電変換素子や光電変換器に導くことによって高出力の電気(電荷)を発生することができる。このため、高輝度の出射光を得ることができ、高出力の平面光電変換装置を得ることができる。
請求項14に係る平面光電変換装置は、光電変換素子または光電変換素子を有する光電変換器と、
光電変換素子または光電変換器を挿入する開口部または裏面部に凹部を設けるとともに出射部から遠ざかるに従って厚さが厚くなるまたは出射部に近づくに従って厚さが厚くなるあるいは厚さが一定であり、表面部または/および裏面部に光偏向素子を設けた導光体と、
入射部と出射面部以外の光を反射する反射体とを備え、
導光体の表面部から入射した光線を傾斜部で全反射または/および屈折して開口部または裏面部の凹部に位置する出射部に光電変換素子または光電変換器を挿入し、出射部に出射した光線を光電変換素子または光電変換器で受光するので、表面部から導光体内に入射した光によって導光体の形状を選択する事ができ、光電変換素子や光電変換器に導くことによって高出力の電気(電荷)を発生することができる。そのため、大きさや光の入射角度に対応することができ、平面光電変換装置全体の形状や大きさに対応することができ、高出力の平面光電変換装置を得ることができる。
光電変換素子または光電変換器を挿入する開口部または裏面部に凹部を設けるとともに出射部から遠ざかるに従って厚さが厚くなるまたは出射部に近づくに従って厚さが厚くなるあるいは厚さが一定であり、表面部または/および裏面部に光偏向素子を設けた導光体と、
入射部と出射面部以外の光を反射する反射体とを備え、
導光体の表面部から入射した光線を傾斜部で全反射または/および屈折して開口部または裏面部の凹部に位置する出射部に光電変換素子または光電変換器を挿入し、出射部に出射した光線を光電変換素子または光電変換器で受光するので、表面部から導光体内に入射した光によって導光体の形状を選択する事ができ、光電変換素子や光電変換器に導くことによって高出力の電気(電荷)を発生することができる。そのため、大きさや光の入射角度に対応することができ、平面光電変換装置全体の形状や大きさに対応することができ、高出力の平面光電変換装置を得ることができる。
請求項15に係る平面光電変換装置は、光電変換素子または光電変換素子を有する光電変換器と、
外部からの光を出射する出射部を中心に位置し、光電変換素子または光電変換器を挿入する開口部を設け、表面部または/および裏面部に光偏向素子を設けるとともに出射部から遠ざかるに従って厚さが厚くなる導光体と、
外部からの光を出射する出射部が中心に位置し、光電変換素子または光電変換器を挿入する凹部を裏面部に設け、表面部または/および裏面部に光偏向素子を設けるとともに出射部に近づくに従って厚さが厚くなる導光体と、
光を反射する反射体とを備え、
出射部から遠ざかるに従って厚さが厚くなる導光体と出射部に近づくに従って厚さが厚くなる導光体とを互いに傾斜する面を向かい合わせにし、光電変換素子または光電変換器を各々の導光体の開口部および裏面部の凹部に挿入し、最終裏面部と出射部以外の側面部とを反射体で覆い、出射部に近づくに従って厚さが厚くなる導光体の表面部から外部からの光を導き、光偏向素子により導光体内に進んだ光を出射部から出射するとともに裏面部から漏れた光を出射部から遠ざかるに従って厚さが厚くなる導光体内に導き光偏向素子により導光体内に進んだ光を出射部から出射することもに裏面部から漏れた光を反射体によって反射した光を再度導光体内に戻し、出射部から出射光を得るので、互いに異なる導光体を用いることによって広範囲の光を得ることができるとともに多くの出射光を出射することができ、広い範囲からの外光を光電変換素子や光電変換器に導くことによって高出力の電気(電荷)を発生することができる。そのため、平面光電変換装置全体の形状や大きさに対応することができ、高出力の平面光電変換装置を得ることができる。
外部からの光を出射する出射部を中心に位置し、光電変換素子または光電変換器を挿入する開口部を設け、表面部または/および裏面部に光偏向素子を設けるとともに出射部から遠ざかるに従って厚さが厚くなる導光体と、
外部からの光を出射する出射部が中心に位置し、光電変換素子または光電変換器を挿入する凹部を裏面部に設け、表面部または/および裏面部に光偏向素子を設けるとともに出射部に近づくに従って厚さが厚くなる導光体と、
光を反射する反射体とを備え、
出射部から遠ざかるに従って厚さが厚くなる導光体と出射部に近づくに従って厚さが厚くなる導光体とを互いに傾斜する面を向かい合わせにし、光電変換素子または光電変換器を各々の導光体の開口部および裏面部の凹部に挿入し、最終裏面部と出射部以外の側面部とを反射体で覆い、出射部に近づくに従って厚さが厚くなる導光体の表面部から外部からの光を導き、光偏向素子により導光体内に進んだ光を出射部から出射するとともに裏面部から漏れた光を出射部から遠ざかるに従って厚さが厚くなる導光体内に導き光偏向素子により導光体内に進んだ光を出射部から出射することもに裏面部から漏れた光を反射体によって反射した光を再度導光体内に戻し、出射部から出射光を得るので、互いに異なる導光体を用いることによって広範囲の光を得ることができるとともに多くの出射光を出射することができ、広い範囲からの外光を光電変換素子や光電変換器に導くことによって高出力の電気(電荷)を発生することができる。そのため、平面光電変換装置全体の形状や大きさに対応することができ、高出力の平面光電変換装置を得ることができる。
請求項16に係る平面光電変換装置は、光電変換素子または光電変換素子を有する光電変換器と、
光電変換素子または光電変換器を挿入する開口部または裏面部に凹部を設けるとともに表面部または/および裏面部に出射部を中心として出射部方向に向く傾斜部を有した凹形状を設けた導光体と、
外部からの光に対して任意の波長に変換する波長変換部または波長変換材とを備え、
導光体の表面部から入射した光線を傾斜部で全反射または/および屈折して開口部または裏面部の凹部に位置する出射部に光電変換素子または光電変換器を挿入し、出射部に出射した光線が波長変換部または波長変換材によって、任意の波長に変換した光を光電変換素子または光電変換器で受光するので、導光体の表面部からどの位置でも入射光を効率良く導き、導光体の出射部から光を出射でき、広い範囲からの外光を光電変換素子や光電変換器に導くことによって高出力の電気(電荷)を発生することができ、外部からの光に対して光電変換素子の種類に係わらず波長感度の効率の良い波長に変換することができるとともに外光を光電変換素子による波長変換特性にシフトさせることができる。
そのため、全ての光電変換素子や光電変換器に対応することができるオールマイティの平面光電変換装置を得ることができる。
光電変換素子または光電変換器を挿入する開口部または裏面部に凹部を設けるとともに表面部または/および裏面部に出射部を中心として出射部方向に向く傾斜部を有した凹形状を設けた導光体と、
外部からの光に対して任意の波長に変換する波長変換部または波長変換材とを備え、
導光体の表面部から入射した光線を傾斜部で全反射または/および屈折して開口部または裏面部の凹部に位置する出射部に光電変換素子または光電変換器を挿入し、出射部に出射した光線が波長変換部または波長変換材によって、任意の波長に変換した光を光電変換素子または光電変換器で受光するので、導光体の表面部からどの位置でも入射光を効率良く導き、導光体の出射部から光を出射でき、広い範囲からの外光を光電変換素子や光電変換器に導くことによって高出力の電気(電荷)を発生することができ、外部からの光に対して光電変換素子の種類に係わらず波長感度の効率の良い波長に変換することができるとともに外光を光電変換素子による波長変換特性にシフトさせることができる。
そのため、全ての光電変換素子や光電変換器に対応することができるオールマイティの平面光電変換装置を得ることができる。
以下、本発明の実施の形態を添付図面に基づいて説明する。
なお、本発明は、外部からの光を導く表面部と、当該表面部の反対側に位置する裏面部と、光を出射する出射部とを有し、中心位置に設けた円形状や四角形状の開口部または裏面部に凹部の出射部を設けるとともに表面部や裏面部に出射部を中心として放射状に同心円上に出射部方向に向く傾斜部を有した凹形状を設けた導光体と、この出射部にリードフレームやセラミック基板、液晶ポリマー樹脂基板、ガラス布エポキシ樹脂基板等の基板や金属薄板からなる基板上の載置面に光電変換素子が載置され、載置面に略並行に放射状に光が入射して光電変換素子の対向する位置に設けた面で全反射を行うことが出来る様に光電変換素子の受光面を円錐形状に形成したり、全体が円柱形状や四角形状にモールドで成し、光電変換素子に対向する位置が逆向きの円錐形状や四角錐形状に切除した形状の光電変換器を挿入して成る平面光電変換装置であり、モールドの外側に波長変換部を設けたりモールドに波長変換材を混入し、外部からの光(0.26μ程度(紫外線)から2.4μmの幅の広い範囲の太陽光線)に対して光電変換素子の種類に係わらず波長感度の効率の良い波長に変換したり、波長変換特性にシフトさせることができる導光体および光電変換器ならびに平面光電変換装置を提供することにある。
なお、本発明は、外部からの光を導く表面部と、当該表面部の反対側に位置する裏面部と、光を出射する出射部とを有し、中心位置に設けた円形状や四角形状の開口部または裏面部に凹部の出射部を設けるとともに表面部や裏面部に出射部を中心として放射状に同心円上に出射部方向に向く傾斜部を有した凹形状を設けた導光体と、この出射部にリードフレームやセラミック基板、液晶ポリマー樹脂基板、ガラス布エポキシ樹脂基板等の基板や金属薄板からなる基板上の載置面に光電変換素子が載置され、載置面に略並行に放射状に光が入射して光電変換素子の対向する位置に設けた面で全反射を行うことが出来る様に光電変換素子の受光面を円錐形状に形成したり、全体が円柱形状や四角形状にモールドで成し、光電変換素子に対向する位置が逆向きの円錐形状や四角錐形状に切除した形状の光電変換器を挿入して成る平面光電変換装置であり、モールドの外側に波長変換部を設けたりモールドに波長変換材を混入し、外部からの光(0.26μ程度(紫外線)から2.4μmの幅の広い範囲の太陽光線)に対して光電変換素子の種類に係わらず波長感度の効率の良い波長に変換したり、波長変換特性にシフトさせることができる導光体および光電変換器ならびに平面光電変換装置を提供することにある。
図1は本発明に係る平面光電変換装置の概略構成を示す斜視図、図2乃至図6は本発明に係る光電変換器の各実施の形態を示す図、図7および図8は本発明に係る導光体の実施の形態を示す図、図9は本発明に係る導光体の凹形状における光の軌跡の概略図、図10は本発明に係る導光体の他の実施の形態を示す図、図11は本発明に係る平面光電変換装置の光の軌跡の概略図、図12は本発明に係る光電変換器の概略図、図13は本発明に係る平面光電変換装置の概略構成を示す図、図14は図13の平面光電変換装置における右半部の光の軌跡の概略図、図15は本発明に係る平面光電変換装置の概略構成を示す図、図16は図15の平面光電変換装置における右半部の光の軌跡の概略図である。なお、図1、図7、図8に於いて、凹形状は1本の細線で簡略的に表現している。
である。
である。
本例の平面光電変換装置1は、図1に示すように、円形の導光体3の中心に開口部21が設けられ、この開口部21に光電変換器への入射方向(垂直)を略並行な放射状の入射する光電変換器22(22A〜22E)が挿入されて概略構成される。図11に示すように、開口部21の周壁面は、光電変換器22へ光を導く出射部20を形成している。また、表面部31や裏面部32の中心に凹部21を形成しても良い。この場合、凹部21の周壁面が光電変換器22へ光線を導光体2内から導く出射部20となる。
また、図11(c)に示すように、導光体3(3A,3B)の表面部31の上部に波長変換材を用いた波長変換部37を設けて、外部からの光を任意の波長に変換し、導光体3の表面部31から(太陽光からの)全ての波長を任意の波長の光に効率良く導光体3(3A,3B)の出射部20から出射することができる。
さらに、光電変換器22の(モールド)の外側に波長変換材を用いた波長変換部37を設けて、導光体3(3A,3B)の出射部20から出射した広い範囲の光を任意の波長の光に効率良く変換し、光電変換素子2に導くことができる。
このように、外部からの光を効率良く任意の波長に変換して高出力の電気(電荷)を発生することができ、外部からの光に対して光電変換素子の種類に係わらず波長感度の効率の良い波長に変換することができる。
このように、外部からの光を効率良く任意の波長に変換して高出力の電気(電荷)を発生することができ、外部からの光に対して光電変換素子の種類に係わらず波長感度の効率の良い波長に変換することができる。
本例の平面光電変換装置1には、外部からの光を一方向に導き出射部20から出射する導光体3(3A,3B)と、導光体3の出射部20からの光を光電変換器22(22A〜22E)に導き、さらに光を電気(電荷)に変換する光電変換素子2等から構成され、効率を上昇するために波長変換材料を用いたり導光板3と光電変換器22との間に空隙を設けたりする構成からなる。
例えば図2乃至図6に示す構成の光電変換器22(22A〜22E)を採用している。図2(a)に示す光電変換器22は、シリコンの単結晶、多結晶、アモルファスや元素化合物単結晶(GaAs)や元素化合物多結晶(CdS,CdTe)等からなる光電変換素子2がリードフレーム23や基板23等の基台上の載置面に載置される。そして、光電変換素子2の光の入射面側全体が透明樹脂等による円柱形状のモールド24(24A〜24E)で覆われる。モールド24は、光電変換素子2に対向する位置が逆向きの円錐形状25に切除した形状に構成される。また、リードフレーム23や基板23等の基台には、光電変換素子2に駆動電源を供給するためのリード端子26が設けられる。
また、図2(b)に示す光電変換器22は、シリコンの単結晶、多結晶、アモルファスや元素化合物単結晶(GaAs)や元素化合物多結晶(CdS,CdTe)等からなる光電変換素子2aがリードフレーム23や基板23等の基台上の載置面の全体に載置される。そして、光電変換素子2aの光の入射面側全体が透明樹脂等による円柱形状のモールド24(24A〜24E)で覆われる。モールド24は、光電変換素子2aに対向する位置が導光体3の出射部20の厚さ(長さ)と同等になるような逆向きの円錐形状25cに切除した形状に構成される。また、基台をなすリードフレーム23や基板23等には、光電変換素子2aに駆動電源を供給するためのリード端子26が設けられる。
さらに、図2(b)の光電変換器22は、円柱形状のモールド24(24A〜24E)で覆われている外側に波長変換材を用いた波長変換部37を設けた構成である。
また、図2(c)に示す光電変換器22(22F)は、円柱形状のモールド24(24A〜24F)の透明樹脂に波長変換材37aを全体に混入させた構成である。
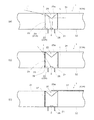
導光体3は、屈折率が1.4〜1.7程度の透明なアクリル樹脂(PMMA)やポリカーボネート(PC)等により形成される。図7(a),(b)に示す導光体3は、外形が円形状に形成されている。この導光体3の中心位置には、光電変換器22Aや22Bを挿入する円形の開口部21または裏面部32に円形の凹部21が設けられる。開口部21または凹部21の周壁面は、光電変換器22Aや22Bからの光を出射する円形状の出射部20を形成している。
また、導光体3には、表面部31や裏面部32に出射部(開口部21や凹部21)を中心として放射状に同心円上に出射部20(開口部21や凹部21)方向に向く傾斜部33を有した凹形状34(34A)が設けられている。
即ち、この傾斜部33を有した凹形状34Aは、出射部20(開口部21や凹部21)を中心に環状の凹形状34Aが同心に多重に導光体3の表面部31や裏面部32に設けた構造である。
なお、図7(a),(b)の例では、裏面部32のみに傾斜部33を有した凹形状34Aを設けている。
また、導光体3としては、図8(a),(b)に示す構成を採用しても良い。図8(a),(b)に示す導光体3は、外形が四角形状に形成される。この導光体3の中心位置には、光電変換器22Cを挿入する四角形状の開口部21または裏面部32に四角形状の凹部21が設けられる。開口部21または凹部21の周壁面は、光電変換器22Cからの光を出射する四角形状の出射部20を形成している。
また、導光体3には、表面部31や裏面部32に出射部(開口部21や凹部21)を中心として平行に出射部20(開口部21や凹部21)方向に向く傾斜部33を有した凹形状34(34B)が設けられている。
即ち、この傾斜部33を有した凹形状34Bは、出射部20(開口部21や凹部21)からの同距離に設けた出射部20(開口部21や凹部21)に平行な4つの凹部の端部が接続されたものであり、出射部20(開口部21や凹部21)を中心に四角の環状が同心に多重に導光体3の表面部31や裏面部32に設けた構造である。
なお、図8(a),(b)の例では、裏面部32のみに傾斜部33を有した凹形状34Bを設けている。また、凹形状34は、傾斜部(傾斜面)33が出射部20方向に向く形状であれば良い。例えば図9に示すように、断面形状が二等辺三角形の傾斜部33aや直角三角形の傾斜部33bを傾斜部33として採用することができる。
上記のように構成される導光体3は、図9に示すように、開口部21に備えた光電変換器22A〜22Eへ略平行な光線を出射部20に導く。そして、表面部31に対して斜めからの外部光線L2は導光体3の表面部31に設けた凹形状34(34A,34B)の出射部20方向に向く傾斜部33bで屈折し出射部(開口部)20に導き、出射部20から光線Lを出射する。
また、表面部31から直接導光体3内に導かれた外部からの光線L1は、導光体3の裏面部32に設けた凹形状34(34A,34B)の出射部20方向に向く傾斜部33aで全反射して出射部(開口部)20に導き、出射部20から光線Lを出射する。
尚、表面部31に対して斜めからの外部光源L2が導光体3の表面部31に設けた凹形状34(34A,34B)の入射部20方向に向く傾斜部33bで屈折し、導光体3の裏面部32に設けた凹形状34(34A,34B)の出射部20方向に向く傾斜部33aの反対側の傾斜部に進んだ場合には、傾斜部で全反射して出射部20(開口部)の反対側方向に導かれ導光体3の端部に達する。
また、同様に導光体3の裏面部32に設けた凹形状34(34A,34B)の出射部20方向に向く傾斜部33aの反対側の傾斜部に進んだ光の中で全反射しない光は、傾斜部で屈折し導光体3の外部に達する。
しかし、実際の平面光電変換装置1には反射体60を備えているために、これら出射部20(開口部)の反対側方向に導かれ導光体3の端部に達した光や傾斜部で屈折し導光体3の外部に達した光は反射体60によって、再度出射部20(開口部)方向に導かれ出射部20から光線Lを出射したり、再度裏面部32から導光体3の中に戻されて(反射体60に対して入射角と反射角が等しい場合には傾斜部33aを透過屈折して)出射部20(開口部)方向に進み最終的には出射部(開口部)から光線Lを出射する。
このように、導光体3は、出射部20方向に向く傾斜部33(33a,33b)によって外部からの光線L1やL2を傾斜部33で全反射や屈折等をして導光体3の表面部31の中心方向の出射部20へ進む。
なお、凹形状34の形状は、入射角を決定するような形状を選択すれば、表面部31から入射する入射光の目的等に合わせることが出来る。また、凹形状34は、出射部20方向に向く傾斜部33を有する形状ならどんな形状でも良い。
例えば図9に示すような断面形状が二等辺三角形や直角三角形の他、逆三角、矩形、円弧等で、連続な溝やドット等の形状およびサイズを自由に選択することができる。
さらに図10に示すように、導光体3は裏面部32の中心位置に光電変換素子2を挿入や配置する円形または四角形の出射部(開口部21や凹部21)を設けるとともに裏面部32方向に傾きを有した傾斜面20Cを設ける。
そして、受光面を円錐形状または四角錐形状に形成した光電変換素子2で導光体3の出射部20からの略上方放射方向から入射する光を光電変換素子2で受光することが出来るようにしたものである。
そして、受光面を円錐形状または四角錐形状に形成した光電変換素子2で導光体3の出射部20からの略上方放射方向から入射する光を光電変換素子2で受光することが出来るようにしたものである。
なお、光電変換素子2は、導光体3の出射部20(開口部21や凹部21)に対向するように裏面部32方向に傾きを有した傾斜面20Cと図12(a),(b)に示す傾斜面2dとが一致するように同じ傾斜角にし、受光面を円錐形状2bや四角錐形状2Cに形成し、上方や斜め上方からの光を完全に受光し、光を効率良く変換することができる。
また、ここでは図示しないが、平坦な光電変換素子2を導光体3の出射部(開口部21や凹部21)の真下に載置し、裏面部32方向に傾きを有した傾斜面20Cからの出射光を直接受光しても良い。
さらに、図2(b)に示す光電変換素子2aは、リードフレーム23や基板23等の基台上の載置面の全体の大きさに載置し、導光体3の出射部20(開口部21)の厚さ(長さ)と同等に対向するように円錐形状25cを大きくし、導光体3の厚さと円柱形状のモールド24(24A〜24E)の高さ(長さ)とが等しくなされている。
リードフレーム23は、導通性および弾力性のある燐青銅等の銅合金材等で構成される。図示しないが、リードフレーム23には、電気的接続をするための配線パターンやリード端子26等のパターンがパターンプレスによって形成される。そして、この薄板のリードフレーム23に対し、樹脂によりインサート成形が施され、モールド24が形成される。
基板23は、電気絶縁性に優れたセラミック、液晶ポリマー樹脂、ガラス布エポキシ樹脂等で構成される。図示しないが、基板23の表面には、電気的接続をするための配線パターンが形成される。
さらに説明すると、セラミックからなる基板23は、AlOやSiOを主成分とし、さらにZrO,TiO,TiC,SiCおよびSiN等との化合物からなり、耐熱性や硬度、強度に優れ、白色系の表面を持ち、光電変換素子2へ反射光を効率良く反射する。
また、液晶ポリマー樹脂やガラス布エピキシ樹脂からなる基板23は、液晶ポリマーやガラス布エポキシ樹脂などの絶縁性の有る材料に、チタン酸バリウム等の白色粉体を混入または塗布させて成形し、光電変換素子2へ光を効率良く反射する。
なお、基板23としては、珪素樹脂、紙エポキシ樹脂、合成繊維布エポキシ樹脂および紙フェノール樹脂等の積層板や変成ポリイミド、ポリブチレンテレフタレート、ポリカーボネートや芳香族ポリエステル等からなる板にパターン印刷を施して光電変換素子2へ光を効率よく反射する構成としてもよい。
また、図示しないパターンは、セラミック基板、液晶ポリマー樹脂基板、ガラス布エポキシ樹脂基板のいずれかの基板23上に真空蒸着スパッタリング、イオンプレーティング、CVD(化学蒸着)、エッチング(ウエット、ドライ)等により電気的接続をするパターン形状に形成される。そして、パターンの上に金属メッキを施した後、さらに金や銀等の貴金属メッキを施し、リード端子26に電気的に接続される。
光電変換素子2は、シリコンの単結晶、多結晶、微結晶、薄膜、HIT、アモルファスや元素化合物単結晶や元素化合物多結晶や色素増感等から成り、多結晶シリコンとしては、リボン多結晶、キャスティング多結晶、薄膜多結晶などがあり、微結晶(マイクロクリスタル)はシリコンの他に炭化シリコンもある。アモルファスシリコンの他に太陽電池用としては水素をアモルファスシリコンのダングリングボンドに結合させてpn接合ができるようにしたSi:Hや水素の代わりにF(フッ素)を結合させたSi:F,SiC,SiGe,SiNなどがある。
また、元素化合物単結晶ではGaAsがあり、元素化合物多結晶ではCdS,CdTeがある。
さらに、CIG系薄膜、有機薄膜、CIS系薄膜、裏面接合型、多接合型等がある。
また、元素化合物単結晶ではGaAsがあり、元素化合物多結晶ではCdS,CdTeがある。
さらに、CIG系薄膜、有機薄膜、CIS系薄膜、裏面接合型、多接合型等がある。
さらに、光電変換素子2は、表面に取り付ける電極をIn2 O3 ,SnO2 ,ITO等からなる導電性透明電極等をスパッタリング、真空蒸着、化学蒸着等により生成させて製作する。
光電変換素子2は、図示しないが、光電変換素子2の電極と配線パターンとを金線等の導通線からなるボンディングワイヤでワイヤーボンディングされ、電気的に接続される。
モールド24(24A〜24E)は、透明性の良い材料、例えば無色透明なエポキシ樹脂やシリコーン樹脂等で形成される。図2に示す光電変換器22Aのモールド24Aは、全体が円柱形状をなし、光電変換素子2の対向する位置が逆向きの円錐形状25に切除した形状に構成される。
そして、モールド24Aの円錐形状25の面25a(リードフレーム23や基板23に光電変換素子2を載置した面に対向する面25a)で外部(導光体3)から光電変換素子2の載置面に略並行な放射状に360度の範囲からの光を全反射して光電変換素子2へ入射する。
さらに、光電変換器22は、図2(b)や図11(c)に示すように、円柱形状のモールド24(24A〜24E)で覆われている外側に波長変換材を用いた波長変換部37を設けて光電変換器22に導いた光に対して光電変換素子の種類に係わらず波長感度の効率の良い波長に変換したり波長変換特性にシフトさせることができる。
また、図2(c)に示す光電変換器22(22F)は、円柱形状のモールド24(24A〜24F)の透明樹脂に波長変換材37aを全体に混入させて光電変換器22に導いた光に対して光電変換素子の種類に係わらず波長感度の効率の良い波長に変換したり波長変換特性にシフトさせることができる。
図3(a),(b)に示す光電変換器22Bのモールド24Bは、下部が円柱形状をなし、光電変換素子2の対向する上部位置が円柱形状よりも外側に放射状の曲面27aを有した漏斗形状27をなしており、上部位置が逆向きの円錐形状25に切除した形状に構成される。
そして、図3(a),(b)に示した光電変換器22Bのモールド24Bは、漏斗形状27の先端27bの水平に円周方向に360°の範囲の外部からの光線を円錐形状25の円錐面25aと放射状の曲面27aとで全反射を繰り返して光電変換素子2へ導き光電変換素子2に入射する。
図4に示す光電変換器22Cは、リードフレーム23や基板23上に載置した矩形状の光電変換素子2に対応させてモールド24Cが形成される。さらに説明すると、このモールド24Cは、全体が光電変換素子2の側面に対応した四角柱形状をなし、光電変換素子2に対向する位置が逆向きの四角錐形状28に切除され、四角柱の側面と四角錐の底辺とが四角柱の上部4辺28bで接続する形状に構成される。
そして、モールド24Cの四角錐形状28の面28a(リードフレーム23や基板23に光電変換素子2を載置した面)に略並行に180度の範囲で4方向からの外部の光を載置面に対向する面28aで光を全反射して、光電変換素子2は入射させる。
さらに、光電変換器22は、図2(b)や図11(c)に示すように、円柱形状のモールド24(24A〜24E)で覆われている外側に波長変換材を用いた波長変換部37を設けて光電変換器22に導いた光に対して光電変換素子の種類に係わらず波長感度の効率の良い波長に変換したり波長変換特性にシフトさせることができる。
さらに、光電変換器22は、図2(b)や図11(c)に示すように、円柱形状のモールド24(24A〜24E)で覆われている外側に波長変換材を用いた波長変換部37を設けて光電変換器22に導いた光に対して光電変換素子の種類に係わらず波長感度の効率の良い波長に変換したり波長変換特性にシフトさせることができる。
また、図2(c)に示すように、光電変換器22(22F)は、円柱形状のモールド24(24A〜24F)の透明樹脂に波長変換材37aを全体に混入させて光電変換器22に導いた光に対して光電変換素子の種類に係わらず波長感度の効率の良い波長に変換したり波長変換特性にシフトさせることができる。
さらに、図5および図6は、光電変換器22に於けるモールド24の変形例を示している。図5(a),(b)に示すモールド24Dは、全体が略円錐形状をなし、光電変換素子2の対向する位置が逆向きの円錐形状25に切除した形状に構成される。
この場合は、モールド24Dの全体が略円錐形状をしているので、モールド24Dのやや下方向に傾きを有した放射状に360°の範囲の光線を円錐形状25の面25aで全反射して、光電変換素子2に入射する。
同様に、図6(a),(b)に示すモールド24Eは、全体が円柱形状をなし、光電変換素子2の対向する位置が逆向きの内側に反った曲面25bを有した円錐形状25に切除した形状に構成される。
この場合は、円錐形状25の曲面25bで、やや下方向に傾きを有した放射状に360°の範囲の光線を全反射し光電変換素子2に入射する。
ところで、上述したモールド24(24A〜24E)は、全反射させる面(25a,25b,28a)に金等を蒸着したり、光の反射性の良いチタン酸バリウム等を塗布して反射面を形成し、効率良く反射させて光電変換素子2に光を導いても良い。
なお、モールド24(24A〜24E)は、透明なアクリルやポリカーボネート等で成形した物を無色透明なエポキシ樹脂等の接着剤で光電変換素子2を包囲するようにリードフレーム23や基板23に接着しても良い。
リード端子26は、導通性および弾力性のある燐青銅等の銅合金材等からなるリードフレーム23を直接取り出して形成される。また、基板23にリード端子26を設けて配線パターンと電気的に接続するように構成することもできる。
このように、光電変換器22A,22D,22Eは、円周方向からの光の大部分を円錐面25a,25bで全反射するので、光電変換素子2へ光を大部分入射することができる。
同様に光電変換器22Bは、漏斗形状27の先端部27bの円周方向からの光を円錐面25aと放射状の曲面27aとで全反射を繰り返して、光電変換素子2方向に進み光電変換素子2へ光の大部分を入射することができる。
さらに、光電変換器22Cは、外部の四方向からの光を四角錐面28aで全反射をして四方向から光電変換素子2方向に進み、光電変換素子2で光の大部分を入射することができる。
なお、平面発光装置1に利用する場合、これら光電変換器22(22A〜22E)の頂部には、平面全体が均一な入射光を必要とするために微量の光の漏れがあっても良い。
図12(a),(b)は、光電変換素子2を直接用いるものであって、光電変換素子2の受光面2dを円錐形状2bや四角錐形状2Cに形成し、略上方放射方向から入射する光を光電変換素子2で受光することができる。
また、光電変換素子2は導光体3の出射部(開口部21)に対向するように裏面部32方向に傾きを有した傾斜面20Cと一致する様に同じ傾斜角にした傾斜面2dを有した円錐形状2bおよび四角錐形状2Cである。
また、光電変換素子2は導光体3の出射部(開口部21)に対向するように裏面部32方向に傾きを有した傾斜面20Cと一致する様に同じ傾斜角にした傾斜面2dを有した円錐形状2bおよび四角錐形状2Cである。
波長変換材37aは、無機物質や有機物質からなる蛍光顔料や蛍光染料から成り、広い範囲の光を任意の特定の波長に変換する。例えば、大気中での波長は約0.26μm程度から2.4μm程度の範囲の光が存在しているが、実際の光電変換素子2では、例えばアモルファスシリコン系では0.6μmの波長で最大となり、単結晶シリコン系では0.85μmの波長で最大となるので、用いる光電変換素子2に対応する波長変換材37aを用いることによって光電変換素子2に適用するとともに光電変換素子による波長変換特性にシフトさせることができる。
尚、波長の短い光に対しては、一度による波長変換材37aにて変換するだけでなく、複数回異なる波長変換をさせるように複数の異なる波長変換材37aを用いても良い。
平面光電変換装置1は、図11に示すように、光電変換器22(22A,22B,22D,22Eの何れか)と、円形の導光体3Aとを備えて概略構成される。この場合の光電変換器22は、前述したように、リードフレーム23や基板23上の載置面に載置した光電変換素子2に略並行に180°の範囲で4方向からの外部からの光を載置面に対向する面25a,25bで全反射を行い、載置面に略並行な放射状からの光を入射するようにモールドしたものである。導光体3Aは、光電変換器22(22A,22B,22D,22Eの何れか)からの光を導く出射部20が中心に位置し、光電変換器22(22A,22B,22D,22Eの何れか)を挿入する開口部21または裏面部32に凹部21を有している。また、導光体3は、出射部20を中心として放射状に同心円上に出射部20方向に向く傾斜部33を有した凹形状34Aが表面部31や裏面部32に設けられている。
そして、上記構成による平面光電変換装置1では、光電変換器22(22A,22B,22D,22Eの何れか)へ円周方向からの放射状の外部光線L1を表面部31や裏面部32に設けた凹形状34の傾斜部33で全反射や屈折等をして導光体3の裏面部32に中心方向に設けた開口部21や凹部21に導き出射部20から光線Lを出射する。
よって、導光体3の外部からの光を表面部31から導き、光電変換素子2へ入射光Lを効率良く得ることができる。
また、図11(b)に示す平面光電変換装置1は、導光体3(3A,3B)の出射部20と光電変換器22との間に空隙38を設けて、導光体の表面部31へ斜めからの光が出射部20で空隙38によって屈折し、より傾斜した光となって光電変換器22のモールド24の外側から光電変換器22内に導くことができる。
また、平面光電変換装置1としては、別の構成も考えられる。この場合の光電変換器22Cは、前述したように、リードフレーム23や基板23上の載置面に載置した矩形状の光電変換素子2への光の入射方向に透明樹脂等で光電変換素子2の側面に対応した四角柱形状を成し、光電変換素子2に対向する位置が逆向きの四角錐形状28に切除し、四角柱の側面と四角錐の底辺とが接続する形状にモールドしたものである。
導光体3Bは、光電変換器22Cへ光を導く出射部20が中心に位置し、光電変換器22Cを挿入する四角形状の開口部21または裏面部32に四角形状の凹部21が設けられる。また、導光体3Bは、出射部20を中心として平行に出射部20方向に向く傾斜部33を有した凹形状34Bが表面部31や裏面部32に設けられる。
導光体3Bは、光電変換器22Cへ光を導く出射部20が中心に位置し、光電変換器22Cを挿入する四角形状の開口部21または裏面部32に四角形状の凹部21が設けられる。また、導光体3Bは、出射部20を中心として平行に出射部20方向に向く傾斜部33を有した凹形状34Bが表面部31や裏面部32に設けられる。
そして、上記構成による平面光電変換装置1の場合も同様に、外部からの光線L1,L2を凹形状34Bの傾斜部33で全反射や屈折等をして開口部21または裏面部32の凹部21に平行に入射した光線Lを光電変換器22Cへ入射する。
よって、外部からのどの位置からでも入射光L1,L2を効率良く導光体3の表面部31から入射でき、光電変換素子2へ効率良く入射することができる。
また、図11(b)に示すように、平面光電変換装置1は、導光体3(3A,3B)の出射部20と光電変換器22との間に空隙38を設けて、導光体3の表面部31へ斜めからの光が出射部20で空隙38によって屈折し、より傾斜した光となって光電変換器22のモールド24の外側から光電変換器22内に導くことができる。
また、ここでは図示しないが、平面光電変換装置1として、図10で説明した導光体3の裏面部32の中心位置に裏面部32方向に傾きを有した傾斜面20Cを設け、円形または四角形の出射部(開口部21)に図12に示した受光面を円錐形状または四角錐形状に形成した光電変換素子2を挿入し導光体3の出射部20からの略上方放射方向から入射する光を光電変換素子2で受光することができる。
この図12に示した光電変換素子2は、導光体3の出射部(開口部21)に対向するように裏面部32方向に傾きを有した傾斜面20Cと傾斜面2dが一致するように同じ傾斜角にし、受光面を円錐形状2bや四角錐形状2Cに形成し、上方や斜め上方からの光を完全に受光し、光を効率良く変換することができる。また、平らな光電変換素子2を導光体3の開口部21の真下に載置し導光体3の裏面部32方向に傾きを有した傾斜面20Cからの出射光を直接光電変換素子2で受光することができる。
なお、ここでは図示しないが、導光体3からの微小の漏れ光や、反射効率を良くするために導光体3の裏面部32の下側近傍に反射体を別途設けても良い。この場合の反射体は、熱可塑性樹脂に例えば酸化チタンのような白色材料を混入したシートや熱可塑性樹脂のシートにアルミニウム等の金属蒸着を施したり、金属箔を積層した物やシート状金属で構成される。
先に説明したように、導光体3の屈折率はn=1.49程度であるので、導光体3の入射部である表面部31で屈折する屈折角γはγ=0〜±42°程度の範囲内になる。また、屈折角γ=0〜±42°の範囲内で導光体3内に入射した光は、導光体3と空気層(屈折率n=1)との境界面で臨界角αがα=42°程度になる。したがって、導光体3に光線を偏向する凸や凹等がない場合や臨界角αを越えなければ、導光体内の光は表面部31や裏面部32で全て全反射しながら進むことになる。
図13は本発明に係る平面光電変換装置1の他の構成例を示している。図13に示す平面光電変換装置1は、上述した構成の光電変換器22と、光電変換器22へ光を導く出射部20bを中心に位置し、光電変換器22を挿入する挿入部としての開口部21または裏面部32に凹部21を設け、出射部20bから遠ざかるに従って厚さが厚くなる楔形状の導光体3と、光を反射する反射体60からなる。なお、光電変換器22が挿入される開口部21または裏面部32の凹部21は、使用される光電変換器22の外形に合わせた形状とされる。
ここで、入射部20bから遠ざかるに従って厚さが厚くなる楔形状の導光体3での光の軌跡について図14を参照しながら説明する。
表面部31の外部から入射した光LLは、屈折角γ=0〜±42°の範囲内で導光体3内に入射し、光偏向素子34が存在しなければ、楔形状であっても光がリークすることなく反入射部35にまで達する。
しかし、反入射部35まで達した光は、反射体60によって反射され、光線Lrとして再度出射部20b方向に進みながら表面部31や裏面部32で全反射を繰り返し、出射部20bに達し出射部20bから出射する。
表面部31の外部から入射した光LLは、屈折角γ=0〜±42°の範囲内で導光体3内に入射し、光偏向素子34が存在しなければ、楔形状であっても光がリークすることなく反入射部35にまで達する。
しかし、反入射部35まで達した光は、反射体60によって反射され、光線Lrとして再度出射部20b方向に進みながら表面部31や裏面部32で全反射を繰り返し、出射部20bに達し出射部20bから出射する。
また、導光体3の表面部31や裏面部32に光偏向素子34を設ける構成としても良い。
なお、光偏向素子34は、表面部31および裏面部32に対して球および楕円球の一部ならびに三角錐、円錐、四角錐、三角柱、四角柱、円柱等から成る形状を垂直に設けたり、三角柱、四角柱、半円柱等から成る形状を水平に設ける。
また、これら球および楕円球の一部ならびに三角錐、円錐、四角錐、三角柱、四角柱、円柱等をランダムおよび直線状や曲線状ならびに任意の分布で表面部31および裏面部32に対して垂直に設けたり、三角柱、四角柱、半円柱等を直線や曲線に任意の分布で表面部31および裏面部32に対して水平に設ける。
なお、光偏向素子34は、表面部31および裏面部32に対して球および楕円球の一部ならびに三角錐、円錐、四角錐、三角柱、四角柱、円柱等から成る形状を垂直に設けたり、三角柱、四角柱、半円柱等から成る形状を水平に設ける。
また、これら球および楕円球の一部ならびに三角錐、円錐、四角錐、三角柱、四角柱、円柱等をランダムおよび直線状や曲線状ならびに任意の分布で表面部31および裏面部32に対して垂直に設けたり、三角柱、四角柱、半円柱等を直線や曲線に任意の分布で表面部31および裏面部32に対して水平に設ける。
光偏向素子34を設けることで、導光体3内に屈折させて光を偏向し光電変換器22へ入射することができる。さらに、光偏向素子34の分布によって入射量や入射させる位置をコントロールすることができる。
図15は本発明に係る平面光電変換装置の更に他の構成例を示している。図15に示す平面光電変換装置1は、上述した構成の光電変換器22と、光電変換器22へ光を導く出射部20bを中心に位置し、光電変換器22を挿入する挿入部としての開口部21または裏面部32に凹部21を設け、出射部20bから遠ざかるに従って厚さが厚くなる楔形状の導光体3と、同様に光電変換器22へ光を導く出射部20bと中心に位置し、光電変換器22を挿入する挿入部としての裏面部32に凹部21を設け、出射部20から遠ざかるに従って厚さが薄くなる(出射部20に近づくに従って厚さが厚くなる)楔形状の導光体3とを互いに傾斜する面31,32を向かい合わせにし、光電変換器22を開口部21および裏面部32の凹部21に挿入し、最終裏面部32と上面側の表面部31以外の側面部35,36とを覆う反射体60からなる。なお、光電変換器22が挿入される開口部21または裏面部32の凹部21は、使用される光電変換器22の外形に合わせた形状とされる。
ここで、出射部20bから遠ざかるに従って厚さが厚くなる楔形状の導光体3を下方に配置し、出射部20から遠ざかるに従って厚さが薄くなる楔形状の導光体3を上方に配置して重ね合わせた場合の光の軌跡について図16を参照しながら説明する。
上部にある導光体3の表面部31の外部からの光線L1は、導光体3に対して略垂直に入射されるため、そのまま下部にある導光体3に達する光線は下部の導光体3の内部に進む。この光線L10は、導光体3の裏面部32に設けた光偏向素子34に達し、光偏向素子34によって反射され、反射光Lrは出射部20b方向に進む。
また、同様に表面部31の外部からの光線L1は、導光体3に対して略垂直に入射された光線は裏面部32に設けた光偏向素子34によって屈折されて下部にある導光体3に達し、下部にある導光体3の表面部31から屈折して内部に進み、屈折光LLは導光体3内を反射を繰り返しながら出射部20b方向に進む。
さらに、上部にある導光体3の表面部31の外部からの光線L2は、導光体3に対して斜めの角度で入射する時に光偏向素子34によって屈折されずに直進する(光偏向素子34が無い場合に屈折される)。そして、下部にある導光体3に達し、下部にある導光体3の表面部31から屈折して内部に進み、屈折光LLと同様に導光体3内を反射を繰り返しながら出射部20b方向に進む。
さらに、ここでは図示しないが、裏面部32bから出射したリーク光等は、裏面部32bの下方に設けた反射体60によって反射され再度導光体3内に光を戻す。
なお、ここでは、光偏向素子34をプリズムで説明したが、形状はどんなものでも良く、光に対して傾斜面を有すれば良い。
1 平面光電変換装置
2(2a) 光電変換素子
3(3A,3B) 導光体
20,20b 出射部
20c 傾斜面
21 開口部、凹部
22(22A〜22F) 光電変換器
23 リードフレーム、基板
24(24A〜24F) モールド
25 円錐形状
25a 面
25b 曲面
26 リード端子
27 漏斗形状
27a 曲面
27b 先端
28 四角錐形状
28a 面
31,31b 表面部
32,32b 裏面部
33(33a,33b) 傾斜部
34(34A,34B) 凹形状
35,36 側面部
60 反射体
L,L1,L2,Lr,LL 光線
2(2a) 光電変換素子
3(3A,3B) 導光体
20,20b 出射部
20c 傾斜面
21 開口部、凹部
22(22A〜22F) 光電変換器
23 リードフレーム、基板
24(24A〜24F) モールド
25 円錐形状
25a 面
25b 曲面
26 リード端子
27 漏斗形状
27a 曲面
27b 先端
28 四角錐形状
28a 面
31,31b 表面部
32,32b 裏面部
33(33a,33b) 傾斜部
34(34A,34B) 凹形状
35,36 側面部
60 反射体
L,L1,L2,Lr,LL 光線
Claims (16)
- 外部からの光を導く表面部と、当該表面部の反対側に位置する裏面部と、当該光を出射する出射部とを有する導光体において、
前記出射部は、前記導光体の中心に位置した開口部または前記裏面部に凹部を設けるとともに前記表面部または/および前記裏面部に前記出射部を中心として放射状に同心円上に前記出射部方向に向く傾斜部を有した凹形状を設けたことを特徴とする導光体。 - 外部からの光を導く表面部と、当該表面部の反対側に位置する裏面部と、当該光を出射する出射部とを有する導光体において、
前記出射部は、前記導光体の中心に位置した四角形状の開口部または前記裏面部に四角形状の凹部を設けるとともに前記表面部または/および前記裏面部に前記出射部を中心として平行に前記出射部方向に向く傾斜部を有した凹形状を設けたことを特徴とする導光体。 - 前記凹部は、前記裏面部で円形または四角形を成し、前記裏面部方向に傾きを有した傾斜面を設けたことを特徴とする請求項1又は2記載の導光体。
- 前記導光体は、前記出射部から遠ざかるに従って厚さが厚くなるまたは前記出射部に近づくに従って厚さが厚くなるあるいは厚さが一定であることを特徴とする請求項1又は2記載の導光体。
- 前記表面部および前記裏面部に対して球および楕円球の一部ならびに三角錐、円錐、四角錐、三角柱、四角柱、円柱等から成る形状を垂直にまたは三角形、四角柱、半円柱等から成る形状を水平にランダムおよび直線状や曲線状ならびに任意の分布で光偏向素子を設けることを特徴とする請求項1〜3の何れかに記載の導光体。
- 前記表面部または前記出射部は、外部からの光に対して任意の波長に変換する波長変換部を設けることを特徴とする請求項1〜5の何れかに記載の導光体。
- リードフレームや基板上の載置面に光電変換素子が載置され、前記載置面に略並行に放射状に入射するように前記光電変換素子の対向する位置に設けた面で全反射を行い、前記光電変換素子の前記載置面の対向方向から入射する光を前記光電変換素子で受光することを特徴とする光電変換器。
- 前記光電変換器は、全体が円柱形状にモールドで成し、前記光電変換素子に対向する位置が逆向きの円錐形状に切除した形状とすることを特徴とする請求項7記載の光電変換器。
- 前記光電変換器は、全体が円柱形状にモールドで成し、前記光電変換素子に対向する上部位置が前記円柱形状よりも外側に放射状の曲面を有した漏斗形状であるとともに上部位置が逆向きの円錐形状に切除した形状であることを特徴とする請求項7記載の光電変換器。
- 前記光電変換器は、全体が前記光電変換素子の側面に対応した四角柱形状にモールドで成し、前記光電変換素子に対向する位置が逆向きの四角錐形状に切除し、前記四角柱の側面と前記四角柱の底辺とが接続する形状とすることを特徴とする請求項7記載の光電変換器。
- 光電変換素子の受光面を円錐形状または四角錐形状に形成し、略上方放射方向から入射する光を前記光電変換素子で受光することを特徴とする光電変換器。
- 前記光電変換器は、前記モールドの外側に光に対して任意の波長に変換する波長変換部を設けるか、または前記モールドに光に対して任意の波長に変換する波長変換材を混入することを特徴とする請求項8〜10の何れかに記載の光電変換器。
- 光電変換素子または前記光電変換素子を有する光電変換器と、
前記光電変換素子または前記光電変換器を挿入する開口部または裏面部に凹部を設けるとともに前記表面部または/および前記裏面部に前記出射部を中心として前記出射部方向に向く傾斜部を有した凹形状を設けた導光体とを備え、
前記導光体の表面部から入射した光線を前記傾斜部で全反射または/および屈折して前記開口部または前記裏面部の凹部に位置する前記出射部に前記光電変換素子または前記光電変換器を挿入し、前記出射部に出射した光線を前記光電変換素子または前記光電変換器で受光することを特徴とする平面光電変換装置。 - 光電変換素子または前記光電変換素子を有する光電変換器と、
前記光電変換素子または前記光電変換器を挿入する開口部または裏面部に凹部を設けるとともに前記出射部から遠ざかるに従って厚さが厚くなるまたは前記出射部に近づくに従って厚さが厚くなるあるいは厚さが一定であり、前記表面部または/および前記裏面部に光偏向素子を設けた導光体と、
前記入射部と出射面部以外の光を反射する反射体とを備え、
前記導光体の表面部から入射した光線を前記傾斜部で全反射または/および屈折して前記開口部または前記裏面部の凹部に位置する前記出射部に前記光電変換素子または前記光電変換器を挿入し、前記出射部に出射した光線を前記光電変換素子または前記光電変換器で受光することを特徴とする平面光電変換装置。 - 光電変換素子または前記光電変換素子を有する光電変換器と、
外部からの光を出射する出射部を中心に位置し、前記光電変換素子または前記光電変換器を挿入する開口部を設け、前記表面部または/および前記裏面部に光偏向素子を設けるとともに前記出射部から遠ざかるに従って厚さが厚くなる導光体と、
外部からの光を出射する出射部が中心に位置し、前記光電変換素子または前記光電変換器を挿入する凹部を裏面部に設け、前記表面部または/および前記裏面部に光偏向素子を設けるとともに前記出射部に近づくに従って厚さが厚くなる導光体と、
光を反射する反射体とを備え、
前記出射部から遠ざかるに従って厚さが厚くなる前記導光体と前記出射部に近づくに従って厚さが厚くなる前記導光体とを互いに傾斜する面を向かい合わせにし、前記光電変換素子または前記光電変換器を前記各々の導光体の前記開口部および前記裏面部の凹部に挿入し、最終裏面部と出射部以外の側面部とを前記反射体で覆い、前記出射部に近づくに従って厚さが厚くなる前記導光体の前記表面部から外部からの光を導き、前記光偏向素子により前記導光体内に進んだ光を前記出射部から出射するとともに前記裏面部から漏れた光を前記出射部から遠ざかるに従って厚さが厚くなる前記導光体内に導き前記光偏向素子により前記導光体内に進んだ光を出射部から出射することもに前記裏面部から漏れた光を前記反射体によって反射した光を再度導光体内に戻し、前記出射部から出射光を得ることを特徴とする平面光電変換装置。 - 光電変換素子または前記光電変換素子を有する光電変換器と、
前記光電変換素子または前記光電変換器を挿入する開口部または裏面部に凹部を設けるとともに前記表面部または/および前記裏面部に前記出射部を中心として前記出射部方向に向く傾斜部を有した凹形状を設けた導光体と、
外部からの光に対して任意の波長に変換する波長変換部または波長変換材とを備え、
前記導光体の表面部から入射した光線を前記傾斜部で全反射または/および屈折して前記開口部または前記裏面部の凹部に位置する前記出射部に前記光電変換素子または前記光電変換器を挿入し、前記出射部に出射した光線が前記波長変換部または前記波長変換材によって、任意の波長に変換した光を前記光電変換素子または前記光電変換器で受光することを特徴とする平面光電変換装置。
Priority Applications (1)
| Application Number | Priority Date | Filing Date | Title |
|---|---|---|---|
| JP2009245700A JP2010141297A (ja) | 2008-11-14 | 2009-10-26 | 導光体および光電変換器ならびに平面光電変換装置 |
Applications Claiming Priority (2)
| Application Number | Priority Date | Filing Date | Title |
|---|---|---|---|
| JP2008292334 | 2008-11-14 | ||
| JP2009245700A JP2010141297A (ja) | 2008-11-14 | 2009-10-26 | 導光体および光電変換器ならびに平面光電変換装置 |
Publications (1)
| Publication Number | Publication Date |
|---|---|
| JP2010141297A true JP2010141297A (ja) | 2010-06-24 |
Family
ID=42351120
Family Applications (1)
| Application Number | Title | Priority Date | Filing Date |
|---|---|---|---|
| JP2009245700A Pending JP2010141297A (ja) | 2008-11-14 | 2009-10-26 | 導光体および光電変換器ならびに平面光電変換装置 |
Country Status (1)
| Country | Link |
|---|---|
| JP (1) | JP2010141297A (ja) |
Cited By (4)
| Publication number | Priority date | Publication date | Assignee | Title |
|---|---|---|---|---|
| JP2012248776A (ja) * | 2011-05-31 | 2012-12-13 | Dainippon Printing Co Ltd | 集光素子及び太陽電池システム |
| WO2013047959A1 (ko) * | 2011-09-30 | 2013-04-04 | 주식회사 애니캐스팅 | 집광형 태양전지모듈{concentrating photovoltaic module} |
| KR101295040B1 (ko) * | 2011-08-29 | 2013-08-09 | (주)애니캐스팅 | 광가이드 집광형 태양광 발전장치 |
| JP2013191643A (ja) * | 2012-03-12 | 2013-09-26 | Daido Steel Co Ltd | 集光型太陽光発電装置のレシーバ |
Citations (13)
| Publication number | Priority date | Publication date | Assignee | Title |
|---|---|---|---|---|
| JPS5316936A (en) * | 1976-05-28 | 1978-02-16 | Gellert Donald P | Method of and apparatus for utilizing solar heat and similar radiation |
| JPS63200576A (ja) * | 1987-02-17 | 1988-08-18 | Hitachi Ltd | 太陽電池 |
| JPH07131051A (ja) * | 1993-09-07 | 1995-05-19 | Mitsubishi Motors Corp | 太陽電池パネル |
| JP2000101124A (ja) * | 1998-09-18 | 2000-04-07 | Hitachi Ltd | 集光型太陽光発電モジュール及びその製造方法並びに集光型太陽光発電システム |
| JP2001274449A (ja) * | 2000-03-24 | 2001-10-05 | Hitachi Ltd | 集光型太陽光発電装置 |
| JP2003218378A (ja) * | 2002-01-22 | 2003-07-31 | Fuji Photo Film Co Ltd | 光発電ユニット |
| JP2003218367A (ja) * | 2002-01-22 | 2003-07-31 | Fuji Photo Film Co Ltd | 太陽電池ユニット |
| JP2004047753A (ja) * | 2002-07-12 | 2004-02-12 | Bridgestone Corp | 集光素子付き太陽電池 |
| JP2004140327A (ja) * | 2002-08-21 | 2004-05-13 | Nippon Leiz Co Ltd | 光源および導光体ならびに平面発光装置 |
| JP2006049487A (ja) * | 2004-08-03 | 2006-02-16 | Canon Inc | 太陽電池モジュール |
| JP2007027150A (ja) * | 2003-06-23 | 2007-02-01 | Hitachi Chem Co Ltd | 集光型光発電システム |
| WO2008131561A1 (en) * | 2007-05-01 | 2008-11-06 | Morgan Solar Inc. | Light-guide solar panel and method of fabrication thereof |
| JP2011503902A (ja) * | 2007-11-16 | 2011-01-27 | クォルコム・メムズ・テクノロジーズ・インコーポレーテッド | 薄膜ソーラコンセントレータ/コレクタ |
-
2009
- 2009-10-26 JP JP2009245700A patent/JP2010141297A/ja active Pending
Patent Citations (13)
| Publication number | Priority date | Publication date | Assignee | Title |
|---|---|---|---|---|
| JPS5316936A (en) * | 1976-05-28 | 1978-02-16 | Gellert Donald P | Method of and apparatus for utilizing solar heat and similar radiation |
| JPS63200576A (ja) * | 1987-02-17 | 1988-08-18 | Hitachi Ltd | 太陽電池 |
| JPH07131051A (ja) * | 1993-09-07 | 1995-05-19 | Mitsubishi Motors Corp | 太陽電池パネル |
| JP2000101124A (ja) * | 1998-09-18 | 2000-04-07 | Hitachi Ltd | 集光型太陽光発電モジュール及びその製造方法並びに集光型太陽光発電システム |
| JP2001274449A (ja) * | 2000-03-24 | 2001-10-05 | Hitachi Ltd | 集光型太陽光発電装置 |
| JP2003218367A (ja) * | 2002-01-22 | 2003-07-31 | Fuji Photo Film Co Ltd | 太陽電池ユニット |
| JP2003218378A (ja) * | 2002-01-22 | 2003-07-31 | Fuji Photo Film Co Ltd | 光発電ユニット |
| JP2004047753A (ja) * | 2002-07-12 | 2004-02-12 | Bridgestone Corp | 集光素子付き太陽電池 |
| JP2004140327A (ja) * | 2002-08-21 | 2004-05-13 | Nippon Leiz Co Ltd | 光源および導光体ならびに平面発光装置 |
| JP2007027150A (ja) * | 2003-06-23 | 2007-02-01 | Hitachi Chem Co Ltd | 集光型光発電システム |
| JP2006049487A (ja) * | 2004-08-03 | 2006-02-16 | Canon Inc | 太陽電池モジュール |
| WO2008131561A1 (en) * | 2007-05-01 | 2008-11-06 | Morgan Solar Inc. | Light-guide solar panel and method of fabrication thereof |
| JP2011503902A (ja) * | 2007-11-16 | 2011-01-27 | クォルコム・メムズ・テクノロジーズ・インコーポレーテッド | 薄膜ソーラコンセントレータ/コレクタ |
Cited By (4)
| Publication number | Priority date | Publication date | Assignee | Title |
|---|---|---|---|---|
| JP2012248776A (ja) * | 2011-05-31 | 2012-12-13 | Dainippon Printing Co Ltd | 集光素子及び太陽電池システム |
| KR101295040B1 (ko) * | 2011-08-29 | 2013-08-09 | (주)애니캐스팅 | 광가이드 집광형 태양광 발전장치 |
| WO2013047959A1 (ko) * | 2011-09-30 | 2013-04-04 | 주식회사 애니캐스팅 | 집광형 태양전지모듈{concentrating photovoltaic module} |
| JP2013191643A (ja) * | 2012-03-12 | 2013-09-26 | Daido Steel Co Ltd | 集光型太陽光発電装置のレシーバ |
Similar Documents
| Publication | Publication Date | Title |
|---|---|---|
| JP3715635B2 (ja) | 光源および導光体ならびに平面発光装置 | |
| EP1467413B1 (en) | Light receiving or emitting semiconductor apparatus | |
| US9732938B2 (en) | Illumination panel | |
| CN104597588B (zh) | 聚光型光伏单元、聚光型光伏模块,聚光型光伏面板和聚光型光伏发电装置 | |
| US9714756B2 (en) | Illumination device | |
| WO2001008228A1 (fr) | Lentille en masse, corps luminescent, dispositif d'eclairage et systeme d'information optique | |
| TW200412187A (en) | Luminaire for light extraction from a flat light source | |
| JP2002289900A (ja) | 集光型太陽電池モジュール及び集光型太陽光発電システム | |
| US20100319773A1 (en) | Optics for Concentrated Photovoltaic Cell | |
| US20080128016A1 (en) | Parallel Aperture Prismatic Light Concentrator | |
| US9960303B2 (en) | Sunlight concentrating and harvesting device | |
| KR101358864B1 (ko) | 태양 전지 및 이의 제조 방법 | |
| JP2004047753A (ja) | 集光素子付き太陽電池 | |
| JP2010141297A (ja) | 導光体および光電変換器ならびに平面光電変換装置 | |
| JP2005019587A (ja) | 採光装置および光発電装置 | |
| WO2013180499A1 (ko) | 집광형 태양전지모듈 | |
| JP2003078156A (ja) | 薄膜太陽電池及び集光反射素子 | |
| JP2003086823A (ja) | 薄膜太陽電池 | |
| JP2000022194A (ja) | 太陽電池電源装置 | |
| CN105051452B (zh) | 太阳光聚集和获取装置 | |
| JP2011210890A (ja) | 太陽光発電装置 | |
| JP5197199B2 (ja) | 太陽電池モジュール | |
| JP2010123720A (ja) | 太陽電池裏面シート及び太陽電池モジュール | |
| JP2007073774A (ja) | 太陽電池 | |
| US20210364149A1 (en) | Light-reflective-type profile surface for light diffusion and concentration, and surface-emitting lighting and light concentration apparatus using same |
Legal Events
| Date | Code | Title | Description |
|---|---|---|---|
| A711 | Notification of change in applicant |
Free format text: JAPANESE INTERMEDIATE CODE: A711 Effective date: 20100701 |
|
| A977 | Report on retrieval |
Free format text: JAPANESE INTERMEDIATE CODE: A971007 Effective date: 20110301 |
|
| A131 | Notification of reasons for refusal |
Free format text: JAPANESE INTERMEDIATE CODE: A131 Effective date: 20120529 |
|
| A02 | Decision of refusal |
Free format text: JAPANESE INTERMEDIATE CODE: A02 Effective date: 20121002 |