JP2010141148A - 放射線画像検出器およびその製造方法 - Google Patents

放射線画像検出器およびその製造方法 Download PDF

Info

Publication number
JP2010141148A
JP2010141148A JP2008316352A JP2008316352A JP2010141148A JP 2010141148 A JP2010141148 A JP 2010141148A JP 2008316352 A JP2008316352 A JP 2008316352A JP 2008316352 A JP2008316352 A JP 2008316352A JP 2010141148 A JP2010141148 A JP 2010141148A
Authority
JP
Japan
Prior art keywords
linear electrode
image detector
electrode
radiation image
linear
Prior art date
Legal status (The legal status is an assumption and is not a legal conclusion. Google has not performed a legal analysis and makes no representation as to the accuracy of the status listed.)
Withdrawn
Application number
JP2008316352A
Other languages
English (en)
Inventor
Yasuhisa Kaneko
泰久 金子
Katsutoshi Yamane
勝敏 山根
Current Assignee (The listed assignees may be inaccurate. Google has not performed a legal analysis and makes no representation or warranty as to the accuracy of the list.)
Fujifilm Corp
Original Assignee
Fujifilm Corp
Priority date (The priority date is an assumption and is not a legal conclusion. Google has not performed a legal analysis and makes no representation as to the accuracy of the date listed.)
Filing date
Publication date
Application filed by Fujifilm Corp filed Critical Fujifilm Corp
Priority to JP2008316352A priority Critical patent/JP2010141148A/ja
Publication of JP2010141148A publication Critical patent/JP2010141148A/ja
Withdrawn legal-status Critical Current

Links

Images

Landscapes

  • Solid State Image Pick-Up Elements (AREA)
  • Light Receiving Elements (AREA)
  • Measurement Of Radiation (AREA)

Abstract

【課題】半導体層において発生した電荷信号を読み出すための線状電極が多数配列された電極層を備えた放射線画像検出器において、断線箇所を直接修復することによる画像欠陥を生じることなく、断線による画像への影響を抑制する。
【解決手段】電極層の所定の線状電極に断線箇所C1がある場合、その断線箇所C1が存在する線状電極5aの端部と断線箇所が存在する線状電極5aに隣接する線状電極5bとを接続部材20を介して接続し、その接続後、半導体層を形成する。
【選択図】図3

Description

本発明は、放射線の照射を受けて電荷を発生し、その電荷を蓄積することにより放射線画像を記録する放射線画像検出器およびその製造方法に関するものである。
従来、医療分野などにおいて、被写体を透過した放射線の照射により被写体に関する放射線画像を記録する放射線画像検出器が各種提案、実用化されている。
上記放射線画像検出器としては、たとえば、放射線の照射により電荷を発生するアモルファスセレンを利用した放射線画像検出器があり、そのような放射線画像検出器として、いわゆる光読取方式のものやTFT(thin film transistor、薄膜トランジスタ)、CCD(charge coupled device)、CMOS(complementary metal oxide semiconductor)センサなどを用いる電気読取方式のものが提案されている。
そして、光読取方式の放射線画像検出器としては、たとえば、放射線画像を担持した放射線を透過する第1の電極層、第1の電極層を透過した放射線の照射を受けることにより電荷を発生する記録用光導電層、記録用光導電層において発生した電荷のうち一方の極性の電荷に対しては絶縁体として作用し、且つ他方の極性の電荷に対しては導電体として作用する電荷輸送層、読取光の照射を受けることにより電荷を発生する読取用光導電層、および読取光を透過する透明線状電極と読取光を遮光する遮光線状電極とからなる第2の電極層をこの順に積層してなるものが提案されている(たとえば、特許文献1参照)。
そして、上記のような光読取方式の放射線画像検出器における透明線状電極および遮光線状電極は、たとえば、透明線状電極または遮光線状電極の材料からなる膜をガラス基板上にスパッタリングにより形成した後、フォトリソグラフィおよびエッチングによりパターニングされて形成される。
ここで、上記のようにして透明線状電極および遮光線状電極をガラス基板上に形成する場合、たとえば、スパッタリングした膜に欠陥があったり、ゴミによるパターン不良があったり、エッチングが過度に行われたりして透明線状電極または遮光線状電極に断線不良が生じる場合がある。そして、このような断線不良があると、画像欠陥として検出されてしまう。
上記のような画像欠陥は、放射線画像検出器から読み出された画像信号を補正することによって修復することも考えられる。
しかしながら、断線不良の場合、断線のために取り出せなかった電荷が記録用光導電層内に残留し、たとえば、放射線画像の記録の際の放射線量が大きい場合には、残留電荷も大きなものとなるため断線箇所に対応する部分だけでなく周辺部分にも残留電荷の領域が広がってしまうことがわかった。すなわち、放射線の線量によって残留電荷の範囲が種々に変化するので、画像信号の補正によって修復することが困難であることがわかった。
一方、断線修復方法としては、たとえば、特許文献2に記載の方法のように、金属粒子を溶剤に分散させたペーストを断線箇所に塗布する方法が考えられる。
特開2000−284056号公報 特開平6−20604号公報
しかしながら、特許文献2に記載の方法のように、金属粒子を溶剤に分散させたペーストを断線箇所に塗布した場合、金属粒子の種類によっては線状電極の上層に形成される読取用光導電層や電荷輸送層や記録用光導電層などと反応し、これらの層に結晶化などの悪影響を及ぼして画像欠陥として検出されてしまうおそれがある。
また、金属粒子が分散された溶剤の粘度が高い場合には、必要以上に断線修復部が大きくなってしまい、線状電極の上層に形成される読取用光導電層や電荷輸送層や記録用光導電層の表面に突起ができてしまい、この突起により電界集中などが起きて結晶化を促進させ、やはり画像欠陥として検出されてしまうおそれがある。
本発明は、上記の事情に鑑み、断線箇所を直接修復することによる画像欠陥を生じることなく、断線による画像への影響を抑制することができる放射線画像検出器の製造方法および放射線画像検出器を提供することを目的とする。
本発明の放射線画像検出器の製造方法は、放射線の照射を受けて電荷を発生する半導体層と、半導体層において発生した電荷信号を読み出すための線状電極が多数配列された電極層とを備えた放射線画像検出器の製造方法であって、電極層の所定の線状電極に断線箇所がある場合、その断線箇所が存在する線状電極の端部と断線箇所が存在する線状電極に隣接する線状電極とを接続部材を介して接続し、その接続後、半導体層を形成することを特徴とする。
また、上記本発明の放射線画像検出器の製造方法においては、断線箇所が存在する線状電極の端部と断線箇所が存在する線状電極に隣接する線状電極との接続箇所を、画像領域の外側とすることができる。
ここで、上記「画像領域」とは、放射線画像検出器から読み出された画像信号のうち、実際に再生された放射線画像に対応する画像信号が検出された放射線画像検出器の範囲のことを意味する。具体的には、線状電極が多数配列された範囲のうち、その範囲の端から所定の長さ(たとえば1mm)だけ内側の非画像領域を除く領域を画像領域と設定することができる。なお、上記非画像領域は、診断画像として利用できない範囲と考えられる領域である。
また、放射線画像検出器が、半導体層と、読取光の照射を受けて電荷を発生する読取用光導電層と、電極層とをこの順に積層したものであり、電極層が、読取光を透過する透明線状電極と読取光を遮光する遮光線状電極とを交互に配列したものである場合には、所定の透明線状電極に断線箇所がある場合には、その断線箇所が存在する透明線状電極の端部と断線箇所が存在する透明線状電極に隣接する遮光線状電極とを接続部材を介して接続し、所定の遮光線状電極に断線箇所がある場合には、その断線箇所が存在する遮光線状電極の端部と断線箇所が存在する遮光線状電極に隣接する透明線状電極とを接続部材を介して接続することができる。
また、接続部材を介した接続を行う前に、線状電極の長さ方向に伸びる側端部にその側端部に沿って隔壁部材を設けることができる。
また、接続部材を、導電性部材を分散させた溶剤を滴下し、硬化させたものとすることができる。
また、導電性部材として金を用いることができる。
また、導電性部材の主成分として金を用い、銅および/またはビスマスを3wt%以下添加することができる。
また、導電性部材を分散させた溶剤の粘度を100mPa・s以下とすることができる。
本発明の放射線画像検出器は、放射線の照射を受けて電荷を発生する半導体層と、半導体層において発生した電荷信号を読み出すための線状電極が多数配列された電極層とを備えた放射線画像検出器であって、断線箇所が存在する線状電極の端部と断線箇所が存在する線状電極に隣接する線状電極とを接続する接続部が形成されていることを特徴とする。
また、上記本発明の放射線画像検出器においては、接続部を、画像領域の外側に形成することができる。
また、線状電極の長さ方向に伸びる側端部にその側端部に沿って隔壁部材を設けることができる。
本発明の放射線画像検出器の製造方法および放射線画像検出器によれば、電極層の所定の線状電極に断線箇所がある場合、その断線箇所が存在する線状電極の端部と断線箇所が存在する線状電極に隣接する線状電極とを接続部材を介して接続し、その接続後、半導体層を形成するようにしたので、たとえ、接続部材が半導体層に影響を及ぼしたとしても放射線画像の周縁部なのでその影響は小さく、断線箇所を直接修復することによる画像欠陥を生じることなく、断線による画像への影響を抑制することができる。また、断線箇所が存在する線状電極と隣接する線状電極とを接続するのでショート不良となるが、このショート不良は画像信号の画像処理によって補正することができるので特に問題はない。
また、断線不良を減らすことができるので歩留りを向上させることができ、コストダウンを図ることができる。
また、接続部材が放射線画像検出器の周縁部に設けられることになるので、断線箇所を直接修復するよりかはその範囲を大きくすることができ、接続部材を設けるのに要求される位置精度を低くすることができて工程が容易となる。
また、上記本発明の放射線画像検出器の製造方法において、断線箇所が存在する線状電極の端部と断線箇所が存在する線状電極に隣接する線状電極との接続箇所を、画像領域の外側とした場合には、再生される放射線画像に接続部材の影響を及ぼさないようにすることができる。
また、接続部材を介した接続を行う前に、線状電極の長さ方向に伸びる側端部にその側端部に沿って隔壁部材を設けるようにした場合には、たとえば、接続部材として、導電性部材を分散させた溶剤を滴下し、硬化させたものを利用した場合、上記溶剤が必要以上に濡れ広がり、多数の線状電極がショートしてしまうのを防止することができる。
また、導電性部材として金を用いるようにした場合には、半導体層と導電性部材とが反応して半導体層が結晶化するのを防止することができる。
また、導電性部材の主成分として金を用い、銅および/またはビスマスを3wt%以下添加するようにした場合には、導電性部材と線状電極との接合性を向上させることができる。
また、導電性部材を分散させた溶剤の粘度を100mPa・s以下とした場合には、接続部材が大きくなって半導体層に突起を形成し、画像欠陥を生じてしまうのを防止することができる。
以下、図面を参照して本発明の放射線画像検出器の製造方法およびその製造方法を用いて製造した放射線画像検出器の一実施形態について説明する。図1は、本実施形態の放射線画像検出器の一部の斜視図、図2は図1に示す放射線画像検出器の2−2線断面図である。
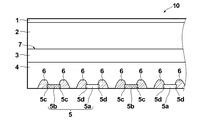
本発明の第1の実施形態の放射線画像検出器10は、図1および図2に示すように、放射線画像を担持した放射線を透過する第1の電極層1、第1の電極層1を透過した放射線の照射を受けることにより電荷を発生する記録用光導電層2、記録用光導電層2において発生した電荷のうち一方の極性の電荷に対しては絶縁体として作用し、且つ他方の極性の電荷に対しては導電体として作用する電荷輸送層3、読取光の照射を受けることにより電荷を発生する読取用光導電層4、および第2の電極層5をこの順に積層してなるものである。記録用光導電層2と電荷輸送層3との界面近傍には、記録用光導電層2内で発生した電荷を蓄積する蓄電部7が形成される。なお、上記各層は、ガラス基板上に第2の電極層5から順に形成されるものであるが、図1および図2においては、ガラス基板を省略している。
第1の電極層1としては、放射線を透過するものであればよく、たとえば、ネサ皮膜(SnO2)、ITO(Indium Tin Oxide)、IZO(Indium Zinc Oxide)、アモルファス状光透過性酸化膜であるIDIXO(Idemitsu Indium X-metal Oxide ;出光興産(株))などを50〜200nm厚にして用いることができ、また、100nm厚のAlやAuなども用いることもできる。
記録用光導電層2は、放射線の照射を受けることにより電荷を発生するものであればよく、放射線に対して比較的量子効率が高く、また暗抵抗が高いなどの点で優れているa−Seを主成分とするものを使用する。また、a−Seを主成分とする光導電物質を用いる場合、Na、K、Liなどのアルカリ金属を含むa−Seを主成分とするものと用い、アルカリ金属の含有量を0.01〜5000ppmとすることが好ましい。また、厚さは100μm以上2000μm以下が適切である。また、特にマンモグラフィ用途である場合には、150μm以上250μm以下であることが好ましく、一般撮影用途である場合には、500μm以上1200μm以下であることが好ましい。
電荷輸送層3としては、たとえば、放射線画像の記録の際に第1の電極層1に帯電する電荷の移動度と、その逆極性となる電荷の移動度の差が大きい程良く(例えば10以上、望ましくは10以上)、たとえば、ポリN−ビニルカルバゾール(PVK)、N,N'−ジフェニル−N,N'−ビス(3−メチルフェニル)−〔1,1'−ビフェニル〕−4,4'−ジアミン(TPD)やディスコティック液晶等の有機系化合物、或いはTPDのポリマー(ポリカーボネート、ポリスチレン、PVK)分散物,Clを10〜200ppmドープしたa−Se、AsSe等の半導体物質が適当である。厚さは0.2〜2μm程度が適切である。
読取用光導電層4としては、読取光の照射を受けることにより導電性を呈するものであればよく、たとえば、a−Se、Se−Te、Se−As−Te、無金属フタロシアニン、金属フタロシアニン、MgPc(Magnesium phtalocyanine),VoPc(phaseII of Vanadyl phthalocyanine)、CuPc(Cupper phtalocyanine)などのうち少なくとも1つを主成分とする光導電性物質が好適である。厚さは5〜20μm程度が適切である。
第2の電極層5は、読取光を透過する複数の透明線状電極5aと読取光を遮光する複数の遮光線状電極5bとを有するものである。そして、透明線状電極5aと遮光線状電極5bとは、図1に示すように、所定の間隔を空けて交互に平行に配列されている。
透明線状電極5aは読取光を透過するとともに、導電性を有する材料から形成されている。上記のような材料であれば如何なるものでもよいが、たとえば、第1の電極層1と同様に、ITO、IZOやIDIXOを用いることができる。また、Al、Crなどの金属を用いて読取光を透過する程度の厚さ(たとえば、10nm程度)で形成するようにしてもよい。
遮光線状電極5bは読取光を遮光するとともに、導電性を有する材料から形成されている。上記のような材料であれば如何なるものでもよいが、たとえば、100−300nm厚のCr、Mo、Wがある。
そして、本実施形態の放射線画像検出器10においては、透明線状電極5aの長さ方向に伸びる側端部5dと遮光線状電極5bの長さ方向に伸びる側端部5cとに、その側端部5d,5cに沿って隔壁部材6が設けられている。
ここで、側端部とは、線状電極の側面およびその側面に繋がる上面の一部のことをいう。
そして、隔壁部材6は、図1および図2に示すように、透明線状電極5aおよび遮光線状電極5bの上面の長さ方向に伸びる中央部分には設けられておらず、また、透明線状電極5aおよび遮光線状電極5bの高さよりも高くなるように設けられている。
隔壁部材6の材料としては、たとえば、ノボラック樹脂、ジアゾナフトキノン樹脂、PHS樹脂、ノルボルネン樹脂、アダマンタン樹脂(トリシクロデカン)樹脂、アクリル樹脂(PMMA等)、ポリイミドなどを利用することができる。
次に、上記のような構成の放射線画像検出器の製造方法について説明する。
まず、ガラス基板上に透明線状電極5aおよび遮光線状電極5bが形成される。具体的には、透明線状電極5aの材料からなる膜をガラス基板上にスパッタリングにより形成した後、フォトリソグラフィおよびエッチングにより透明線状電極5aがパターニングされる。遮光線状電極5bも同様にしてパターンニングされる。
そして、次に、透明線状電極5aおよび遮光線状電極5bの長さ方向に伸びる側端部5c,5dに、その側端部5c,5dに沿って隔壁部材6が設けられる。隔壁部材6は、具体的には、レジストなどの感光性材料をスピンコートにより塗布し、フォトマスクを使った露光、現像、熱処理の一連のフォトリソグラフィ技術を用いて形成される。
ここで、上記のようにして透明線状電極5aおよび遮光線状電極5bをガラス基板上に形成する際、たとえば、スパッタリングした膜に欠陥があったり、エッチングが過度に行われたりして透明線状電極5aまたは遮光線状電極5bに断線が生じる場合がある。
そこで、本実施形態の製造方法においては、透明線状電極5aまたは遮光線状電極5bに断線箇所がある場合、その断線箇所が存在する線状電極の端部とその断線箇所が存在する線状電極に隣接する線状電極との間に導電性部材を分散させた溶剤を滴下し、それを硬化させて接続部を形成することによって、断線箇所が存在する線状電極の一部と断線箇所が存在する線状電極に隣接する線状電極とを電気的に接続する。
断線箇所の検出については目視により行ってもよいし、自動的に検出するようにしてもよい。自動的に検出する場合には、具体的には、たとえば、画像センサー(CCD、CMOSなど)により所定の領域をスキャンし、そのスキャンした画像の画像認識を行うことによって欠陥を検出する。
そして、たとえば、特開2001−252606号公報の記載のような修復装置を用いて、断線箇所に導電性部材を分散させた溶剤を滴下する。導電性部材を分散させた溶剤を滴下する方法としては、たとえば、微小なガラスキャピラリに導電性部材を分散させた溶剤を注入し、圧縮空気を加えて滴下する方法や、インクジェット法を用いることができる。
導電性部材としては、たとえば、金や銀を用いることができるが、透明線状電極5aおよび遮光線状電極5b上に形成される読取用光導電層4と反応しにくい金を用いることが望ましい。溶剤としては、たとえば、トルエンを用いることができる。
また、主成分として金を使用し、銅やビスマスなどの材料をさらに添加するようにしてもよい。この場合、添加される銅および/またはビスマスの量は、3wt%以下であることが望ましい。
または、ITOインク(たとえば、アルバックマテリアル製のITOインク)やIZOインクを滴下するようにしてもよい。
そして、上記のようにして導電性部材を分散させた溶剤を滴下した後、乾燥させ、線状電極の材料との接合のため熱処理を行う。このとき断線箇所のみを加熱する局所加熱としてもよいし、基板全体をベーク炉へ入れて加熱するようにしてもよい。
なお、この熱処理によってガラス基板や線状電極なども加熱されるため、導電性部材を分散させた溶剤としてできるだけ低温で熱処理できるものを採用することが望ましく、ITOインクよりは金をトルエンに分散させたものを利用することが望ましい。
また、導電性部材を分散させた溶剤として粘度が高いものを利用すると、断線修復箇所が必要以上に大きくなってしまい、上層に形成される読取用光導電層4や電荷輸送層3や記録用光導電層2の表面に突起ができてしまい、この突起により電界集中などが起きて結晶化を促進させることになる。したがって、導電性部材を分散させた溶剤としては、粘度が○%以下のものを使用することが望ましい。
図3に、透明線状電極5a、遮光線状電極5bおよび隔壁部材6をガラス基板上に設けた後に、上記のようにして接続部20,21を形成したものの平面図を示す。なお、図3においては、各透明線状電極5aの端部に信号取り出しライン5eがそれぞれ接続され、全ての遮光線状電極5bが共通電極部分5fを介して接続されているが、図1においては、上記信号取り出しライン5eおよび上記共通電極部分5fを図示省略している。
図3における接続部20は、断線箇所C1が存在する透明線状電極5aの端部とその断線箇所C1が存在する透明線状電極5aに隣接する遮光線状電極5bとを接続するものである。なお、本実施形態においては、上述したように共通電極部分5fを介して全ての遮光線状電極5b同士が接続されているので、断線箇所C1が存在する透明線状電極5aは共通電極部分5fを介して隣接する遮光線状電極5bに接続されることになる。なお、共通電極部分5fを介することなく、断線箇所C1が存在する透明線状電極5aを隣接する遮光線状電極5bに直接接続するようにしてもよい。
また、本実施形態においては、隔壁部材6を設けるようにしているので、接続部20を形成する際に、導電性部材を分散させた溶剤を滴下できる範囲は図3の点線の範囲まで広げることができる。
図3における接続部21は、断線箇所C2が存在する遮光線状電極5bの端部とその断線箇所C2が存在する遮光線状電極5bに隣接する透明線状電極5aとを接続するものである。なお、本実施形態においては、上述したように透明線状電極5aには信号取り出しライン5eが接続されているので、断線箇所C2が存在する遮光線状電極5bは信号取り出しライン5eを介して隣接する透明線状電極5aに接続されることになる。なお、信号取り出しライン5eを介することなく、断線箇所C2が存在する遮光線状電極5bを隣接する透明線状電極5aに直接接続するようにしてもよい。
また、接続部20,21は、放射線画像検出器10における画像領域R(図3の点線で囲まれる矩形の範囲)の外側に形成される。
ここで、画像領域Rとは、放射線画像検出器から読み出された画像信号のうち、実際に再生された放射線画像に対応する画像信号が検出された放射線画像検出器の範囲のことを意味する。たとえば、放射線画像検出器から読み出された画像信号から放射線画像検出器の周縁部において検出された画像信号を削除した画像信号を用いて放射線画像を再生する場合には、その放射線画像検出器10の周縁部を除く範囲を画像領域という。具体的には、上記画像領域は、線状電極が多数配列された範囲のうち、その範囲の端から所定の長さ(たとえば1mm)だけ内側の非画像領域を除く領域を画像領域と設定することができる。なお、上記非画像領域は、診断画像として利用できない範囲と考えられる領域である。
そして、上記ようにして接続部20,21を形成した後、読取用光導電層4、電荷輸送層3、記録用光導電層2および第1の電極層1が順次蒸着により形成されて放射線画像検出器が形成される。
なお、上記実施形態の放射線画像検出器10においては、遮光線状電極5bを読取光を遮光する材料から形成するようにしたが、遮光線状電極の構成はこれに限らず、たとえば、図4の断面図に示すように、透明線状電極5aと同じ材料から形成された透明線状電極8aと読取光を遮光するレジストなどの遮光部材8bとから遮光線状電極8を構成するようにしてもよい。そして、上記のように遮光線状電極8を構成する場合には、まず、ガラス基板上に遮光部材8bを形成し、その上に絶縁膜9を形成した後、その絶縁膜9上に透明線状電極8a,5aをパターンニングし、透明線状電極8aの長さ方向に伸びる側端部に、その側端部に沿って隔壁部材6を設け、その後、上記と同様にして、接続部20,21を形成するようにすればよい。
また、上記実施形態においては、放射線を直接電荷に変換する、いわゆる直接変換型の放射線画像検出器について説明したが、これに限らず、放射線を蛍光体により一旦光に変換し、その光を電荷に変換する、いわゆる間接変換型の放射線画像検出器に類似する構成の放射線画像検出器にも本発明は適用することができる。なお、間接変換型の放射線画像検出器に類似する構成の放射線画像検出器とは、直接変換型の放射線画像検出器よりもa
−Se層を薄くし、光透過型の第1の電極層を設けるとともに、第1の電極層の上方に蛍光体を設け、その蛍光体からの光を電荷に変換するものである。
また、上記実施形態の製造方法により製造された放射線画像検出器は、線状電極の断線箇所を直接修復することによる画質の劣化を抑制するため、隣接する線状電極同士を端部で接続してショート不良を許容するようにしたものであるが、このショート不良が画像に影響を及ぼさないように画像に補正を施す必要がある。その補正方法について、以下に説明する。
まず、隣接する線状電極同士を接続することによって発生したショート不良の箇所の検出を行う。
まず、放射線を照射しない状態で、通常の放射線画像の記録の動作と同じ動作が行われる。具体的には、たとえば、通常の放射線画像の記録の際と同じ所定時間だけ第1の電極層1に負の高電圧が印加される。なお、このとき放射線は照射しないが、記録用光導電層2において熱的に発生する電荷対が存在し、この電荷対のうち負の電荷が記録用光導電層2と電荷輸送層3との界面である蓄電部7に蓄積される。
そして、その後、通常の放射線画像の読取りの動作と同じ動作が行われる。具体的には、第1の電極層1を接地した状態で読取光が第2の電極層5側から照射される。照射された読取光は、透明線状電極5aを透過し、読取用光導電層4に照射され、読取用光導電層4において電荷対が発生する。そして、読取光の照射により読取用光導電層4において発生した正の電荷が蓄電部7における負の電荷と結合するとともに、読取用光導電層4において発生した負の電荷が透明線状電極5aおよび遮光線状電極5bに帯電した正の電荷と結合する。そして、これにより透明線状電極5aに接続されたチャージアンプに電流が流れ、この電流が積分されて画像信号として検出される。なお、画像信号は、線状電極が延びる方向をx方向、それに直交する方向をy方向として、(x,y)の画素信号のm行n列のマトリクスとして取得される。
そして、各画素信号と予め設定された閾値とが比較され、予め設定された閾値よりも低い画素信号を有する画素が検出される。そして、さらに、予め設定された閾値よりも低い画素信号を有する画素がx方向に所定の画素数以上(たとえば、20個以上)並んでいるラインが検出される。
次に、上記のようにして検出されたライン(たとえば、r番目)について、(0,r)から(m,r)までの画素信号を取得する。そして、全ての画素信号が同じ値(たとえば0)であればショート、任意の点を境に片方が全て0以外の値でもう片方が0の値を持っていればオープンと判定する。
そして、ショートとして判定されたラインの画素信号については、隣接する正常ラインの画素信号を用いて補正が行われる。なお、上記補正は、ショートラインに隣接する片側のラインの画素信号をショートラインの画素信号として置き換えるようにしてもよいし、ショートラインの両側に隣接するラインの画素信号の平均をショートラインの画素信号として置き換えるようにしてもよい。
本発明の放射線画像検出器の一実施形態の一部を示す斜視図 図1に示す放射線画像検出器の2−2線断面図 透明線状電極、遮光線状電極および隔壁部材をガラス基板上に設けた後に、接続部を形成したものを示す平面図 本発明の放射線画像検出器の一実施形態の変形例を示す断面図
符号の説明
1 第1の電極層
2 記録用光導電層
3 電荷輸送層
4 読取用光導電層
5 第2の電極層
5a 透明線状電極
5b 遮光線状電極
6 隔壁部材
7 蓄電部
10 放射線画像検出器
20 接続部
20,21 接続部

Claims (11)

  1. 放射線の照射を受けて電荷を発生する半導体層と、該半導体層において発生した電荷信号を読み出すための線状電極が多数配列された電極層とを備えた放射線画像検出器の製造方法であって、
    前記電極層の所定の前記線状電極に断線箇所がある場合、該断線箇所が存在する線状電極の端部と前記断線箇所が存在する線状電極に隣接する線状電極とを接続部材を介して接続し、
    該接続後、前記半導体層を形成することを特徴とする放射線画像検出器の製造方法。
  2. 前記断線箇所が存在する線状電極の端部と前記断線箇所が存在する線状電極に隣接する線状電極との接続箇所を、画像領域の外側とすることを特徴とする請求項1記載の放射線画像検出器の製造方法。
  3. 前記放射線画像検出器が、前記半導体層と、読取光の照射を受けて電荷を発生する読取用光導電層と、前記電極層とをこの順に積層したものであるともに、
    前記電極層が、前記読取光を透過する透明線状電極と前記読取光を遮光する遮光線状電極とを交互に配列したものであり、
    所定の前記透明線状電極に断線箇所がある場合には、該断線箇所が存在する透明線状電極の端部と前記断線箇所が存在する透明線状電極に隣接する遮光線状電極とを接続部材を介して接続し、
    所定の前記遮光線状電極に断線箇所がある場合には、該断線箇所が存在する遮光線状電極の端部と前記断線箇所が存在する遮光線状電極に隣接する透明線状電極とを接続部材を介して接続することを特徴とする請求項1または2記載の放射線画像検出器の製造方法。
  4. 前記接続部材を介した接続を行う前に、前記線状電極の長さ方向に伸びる側端部に該側端部に沿って隔壁部材を設けることを特徴とする請求項1から3いずれか1項記載の放射線画像検出器の製造方法。
  5. 前記接続部材が、導電性部材を分散させた溶剤を滴下し、硬化させたものであることを特徴とする請求項1から4いずれか1項記載の放射線画像検出器の製造方法。
  6. 前記導電性部材として金を用いることを特徴とする請求項5記載の放射線画像検出器の製造方法。
  7. 前記導電性部材の主成分として金を用い、銅および/またはビスマスを3wt%以下添加することを特徴とする請求項6記載の放射線画像検出器の製造方法。
  8. 前記導電性部材を分散させた溶剤の粘度が100mPa・s以下であることを特徴とする請求項5から7いずれか1項記載の放射線画像検出器の製造方法。
  9. 放射線の照射を受けて電荷を発生する半導体層と、該半導体層において発生した電荷信号を読み出すための線状電極が多数配列された電極層とを備えた放射線画像検出器であって、
    断線箇所が存在する線状電極の端部と前記断線箇所が存在する線状電極に隣接する線状電極とを接続する接続部が形成されていることを特徴とする放射線画像検出器。
  10. 前記接続部が、画像領域の外側に形成されていることを特徴とする請求項9記載の放射線画像検出器。
  11. 前記線状電極の長さ方向に伸びる側端部に該側端部に沿って隔壁部材が設けられていることを特徴とする請求項9または10記載の放射線画像検出器。
JP2008316352A 2008-12-12 2008-12-12 放射線画像検出器およびその製造方法 Withdrawn JP2010141148A (ja)

Priority Applications (1)

Application Number Priority Date Filing Date Title
JP2008316352A JP2010141148A (ja) 2008-12-12 2008-12-12 放射線画像検出器およびその製造方法

Applications Claiming Priority (1)

Application Number Priority Date Filing Date Title
JP2008316352A JP2010141148A (ja) 2008-12-12 2008-12-12 放射線画像検出器およびその製造方法

Publications (1)

Publication Number Publication Date
JP2010141148A true JP2010141148A (ja) 2010-06-24

Family

ID=42351013

Family Applications (1)

Application Number Title Priority Date Filing Date
JP2008316352A Withdrawn JP2010141148A (ja) 2008-12-12 2008-12-12 放射線画像検出器およびその製造方法

Country Status (1)

Country Link
JP (1) JP2010141148A (ja)

Similar Documents

Publication Publication Date Title
JP5669882B2 (ja) 画像検出器
JP5448877B2 (ja) 放射線検出器
US7804071B2 (en) Image detection device
CN102096089A (zh) 检测x射线的光电二极管及其制造方法
US8022451B2 (en) Radiation detector
US20090026381A1 (en) Radiation detector
US20110073979A1 (en) Detection element
JP2008177387A (ja) 放射線画像検出装置
JP2011176274A (ja) 放射線検出素子
CN107068646A (zh) 用于x射线检测器的阵列基板以及包括其的x射线检测器
US8415634B2 (en) Apparatus and method for detecting radiation
JP2010141148A (ja) 放射線画像検出器およびその製造方法
JP5235119B2 (ja) 放射線画像検出器
JP2007324470A (ja) 放射線画像検出器
US20090084966A1 (en) Radiation image detector
JP2008198910A (ja) 放射線画像検出装置およびその製造方法
JP2010103181A (ja) 放射線画像検出器およびその製造方法
JP2009088200A (ja) 放射線検出器
JP2004342691A (ja) 放射線画像検出器
JP5270121B2 (ja) 画像撮像装置
JP5207451B2 (ja) 放射線画像検出器
JP5077921B2 (ja) 放射線固体センサーおよびその製造方法
JP2006242827A (ja) 放射線固体検出器および放射線固体検出器の試験方法
JP3970668B2 (ja) 放射線固体検出器
JP2007012843A (ja) 光導電層および放射線撮像パネル

Legal Events

Date Code Title Description
A300 Application deemed to be withdrawn because no request for examination was validly filed

Free format text: JAPANESE INTERMEDIATE CODE: A300

Effective date: 20120306