JP2010101201A - ポンプユニットのベース - Google Patents

ポンプユニットのベース Download PDF

Info

Publication number
JP2010101201A
JP2010101201A JP2008271105A JP2008271105A JP2010101201A JP 2010101201 A JP2010101201 A JP 2010101201A JP 2008271105 A JP2008271105 A JP 2008271105A JP 2008271105 A JP2008271105 A JP 2008271105A JP 2010101201 A JP2010101201 A JP 2010101201A
Authority
JP
Japan
Prior art keywords
motor
mounting portion
pump body
pump
base
Prior art date
Legal status (The legal status is an assumption and is not a legal conclusion. Google has not performed a legal analysis and makes no representation as to the accuracy of the status listed.)
Granted
Application number
JP2008271105A
Other languages
English (en)
Other versions
JP5209435B2 (ja
Inventor
Akihiro Yamanaka
章弘 山中
Current Assignee (The listed assignees may be inaccurate. Google has not performed a legal analysis and makes no representation or warranty as to the accuracy of the list.)
Toyo Innovex Co Ltd
Original Assignee
Toyo Machinery and Metal Co Ltd
Priority date (The priority date is an assumption and is not a legal conclusion. Google has not performed a legal analysis and makes no representation as to the accuracy of the date listed.)
Filing date
Publication date
Application filed by Toyo Machinery and Metal Co Ltd filed Critical Toyo Machinery and Metal Co Ltd
Priority to JP2008271105A priority Critical patent/JP5209435B2/ja
Publication of JP2010101201A publication Critical patent/JP2010101201A/ja
Application granted granted Critical
Publication of JP5209435B2 publication Critical patent/JP5209435B2/ja
Expired - Fee Related legal-status Critical Current
Anticipated expiration legal-status Critical

Links

Images

Landscapes

  • Details Of Reciprocating Pumps (AREA)

Abstract

【課題】ポンプ本体取付部およびモータ取付部を連結する連結部を最小限の部材で構成しつつ十分な曲げ強度やねじり強度を確保し、限界まで軽量化しつつ、しかもベースに要求される機械的強度を満足することのできるポンプユニットのベースを供給する。
【解決手段】ポンプ本体取付部20とモータ取付部22と連結部24とを備えるポンプユニット12のベース10において、連結部24を、一対の連結部材50a、50b、および一対の傾斜連結部材52a、52bで構成し、一対の連結部材50a、50bにおける縦幅を、モータ取付部22側よりもポンプ本体取付部20側において長く形成し、一対の傾斜連結部材52a、52bにおける縦幅を横幅よりも長く形成することにより、上記課題を解決することができる。
【選択図】図2

Description

本発明は、ポンプユニットが取り付けられるベースに関する。
ダイカストマシンなどの油圧機械には、圧油を高い圧力で供給するためのポンプユニットが設けられており、このポンプユニットは、一般に、ポンプ本体の駆動軸とモータの出力軸とがカップリング等を介して連結された状態で、鋳物等で形成されたベースの上面に取り付けられており(例えば、特許文献1)、ポンプユニットが取り付けられるベースは、ポンプ本体が取り付けられるポンプ本体取付部と、モータが取り付けられるモータ取付部とを備えている。
従来のベース1は、図7〜図9に示すように、平面視四角形状のポンプ本体取付部2と、同じく平面視四角形状のモータ取付部3と、ポンプ本体取付部2およびモータ取付部3を連結する連結部4とで構成されており、ベース1における上下縁部5a、5bの縦幅は、中央平面部5c等の縦幅に比べて長く形成されている(図8)。
なお、モータYの大きさは、ポンプ本体Xの大きさよりも大きいことが一般的であることから、ベース1においても、モータ取付部3の大きさがポンプ本体取付部2の大きさよりも大きく形成されている。このため、連結部4の形状は、ポンプ本体取付部2側端辺よりもモータ取付部3側端辺の方が長い平面視台形状になっている。
特開平6−42501号公報
ところが、近年、鉄鋼など原料の価格高騰の影響を受け、ポンプユニットのベースにも、単に機械的強度を満足するだけではなく、機械的強度を満足しつつ、より軽量化することが求められている。
すなわち、上述したベース1は、ポンプユニットのベースとして要求される機械的強度を満足しているものの、軽量化という点では、未だ満足できるものではなかった。
本発明は、このような従来技術の問題に鑑みて開発されたものである。それゆえに本発明の主たる課題は、限界まで軽量化しつつ、しかもベースに要求される機械的強度を満足することのできるポンプユニットのベースを供給することにある。
請求項1に記載した発明は、「平面視四角形状に形成されており、ポンプユニット12のポンプ本体14が取り付けられるポンプ本体取付部20と、
平面視四角形状に形成されるとともに、前記ポンプ本体取付部20に並べて配設されており、前記ポンプユニット12のモータ16が取り付けられるモータ取付部22と、
前記ポンプ本体取付部20および前記モータ取付部22を連結する連結部24とを備えており、
前記連結部24は、
前記ポンプ本体取付部20における、前記モータ取付部22に対向するポンプ本体側辺32bの一方端32b1と、前記モータ取付部22における、前記ポンプ本体取付部20に対向して前記ポンプ本体側辺32bよりも長いモータ側辺40aの一方端40a1とを連結する第1連結部材50a、
前記ポンプ本体側辺32bの他方端32b2と、前記モータ側辺40aの他方端40a2とを連結する第2連結部材50b、
前記ポンプ本体側辺32bの一方端32b1と、前記モータ側辺40aの他方端40a2とを連結する第1傾斜連結部材52a、および
前記ポンプ本体側辺32bの他方端32b2と、前記モータ側辺40aの一方端40a1とを連結する第2傾斜連結部材52bを備えており、
前記第1連結部材50aおよび前記第2連結部材50bの縦幅は、前記モータ取付部22側よりも前記ポンプ本体取付部20側の方が長く形成されており、
前記第1傾斜連結部材52aおよび前記第2傾斜連結部材52bの縦幅は、横幅よりも長く形成されていることを特徴とするポンプユニットのベース10」である。
ポンプ本体14が取り付けられたポンプ本体取付部20、およびモータ16が取り付けられたモータ取付部22は、それぞれポンプ本体14あるいはモータ16と一体になり、大きな応力を加えても変形しない「剛体」と考えることができるので、ベース10に作用する応力、例えば、何らかのトラブルによってポンプ本体14の駆動軸14aがロック状態となったとき、モータ16の出力軸16aから出力される大きなトルク(回転力)に起因して、ポンプ本体取付部20をモータ取付部22に対してモータ16の回転方向にねじる「ねじり応力T」は、ポンプ本体取付部20とモータ取付部22とを連結する連結部24に対して集中的に作用することになる。
モータ側辺40aは、ポンプ本体側辺32bよりも長く(つまり、ポンプ本体側辺32bの方が短く)形成されていることから、上記「ねじり応力T」が連結部24に作用すると、第1および第2連結部材50a、50bは、ポンプ本体取付部側端50a1、50b1の方が、モータ取付部側端50a2、50b2よりも大きくねじられる。同時に、当該「ねじり応力T」は、第1傾斜連結部材52aあるいは第2傾斜連結部材52bのいずれか一方に対する縦幅方向への「曲げ応力」として作用するので、傾斜連結部材52aあるいは52bのポンプ本体取付部20側端52a1、52b1は、ベース10の縦幅方向に曲げられる。
これに対し(図6参照)、第1連結部材50aおよび第2連結部材50bの縦幅は、モータ取付部22側よりもポンプ本体取付部20側の方が長く形成されているので、連結部材50a、50b全体を軽量化しつつ、連結部材50a、50bにおけるモータ取付部22側の断面二次モーメント(応力に対する変形しにくさを表す値であり、値が大きいほど変形しにくい)よりもポンプ本体取付部20側の断面二次モーメントを大きくして上記「ねじり」に対応できるとともに連結部材50a、50bとポンプ本体側辺32bとの連結部分への応力集中を回避することができ、加えて、第1傾斜連結部材52aおよび第2傾斜連結部材52bは、上記「曲げ応力」が作用する縦幅が、横幅よりも長く形成されているので、横幅を短くして傾斜連結部材52a、52b全体を軽量化しつつ、上記「曲げ応力」に耐えることのできる断面二次モーメントを確保することができる。なお、モータ16の回転方向として、ポンプ本体14の仕様等により、時計回りあるいは反時計回りが選択されるが、どちらを選択したとしても、一対の傾斜連結部材52a、52bのどちらかで「ねじり」に対応することができる。
このように、本発明によれば、連結部を構成する一対の連結部材および一対の傾斜連結部材の全体を軽量化しつつ、各部材を互いに連携させて「ねじり応力」に耐えられるようにしているので、限界まで軽量化しつつ、しかもベースに要求される機械的強度を満足することのできるポンプユニットのベースを供給することができる。
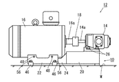
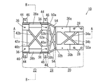
以下、本発明を図示実施例に従い説明する。本発明に係るベース10は、ポンプユニット12を取り付けるためのものであり、ダイカストマシンM(もちろん、ダイカストマシンに限られず、他の油圧機械であってもよい。)の側面下方に固定されている。図1は、ベース10にポンプユニット12を取り付けた状態を示す正面図であり、図2は、ベース10の平面図であり、図3は、図2におけるA−A線断面図であり、図4は、図2におけるB−B線断面図である。また、図5は、図2における連通部(後述)およびその周辺を拡大した図である。
ベース10に取り付けられるポンプユニット12について簡単に説明すると、ポンプユニット12は、大略、ポンプ本体14と、ポンプ本体14を駆動するためのモータ16と、ポンプ本体14の側面から突出する駆動軸14aおよび当該駆動軸14aに対向するモータ16の側面から突出する出力軸16aを連結するためのカップリング18とで構成されている。
ベース10は、ポンプ本体取付部20と、モータ取付部22と、連結部24とで構成されている。
ポンプ本体取付部20は、ポンプユニット12のポンプ本体14が取り付けられる平面視四角形状部分であり、ポンプ本体14をボルト26で固定するためのネジ穴28が天面に設けられ、図2中において左右方向に延びる一対の横枠材30a、30bと、横枠材30aにおける長手方向の一方端(以下、「枠材」の一方端あるいは他方端は、「枠材」の長手方向を基準する。)と横枠材30bの一方端とを連結する縦枠材32aと、横枠材30aの他方端と横枠材30bの他方端とを連結する縦枠材32bとを備えており、各枠材30a、30b、32a、32bがそれぞれポンプ本体取付部20を構成する一辺となる。以下では、モータ取付部22に対向する辺(=縦枠材32b)を「ポンプ本体側辺32b」ともいう。
また、横枠材30a、30bおよび縦枠材32a、32bで囲まれた内側には、横枠材30aの一方端と横枠材30bの他方端とを連結し、横枠材30aの他方端と横枠材30bの一方端とを連結する一対の斜材34a、34bが、中央でクロスするX字状にて一体的に設けられている。
モータ取付部22は、平面視四角形状に形成された、モータ16が取り付けられる部分であり、モータ16の大きさに合わせて、ポンプ本体取付部20よりも大きく形成されている。このモータ取付部22は、モータ16をボルト(図示せず)で固定するためのネジ穴36が天面に設けられ、図中において左右方向に延びる、断面略コ字状の一対の横枠材38a、38bと、横枠材38aの一方端と横枠材38bの一方端とを連結する縦枠材40aと、横枠材38aの他方端と横枠材38bの他方端とを連結する縦枠材40bとを備えており、各枠材38a、38b、40a、40bがそれぞれモータ取付部22を構成する一辺となる。以下では、ポンプ本体取付部20に対向する辺(=縦枠材40a)をモータ側辺40aともいう。また、縦枠材40aは、上述したポンプ本体取付部20を構成する辺の一つである縦枠材32bよりも長く、かつ、縦枠材32bに対向するように配設されている。
また、横枠材38a、38bおよび縦枠材40a、40bで囲まれた内側には、横枠材38aの一方端と横枠材38bの他方端とを連結し、横枠材38aの他方端と横枠材38bの一方端とを連結する一対の斜材42a、42bが、中央でクロスするX字状にて一体的に設けられている。
また、横枠材38a、38bの一方端および他方端における外側には、モータ取付部22を据付ボルト56でダイカストマシンMに取り付けるための孔44が設けられたブラケット46がそれぞれ突設されている。
さらに、横枠材38a、38bの一方端部および他方端部は上方に突出しており、その突出部分38a1、38b1には、外側面から内側面に貫通するネジ孔48が設けられている(図3参照)。これらネジ孔48に対して外側から内側に向けて押しボルト(図示せず)がねじ込まれており、当該押しボルトのねじ込み量を調節することにより、モータ16の取付位置を微調整することができるようになっている。
連結部24は、ポンプ本体取付部20およびモータ取付部22を連結する部分であり、縦枠材32bの一方端32b1(図5中の上側端)と、縦枠材40aの一方端40a1(図5中の上側端)とを連結する第1連結部材50a、縦枠材32bの他方端32b2(図5中の下側端)と、縦枠材40aの他方端40a2(図5中の下側端)とを連結する第2連結部材50b、縦枠材32bの一方端32b1と、縦枠材40aの他方端40a2とを連結する第1傾斜連結部材52a、および縦枠材32bの他方端32b2と、縦枠材40aの一方端40a1とを連結する第2傾斜連結部材52bを備えている。
また、第1連結部材50aの天面および第2連結部材50bの天面には、それぞれ略三角形状の補強部54が一体的に取り付けられており、連結部材50a、50bの縦幅は、モータ取付部22側よりもポンプ本体取付部20側の方が長く形成されている。
なお、本実施例では、連結部材50a、50bの縦幅は、連結部材50a、50bの中程ややモータ取付部22よりの位置からポンプ本体取付部20に向けて徐々に長くなるように設定されているが、もちろん、連結部材50a、50bのモータ取付部22側端部からポンプ本体取付部20に向けて徐々に長くなるように設定してもよく、また、ポンプ本体取付部20側端部だけが長くなるように設定してもよい。
次に、本実施例に係るポンプユニット12のベース10の作用効果について説明する。まず、ボルト26を用いて、ベース10のポンプ本体取付部20にポンプユニット12のポンプ本体14を固定する。そして、ベース10のモータ取付部22にモータ16を載置し、モータ取付部22のネジ孔48にねじ込まれた押しボルトのねじ込み量を調節して、モータ16の出力軸16aの軸心とポンプ本体14の駆動軸14aの軸心とを一致させた後、モータ16を固定する。最後に、モータ16の出力軸16aとポンプ本体14の駆動軸14aとをカップリング18で連結することにより、ポンプユニット12のベース10への取り付けが完了する。
ポンプユニット12が取り付けられたベース10は、モータ取付部22の横枠材38a、38bから突設されたブラケット46の孔44に据付ボルト56を挿通してダイカストマシンMに取り付けられる。
ダイカストマシンMを稼働させ、モータ16に電力が供給されると、モータ16の出力軸16aが回転し、カップリング18を介してモータ16からのトルク(回転力)がポンプ本体14に伝達され、加圧された圧油がダイカストマシンの射出シリンダ等(図示せず)に供給される。
ポンプ本体14が取り付けられたポンプ本体取付部20、およびモータ16が取り付けられたモータ取付部22は、それぞれポンプ本体14あるいはモータ16と一体になり、大きな応力を加えても変形しない「剛体」と考えることができるので、ベース10に作用する応力、例えば、何らかのトラブルによってポンプ本体14の駆動軸14aがロック状態となったとき、モータ16の出力軸16aから出力される大きなトルク(回転力)に起因して、ポンプ本体取付部20をモータ取付部22に対してモータ16の回転方向にねじる「ねじり応力T」は、ポンプ本体取付部20とモータ取付部22とを連結する連結部24に対して集中的に作用することになる。
モータ側辺40aは、ポンプ本体側辺32bよりも長く(つまり、ポンプ本体側辺32bの方が短く)形成されていることから、上記「ねじり応力T」が連結部24に作用すると、第1および第2連結部材50a、50bは、ポンプ本体取付部側端50a1、50b1の方が、モータ取付部側端50a2、50b2よりも大きくねじられる。同時に、当該「ねじり応力T」は、第1傾斜連結部材52aあるいは第2傾斜連結部材52bのいずれか一方に対する縦幅方向への「曲げ応力」として作用するので、傾斜連結部材52aあるいは52bのポンプ本体取付部20側端52a1、52b1は、ベース10の縦幅方向に曲げられる。
これに対し(図6参照)、第1連結部材50aおよび第2連結部材50bの縦幅は、モータ取付部22側よりもポンプ本体取付部20側の方が長く形成されているので、連結部材50a、50b全体を軽量化しつつ、連結部材50a、50bにおけるモータ取付部22側の断面二次モーメント(応力に対する変形しにくさを表す値であり、値が大きいほど変形しにくい)よりもポンプ本体取付部20側の断面二次モーメントを大きくして上記「ねじれ」に対応できるとともに連結部材50a、50bとポンプ本体側辺32bとの連結部分への応力集中を回避することができ、加えて、第1傾斜連結部材52aおよび第2傾斜連結部材52bは、上記「曲げ応力」が作用する縦幅が、横幅よりも長く形成されているので、横幅を短くして傾斜連結部材52a、52b全体を軽量化しつつ、上記「曲げ応力」に耐えることのできる断面二次モーメントを確保することができる。なお、モータ16の回転方向として、ポンプ本体14の仕様等により、時計回りあるいは反時計回りが選択されるが、どちらを選択したとしても、一対の傾斜連結部材52a、52bのどちらかで「ねじり」に対応することができる。
このように、ベース10によれば、連結部24を構成する一対の連結部材50a、50bおよび一対の傾斜連結部材52a、52bの全体を軽量化しつつ、各部材を互いに連携させて「ねじり応力T」に耐えられるようにしているので、限界まで軽量化しつつ、しかもベースに要求される機械的強度を満足することのできるポンプユニットのベースを供給することができる。
本発明に係るベースにポンプユニットを取り付けた状態を示す正面図である。 本発明に係るベースの平面図である。 図2のA−A線断面図である。 図2のB−B線断面図である。 図2における連結部およびその周辺を拡大した図である。 通常状態(実線)とねじり応力が作用した状態(二点鎖線線)とを示す連結部の斜視図である。 従来技術を示す正面図である。 図7に示す従来技術に係るベースの平面図である。 図8のC−C線断面図である。
符号の説明
10…ベース
12…ポンプユニット
14…ポンプ本体
16…モータ
18…カップリング
20…ポンプ本体取付部
22…モータ取付部
24…連結部
26…ボルト
28…ネジ穴
30a、30b…横枠材
32a、32b…縦枠材(ポンプ本体側辺32b)
34a、34b…斜材
36…ネジ穴
38a、38b…横枠材
40a、40b…縦枠材(モータ側辺40a)
42a、42b…斜材
44…孔
46…ブラケット
48…ネジ孔
50a…第1連結部材
50b…第2連結部材
52a…第1傾斜連結部材
52b…第2傾斜連結部材
54…補強部
56…据付ボルト

Claims (1)

  1. 平面視四角形状に形成されており、ポンプユニットのポンプ本体が取り付けられるポンプ本体取付部と、
    平面視四角形状に形成されるとともに、前記ポンプ本体取付部に並べて配設されており、前記ポンプユニットのモータが取り付けられるモータ取付部と、
    前記ポンプ本体取付部および前記モータ取付部を連結する連結部とを備えており、
    前記連結部は、
    前記ポンプ本体取付部における、前記モータ取付部に対向するポンプ本体側辺の一方端と、前記モータ取付部における、前記ポンプ本体取付部に対向して前記ポンプ本体側辺よりも長いモータ側辺の一方端とを連結する第1連結部材、
    前記ポンプ本体側辺の他方端と、前記モータ側辺の他方端とを連結する第2連結部材、
    前記ポンプ本体側辺の一方端と、前記モータ側辺の他方端とを連結する第1傾斜連結部材、および
    前記ポンプ本体側辺の他方端と、前記モータ側辺の一方端とを連結する第2傾斜連結部材を備えており、
    前記第1連結部材および前記第2連結部材の縦幅は、前記モータ取付部側よりも前記ポンプ本体取付部側の方が長く形成されており、
    前記第1傾斜連結部材および前記第2傾斜連結部材の縦幅は、横幅よりも長く形成されていることを特徴とするポンプユニットのベース。
JP2008271105A 2008-10-21 2008-10-21 ポンプユニットのベース Expired - Fee Related JP5209435B2 (ja)

Priority Applications (1)

Application Number Priority Date Filing Date Title
JP2008271105A JP5209435B2 (ja) 2008-10-21 2008-10-21 ポンプユニットのベース

Applications Claiming Priority (1)

Application Number Priority Date Filing Date Title
JP2008271105A JP5209435B2 (ja) 2008-10-21 2008-10-21 ポンプユニットのベース

Publications (2)

Publication Number Publication Date
JP2010101201A true JP2010101201A (ja) 2010-05-06
JP5209435B2 JP5209435B2 (ja) 2013-06-12

Family

ID=42292063

Family Applications (1)

Application Number Title Priority Date Filing Date
JP2008271105A Expired - Fee Related JP5209435B2 (ja) 2008-10-21 2008-10-21 ポンプユニットのベース

Country Status (1)

Country Link
JP (1) JP5209435B2 (ja)

Cited By (2)

* Cited by examiner, † Cited by third party
Publication number Priority date Publication date Assignee Title
JP2017036114A (ja) * 2015-08-10 2017-02-16 株式会社荏原製作所 ポンプシステムの吊り上げ方法、ポンプシステム
JP2021161895A (ja) * 2020-03-31 2021-10-11 テラル株式会社 回転機械・ベース組立体、ベース、及び、吊り上げ方法

Citations (9)

* Cited by examiner, † Cited by third party
Publication number Priority date Publication date Assignee Title
JPS51111203U (ja) * 1975-03-05 1976-09-08
JPS51137701U (ja) * 1975-04-30 1976-11-06
JPS54112601U (ja) * 1978-01-27 1979-08-08
JPS5515443U (ja) * 1978-07-19 1980-01-31
JPS58176342A (ja) * 1982-04-09 1983-10-15 株式会社奥村組 建造物の構築方法
JPS5920093U (ja) * 1982-07-29 1984-02-07 株式会社荏原製作所 ポンプベ−ス
JPH0642501A (ja) * 1992-07-22 1994-02-15 Daikin Ind Ltd 油圧ユニット
JPH09192577A (ja) * 1995-10-30 1997-07-29 Nordson Corp 取り外し可能な駆動機構を備えた溶融熱可塑性材料供給装置
JPH10318159A (ja) * 1997-05-20 1998-12-02 Atlas Copco Airpower Nv コンプレッサユニットの結合ピース

Patent Citations (9)

* Cited by examiner, † Cited by third party
Publication number Priority date Publication date Assignee Title
JPS51111203U (ja) * 1975-03-05 1976-09-08
JPS51137701U (ja) * 1975-04-30 1976-11-06
JPS54112601U (ja) * 1978-01-27 1979-08-08
JPS5515443U (ja) * 1978-07-19 1980-01-31
JPS58176342A (ja) * 1982-04-09 1983-10-15 株式会社奥村組 建造物の構築方法
JPS5920093U (ja) * 1982-07-29 1984-02-07 株式会社荏原製作所 ポンプベ−ス
JPH0642501A (ja) * 1992-07-22 1994-02-15 Daikin Ind Ltd 油圧ユニット
JPH09192577A (ja) * 1995-10-30 1997-07-29 Nordson Corp 取り外し可能な駆動機構を備えた溶融熱可塑性材料供給装置
JPH10318159A (ja) * 1997-05-20 1998-12-02 Atlas Copco Airpower Nv コンプレッサユニットの結合ピース

Cited By (2)

* Cited by examiner, † Cited by third party
Publication number Priority date Publication date Assignee Title
JP2017036114A (ja) * 2015-08-10 2017-02-16 株式会社荏原製作所 ポンプシステムの吊り上げ方法、ポンプシステム
JP2021161895A (ja) * 2020-03-31 2021-10-11 テラル株式会社 回転機械・ベース組立体、ベース、及び、吊り上げ方法

Also Published As

Publication number Publication date
JP5209435B2 (ja) 2013-06-12

Similar Documents

Publication Publication Date Title
JP5522118B2 (ja) モータ搭載構造
KR101244708B1 (ko) 측면 조립형 트랜스미션 마운트
KR20120060022A (ko) 전기차량 배터리 마운팅장치
US7748485B2 (en) Upper frame for construction equipment
JP5209435B2 (ja) ポンプユニットのベース
CN203229871U (zh) 单元式多变位梳齿板桥梁伸缩装置
CN101954852B (zh) 一种发动机托架前安装结构
CN215801611U (zh) 具有三组偏心模组的激振器及打桩机
EP4015874B1 (en) Box structure of speed reducer
KR20040084030A (ko) 핀이 구비된 면진베어링
CN201512003U (zh) 一种汽车水箱横梁加强结构
JP5612455B2 (ja) 乗客コンベア
CN215829416U (zh) 一种偏心块垂直排列的激振器及打桩机
JP2010173546A (ja) サスタワーバー
JP2008149888A (ja) パワープラントの支持構造
JP2010052667A (ja) 燃料タンクの固定構造
JP2009204081A (ja) ボルト結合方法
JP2009090881A (ja) ブラケット
KR20130000874A (ko) 충돌 성능 개선을 위한 파단형 티엠 마운트 브라켓
JP2009191585A (ja) ブレースダンパー
CN116397912A (zh) 一种铁塔基础加固结构及铁塔
CN213768255U (zh) 悬置安装支架总成
CN110184917A (zh) 一种插板式钢管混凝土拱桥吊索及其锚固装置和安装施工方法
CN203473166U (zh) 一种增力自行车中的扭矩限位装置
CN217814844U (zh) 一种液力变矩器机芯总成

Legal Events

Date Code Title Description
A621 Written request for application examination

Free format text: JAPANESE INTERMEDIATE CODE: A621

Effective date: 20111003

A521 Written amendment

Free format text: JAPANESE INTERMEDIATE CODE: A523

Effective date: 20120921

TRDD Decision of grant or rejection written
A977 Report on retrieval

Free format text: JAPANESE INTERMEDIATE CODE: A971007

Effective date: 20130117

A01 Written decision to grant a patent or to grant a registration (utility model)

Free format text: JAPANESE INTERMEDIATE CODE: A01

Effective date: 20130122

A61 First payment of annual fees (during grant procedure)

Free format text: JAPANESE INTERMEDIATE CODE: A61

Effective date: 20130221

FPAY Renewal fee payment (event date is renewal date of database)

Free format text: PAYMENT UNTIL: 20160301

Year of fee payment: 3

R150 Certificate of patent or registration of utility model

Ref document number: 5209435

Country of ref document: JP

Free format text: JAPANESE INTERMEDIATE CODE: R150

Free format text: JAPANESE INTERMEDIATE CODE: R150

LAPS Cancellation because of no payment of annual fees