JP2010094409A - 化粧料用容器 - Google Patents

化粧料用容器 Download PDF

Info

Publication number
JP2010094409A
JP2010094409A JP2008269684A JP2008269684A JP2010094409A JP 2010094409 A JP2010094409 A JP 2010094409A JP 2008269684 A JP2008269684 A JP 2008269684A JP 2008269684 A JP2008269684 A JP 2008269684A JP 2010094409 A JP2010094409 A JP 2010094409A
Authority
JP
Japan
Prior art keywords
container
cosmetic
edge
brush
base
Prior art date
Legal status (The legal status is an assumption and is not a legal conclusion. Google has not performed a legal analysis and makes no representation as to the accuracy of the status listed.)
Granted
Application number
JP2008269684A
Other languages
English (en)
Other versions
JP5358154B2 (ja
Inventor
Takahiro Kasai
孝浩 笠井
Kengo Arai
健吾 新井
Current Assignee (The listed assignees may be inaccurate. Google has not performed a legal analysis and makes no representation or warranty as to the accuracy of the list.)
Shinohara KK
Original Assignee
Shinohara KK
Priority date (The priority date is an assumption and is not a legal conclusion. Google has not performed a legal analysis and makes no representation as to the accuracy of the date listed.)
Filing date
Publication date
Application filed by Shinohara KK filed Critical Shinohara KK
Priority to JP2008269684A priority Critical patent/JP5358154B2/ja
Publication of JP2010094409A publication Critical patent/JP2010094409A/ja
Application granted granted Critical
Publication of JP5358154B2 publication Critical patent/JP5358154B2/ja
Active legal-status Critical Current
Anticipated expiration legal-status Critical

Links

Images

Landscapes

  • Containers And Packaging Bodies Having A Special Means To Remove Contents (AREA)

Abstract

【課題】アイライナー化粧料の筆状塗布具への付着作業を楽に行える化粧料用容器を提供する。
【解決手段】アイライナー化粧料を収容する容器1は、底面と側面を閉塞し上面を開放した容器本体2と、この容器本体2の開放上面を密閉する開閉可能な蓋体3とからなり、容器本体2内部には収容部9と台部を設け、前記台部と前記収容部9との境界となる収容部9の縦壁9a上端と台部の縁の境がアイライナー化粧料の扱き部であるエッジ11を形成するように構成する。そして、収容部9に収容した化粧料を別途用意した筆状塗布具の筆先に付着させ、扱き部であるエッジ11で余分な化粧料を扱き落とすとともに、台部上面で筆先を整形し、アイラインを引く。
【選択図】図1

Description

本発明は、アイライナー、口紅、ファンデーションなどの各種化粧料を収容するのに好適な化粧料用容器に係り、特に、収容した化粧料を筆やブラシなどに付着させて化粧を行うための化粧料用容器に関する。
従来、例えば化粧料を収容する容器としては、化粧料を収納する窪み及び筆状塗布具を収容する窪みを有する本体と、前記各窪みを開閉可能に被覆する二つのカバーとを備えたもの(特許文献1)が提案されている。この容器は、前記筆状塗布具の筆先に前記一方の窪みに収容されている化粧料の表面を擦って、化粧料を付着させ化粧を行うというものである。また、粘度の高い化粧料を収容する容器としては、有底筒状の容器本体と、前記容器本体内に収納する筆と一体化した筆付きキャップとからなるもの(特許文献2参照)が提案されている。この容器は、非使用時において前記筆が容器本体内の化粧料に挿入され浸かった状態となり、使用時においては一方の手に前記筆付きキャップを持ち、他方の手に前記容器本体を持って化粧をするように構成されている。また、容器本体内側の出口近傍に扱き部を設け、この扱き部で筆を引き抜く際に余分な化粧料を扱き落とし、さらに、前記扱き動作後の筆先の整形は、前記容器本体の口部縁や該口部内面を筆先で撫でるようにして行っていた。
特表2000−516481号公報 特開平09−103322号公報
前記特許文献1の化粧料用容器は、化粧時の筆状塗布具の筆先に余分に付着した化粧料を落とす動作、あるいは筆先を整形する動作を、それぞれ化粧料上面で行うので、上面部分の化粧料が意に反して余分に付着するため、思いどうりに付着量調整や筆先整形をすることが難しいという問題があった。
前記特許文献2の化粧料用容器は、扱き部が環状に形成されていて、この扱き部を通過するまでは筆先は視認できないので、筆先を見ながら扱き操作をすることができず、筆先に付着した液量を確認しにくいうえ、筆先を整形する際、容器本体の口部外側、口部縁及び口部内側などに液状化粧料が付着して汚れるという不都合もある。
本発明は、前記問題や不都合を解消することを課題とし、この課題を解決した化粧料用容器を提供することを目的とする。
前記目的を達せするために、請求項1に係る発明は、底面と側面を閉塞し上端を開放した容器本体と、この容器本体の開放上面を密閉する開閉可能な蓋体とからなる状化粧料を収納する容器であって、容器本体内部に収容部と台部を設け、前記台部の所定部分には扱き部を設けたものである。
また、請求項2に係る本発明は、請求項1記載の発明において、扱き部を、側部から中央に向けて張り出した台部のエッジで構成したことを特徴とするものである。
さらに、請求項3に係る本発明は、請求項1又は請求項2記載の発明において、扱き部を、側部から中央に向けて張り出した台部に形成した窪みで構成することを特徴とするものである。
請求項1に係る本発明は、扱き部で余分な化粧料を除去するとともに、台部で筆先整形作業を行うので、従来の特許文献1の容器のように余分な化粧料が付着することがなく、また、特許文献2の容器のように、収容部縁や収容部外側が汚れないうえ、扱き部が目で見えるので、適量となるよう筆先の化粧料を確実に扱き落とすことができるという効果を奏する。
また、請求項2に係る本発明は、請求項1に係る発明の効果に加えて、側部から中央に向けて張り出した台部のエッジで余分な化粧料を確実に扱き落とすことができるという効果を奏する。
さらに、請求項3に係る本発明は、請求項1又は請求項2に係る発明の効果に加えて、側部から中央に向けて張り出した台部に形成した窪みで余分な化粧料を確実に扱き落とすことができるという効果を奏する。
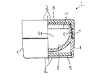
次に、本発明をアイライナー化粧料の容器に適用した好適な第1の実施形態を添付図面の図1〜図3に基づいて詳細に説明する。ここにおいて図1は容器の部分縦断面図、図2は容器本体の平面図、図3は図2のA−A線断面図である。
図1に示すように、容器1は、容器本体2と蓋体3とからなり、前記容器本体2は、上面を開放し、側壁4と底板5を有し、前記側壁4上部に雄螺旋6を設けてなり、また、前記蓋体3には、前記容器本体2の雄螺旋6に螺合する雌螺旋7を設け、その天部内面には容器本体2上縁に圧接する密閉用のパッキン8を設けてある。
図2及び図3に示すように、容器本体2内側には、アイライナー化粧料(図示せず)の収容部9と、この収容部9に連続して形成した台部10とを設け、前記台部10と収容部9との境界となる収容部9の縦壁9a上端と台部10の縁の境がアイライナー化粧料の扱き部であるエッジ11を形成する。前記台部10上面は、前記エッジ11から側壁4に向けて若干傾斜させてある。前記収容部9と台部10は、前記側壁4と一体的に形成されている。
図2及び図3に示すように、前記台部10上面は、筆状塗布具(図示せず)の筆先を整えるためのものであり、またエッジ11は、先端が鋭角で全体が湾曲形状に伸びている。
上記アイライナー化粧料用の容器1を用いてアイライナーを引くには、蓋部3を外した容器本体2をテーブル(図示せず)に載置し、あるいは手に持ち、収容部9に収容したアイライナー化粧料を別途用意した筆状塗布具の筆先に付着させ、筆先を収容部9側に向けて扱き部であるエッジ11で余分なアイライナー化粧料を扱き落し、適量のアイライナー化粧料が付着した筆先でアイラインを引く。そして、前記扱き動作によって扱き落とされたアイライナー化粧料はエッジ11に連続する縦壁9aに沿って収容部9に戻る。
続いて、本発明をアイライナー化粧料を収容する容器に適用した第2の実施形態を添付図面の図4〜図6に基づいて説明する。ここにおいて、図4は容器の部分縦断面図、図5は容器本体の平面図、図6は図2のB−B線断面図である。
図4に示すように、容器21は、容器本体22と蓋体23とからなり、前記容器本体22は、上面を開放し、側壁24と底板25を有し、前記側壁24上部に雄螺旋26を設けてなり、また、前記蓋体23には、前記容器本体22の雄螺旋26に螺合する雌螺旋27を設け、その天部内面には容器本体22上縁に圧接する密閉用のパッキン28を設けてある。
図5及び図6に示すように、容器本体22は、アイライナー化粧料(図示せず)の収容部29と、この収容部29に連続して形成した台部30とを設け、前記台部30と収容部29との境界となる収容部29の縦壁29a上端と台部30の縁の境がアイライナー化粧料の扱き部であるエッジ31を形成する。前記台部30上面は、前記エッジ31から側壁24に向けて若干傾斜させてある。また、前記台部30には、収容部29との境界部分であるエッジ31中央にその開口端部32aが位置する扱き部である窪み32を設けてある。前記収容部29と台部30は、前記側壁24と一体的に形成されている。
図5及び図6に示すように、台部30上面は、筆状塗布具(図示せず)の筆先を整えるためのものであり、またエッジ31は、先端が鋭角で全体が湾曲形状に伸びている。本実施例では、前記エッジ31と、その中央部に設けた窪み32が扱き部であり、これら扱き部で筆塗布具の筆先を扱くことが可能である。
上記アイライナー化粧料用の容器21を用いてアイライナーを引くには、蓋部23を外した容器本体22をテーブル(図示せず)に載置し、あるいは手に持ち、収容部29に収容したアイライナー化粧料を別途用意した筆状塗布具の筆先に付着させ、筆先を収容部29側に向けて扱き部であるエッジ31、又は窪み32の周縁で余分なアイライナー化粧料を扱き落し、適量のアイライナー化粧料が付着した筆先でアイラインを引く。そして、扱き動作によって扱き落とされたアイライナー化粧料はエッジ31及び窪み32の開口端部32aに連続する縦壁29aに沿って収容部29に戻る。
なお、本発明は上記各実施形態になんら限定されるものではなく、例えば、適用する化粧料は、アイライナーに代えて口紅やファンデーションなどであってもよい。また、扱き部は、エッジではなく台部10,30の上面に突起などを形成して構成してもよい。さらに、第2の実施形態においては、エッジ31は設けなくてもよいほか、窪み32は複数設けてもよい。またさらに、前記各実施形態では、本体容器をメイン部分と別途パーツの底板とで構成しているが、一体形成による単一パーツで構成してもよい。
第1実施形態における容器の部分縦断面図。 同じく容器本体の平面図。 同じく図2のA−A線断面図。 第2の実施形態における容器の部分縦断面図。 同じく容器本体の平面図。 同じく図5のB−B線断面図。
符号の説明
1 容器
2 容器本体
3 蓋体
4 側壁
5 底板
6 雄螺旋
7 雌螺旋
8 パッキン
9 収容部
9a 縦壁
10 台部
11 エッジ
21 容器
22 容器本体
23 蓋体
24 側壁
25 底板
26 雄螺旋
27 雌螺旋
28 パッキン
29 収容部
29a 縦壁
30 台部
31 エッジ
32 窪み
32a 開口端部

Claims (3)

  1. 底面と側面を閉塞し上端を開放した容器本体と、この容器本体の開放上面を密閉する開閉可能な蓋体とからなる化粧料を収納する容器であって、容器本体内部に収容部と台部を設け、前記台部の所定部分には扱き部を設けたことを特徴とする化粧料用容器。
  2. 扱き部は、側部から中央に向けて張り出した台部のエッジで構成したことを特徴とする請求項1記載の化粧料用容器。
  3. 扱き部は、側部から中央に向けて張り出した台部に形成した窪みで構成することを特徴とする請求項1又は請求項2記載の化粧料用容器。
JP2008269684A 2008-10-20 2008-10-20 化粧料用容器 Active JP5358154B2 (ja)

Priority Applications (1)

Application Number Priority Date Filing Date Title
JP2008269684A JP5358154B2 (ja) 2008-10-20 2008-10-20 化粧料用容器

Applications Claiming Priority (1)

Application Number Priority Date Filing Date Title
JP2008269684A JP5358154B2 (ja) 2008-10-20 2008-10-20 化粧料用容器

Publications (2)

Publication Number Publication Date
JP2010094409A true JP2010094409A (ja) 2010-04-30
JP5358154B2 JP5358154B2 (ja) 2013-12-04

Family

ID=42256511

Family Applications (1)

Application Number Title Priority Date Filing Date
JP2008269684A Active JP5358154B2 (ja) 2008-10-20 2008-10-20 化粧料用容器

Country Status (1)

Country Link
JP (1) JP5358154B2 (ja)

Cited By (4)

* Cited by examiner, † Cited by third party
Publication number Priority date Publication date Assignee Title
JP2011120686A (ja) * 2009-12-09 2011-06-23 Shinohara:Kk 化粧料用容器の中蓋
JP2013094441A (ja) * 2011-11-01 2013-05-20 Tokiwa Corp 化粧料容器
JP2016113201A (ja) * 2014-12-18 2016-06-23 ケイミュー株式会社 液体収納容器
JP2020000738A (ja) * 2018-06-29 2020-01-09 株式会社吉野工業所 塗布液用容器

Families Citing this family (1)

* Cited by examiner, † Cited by third party
Publication number Priority date Publication date Assignee Title
JP2017055895A (ja) * 2015-09-15 2017-03-23 日栄樹脂工業株式会社 化粧料用容器及びその製造用金型装置。

Citations (3)

* Cited by examiner, † Cited by third party
Publication number Priority date Publication date Assignee Title
JPS6129620U (ja) * 1984-07-28 1986-02-22 益山興業株式会社 アイライナ用容器
JPH0330922U (ja) * 1989-07-31 1991-03-26
JP2004222852A (ja) * 2003-01-21 2004-08-12 Yoshida Industry Co Ltd 化粧料容器

Patent Citations (3)

* Cited by examiner, † Cited by third party
Publication number Priority date Publication date Assignee Title
JPS6129620U (ja) * 1984-07-28 1986-02-22 益山興業株式会社 アイライナ用容器
JPH0330922U (ja) * 1989-07-31 1991-03-26
JP2004222852A (ja) * 2003-01-21 2004-08-12 Yoshida Industry Co Ltd 化粧料容器

Cited By (5)

* Cited by examiner, † Cited by third party
Publication number Priority date Publication date Assignee Title
JP2011120686A (ja) * 2009-12-09 2011-06-23 Shinohara:Kk 化粧料用容器の中蓋
JP2013094441A (ja) * 2011-11-01 2013-05-20 Tokiwa Corp 化粧料容器
JP2016113201A (ja) * 2014-12-18 2016-06-23 ケイミュー株式会社 液体収納容器
JP2020000738A (ja) * 2018-06-29 2020-01-09 株式会社吉野工業所 塗布液用容器
JP7120830B2 (ja) 2018-06-29 2022-08-17 株式会社吉野工業所 塗布液用容器

Also Published As

Publication number Publication date
JP5358154B2 (ja) 2013-12-04

Similar Documents

Publication Publication Date Title
KR101703699B1 (ko) 주름관이 형성된 와이퍼를 구비한 손가락 삽입 마스카라 용기
US10881187B2 (en) Finger insertion mascara container provided with elastic slit part
CN206079476U (zh) 具有内部容器和内部容器盖密封结构的化妆品容器
KR20100001116U (ko) 주걱 보관이 가능한 내뚜껑을 갖는 크림타입 화장품 용기
JP5358154B2 (ja) 化粧料用容器
JP2011000444A (ja) 塗布ローラを有するパッケージ及び塗布器のデバイス
JP5518451B2 (ja) 化粧料用容器の中蓋
KR101855918B1 (ko) 도포부재를 갖는 화장품 용기
JP6383052B1 (ja) 化粧料容器
US20080138140A1 (en) Nail works
KR20110079997A (ko) 피스톤이 적용된 액상 화장품 용기
KR102310817B1 (ko) 내용물 용기
KR20170062560A (ko) 러버패드의 견고한 고정이 가능한 파운데이션 용기
JP2004106932A (ja) 商品容器
JP7421940B2 (ja) 塗布容器
KR20190115582A (ko) 퍼프지지부를 구비한 화장품 용기
JP4449032B2 (ja) 塗布具付き容器
JP6955742B2 (ja) 化粧料簡易容器
KR200444071Y1 (ko) 뚜껑이 분할개폐되는 화장품팔레트
JP5857313B2 (ja) 化粧料容器
JPS6241701Y2 (ja)
JP3224162U (ja) すぐに使える化粧品パッケージ
CN209031377U (zh) 内容物容器
KR20190008682A (ko) 화장품 용기
JP2005080730A (ja) 塗布具付き容器

Legal Events

Date Code Title Description
A621 Written request for application examination

Free format text: JAPANESE INTERMEDIATE CODE: A621

Effective date: 20111019

A977 Report on retrieval

Free format text: JAPANESE INTERMEDIATE CODE: A971007

Effective date: 20130523

A131 Notification of reasons for refusal

Free format text: JAPANESE INTERMEDIATE CODE: A131

Effective date: 20130529

A521 Request for written amendment filed

Free format text: JAPANESE INTERMEDIATE CODE: A523

Effective date: 20130726

TRDD Decision of grant or rejection written
A01 Written decision to grant a patent or to grant a registration (utility model)

Free format text: JAPANESE INTERMEDIATE CODE: A01

Effective date: 20130821

A61 First payment of annual fees (during grant procedure)

Free format text: JAPANESE INTERMEDIATE CODE: A61

Effective date: 20130902

R150 Certificate of patent or registration of utility model

Ref document number: 5358154

Country of ref document: JP

Free format text: JAPANESE INTERMEDIATE CODE: R150

Free format text: JAPANESE INTERMEDIATE CODE: R150

R250 Receipt of annual fees

Free format text: JAPANESE INTERMEDIATE CODE: R250

R250 Receipt of annual fees

Free format text: JAPANESE INTERMEDIATE CODE: R250

R250 Receipt of annual fees

Free format text: JAPANESE INTERMEDIATE CODE: R250

R250 Receipt of annual fees

Free format text: JAPANESE INTERMEDIATE CODE: R250

R250 Receipt of annual fees

Free format text: JAPANESE INTERMEDIATE CODE: R250

R250 Receipt of annual fees

Free format text: JAPANESE INTERMEDIATE CODE: R250

R250 Receipt of annual fees

Free format text: JAPANESE INTERMEDIATE CODE: R250

R250 Receipt of annual fees

Free format text: JAPANESE INTERMEDIATE CODE: R250

R250 Receipt of annual fees

Free format text: JAPANESE INTERMEDIATE CODE: R250

R250 Receipt of annual fees

Free format text: JAPANESE INTERMEDIATE CODE: R250