JP2004106932A - 商品容器 - Google Patents

商品容器 Download PDF

Info

Publication number
JP2004106932A
JP2004106932A JP2002276038A JP2002276038A JP2004106932A JP 2004106932 A JP2004106932 A JP 2004106932A JP 2002276038 A JP2002276038 A JP 2002276038A JP 2002276038 A JP2002276038 A JP 2002276038A JP 2004106932 A JP2004106932 A JP 2004106932A
Authority
JP
Japan
Prior art keywords
lid
container
product
prize
cap
Prior art date
Legal status (The legal status is an assumption and is not a legal conclusion. Google has not performed a legal analysis and makes no representation as to the accuracy of the status listed.)
Pending
Application number
JP2002276038A
Other languages
English (en)
Inventor
Katsuro Hina
比那 勝郎
Current Assignee (The listed assignees may be inaccurate. Google has not performed a legal analysis and makes no representation or warranty as to the accuracy of the list.)
Pieras Co Ltd
Original Assignee
Pieras Co Ltd
Priority date (The priority date is an assumption and is not a legal conclusion. Google has not performed a legal analysis and makes no representation as to the accuracy of the date listed.)
Filing date
Publication date
Application filed by Pieras Co Ltd filed Critical Pieras Co Ltd
Priority to JP2002276038A priority Critical patent/JP2004106932A/ja
Publication of JP2004106932A publication Critical patent/JP2004106932A/ja
Pending legal-status Critical Current

Links

Images

Landscapes

  • Toys (AREA)
  • Closures For Containers (AREA)

Abstract

【課題】消費者の商品購買意欲を刺激しうる商品価値の高い景品付商品を提供するための商品容器を提供する。
【解決手段】商品を収容する容器本体1に、第1の蓋体2が取り付けられている。この第1の蓋体2には、透明な第2の蓋体3が着脱自在に取り付けられている。前記第1の蓋体2の上方において、前記第2の蓋体3内に、景品収容空間5が形成されてなり、この景品収容空間5に景品4が収容されている。
【選択図】 図1

Description

【0001】
【発明の属する技術分野】
この発明は、例えば、マニキュア、マスカラ、リップバーム等の化粧品その他の商品を収容する商品容器に関する。
【0002】
【従来の技術】
例えば、上記のような化粧品容器は、一般に、化粧品を収容するガラスや樹脂製等の容器本体に、開口部を閉塞する蓋体が取り付けられた状態で販売等に供せられている。
【0003】
このような容器入りの商品について、消費者の購買意欲を増すために、商品に景品を付して販売することが行われている。
【0004】
【発明が解決しようとする課題】
しかしながら、従来では、単に付属の景品を商品と共に箱や袋に収容したにすぎないものであったため、消費者の購買意欲を刺激するにはいささか物足りないものであった。
【0005】
この発明は、このような事情に鑑みてなされたものであって、消費者の商品購買意欲を刺激しうる商品価値の高い景品付商品を提供するための商品容器の提供を目的とする。
【0006】
【課題を解決するための手段】
上記課題を解決するために、この発明の一つは、商品を収容する容器本体と、前記容器本体に取り付けられた第1の蓋体と、前記第1の蓋体に着脱自在に取り付けられた透明な第2の蓋体と、を備え、前記第1の蓋体の上方において、前記第2の蓋体内に、景品収容空間が形成されてなることを特徴とする商品容器にある。
【0007】
この商品容器では、第1の蓋体の上方における第2の蓋体内に景品収容空間が形成されているから、この空間に景品を収容することで、景品が商品に一体的に保持されて景品の収まりが良い上、第2の蓋体が透明であることから、前記景品収容空間に収容される景品を外部から視認することができ、見栄えが良くなり、商品価値の高い商品の提供が可能となる。また、商品の使用後も、景品等を景品収容空間に収容しておくことにより、装飾容器としても使用できる。
【0008】
前記の商品容器において、前記第2の蓋体のみの操作によって前記容器本体に対する前記第1の蓋体の着脱を行いうるように、第2の蓋体が第1の蓋体に係合した状態に取り付けられてなるものとするのがよい。これにより、第2の蓋体を把持して第1の蓋体の容器本体に対する着脱を行いうるから、操作性の良いものとなる。
【0009】
この場合、前記第1の蓋体の外周面に1個または複数個の凸部または凹部が形成されるとともに、前記第2の蓋体の端部内周面には、前記凸部または凹部に嵌合可能な1個または複数個の凹部または凸部が形成され、前記各蓋体の凸部と凹部とが嵌合されることにより、第1の蓋体と第2の蓋体とが少なくとも周方向において係合している構成としても良い。
【0010】
この構成によれば、第1、第2の蓋体同士を簡易な構成で周方向に係合させることができ、従って、例えば内側キャップがねじ込み方式により容器本体に取り付けられている場合には、外側キャップの操作のみで内側キャップを容易に取り外しあるいは取り付けることができる。
【0011】
また、前記の商品容器において、景品収容空間に景品が収容されてなる場合には、消費者の商品購買意欲を刺激する商品価値の高い商品となしうる。
【0012】
また、この発明の他のものは、商品を収容する容器本体と、前記容器本体の開口部を閉塞する透明な第1の蓋体と、前記容器本体内に収容される商品に取り付けられた第2の蓋体と、を備え、前記第2の蓋体の上方において、前記第1の蓋体内に、景品収容空間が形成されてなることを特徴とする商品容器にある。
【0013】
この商品容器では、第2の蓋体の上方における第1の蓋体内、換言すれば、第1の蓋体と第2の蓋体とで囲まれた領域内に、景品収容空間が形成されているから、この空間に景品を収容することで、景品が商品に一体的に保持されて景品の収まりが良い上、第1の蓋体が透明であることから、前記景品収容空間に収容される景品を外部から視認することができ、見栄えが良くなり、商品価値の高い商品の提供が可能となる。。
【0014】
この商品容器において、前記景品収容空間に景品が収容されてなる場合には、消費者の商品購買意欲を刺激する商品価値の高い商品となし得る。
【0015】
【発明の実施の形態】
次に、この発明の一実施形態を図面を参照しつつ説明する。
【0016】
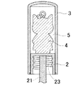
図1〜図5は、この発明の第1実施形態である化粧品容器を示すもので、図1は、各構成部品を取り外した状態の斜視図、図2は各構成部品を取り付けた状態の正面図、図3は図2における内側キャップと外側キャップのみについてのIII−III線断面図、図4は図3のIV−IV線断面図、図5は外側キャップの底面図である。
【0017】
図1〜図5に示した化粧品容器は、球形状の容器本体1と、第1の蓋体としての内側キャップと、第2の蓋体としての外側キャップ3と、景品としてのキャラクタ人形4とを備えている。
【0018】
前記容器本体1は、上端部が開口しかつ外周面に雄ねじ部11が形成された断面円形の短筒状首部12を一体に有するもので、透明なガラスあるいは樹脂などで製作されている。そして、容器本体内1には、前記首部12の開口部12aからマニキュア等の化粧用液体が注入充填されている。
【0019】
前記内側キャップ2の上壁内面には、内側キャップの高さ方向(下方)に延びた棒状部21が一体に突設され、この棒状部21の先端に刷毛部22が設けられている。また、内側キャップ2の内周面には、前記首部12の雄ねじ部11に対応する雌ねじ部23が形成され、この雌ねじ部23を、前記首部12の雄ねじ部11に螺合することにより、前記刷毛部22及び棒状部21を容器本体1内に臨ませた状態で、内側キャップ2が容器本体1に取り付けられている。
【0020】
また、前記内側キャップ2の外周面には、内側キャップ2の高さ方向ほぼ全域にわたって延びる凹条と凸条とが内側キャップ2の周方向全体に交互に繰り返されてなる凹凸部24が形成されている。
【0021】
前記外側キャップ3は、前記内側キャップ2の外周面に嵌め込まれるものであり、透明な樹脂等からなるとともに、一端部(下端部)が開口し他端部(上端部)が閉塞した断面円形の筒状をなしている。また、外側キャップ3の前記一端開口部の内径寸法は、内側キャップ2に外嵌めし得るように、内側キャップ2の外径寸法よりもわずかに大きく設定されている。かつ、外側キャップ3の開口部31近傍の内周面には、外側キャップ3の高さ方向に延びる凸条32が、周方向に1個または間隔を置いて複数個設けられている。この凸条32は、外側キャップ3を内側キャップ2に嵌め込んだ際に、前記内側キャップ2の凹凸部24における凹条に嵌まり込んで、両キャップ2、3を周方向に係合させる役割を果たすものである。このために、前記外側キャップ3の凸条32は、内側キャップ2の凹凸部24における凹条の深さにほぼ対応した突出高さに設定されている。
【0022】
そして、前記外側キャップ3が、その凸条32と内側キャップ2の凹凸部24における凹条とが嵌まり込んだ状態に、外側キャップ3の一端開口部31において前記内側キャップ2に外嵌めされている。従って、外側キャップ3を周方向に回動させると、外側キャップ3に係合した内側キャップ2も外側キャップ3と一体的に回動し、これにより、外側キャップ3の操作のみで内側キャップ2を緩めて容器本体1から取り外し、あるいは容器本体1に取り付けて内側キャップ2を固く締め付けることができるものとなされている。かつ、この係合により、高さ方向(外側キャップ3の抜き方向)においても内外両キャップ2、3は分離可能に圧接係合している。
【0023】
また、前記外側キャップ3は、高さ方向の下端部内径が径大にそれよりも上側の部位の内径が径小に形成されることにより、高さ方向の下端部内周面に、リング状の段部33が形成されており、外側キャップ3を内側キャップ2に嵌合したときに、段部33が内側キャップ2の上端部周縁に当接するようになっており、これにより外側キャップの被せ量が常に一定量に規制されるものとなされている。
【0024】
さらに、前記外側キャップ3の高さ寸法は、前記内側キャップの高さ寸法よりも大きく設定されている。従って、外側キャップ3を内側キャップ2に嵌合した状態では、内側キャップ2の上方における外側キャップ3内、換言すれば、内側キャップ2と外側キャップ3とで囲まれた空間内に、景品収容空間であるキャラクタ人形収容空間5が形成されており、このキャラクタ人形収容空間5に前記キャラクタ人形4が収容されている。また、前述したように、外側キャップ3は透明であるから、キャラクタ人形収容空間5に収容された前記キャラクタ人形4を、外側キャップ3を通して外部から視認できるものとなされている。
【0025】
前記キャラクタ人形4は、一端部(下端部)を内側キャップ2の上面に接着剤、粘着剤などで軽度に接合されており、商品購入者が必要に応じて、外側キャップ3を取り外したのちキャラクタ人形4を取り外すことができるようになっている。そして、この実施形態では、取り外したキャラクタ人形4をキーホルダ等に装着できるように、キャラクタ人形4にリング状の取り付け部41が設けられている。
【0026】
次に、図示実施形態に係る化粧品容器の製造及び使用について説明する。
【0027】
容器本体1に化粧用液体等を収容したのち、内側キャップ2を取り付ける。次いで、内側キャップ2の上面に、接着剤や粘着剤等によりキャラクタ人形4を軽く固定したのち、外側キャップ3をキャラクタ人形4に被せたのち、外側キャップ3を、その内周面の凸条32と内側キャップ2外周面の凹凸部24の凹条とが嵌まり合うように内側キャップ2に押し込んで取り付け、商品とする。この際、内側キャップ2の外周面の周方向全域に、凹条と凸条とが交互に連続して形成されているから、外側キャップ3の凸条32と内側キャップ2の凹凸部24の凹条との嵌め合わせを全く意識することなく、両キャップを簡単に嵌め合わせることができる。
【0028】
この商品においては、外側キャップ3内のキャラクタ人形4は、容器本体1と一体的に保持されているから、消費者はキャラクタ人形4を含む全体を1つの商品として把握でき、透明な外側キャップ3を通して外側キャップ3内のキャラクタ人形4を視認できることとも相俟って、消費者の購買意欲を刺激し、商品価値の高い化粧品となる。
【0029】
一方、この商品を購入した消費者は、使用に際しては外側キャップ3を把持して回すと、内側キャップ2も一体に回動するから、高さの高い外側キャップ3のみの操作で内側キャップ2の取り外し、取り付けが可能となるとともに、外側キャップ3のみの操作で、刷毛部22による化粧用液体の化粧部位へ塗り込みなどが可能となる。しかも、必要に応じて、外側記キャップ3を内側キャップ2から抜くとともに、キャラクタ人形4を内側キャップ2から分離してキーホルダ等に取り付けることができる。また、キャラクター人形4を取り外すことなく、商品の使用済み後は、容器を装飾品として用いることもできる。
【0030】
なお、上記の第1実施形態では、外側キャップ3の内周面に凸条32を内側キャップ2の外周面に凹条を設けて、これらが嵌まり合うように両キャップ2、3を取り付けた場合を示した。しかし、両キャップの係合の態様はこれに限定されることはない。例えば、外側キャップに複数個の凸条を設けるとともに、内側キャップには全周ではなく間隔的に複数個の凹条を設け、これら凸条と凹条とを嵌合させても良い。また、凹部と凸部とを逆にしても良い。さらには、いずれか一方のみに凸条を設けて、あるいは凸条や凹条を全く設けることなく、両キャップを圧接密着状態に係合させることにより、外側キャップ3の操作によって内側キャップの着脱を行いうるようにしても良い。
【0031】
また、外側キャップ3と内側キャップ2とを係合させることなく相互にフリーな状態で外側キャップ3を内側キャップ2に被せたものであっても良い。
【0032】
また、内側キャップ2は容器本体1にねじ込まれて固定された場合を示したが、内側キャップ2は容器本体1の一部に着脱自在に被せた状態に取り付けられるものであっても良い。
【0033】
図6及び図7は、この発明の第2の実施形態を示すものである。
【0034】
この実施形態では、有底円筒状の容器本体110の開口端部111に、第1の蓋体としての容器本体用キャップ120が、凹凸嵌合方式により取り付けられている。この容器本体110及び容器本体用キャップ120は、いずれも透明樹脂等の素材によって製作されている。また、容器本体110の内部には、ペンシル形の化粧具130が収容されている。このペンシル形化粧具130における前記容器本体用キャップ120側の端部には、透明な筒状の仕切用キャップ140が被せられている。そして、この仕切用キャップ140と前記容器本体用キャップ120とで囲まれた領域に、キャラクター人形収容空間150が形成されている。
【0035】
そして、前記キャラクター人形収容空間150に、一端を前記仕切用キャップ140に接着剤や粘着剤等で分離可能に軽く接合されたキャラクター人形160が収容されている。
【0036】
この実施形態においても、容器本体用キャップ120は透明であるから、第1の実施形態と同様に、キャラクター人形160を外部から視認することができ、消費者の購買意欲を刺激し、商品価値の高いものとなし得る。また、この商品を購入した消費者は、前記キャラクター人形160を仕切用キャップ140から取り外して、リング状の取り付け部161を介してキーホルダー等に取り付けることができる。また、キャラクター人形160を取り外すことなく、商品の使用済み後は、容器を装飾品として用いることもできる。
【0037】
以上、本発明の一実施形態を説明したが、本発明はこれら実施形態に限定されることはない。例えば、景品としてキャラクター人形を用いた場合を示したが、その他のキャラクターグッズでも良いし、アクセサリー類でも良いし、他の景品でも良い。
【0038】
また、容器本体1、110の形状や構造は上記実施形態に限定されることはないし、キャップ2、3、120、140の形状も何ら限定されることはない。
【0039】
【発明の効果】
この発明は上述の次第で、商品を収容する容器本体と、前記容器本体に取り付けられた第1の蓋体と、前記第1の蓋体に着脱自在に取り付けられた透明な第2の蓋体と、を備え、前記第1の蓋体の上方において、前記第2の蓋体内に、景品収容空間が形成されてなることを特徴とするから、第1の蓋体に取り付けられた第2の蓋体内に景品収容空間が形成されており、この空間に景品を収容することで、景品が商品に一体的に保持されて景品の収まりが良くなる。しかも、第2の蓋体が透明であることから、前記景品収容空間に収容される景品を外部から視認することができ、見栄えが良くなり、商品価値の高い商品の提供が可能となる。また、商品の使用後も、景品等を景品収容空間に収容しておくことにより、装飾容器としても使用でき、実用的価値のある商品容器となし得る。
【0040】
また、前記の商品容器において、前記第2の蓋体のみの操作によって前記容器本体に対する前記第1の蓋体の着脱を行いうるように、第2の蓋体が第1の蓋体に係合した状態に取り付けられてなるものである場合には、第2の蓋体を把持して第1の蓋体の容器本体に対する着脱を行いうるから、高い商品価値に加えて操作性の良い商品の提供が可能となる。
【0041】
また、前記の商品容器において、前記第1の蓋体の外周面に1個または複数個の凸部または凹部が形成されるとともに、前記第2の蓋体の端部内周面には、前記凸部または凹部に嵌合可能な1個または複数個の凹部または凸部が形成され、前記各蓋体の凸部と凹部とが嵌合されることにより、第1の蓋体と第2の蓋体とが少なくとも周方向において係合しているものとなされている場合には、第1、第2の蓋体同士を簡易な構成で確実に周方向に係合させることができる。従って、例えば内側キャップがねじ込み方式により容器本体に取り付けられている場合には、外側キャップの操作のみで内側キャップを容易に取り外しあるいは取り付けることができる。
【0042】
また、前記の商品容器において、景品収容空間に景品が収容されてなる場合には、消費者の商品購買意欲を刺激する商品価値の高い商品となしうる。
【0043】
また、商品を収容する容器本体と、前記容器本体の開口部を閉塞する透明な第1の蓋体と、前記容器本体内に収容された商品に取り付けられた第2の蓋体と、を備え、前記第2の蓋体の上方において、前記第1の蓋体内に、景品収容空間が形成されてなることを特徴とする商品容器にあっては、第1の蓋体と第2の蓋体とで囲まれた領域内に、景品収容空間が形成されているから、この空間に景品を収容することで、景品が商品に一体的に保持されて景品の収まりが良いものとなしうる。加えて、第1の蓋体が透明であることから、前記景品収容空間に収容される景品を外部から視認することができ、見栄えが良くなり、商品価値の高い商品の提供が可能となる。。
【0044】
この商品容器において、前記景品収容空間に景品が収容されてなる場合には、消費者の商品購買意欲を刺激する商品価値の高い商品となし得る。
【図面の簡単な説明】
【図1】この発明の一実施形態に係る商品容器を示すもので、各構成部品を取り外した状態の斜視図である。
【図2】同じく各構成部品を取り付けた状態の正面図である。
【図3】図2における内側キャップと外側キャップのみについてのIII−III線断面図である。
【図4】図3のIV−IV線断面図である。
【図5】外側キャップの底面図である。
【図6】この発明の他の実施形態に係る商品容器を示すもので、各構成部品を取り外した状態の斜視図である。
【図7】同じく各構成部品を取り付けた状態の斜視図である。
【符号の簡単な説明】
1・・・・・容器本体
2・・・・・内側キャップ(第1の蓋体)
3・・・・・外側キャップ(第2の蓋体)
4・・・・・キャラクタ人形(景品)
5・・・・・キャラクタ人形収容空間(景品収容空間)
24・・・・凹凸部
32・・・・凸条
110・・・・容器本体
120・・・・容器本体用キャップ(第1の蓋体)
140・・・・仕切り用キャップ(第2の蓋体)
150・・・・キャラクタ人形収容空間(景品収容空間)
160・・・・キャラクタ人形(景品)

Claims (6)

  1. 商品を収容する容器本体と、
    前記容器本体に取り付けられた第1の蓋体と、
    前記第1の蓋体に着脱自在に取り付けられた透明な第2の蓋体と、
    を備え、
    前記第1の蓋体の上方において、前記第2の蓋体内に、景品収容空間が形成されてなることを特徴とする商品容器。
  2. 前記第2の蓋体のみの操作によって前記容器本体に対する前記第1の蓋体の着脱を行いうるように、第2の蓋体が第1の蓋体に係合した状態に取り付けられてなる請求項1に記載の商品容器。
  3. 前記第1の蓋体の外周面に1個または複数個の凸部または凹部が形成されるとともに、前記第2の蓋体の端部内周面には、前記凸部または凹部に嵌合可能な1個または複数個の凹部または凸部が形成され、前記各蓋体の凸部と凹部とが嵌合されることにより、第1の蓋体と第2の蓋体とが少なくとも周方向において係合している請求項2に記載の商品容器。
  4. 前記景品収容空間に景品が収容されてなる請求項1ないし3のいずれかに記載の商品容器。
  5. 商品を収容する容器本体と、
    前記容器本体に取り付けられた透明な第1の蓋体と、
    前記容器本体内に収容された商品に取り付けられた第2の蓋体と、
    を備え、
    前記第2の蓋体の上方において、前記第1の蓋体内に、景品収容空間が形成されてなることを特徴とする商品容器。
  6. 前記景品収容空間に景品が収容されてなる請求項5に記載の商品容器。
JP2002276038A 2002-09-20 2002-09-20 商品容器 Pending JP2004106932A (ja)

Priority Applications (1)

Application Number Priority Date Filing Date Title
JP2002276038A JP2004106932A (ja) 2002-09-20 2002-09-20 商品容器

Applications Claiming Priority (1)

Application Number Priority Date Filing Date Title
JP2002276038A JP2004106932A (ja) 2002-09-20 2002-09-20 商品容器

Publications (1)

Publication Number Publication Date
JP2004106932A true JP2004106932A (ja) 2004-04-08

Family

ID=32272045

Family Applications (1)

Application Number Title Priority Date Filing Date
JP2002276038A Pending JP2004106932A (ja) 2002-09-20 2002-09-20 商品容器

Country Status (1)

Country Link
JP (1) JP2004106932A (ja)

Cited By (8)

* Cited by examiner, † Cited by third party
Publication number Priority date Publication date Assignee Title
JP2008539139A (ja) * 2005-04-28 2008-11-13 クレメント ラーセン シドニー キャップクロージャ用の収納器
JP2009508568A (ja) * 2005-09-15 2009-03-05 ルーゴ,モニカ アスバッチェ ボール・セグメント、及び、機能性ボールを形成するためにセグメントを連結するエレメント
WO2011071792A3 (en) * 2009-12-07 2011-10-27 The Kind Group Lip balm with spherical surface and method for producing
JPWO2011105284A1 (ja) * 2010-02-24 2013-06-20 東海ゴム工業株式会社 防振ゴム組成物およびそれを用いた防振ゴム
US8852528B2 (en) 2005-10-11 2014-10-07 Meadwestvaco Corporation Fragrance product, dispenser, and dispenser assembly
US10039366B1 (en) 2014-09-25 2018-08-07 Snugz/Usa Incorporated Dual balm applicator and method of manufacture
JP2019072250A (ja) * 2017-10-17 2019-05-16 株式会社タカラトミー 玩具の部品取外し構造
US11382400B2 (en) 2018-08-10 2022-07-12 Go Products Co. Material applicator

Cited By (17)

* Cited by examiner, † Cited by third party
Publication number Priority date Publication date Assignee Title
JP2008539139A (ja) * 2005-04-28 2008-11-13 クレメント ラーセン シドニー キャップクロージャ用の収納器
JP2009508568A (ja) * 2005-09-15 2009-03-05 ルーゴ,モニカ アスバッチェ ボール・セグメント、及び、機能性ボールを形成するためにセグメントを連結するエレメント
US8852528B2 (en) 2005-10-11 2014-10-07 Meadwestvaco Corporation Fragrance product, dispenser, and dispenser assembly
US11337507B2 (en) 2009-12-07 2022-05-24 Eos Products, Llc Lip balm with spherical surface and method for producing
WO2011071792A3 (en) * 2009-12-07 2011-10-27 The Kind Group Lip balm with spherical surface and method for producing
US8444337B2 (en) 2009-12-07 2013-05-21 The Kind Group Lip balm with spherical surface and method for producing
US8888391B2 (en) 2009-12-07 2014-11-18 The Kind Group Llc Lip balm with spherical surface and method for producing
US9585458B2 (en) 2009-12-07 2017-03-07 Eos Products, Llc Lip balm with spherical surface and method for producing
US12514357B2 (en) 2009-12-07 2026-01-06 Eos Products, Llc Lip balm applicator
US10278477B2 (en) 2009-12-07 2019-05-07 Eos Products, Llc Lip balm with spherical surface and method for producing
US11980274B2 (en) 2009-12-07 2024-05-14 Eos Products, Llc Lip balm applicator
US10925376B2 (en) 2009-12-07 2021-02-23 Eos Products, Llc Lip balm with spherical surface and method for producing
JPWO2011105284A1 (ja) * 2010-02-24 2013-06-20 東海ゴム工業株式会社 防振ゴム組成物およびそれを用いた防振ゴム
US10039366B1 (en) 2014-09-25 2018-08-07 Snugz/Usa Incorporated Dual balm applicator and method of manufacture
JP2019072250A (ja) * 2017-10-17 2019-05-16 株式会社タカラトミー 玩具の部品取外し構造
US11382400B2 (en) 2018-08-10 2022-07-12 Go Products Co. Material applicator
US12075901B1 (en) 2018-08-10 2024-09-03 Go Products Co. Material applicator

Similar Documents

Publication Publication Date Title
KR20100001116U (ko) 주걱 보관이 가능한 내뚜껑을 갖는 크림타입 화장품 용기
US10881187B2 (en) Finger insertion mascara container provided with elastic slit part
US20090211939A1 (en) Carry-on organizer
WO2010040067A2 (en) Case for cosmetics or other products
US20130025614A1 (en) Beauty and health container with floss dispenser
KR200460285Y1 (ko) 화장품용 콤팩트 케이스
FR2525880A2 (fr) Applicateur utilisable pour le massage du revetement cutane
JP2004106932A (ja) 商品容器
US20230082973A1 (en) Applicator and Container Apparatus
JP5358154B2 (ja) 化粧料用容器
CN110278708B (zh) 容器盖及具有盖的包装
KR102310817B1 (ko) 내용물 용기
TW200808218A (en) Hanger and small article hanging set using it
JP2005029243A (ja) 液体用容器
CN206665274U (zh) 具有修整出料结构功能的化妆容器
US20090293903A1 (en) Cosmetic compact incorporating an applicator holder
KR200217591Y1 (ko) 화장품 용기
KR101691704B1 (ko) 화장품 용기
US20070199831A1 (en) Contact Lens Package and Applicator With Method For Its Use
JP4718001B2 (ja) コンパクト容器に用いるレフィル容器
KR20160127375A (ko) 색상 확인 가능한 매니큐어 용기
JP3224162U (ja) すぐに使える化粧品パッケージ
KR101671077B1 (ko) 화장품 용기
CN211703721U (zh) 一种毛刷类美妆工具收纳容器
KR200339897Y1 (ko) 병제품 취부용 수납케이스

Legal Events

Date Code Title Description
A621 Written request for application examination

Free format text: JAPANESE INTERMEDIATE CODE: A621

Effective date: 20050916

A131 Notification of reasons for refusal

Free format text: JAPANESE INTERMEDIATE CODE: A131

Effective date: 20090210

A521 Written amendment

Free format text: JAPANESE INTERMEDIATE CODE: A523

Effective date: 20090410

A131 Notification of reasons for refusal

Free format text: JAPANESE INTERMEDIATE CODE: A131

Effective date: 20090609

A02 Decision of refusal

Free format text: JAPANESE INTERMEDIATE CODE: A02

Effective date: 20091117