JP2010092755A - 導光板 - Google Patents
導光板 Download PDFInfo
- Publication number
- JP2010092755A JP2010092755A JP2008262687A JP2008262687A JP2010092755A JP 2010092755 A JP2010092755 A JP 2010092755A JP 2008262687 A JP2008262687 A JP 2008262687A JP 2008262687 A JP2008262687 A JP 2008262687A JP 2010092755 A JP2010092755 A JP 2010092755A
- Authority
- JP
- Japan
- Prior art keywords
- guide plate
- fine particles
- light
- light guide
- refractive index
- Prior art date
- Legal status (The legal status is an assumption and is not a legal conclusion. Google has not performed a legal analysis and makes no representation as to the accuracy of the status listed.)
- Granted
Links
Images
Classifications
-
- G—PHYSICS
- G02—OPTICS
- G02B—OPTICAL ELEMENTS, SYSTEMS OR APPARATUS
- G02B6/00—Light guides; Structural details of arrangements comprising light guides and other optical elements, e.g. couplings
- G02B6/0001—Light guides; Structural details of arrangements comprising light guides and other optical elements, e.g. couplings specially adapted for lighting devices or systems
- G02B6/0011—Light guides; Structural details of arrangements comprising light guides and other optical elements, e.g. couplings specially adapted for lighting devices or systems the light guides being planar or of plate-like form
- G02B6/0033—Means for improving the coupling-out of light from the light guide
- G02B6/0035—Means for improving the coupling-out of light from the light guide provided on the surface of the light guide or in the bulk of it
- G02B6/004—Scattering dots or dot-like elements, e.g. microbeads, scattering particles, nanoparticles
- G02B6/0041—Scattering dots or dot-like elements, e.g. microbeads, scattering particles, nanoparticles provided in the bulk of the light guide
-
- G—PHYSICS
- G02—OPTICS
- G02F—OPTICAL DEVICES OR ARRANGEMENTS FOR THE CONTROL OF LIGHT BY MODIFICATION OF THE OPTICAL PROPERTIES OF THE MEDIA OF THE ELEMENTS INVOLVED THEREIN; NON-LINEAR OPTICS; FREQUENCY-CHANGING OF LIGHT; OPTICAL LOGIC ELEMENTS; OPTICAL ANALOGUE/DIGITAL CONVERTERS
- G02F1/00—Devices or arrangements for the control of the intensity, colour, phase, polarisation or direction of light arriving from an independent light source, e.g. switching, gating or modulating; Non-linear optics
- G02F1/01—Devices or arrangements for the control of the intensity, colour, phase, polarisation or direction of light arriving from an independent light source, e.g. switching, gating or modulating; Non-linear optics for the control of the intensity, phase, polarisation or colour
- G02F1/13—Devices or arrangements for the control of the intensity, colour, phase, polarisation or direction of light arriving from an independent light source, e.g. switching, gating or modulating; Non-linear optics for the control of the intensity, phase, polarisation or colour based on liquid crystals, e.g. single liquid crystal display cells
- G02F1/133—Constructional arrangements; Operation of liquid crystal cells; Circuit arrangements
- G02F1/1333—Constructional arrangements; Manufacturing methods
- G02F1/1335—Structural association of cells with optical devices, e.g. polarisers or reflectors
- G02F1/1336—Illuminating devices
- G02F1/133602—Direct backlight
- G02F1/133606—Direct backlight including a specially adapted diffusing, scattering or light controlling members
Landscapes
- Physics & Mathematics (AREA)
- General Physics & Mathematics (AREA)
- Optics & Photonics (AREA)
- Planar Illumination Modules (AREA)
- Liquid Crystal (AREA)
- Light Guides In General And Applications Therefor (AREA)
- Optical Elements Other Than Lenses (AREA)
Abstract
【解決手段】この発明の導光板3は、透明樹脂中に微粒子が分散されてなり、前記透明樹脂の屈折率と前記微粒子の屈折率の差の絶対値を「Δn」とし、前記微粒子の累積50%粒子径を「D50」(μm)としたとき、0.30≦Δn×D50≦0.70の関係式が成立し、300mmの光路長で測定された可視光の平均光線透過率が35%以上であることを特徴とする。
【選択図】図1
Description
1)微粒子の累積50%粒子径D50(μm)
2)透明樹脂の屈折率と微粒子の屈折率の差の絶対値Δn
3)300mmの光路長でのYI(イエローインデックス)
これら相互の間に関連性があることを見出し、この関連性に着目してさらに鋭意研究した結果、0.30≦Δn×D50≦0.70の関係式が成立する場合において、出射光のYI値を十分に低減できることを見出すに至り、この発明を完成したものである。即ち、本発明は以下の手段を提供する。
前記透明樹脂の屈折率と前記微粒子の屈折率の差の絶対値を「Δn」とし、前記微粒子の累積50%粒子径を「D50」(μm)としたとき、0.30≦Δn×D50≦0.70の関係式が成立し、
300mmの光路長で測定された可視光の平均光線透過率が35%以上であることを特徴とする導光板。
PMMA(ポリメチルメタアクリレート)(住友化学株式会社製「スミペックスEXN」、屈折率:1.49)に、ポリスチレン樹脂微粒子(積水化成品工業株式会社製「SBX−4」、屈折率:1.59)をその含有率が0.5ppmとなるように混ぜてヘンシェルミキサーで混合した後、スクリュー径40mmの1軸押出機で溶融混練して樹脂温度265℃でTダイから押出すことによって、厚さ4mm、幅20cmの導光板を製作した。なお、前記ポリスチレン樹脂微粒子の累積50%粒子径(D50)は3.7(μm)であった。
ポリスチレン樹脂微粒子の含有率を1ppmに設定した以外は、実施例1と同様にして導光板を製作した。
ポリスチレン樹脂微粒子の含有率を3ppmに設定した以外は、実施例1と同様にして導光板を製作した。
ポリスチレン樹脂微粒子の含有率を10ppmに設定した以外は、実施例1と同様にして導光板を製作した。
PMMA(ポリメチルメタアクリレート)(住友化学株式会社製「スミペックスEXN」、屈折率:1.49)に、ポリスチレン樹脂微粒子(積水化成品工業株式会社製「SBX−6」、屈折率:1.59)をその含有率が0.5ppmとなるように混ぜてヘンシェルミキサーで混合した後、スクリュー径40mmの1軸押出機で溶融混練して樹脂温度265℃でTダイから押出すことによって、厚さ4mm、幅20cmの導光板を製作した。なお、前記ポリスチレン樹脂微粒子の累積50%粒子径(D50)は5.8(μm)であった。
ポリスチレン樹脂微粒子の含有率を1ppmに設定した以外は、実施例5と同様にして導光板を製作した。
ポリスチレン樹脂微粒子の含有率を5ppmに設定した以外は、実施例5と同様にして導光板を製作した。
ポリスチレン樹脂微粒子の含有率を21ppmに設定した以外は、実施例5と同様にして導光板を製作した。
PMMA(ポリメチルメタアクリレート)(住友化学株式会社製「スミペックスEXN」、屈折率:1.49)に、ポリスチレン樹脂微粒子(積水化成品工業株式会社製「XX52K」、屈折率:1.59)をその含有率が0.5ppmとなるように混ぜてヘンシェルミキサーで混合した後、スクリュー径40mmの1軸押出機で溶融混練して樹脂温度265℃でTダイから押出すことによって、厚さ4mm、幅20cmの導光板を製作した。なお、前記ポリスチレン樹脂微粒子の累積50%粒子径(D50)は2.8(μm)であった。
ポリスチレン樹脂微粒子の含有率を1ppmに設定した以外は、比較例2と同様にして導光板を製作した。
ポリスチレン樹脂微粒子の含有率を3ppmに設定した以外は、比較例2と同様にして導光板を製作した。
ポリスチレン樹脂微粒子の含有率を10ppmに設定した以外は、比較例2と同様にして導光板を製作した。
PMMA(ポリメチルメタアクリレート)(住友化学株式会社製「スミペックスEXN」、屈折率:1.49)に、ポリスチレン樹脂微粒子(積水化成品工業株式会社製「SBX−8」、屈折率:1.59)をその含有率が0.5ppmとなるように混ぜてヘンシェルミキサーで混合した後、スクリュー径40mmの1軸押出機で溶融混練して樹脂温度265℃でTダイから押出すことによって、厚さ4mm、幅20cmの導光板を製作した。なお、前記ポリスチレン樹脂微粒子の累積50%粒子径(D50)は7.9(μm)であった。
ポリスチレン樹脂微粒子の含有率を10ppmに設定した以外は、比較例6と同様にして導光板を製作した。
PMMA(ポリメチルメタアクリレート)(住友化学株式会社製「スミペックスEXN」、屈折率:1.49)に、アクリル樹脂微粒子(株式会社日本触媒製「エポスターMA1002」、屈折率:1.492)をその含有率が1000ppmとなるように混ぜてヘンシェルミキサーで混合した後、スクリュー径40mmの1軸押出機で溶融混練して樹脂温度265℃でTダイから押出すことによって、厚さ4mm、幅20cmの導光板を製作した。なお、前記アクリル樹脂微粒子の累積50%粒子径(D50)は2.0(μm)であった。
微粒子の累積50%粒子径(D50)は、日機装株式会社製マイクロトラック粒度分析計(モデル9220FRA)を用いてレーザー光源前方散乱光のフラウンホーファ回折法により測定した。測定に際しては、0.1g程度の微粒子をメタノール中に分散させて分散液を得、この分散液に超音波を5分間照射した後、該分散液を前記マイクロトラック粒度分析計のサンプル投入口に投入して測定を行った。なお、累積50%粒子径(D50)は、全粒子の粒子径及び体積を測定し、小さい粒子径のものから順次体積を積算し、該積算体積が全粒子の合計体積に対して50%となる粒子の粒子径である。
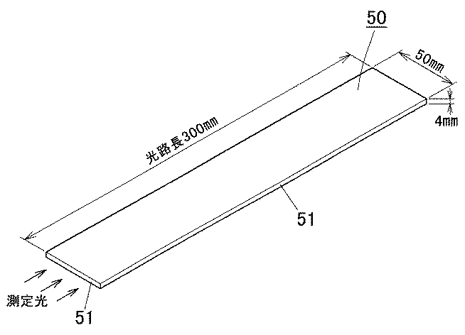
図2に示すように、得られた導光板を幅50mm×長さ300mmの大きさに切断した後、4つの側面(51)を研磨機(朝日メガロ社製「プラビューティー1000」)で研磨して測定試験片(50)を作製した。この測定試験片を日立製作所製プラスチック特性測定システム(U−3410型分光光度計及び大型試料室積分球付属装置で構成される)で300mmの光路長で波長380〜780nmの範囲で5nm刻みで各波長毎の光線透過率を測定し、このようにして得られた光線透過率の算術平均値を「可視光の平均光線透過率」とした。
図2に示すように、得られた導光板を幅50mm×長さ300mmの大きさに切断した後、4つの側面(51)を研磨機(朝日メガロ社製「プラビューティー1000」)で研磨して測定試験片(50)を作製した。この測定試験片を日立製作所製プラスチック特性測定システム(U−3410型分光光度計及び大型試料室積分球付属装置で構成される)で300mmの光路長で波長380〜780nmの範囲で5nm刻みで各波長毎の光線透過率を測定し、これよりYI(イエローインデックス)を算出した。なお、YIが2.0以下であるものを合格とした。
2…光源
3…導光板
9…面光源装置
30…液晶パネル
Claims (7)
- 透明樹脂中に微粒子が分散されてなる導光板であって、
前記透明樹脂の屈折率と前記微粒子の屈折率の差の絶対値を「Δn」とし、前記微粒子の累積50%粒子径を「D50」(μm)としたとき、0.30≦Δn×D50≦0.70の関係式が成立し、
300mmの光路長で測定された可視光の平均光線透過率が35%以上であることを特徴とする導光板。 - 前記微粒子の累積50%粒子径(D50)が3〜7μmの範囲である請求項1に記載の導光板。
- 前記透明樹脂の屈折率と前記微粒子の屈折率の差の絶対値(Δn)が0.08〜0.13である請求項1または2に記載の導光板。
- 導光板における前記微粒子の含有率が0.2〜20ppmである請求項1〜3のいずれか1項に記載の導光板。
- 前記透明樹脂がPMMAであり、前記微粒子がスチレン系重合体微粒子である請求項1〜4のいずれか1項に記載の導光板。
- 請求項1〜5のいずれか1項に記載の導光板を備えたことを特徴とする面光源装置。
- 液晶パネルの背面側に請求項6に記載の面光源装置が配置されたことを特徴とする液晶表示装置。
Priority Applications (5)
| Application Number | Priority Date | Filing Date | Title |
|---|---|---|---|
| JP2008262687A JP4933512B2 (ja) | 2008-10-09 | 2008-10-09 | 導光板 |
| PCT/JP2009/067945 WO2010041768A1 (ja) | 2008-10-09 | 2009-10-08 | 導光板 |
| CN200980139166.9A CN102171506B (zh) | 2008-10-09 | 2009-10-08 | 导光板 |
| KR1020117010433A KR20110070999A (ko) | 2008-10-09 | 2009-10-08 | 도광판 |
| TW98134137A TWI434080B (zh) | 2008-10-09 | 2009-10-08 | A light guide plate, a surface light source device, and a liquid crystal display device |
Applications Claiming Priority (1)
| Application Number | Priority Date | Filing Date | Title |
|---|---|---|---|
| JP2008262687A JP4933512B2 (ja) | 2008-10-09 | 2008-10-09 | 導光板 |
Publications (2)
| Publication Number | Publication Date |
|---|---|
| JP2010092755A true JP2010092755A (ja) | 2010-04-22 |
| JP4933512B2 JP4933512B2 (ja) | 2012-05-16 |
Family
ID=42100710
Family Applications (1)
| Application Number | Title | Priority Date | Filing Date |
|---|---|---|---|
| JP2008262687A Expired - Fee Related JP4933512B2 (ja) | 2008-10-09 | 2008-10-09 | 導光板 |
Country Status (5)
| Country | Link |
|---|---|
| JP (1) | JP4933512B2 (ja) |
| KR (1) | KR20110070999A (ja) |
| CN (1) | CN102171506B (ja) |
| TW (1) | TWI434080B (ja) |
| WO (1) | WO2010041768A1 (ja) |
Cited By (3)
| Publication number | Priority date | Publication date | Assignee | Title |
|---|---|---|---|---|
| JP2012018323A (ja) * | 2010-07-08 | 2012-01-26 | Kuraray Co Ltd | 発光体 |
| WO2012111806A1 (ja) * | 2011-02-18 | 2012-08-23 | 住友化学株式会社 | 検査装置および検査方法、並びに当該検査方法を用いた製造方法 |
| KR20120103464A (ko) * | 2011-03-09 | 2012-09-19 | 스미또모 가가꾸 가부시끼가이샤 | 도광판용 수지 조성물 및 도광판 |
Families Citing this family (7)
| Publication number | Priority date | Publication date | Assignee | Title |
|---|---|---|---|---|
| GB2474748B (en) | 2009-10-01 | 2011-10-12 | Amira Pharmaceuticals Inc | Polycyclic compounds as lysophosphatidic acid receptor antagonists |
| GB2474120B (en) | 2009-10-01 | 2011-12-21 | Amira Pharmaceuticals Inc | Compounds as Lysophosphatidic acid receptor antagonists |
| WO2011162306A1 (ja) * | 2010-06-24 | 2011-12-29 | 東洋スチレン株式会社 | スチレン系導光板 |
| JP5710295B2 (ja) * | 2011-01-31 | 2015-04-30 | 住友化学株式会社 | 導光板用紫外線硬化型インクジェットインク及びこれを用いた導光板 |
| TWI424220B (zh) * | 2011-03-08 | 2014-01-21 | Tpv Display Technology Xiamen | 顯示器結構 |
| JP6666065B2 (ja) | 2014-09-30 | 2020-03-13 | エルジー ディスプレイ カンパニー リミテッド | 液晶表示装置 |
| CN104991304B (zh) * | 2015-06-25 | 2019-02-22 | 东莞轩朗实业有限公司 | 导光板、油墨及喷墨打印导光板制作方法 |
Citations (1)
| Publication number | Priority date | Publication date | Assignee | Title |
|---|---|---|---|---|
| JP2007048465A (ja) * | 2005-08-05 | 2007-02-22 | Mitsubishi Rayon Co Ltd | Led面光源装置 |
Family Cites Families (3)
| Publication number | Priority date | Publication date | Assignee | Title |
|---|---|---|---|---|
| JP2004327204A (ja) * | 2003-04-24 | 2004-11-18 | Asahi Kasei Chemicals Corp | 光拡散層一体型導光板 |
| JP4896003B2 (ja) * | 2005-02-28 | 2012-03-14 | 株式会社クラレ | 光拡散フィルムおよびこれを用いた面光源素子並びに液晶表示装置 |
| JP5063873B2 (ja) * | 2005-07-05 | 2012-10-31 | 出光興産株式会社 | 光拡散性ポリカーボネート系樹脂組成物、および同樹脂組成物を用いた光拡散板 |
-
2008
- 2008-10-09 JP JP2008262687A patent/JP4933512B2/ja not_active Expired - Fee Related
-
2009
- 2009-10-08 TW TW98134137A patent/TWI434080B/zh not_active IP Right Cessation
- 2009-10-08 CN CN200980139166.9A patent/CN102171506B/zh not_active Expired - Fee Related
- 2009-10-08 WO PCT/JP2009/067945 patent/WO2010041768A1/ja not_active Ceased
- 2009-10-08 KR KR1020117010433A patent/KR20110070999A/ko not_active Ceased
Patent Citations (1)
| Publication number | Priority date | Publication date | Assignee | Title |
|---|---|---|---|---|
| JP2007048465A (ja) * | 2005-08-05 | 2007-02-22 | Mitsubishi Rayon Co Ltd | Led面光源装置 |
Cited By (3)
| Publication number | Priority date | Publication date | Assignee | Title |
|---|---|---|---|---|
| JP2012018323A (ja) * | 2010-07-08 | 2012-01-26 | Kuraray Co Ltd | 発光体 |
| WO2012111806A1 (ja) * | 2011-02-18 | 2012-08-23 | 住友化学株式会社 | 検査装置および検査方法、並びに当該検査方法を用いた製造方法 |
| KR20120103464A (ko) * | 2011-03-09 | 2012-09-19 | 스미또모 가가꾸 가부시끼가이샤 | 도광판용 수지 조성물 및 도광판 |
Also Published As
| Publication number | Publication date |
|---|---|
| WO2010041768A1 (ja) | 2010-04-15 |
| KR20110070999A (ko) | 2011-06-27 |
| JP4933512B2 (ja) | 2012-05-16 |
| CN102171506A (zh) | 2011-08-31 |
| TW201033661A (en) | 2010-09-16 |
| TWI434080B (zh) | 2014-04-11 |
| CN102171506B (zh) | 2015-03-04 |
Similar Documents
| Publication | Publication Date | Title |
|---|---|---|
| JP4933512B2 (ja) | 導光板 | |
| KR20020070381A (ko) | 도광판 및 도광판용 투명 열가소성 수지 조성물의 제조 방법 | |
| KR100885608B1 (ko) | 다층구조 광확산판 및 그를 포함하는 액정 디스플레이 장치 | |
| JP2007304553A (ja) | プリズムシート、それを備えたバックライトユニット及び液晶表示装置 | |
| JP2008216879A (ja) | 白色面光源装置及び液晶表示装置 | |
| JP2005527842A (ja) | 中空ガラス球を含む透明な熱可塑性組成物 | |
| TW200815872A (en) | Direct backlight apparatus | |
| CN101271221B (zh) | 液晶显示装置 | |
| KR100994909B1 (ko) | 내열성이 향상된 다층구조 광확산판 및 그를 포함하는 액정디스플레이 장치 | |
| JP2010072131A (ja) | 光拡散板、光学シート、バックライトユニットおよびディスプレイ装置 | |
| JP2012188503A (ja) | 導光板用樹脂組成物および導光板 | |
| US20110285939A1 (en) | Liquid crystal display device | |
| JP2007298698A (ja) | 光拡散板及び面照射装置 | |
| JP2012145951A (ja) | 液晶表示装置 | |
| JP2012032751A (ja) | 液晶表示装置 | |
| JP2012108547A (ja) | 液晶表示装置 | |
| JP2001076522A (ja) | 光源装置 | |
| JP2010140704A (ja) | 導光板及び導光板の製造方法 | |
| JP2012188504A (ja) | 導光板用樹脂組成物および導光板 | |
| JP2009211810A (ja) | 直下型バックライト装置用光拡散板及び直下型バックライト装置 | |
| JP2010085941A (ja) | 光拡散板、光学シート、バックライトユニット及びディスプレイ装置 | |
| JP2009230963A (ja) | 面光源装置及び液晶表示装置 | |
| JP2011197354A (ja) | 液晶表示装置 | |
| KR20110134129A (ko) | 광학용 메틸 (메타)아크릴레이트 수지 |
Legal Events
| Date | Code | Title | Description |
|---|---|---|---|
| A621 | Written request for application examination |
Free format text: JAPANESE INTERMEDIATE CODE: A621 Effective date: 20100208 |
|
| A131 | Notification of reasons for refusal |
Free format text: JAPANESE INTERMEDIATE CODE: A131 Effective date: 20111122 |
|
| TRDD | Decision of grant or rejection written | ||
| A01 | Written decision to grant a patent or to grant a registration (utility model) |
Free format text: JAPANESE INTERMEDIATE CODE: A01 Effective date: 20120208 |
|
| A01 | Written decision to grant a patent or to grant a registration (utility model) |
Free format text: JAPANESE INTERMEDIATE CODE: A01 |
|
| A61 | First payment of annual fees (during grant procedure) |
Free format text: JAPANESE INTERMEDIATE CODE: A61 Effective date: 20120216 |
|
| R150 | Certificate of patent or registration of utility model |
Ref document number: 4933512 Country of ref document: JP Free format text: JAPANESE INTERMEDIATE CODE: R150 Free format text: JAPANESE INTERMEDIATE CODE: R150 |
|
| FPAY | Renewal fee payment (event date is renewal date of database) |
Free format text: PAYMENT UNTIL: 20150224 Year of fee payment: 3 |
|
| LAPS | Cancellation because of no payment of annual fees |
