JP2010087993A - ヘッドホン - Google Patents

ヘッドホン Download PDF

Info

Publication number
JP2010087993A
JP2010087993A JP2008256732A JP2008256732A JP2010087993A JP 2010087993 A JP2010087993 A JP 2010087993A JP 2008256732 A JP2008256732 A JP 2008256732A JP 2008256732 A JP2008256732 A JP 2008256732A JP 2010087993 A JP2010087993 A JP 2010087993A
Authority
JP
Japan
Prior art keywords
baffle plate
communication holes
sound quality
drive unit
headphone
Prior art date
Legal status (The legal status is an assumption and is not a legal conclusion. Google has not performed a legal analysis and makes no representation as to the accuracy of the status listed.)
Granted
Application number
JP2008256732A
Other languages
English (en)
Other versions
JP5253072B2 (ja
Inventor
Hiromichi Ozawa
博道 小澤
Current Assignee (The listed assignees may be inaccurate. Google has not performed a legal analysis and makes no representation or warranty as to the accuracy of the list.)
Audio Technica KK
Original Assignee
Audio Technica KK
Priority date (The priority date is an assumption and is not a legal conclusion. Google has not performed a legal analysis and makes no representation as to the accuracy of the date listed.)
Filing date
Publication date
Application filed by Audio Technica KK filed Critical Audio Technica KK
Priority to JP2008256732A priority Critical patent/JP5253072B2/ja
Publication of JP2010087993A publication Critical patent/JP2010087993A/ja
Application granted granted Critical
Publication of JP5253072B2 publication Critical patent/JP5253072B2/ja
Expired - Fee Related legal-status Critical Current
Anticipated expiration legal-status Critical

Links

Images

Landscapes

  • Headphones And Earphones (AREA)

Abstract

【課題】音声再生帯域全体としての音質を犠牲にすることなく、低域の音質調整を容易に行うことができる密閉型のヘッドホンを得る。
【解決手段】バッフル板2と、バッフル板2に取り付けられたドライブユニット3と、バッフル板2およびドライブユニット3の背面側を密閉してバックキャビティ4を形成するケース1と、バッフル板2の前面側に取り付けられたイヤパッド5を備えた密閉型のヘッドホン。バッフル板2は、バッフル板2およびイヤパッド5で形成されるフロントキャビティ6と外部とを音響的に連通させる内外連通孔10を有する。
【選択図】図1

Description

本発明は、ヘッドホンに関するもので、特に、密閉型ヘッドホンにおいて、全音域における音質を低下させることなく低域の音質調整を容易に行うことができるようにしたことを特徴とするものである。
図8乃至図10は、従来の密閉型ヘッドホンの例を示す。図8乃至図10において、皿形のケース1の開放端部にはバッフル板2が嵌められ、バッフル板2に開けられた孔にはドライブユニット3が嵌め込まれている。ドライブユニット3は、周知のとおり、スピーカユニットとほぼ同じ構成になっている。すなわち、ドライブユニット3は、図示されないヨーク、磁石、ポールピースなどからなる磁気回路構成部材と、ダイヤフラム状の振動板と、この振動板に固着されて上記磁気回路構成部材で形成されている磁気ギャップ中に配置されているボイスコイルと、を有してなる。
上記ドライブユニット3は振動板が配置されている側が前側(図8において下側)になっていて、上記ケース1はバッフル板2の背面側とドライブユニット3の背面側を覆って密閉している。ケース1の内面とバッフル板2およびドライブユニット3の背面との間には適宜の容積のバックキャビティ4が形成されている。バッフル板2の前面側外周部にはリング状のイヤパッド5が固着されている。イヤパッド5で囲まれる空間はフロントキャビティ6となっていて、ユーザーが使用しているとき、ユーザーの側頭部にイヤパッド5が押し当てられ、フロントキャビティ6にユーザーの耳が進入する。
上記のように構成されている密閉型ヘッドホンにおいて、主として低音域の音質調整を行うために、図9に示すように、バックキャビティ4に音響抵抗材7を装着している。あるいは、図9、図10に示すように、バックキャビティ4とフロンとキャビティ6を連通させるためにバッフル板2に孔8を形成し、この孔8を制動材すなわち高い音響抵抗を持つ音響抵抗材9で覆っている。図9に示す例では、音響抵抗材7をケース1の内底面とドライブユニット3の背面との間に介在させている。図10に示す例では、複数の孔6をバッフル板2の周方向に一定間隔で形成し、これらの孔6を塞ぐ1枚の円弧状の音響抵抗材9をバッフル板2とイヤパッド5との間に介在させている。
図9および図10に示す従来例はいずれも、再生周波数帯域のバランスを取るために、音響抵抗材ないしは制動材を使用している。しかし、音響抵抗材ないしは制動材を使用することによって、ドライブユニット3が備えている振動板の動きを抑制することすなわち動きにくくしていることになり、音声再生帯域全体としての音質が犠牲になるため望ましくない。
本発明に関連のある先行技術として、例えば特許文献1記載の密閉型ヘッドホンがある。特許文献1記載の発明は、特に低音域のレベルを改善するために、メインキャビティの一部分を音響抵抗材によって第1および第2のサブキャビティに分割し、第1サブキャビティをドライブユニットの背面に設け、第2サブキャビティをハウジング(ケース)の周辺部に設けたものである。
特許文献1記載の発明は、ケースを大きくしなくても低音域のレベルを改善すること、そして、第1、第2音響抵抗材を種々選択することにより、広い周波数帯域にわたって周波数特性および音質の改善を可能にすることを狙ったものである。
本発明に関連のある他の先行技術として、特許文献2に記載されているノイズ低減機能付きの耳載せヘッドホンがある。特許文献2記載の発明は、バッフル板に取り付けたドライブユニットをハウジング(ケース)で覆い、ハウジングに設けた開口にダイヤフラムを取り付け、このダイヤフラムに接触しまた離間する制動部材を設け、制動部材がダイヤフラムに接触している態様では、ドライブユニットの背後のキャビティが密閉された密閉型ヘッドホンとなり、制動部材がダイヤフラムから離間している態様では、ダイヤフラムを介して振動を伝達することができるオープンエア型ヘッドホンに切り換えられるようにしたものである。
特開2003−179990号公報 特開2008−66976号公報
本発明は、前述の従来の問題点を解消するためになされたものである。すなわち、本発明は、音声再生帯域全体としての音質を犠牲にすることなく、低域の音質調整を容易に行うことができる密閉型のヘッドホンを得ることを目的とする。
本発明はまた、音声再生帯域全体としての音質を犠牲にすることなく、特に低音域の音質のコントロールを可能にした密閉型のヘッドホンを得ることを目的とする。
本発明は、バッフル板と、バッフル板に取り付けられたドライブユニットと、バッフル板およびドライブユニットの背面側を密閉してバックキャビティを形成するケースと、バッフル板の前面側に取り付けられたイヤパッドを備えた密閉型のヘッドホンであって、上記バッフル板は、このバッフル板およびイヤパッドで形成されるフロントキャビティと外部とを音響的に連通させる内外連通孔を有することを最も主要な特徴とする。
本発明によれば、フロントキャビティと外部とを音響的に連通させる内外連通孔を備えていることにより、ユーザーが使用しているとき、フロントキャビティが密閉されていても、フロントキャビティの容積が実質的に拡大されたのと同じになって、ドライブユニットの振動板が動きやすくなり、低音域の特性をコントロールして音質を高めることができる。
また、内外連通孔を音響抵抗材で覆い、音響抵抗値を適宜設定することにより、低音域の特性をコントロールすることができ、音質あるいは周波数特性を調整するために振動板の動きを抑制する必要がないため、音質調整による音質の劣化を回避することができる。
以下、本発明に係るヘッドホンの実施例を、図面を参照しながら説明する。前述の従来例と同じ構成部分には共通の符号を付している。
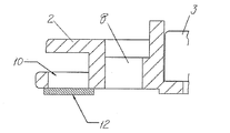
図1、図2において、皿形のケース1の開放端部にはバッフル板2が嵌められ、バッフル板2に開けられた孔にはドライブユニット3が嵌め込まれている。ドライブユニット3は、前述のとおり、図示されないヨーク、磁石、ポールピースなどからなる磁気回路構成部材と、ダイヤフラム状の振動板と、この振動板に固着されて上記磁気回路構成部材で形成されている磁気ギャップ中に配置されているボイスコイルと、を有してなり、スピーカユニットとほぼ同じ構成になっている。
上記ドライブユニット3は振動板が配置されている側が前側(図1において下側)になっていて、上記ケース1はバッフル板2の背面側とドライブユニット3の背面側を覆って密閉している。ケース1の内面とバッフル板2およびドライブユニット3の背面との間には適宜容積のバックキャビティ4が形成されている。バッフル板2の前面側外周部にはリング状のイヤパッド5が固着されている。イヤパッド5で囲まれる空間はフロントキャビティ6となっていて、ユーザーが使用しているとき、ユーザーの側頭部にイヤパッド5が押し当てられ、フロントキャビティ6にユーザーの耳が進入する。
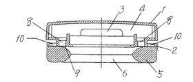
バッフル板2は、このバッフル板2およびイヤパッド5で形成されるフロントキャビティ6と外部とを音響的に連通させる内外連通孔10を備えている。内外連通孔10は、バッフル板2の外周縁部に複数個設けられている。バッフル板2の構成をさらに詳しく説明すると、バッフル板2は厚さ方向すなわち前後方向両端にフランジを有し、前側のフランジに内外連通孔10が形成され、この連通孔10と、上記両端のフランジとの間の空間を通じてフロントキャビティ6と外部が連通している。
図示の第1実施例では、バッフル板2は、内外連通孔10のほかに、内外連通孔10の形成位置よりも内周側に、バックキャビティ4とフロントキャビティ6を音響的に連通させる前後連通孔8を複数備えている。イヤパッド5はバッフル板2の前面側外周縁に沿って固着されていて、バッフル板2の前面とイヤパッド5との間には音響抵抗材9が介在し、音響抵抗材9は内外連通孔10の前面を覆っている。音響抵抗材9を通してフロントキャビティ6と内外連通孔10とが連通し、結果的にフロントキャビティ6が外部に連通している。
図2に示すように、音響抵抗材9はリング状の板の一部を切断した形すなわち部分円弧状に形成され、内外連通孔10を覆うとともに、前後連通孔8も覆っている。換言すれば、内外連通孔10と前後連通孔8は共通の音響抵抗材9で覆われている。ただし、図2に示すように、音響抵抗材9は複数の前後連通孔8の一部を残して覆うことにより、前後連通孔8からなるバックキャビティ4とフロントキャビティ6との間の音響端子の音響抵抗を調整することができるように構成されている。
以上説明した第1実施例によれば、フロントキャビティ6と外部とを音響的に連通させる内外連通孔10を備えていることにより、ユーザーが使用しているとき、フロントキャビティ6が密閉されていても、フロントキャビティ6の容積が実質的に拡大されたのと同じになって、ドライブユニット3の振動板が動きやすくなり、また、低音域の音圧が抑制されて低音域の音質を高めることができる。図7は本発明に係るヘッドホンと図8に示すような従来のヘッドホンの周波数特性を示す。横軸は周波数、縦軸は音圧を示す。実線Aは従来のヘッドホンの特性、破線Bは本発明に係るヘッドホンの特性を示す。図7から明らかなように、本発明に係るヘッドホンによれば、低音域の特性がよくコントロールされ、音質が改善されていることがわかる。
また、内外連通孔10を音響抵抗材9で覆い、音響抵抗値を適宜設定することにより、低音域の特性をコントロールすることができ、音質(周波数特性)を調整するためにドライブユニット3の振動板の動きを抑制する必要がないため、音質調整による音質の劣化を回避することができる。
図1、図2に示す実施例では、内外連通孔10と前後連通孔8を共通の音響抵抗材9で覆っていたが、図3、図4に示す第2実施例のように、内外連通孔10のみを覆う音響抵抗材12を用いてもよい。また、上記音響抵抗材12のほかに、前後連通孔8を覆う音響抵抗材を用いてもよい。
図1、図2に示す実施例では、内外連通孔10と前後連通孔8が円形の孔になっていたが、図3に示すように四角形状の孔であってもよい。
図5、図6は本発明に係るヘッドホンの第3実施例を示す。この実施例が前記実施例と異なる点は、内外連通孔10を開閉することにより音質調整を行う音質調整部材14を有している点である。図5、図6において、音質調整部材14はバッフル板2の外周縁にそってスライド可能に設けられ、音質調整部材14をスライドさせることにより内外連通孔10を開閉することができるように構成されている。図5は音質調整部材14が内外連通孔10を開放した状態を示しており、この状態での周波数特性は図7に破線Bで示す曲線のようになる。図6は音質調整部材14が内外連通孔10を閉鎖した状態を示しており、この状態での周波数特性は図7に実線Aで示す曲線のようになる。このように、音質調整部材14が内外連通孔10を開閉することにより、再生可能な最低周波数の音圧が、図7に示すように、P1またはP2に変化する。
音質調整部材14は、内外連通孔10を全開した態様とすべて閉鎖した態様との間で切り換えるようにしてもよいし、内外連通孔10の開閉度を調整することができるようにしてもよい。開閉度を調整可能にしておけば、周波数特性を、図7に示す曲線Aと曲線Bとの間で調整することができる。
図5、図6では、一つの音質調整部材14が一つの内外連通孔10を開閉するように構成されているが、複数の内外連通孔10を開閉可能な複数の音質調整部材14が一体に連結されて一体的に移動し、複数の内外連通孔10を同時に開閉できるように構成してもよい。また、複数の内外連通孔10の開閉度を複数の音質調整部材14で同時に調整することができるようにいてもよい。
本発明に係るヘッドホンの第1実施例を示す縦断面図である。 上記実施例のバッフル板の正面図である。 本発明に係るヘッドホンの変形実施例におけるバッフル板の正面図である。 図3中の線A−A´に沿う断面の拡大図である。 本発明に係るヘッドホンの第2実施例におけるバッフル板の正面図である。 上記第2実施例の異なった態様におけるバッフル板の正面図である。 本発明に係るヘッドホンと従来例の密閉型ヘッドホンの低音域における周波数特性を比較して示すグラフである。 従来の密閉型ヘッドホンの例を示す縦断面図である。 従来の密閉型ヘッドホンの別の例を示す縦断面図である。 上記従来のヘッドホンにおけるバッフル板の正面図である。
符号の説明
1 ケース
2 バッフル板
3 ドライブユニット
4 バックキャビティ
5 イヤパッド
6 フロントキャビティ
8 前後連通路
9 音響抵抗材
10 内外連通路
12 音響抵抗材
14 音質調整部材

Claims (8)

  1. バッフル板と、バッフル板に取り付けられたドライブユニットと、バッフル板およびドライブユニットの背面側を密閉してバックキャビティを形成するケースと、バッフル板の前面側に取り付けられたイヤパッドを備えた密閉型のヘッドホンであって、
    上記バッフル板は、このバッフル板およびイヤパッドで形成されるフロントキャビティと外部とを音響的に連通させる内外連通孔を有するヘッドホン。
  2. 内外連通孔は、バッフル板の外周縁部に複数個設けられている請求項1記載のヘッドホン。
  3. バッフル板は、内外連通孔の形成位置よりも内周側に、バックキャビティとフロントキャビティを音響的に連通させる前後連通孔を有する請求項2記載のヘッドホン。
  4. 内外連通孔は音響抵抗材で覆われている請求項2記載のヘッドホン。
  5. 内外連通孔と前後連通孔は共通の音響抵抗材で覆われている請求項3記載のヘッドホン。
  6. 音響抵抗材は、バッフル板とイヤパッドの間に介在している請求項4または5記載のヘッドホン。
  7. 内外連通孔を開閉することにより音質調整を行う音質調整部材を有する請求項1記載のヘッドホン。
  8. 音質調整部材は内外連通孔の開閉度を調整することができる請求項7記載のヘッドホン。
JP2008256732A 2008-10-01 2008-10-01 ヘッドホン Expired - Fee Related JP5253072B2 (ja)

Priority Applications (1)

Application Number Priority Date Filing Date Title
JP2008256732A JP5253072B2 (ja) 2008-10-01 2008-10-01 ヘッドホン

Applications Claiming Priority (1)

Application Number Priority Date Filing Date Title
JP2008256732A JP5253072B2 (ja) 2008-10-01 2008-10-01 ヘッドホン

Publications (2)

Publication Number Publication Date
JP2010087993A true JP2010087993A (ja) 2010-04-15
JP5253072B2 JP5253072B2 (ja) 2013-07-31

Family

ID=42251459

Family Applications (1)

Application Number Title Priority Date Filing Date
JP2008256732A Expired - Fee Related JP5253072B2 (ja) 2008-10-01 2008-10-01 ヘッドホン

Country Status (1)

Country Link
JP (1) JP5253072B2 (ja)

Cited By (9)

* Cited by examiner, † Cited by third party
Publication number Priority date Publication date Assignee Title
JP2016100649A (ja) * 2014-11-18 2016-05-30 株式会社オーディオテクニカ 電気音響変換器
JP2017158006A (ja) * 2016-03-01 2017-09-07 株式会社オーディオテクニカ ヘッドホン
KR101880735B1 (ko) * 2017-06-09 2018-07-23 인하대학교 산학협력단 소음 저감 헤드폰
KR101925986B1 (ko) * 2017-09-04 2018-12-07 김도윤 휴대 전자기기용 사운드 개선 장치
JP2019047406A (ja) * 2017-09-06 2019-03-22 株式会社Jvcケンウッド イヤホン
CN109640211A (zh) * 2019-02-19 2019-04-16 深圳市澜科创科技有限公司 一种降噪耳机
CN111385694A (zh) * 2018-12-26 2020-07-07 铁三角有限公司 头戴式耳机
JP2021073828A (ja) * 2021-02-16 2021-05-13 株式会社Jvcケンウッド イヤホン
JP7532992B2 (ja) 2020-07-31 2024-08-14 ヤマハ株式会社 ヘッドフォン

Citations (5)

* Cited by examiner, † Cited by third party
Publication number Priority date Publication date Assignee Title
JPS5120762Y1 (ja) * 1974-03-15 1976-05-29
JPS55127487U (ja) * 1979-03-05 1980-09-09
JPS5641428Y2 (ja) * 1975-08-02 1981-09-28
JPS575981Y2 (ja) * 1978-03-23 1982-02-04
JPH05111086A (ja) * 1991-10-14 1993-04-30 Nippon Atsudenki Kk ヘツドホン

Patent Citations (5)

* Cited by examiner, † Cited by third party
Publication number Priority date Publication date Assignee Title
JPS5120762Y1 (ja) * 1974-03-15 1976-05-29
JPS5641428Y2 (ja) * 1975-08-02 1981-09-28
JPS575981Y2 (ja) * 1978-03-23 1982-02-04
JPS55127487U (ja) * 1979-03-05 1980-09-09
JPH05111086A (ja) * 1991-10-14 1993-04-30 Nippon Atsudenki Kk ヘツドホン

Cited By (12)

* Cited by examiner, † Cited by third party
Publication number Priority date Publication date Assignee Title
JP2016100649A (ja) * 2014-11-18 2016-05-30 株式会社オーディオテクニカ 電気音響変換器
JP2017158006A (ja) * 2016-03-01 2017-09-07 株式会社オーディオテクニカ ヘッドホン
KR101880735B1 (ko) * 2017-06-09 2018-07-23 인하대학교 산학협력단 소음 저감 헤드폰
KR101925986B1 (ko) * 2017-09-04 2018-12-07 김도윤 휴대 전자기기용 사운드 개선 장치
JP2019047406A (ja) * 2017-09-06 2019-03-22 株式会社Jvcケンウッド イヤホン
CN111385694A (zh) * 2018-12-26 2020-07-07 铁三角有限公司 头戴式耳机
CN111385694B (zh) * 2018-12-26 2023-11-03 铁三角有限公司 头戴式耳机
CN109640211A (zh) * 2019-02-19 2019-04-16 深圳市澜科创科技有限公司 一种降噪耳机
CN109640211B (zh) * 2019-02-19 2024-03-12 深圳市澜科创科技有限公司 一种降噪耳机
JP7532992B2 (ja) 2020-07-31 2024-08-14 ヤマハ株式会社 ヘッドフォン
JP2021073828A (ja) * 2021-02-16 2021-05-13 株式会社Jvcケンウッド イヤホン
JP7160121B2 (ja) 2021-02-16 2022-10-25 株式会社Jvcケンウッド イヤホン

Also Published As

Publication number Publication date
JP5253072B2 (ja) 2013-07-31

Similar Documents

Publication Publication Date Title
JP5253072B2 (ja) ヘッドホン
JP5096193B2 (ja) ヘッドホンユニット
JP6380504B2 (ja) ヘッドホン
JP5059501B2 (ja) ヘッドホン
US9094750B2 (en) Loudspeaker, inner-ear headphone including loudspeaker, and hearing aid including loudspeaker
KR101952909B1 (ko) 압력평형구조를 가진 이어폰
JP2011087048A (ja) ヘッドホン
JP2019145962A (ja) イヤホン
JP6727852B2 (ja) ヘッドホン
US12137311B2 (en) Earphone with duct unit dividing pressure equilibrium hole and back hole
KR101451687B1 (ko) 코엑셜 효과의 2웨이 스피커
CN110996225B (zh) 扬声器
JP2008141589A (ja) 骨伝導スピーカを搭載した携帯電話
US10448147B2 (en) Acoustic device having multiple diaphragms
JP2009284169A (ja) ヘッドホン
JP2019145964A (ja) イヤホン
JP7329811B2 (ja) イヤホン
US20060219474A1 (en) Multimedia Speaker Product
TWI889681B (zh) 頭戴式耳機
JP7380314B2 (ja) ヘッドホン
JP5253075B2 (ja) ヘッドホンユニットおよびヘッドホン
CN114679509B (zh) 声学装置及移动终端
US12501203B2 (en) Wearable sound device and manufacture method thereof
JP6583226B2 (ja) ヘッドホン
KR20200091189A (ko) 복수 진동판을 가진 음향기기

Legal Events

Date Code Title Description
A621 Written request for application examination

Free format text: JAPANESE INTERMEDIATE CODE: A621

Effective date: 20111003

A977 Report on retrieval

Free format text: JAPANESE INTERMEDIATE CODE: A971007

Effective date: 20120820

A131 Notification of reasons for refusal

Free format text: JAPANESE INTERMEDIATE CODE: A131

Effective date: 20120904

A521 Written amendment

Free format text: JAPANESE INTERMEDIATE CODE: A523

Effective date: 20121105

TRDD Decision of grant or rejection written
A01 Written decision to grant a patent or to grant a registration (utility model)

Free format text: JAPANESE INTERMEDIATE CODE: A01

Effective date: 20130319

A61 First payment of annual fees (during grant procedure)

Free format text: JAPANESE INTERMEDIATE CODE: A61

Effective date: 20130416

R150 Certificate of patent or registration of utility model

Ref document number: 5253072

Country of ref document: JP

Free format text: JAPANESE INTERMEDIATE CODE: R150

Free format text: JAPANESE INTERMEDIATE CODE: R150

FPAY Renewal fee payment (event date is renewal date of database)

Free format text: PAYMENT UNTIL: 20160426

Year of fee payment: 3

R250 Receipt of annual fees

Free format text: JAPANESE INTERMEDIATE CODE: R250

R250 Receipt of annual fees

Free format text: JAPANESE INTERMEDIATE CODE: R250

LAPS Cancellation because of no payment of annual fees