JP2010087502A - メモリデバイスを実現する積層チップパッケージ - Google Patents

メモリデバイスを実現する積層チップパッケージ Download PDF

Info

Publication number
JP2010087502A
JP2010087502A JP2009207677A JP2009207677A JP2010087502A JP 2010087502 A JP2010087502 A JP 2010087502A JP 2009207677 A JP2009207677 A JP 2009207677A JP 2009207677 A JP2009207677 A JP 2009207677A JP 2010087502 A JP2010087502 A JP 2010087502A
Authority
JP
Japan
Prior art keywords
main body
wiring
disposed
type
semiconductor chip
Prior art date
Legal status (The legal status is an assumption and is not a legal conclusion. Google has not performed a legal analysis and makes no representation as to the accuracy of the status listed.)
Granted
Application number
JP2009207677A
Other languages
English (en)
Other versions
JP5535560B2 (ja
Inventor
Yoshitaka Sasaki
芳高 佐々木
Hiroyuki Ito
浩幸 伊藤
Tatsuya Harada
達也 原田
Nobuyuki Okuzawa
信之 奥澤
Satoru Sueki
悟 末木
Ryuji Hashimoto
龍司 橋本
Current Assignee (The listed assignees may be inaccurate. Google has not performed a legal analysis and makes no representation or warranty as to the accuracy of the list.)
TDK Corp
Headway Technologies Inc
Original Assignee
TDK Corp
Headway Technologies Inc
Priority date (The priority date is an assumption and is not a legal conclusion. Google has not performed a legal analysis and makes no representation as to the accuracy of the date listed.)
Filing date
Publication date
Application filed by TDK Corp, Headway Technologies Inc filed Critical TDK Corp
Publication of JP2010087502A publication Critical patent/JP2010087502A/ja
Application granted granted Critical
Publication of JP5535560B2 publication Critical patent/JP5535560B2/ja
Expired - Fee Related legal-status Critical Current
Anticipated expiration legal-status Critical

Links

Images

Classifications

    • H10P72/74
    • H10W46/00
    • H10W70/093
    • H10W70/60
    • H10W72/0198
    • H10W72/851
    • H10W90/00
    • H10P72/743
    • H10W46/101
    • H10W46/301
    • H10W72/07251
    • H10W72/07554
    • H10W72/20
    • H10W72/536
    • H10W72/5445
    • H10W72/547
    • H10W72/834
    • H10W72/874
    • H10W74/00
    • H10W90/10
    • H10W90/20
    • H10W90/722

Landscapes

  • Internal Circuitry In Semiconductor Integrated Circuit Devices (AREA)
  • Semiconductor Memories (AREA)

Abstract

【課題】メモリデバイスを実現する積層チップパッケージにおいて、チップ間の電気的接続を行う配線を容易に形成でき、且つ配線の信頼性を高めることができるようにする。
【解決手段】積層チップパッケージ1は、本体2と、本体2の側面に配置された配線3A,3Bとを備えている。本体2は、それぞれ第1の種類の半導体チップを含む複数の第1の種類の階層部分12〜18と、第2の種類の半導体チップを含む第2の種類の階層部分11とを含んでいる。第1の種類の半導体チップは、複数のメモリセルを含んでいる。第2の種類の半導体チップは、複数の第1の種類の階層部分に含まれる複数のメモリセルに対する書き込みと読み出しを制御する回路を含んでいる。各階層部分は、半導体チップの少なくとも1つの側面を覆う絶縁部と、半導体チップに接続された複数の電極とを含んでいる。各電極の端面は、本体2の側面に配置され、配線3A,3Bに接続されている。
【選択図】図1

Description

本発明は、積層された複数のチップを含み、メモリデバイスを実現する積層チップパッケージ、ならびに、積層された複数のチップを含む積層チップパッケージを備え、メモリデバイスを実現する電子部品に関する。
近年、携帯電話やノート型パーソナルコンピュータに代表される携帯機器では、軽量化と高性能化が求められている。それに伴い、携帯機器に用いられる電子部品の高集積化が求められている。また、半導体メモリの大容量化のためにも、電子部品の高集積化が求められている。
近年、高集積化された電子部品として、システム・イン・パッケージ(System in Package;以下、SiPと記す。)、特に複数のチップを積層する3次元実装技術を用いたSiPが注目されている。本出願において、積層された複数のチップを含むパッケージを、積層チップパッケージと呼ぶ。この積層チップパッケージには、高集積化が可能になるという利点に加え、配線の長さの短縮が可能になることから、回路の動作の高速化や配線の浮遊容量の低減が可能になるという利点がある。
積層チップパッケージを製造するための3次元実装技術の主なものには、基板上に複数のチップを積層し、各チップに形成された複数の電極と、基板に形成された外部接続端子とを、ワイヤボンディングによって接続するワイヤボンディング方式と、積層される各チップにそれぞれ複数の貫通電極を形成し、この貫通電極によってチップ間の配線を行う貫通電極方式とがある。
ワイヤボンディング方式では、ワイヤ同士の接触を避けるために電極の間隔を小さくすることが難しいという問題点や、ワイヤの高い抵抗値が回路の高速動作の妨げになるという問題点がある。
貫通電極方式では、上記のワイヤボンディング方式における問題点は解消される。しかし、貫通電極方式では、チップに貫通電極を形成するために多くの工程が必要であることから、積層チップパッケージのコストが高くなるという問題点がある。すなわち、貫通電極方式では、チップに貫通電極を形成するために、後に切断されることによって複数のチップとなるウェハに、複数の貫通電極用の複数の穴を形成し、次に、この複数の穴内およびウェハの上面上に絶縁層とシード層を形成し、次に、めっき法によって複数の穴内にCu等の金属を充填して複数の貫通電極を形成し、次に、余分なシード層を除去するという一連の工程が必要である。
また、貫通電極方式では、比較的大きなアスペクト比の穴に金属を充填して貫通電極を形成する。そのため、貫通電極方式では、穴への金属の充填の不良によって貫通電極にボイドやキーホールが発生しやすく、そのため、貫通電極による配線の信頼性が低下しやすいという問題点がある。
また、貫通電極方式では、上下のチップの貫通電極同士を例えば半田により接続することによって、上下のチップを物理的に接合する。そのため、貫通電極方式では、上下のチップを正確に位置合わせした上で、高温下で上下のチップを接合する必要がある。しかし、高温下で上下のチップを接合する際には、チップの伸縮によって、上下のチップ間の位置ずれが生じて、上下のチップ間の電気的接続の不良が発生しやすい。
また、貫通電極方式では、積層された複数のチップに1つ以上の不良チップが含まれていた場合に、その不良チップを良品のチップと交換することが難しいという問題点がある。すなわち、貫通電極方式によって製造された積層チップパッケージでは、上下のチップの貫通電極同士が例えば半田によって接続されている。そのため、この積層チップパッケージから不良チップを取り外す際には、不良チップと他のチップとの間の半田を加熱により溶融させる必要がある。しかし、これにより、良品チップ間の半田も溶融するため、良品チップ間の半田が酸化したり、流れ出したりして、良品チップ間の電気的接続の不良が発生するおそれがある。そのため、貫通電極方式では、積層された複数のチップに1つ以上の不良チップが含まれていた場合に、その不良チップを良品のチップと交換することが難しく、その結果、積層チップパッケージの歩留まりが低くなると共に、コストが高くなる。
特許文献1には、以下のような積層チップパッケージの製造方法が記載されている。この製造方法では、処理されたウェハより切り出された複数のチップを埋め込み用樹脂中に埋め込んだ後、各チップに接続される複数のリードを形成して、Neo-Wafer(ネオ・ウェハ)と呼ばれる構造物を作製する。次に、このNeo-Waferを切断して、それぞれ、1つ以上のチップとこのチップの周囲を囲む樹脂と複数のリードとを含むNeo-chip(ネオ・チップ)と呼ばれる複数の構造物を作製する。チップに接続された複数のリードの端面は、Neo-chipの側面において露出する。次に、複数種類のNeo-chipを積層して積層体を作製する。この積層体において、各層毎のチップに接続された複数のリードの端面は、積層体の同じ側面において露出している。
非特許文献1には、特許文献1に記載された製造方法と同様の方法で積層体を製造すると共に、この積層体の2つ側面に配線を形成することが記載されている。
特許文献2には、それぞれフレキシブルなポリマー基板に1以上の電子的要素と複数の導電トレースとを形成してなる複数の能動層を積層して構成された多層モジュールが記載されている。
特許文献3には、メモリセルブロックとメモリ周辺回路ブロックとを、異なる半導体チップ上に形成することと、2つのチップを積層し、これらを半田バンプで接続することが記載されている。
特許文献4には、複数のLSIメモリチップと1つのLSIロジックチップとを積層し、これらを貫通電極によって接続した半導体装置が記載されている。
米国特許第5,953,588号明細書 米国特許第7,127,807 B2号明細書 米国特許第5,838,603号明細書 米国特許出願公開第US2007/0023887A1号明細書
Keith D. Gann,"Neo-Stacking Technology",HDI Magazine,1999年12月
特許文献1に記載された製造方法では、工程数が多く、積層チップパッケージのコストが高くなるという問題点がある。また、この製造方法では、処理されたウェハより切り出された複数のチップを埋め込み用樹脂中に埋め込んだ後、各チップに接続される複数のリードを形成してNeo-Waferを作製するため、Neo-Waferを作製する際に複数のチップの正確な位置合わせが必要になる。この点からも、積層チップパッケージのコストが高くなる。
特許文献2に記載された多層モジュールでは、1つの能動層において電子的要素が占める領域の割合を大きくすることができず、その結果、集積度を大きくすることが困難である。
以下、フラッシュメモリ、DRAM、SRAM等のメモリデバイスを構成するメモリチップについて考える。一般的なメモリチップは、1つの半導体チップに、複数のメモリセルとその周囲に配置された制御回路とが形成されたものである。制御回路は、複数のメモリセルに対する書き込みと読み出しを制御する回路であり、周辺回路とも呼ばれる。
従来、1つのメモリチップで大容量のメモリデバイスを構成する場合には、それぞれ複数のメモリセルを含む複数のメモリセルブロックを平面的に配置し、これら複数のメモリセルブロックの周囲に制御回路を配置していた。この場合、複数のメモリセルブロック間が、細くて長い配線によって接続される。そのため、この場合には、配線の抵抗値が高くなると共に、配線によって浮遊容量が発生する。この配線の高い抵抗値や浮遊容量は、メモリデバイスの動作の高速化の妨げとなる。
そこで、3次元実装技術を利用してメモリデバイスを構成することが考えられる。3次元実装技術を利用してメモリデバイスを構成する技術としては、以下のような技術が知られている。前述のように、特許文献3には、メモリセルブロックとメモリ周辺回路ブロックとを、異なる半導体チップ上に形成することと、2つのチップを積層し、これらを半田バンプで接続することが記載されている。また、特許文献4には、複数のLSIメモリチップと1つのLSIロジックチップとを積層し、これらを貫通電極によって接続した半導体装置が記載されている。
しかしながら、複数のチップを積層し、貫通電極によってチップ間の配線を行ってメモリデバイスを構成する場合には、前述のように、貫通電極による配線を容易に形成することができないと共に、貫通電極による配線の信頼性が低下しやすいという問題点がある。特に、大容量のメモリデバイスを構成する場合には、配線が複雑になるため、上記の問題点が顕著になる。
本発明はかかる問題点に鑑みてなされたもので、その第1の目的は、積層された複数のチップを含み、メモリデバイスを実現する積層チップパッケージであって、チップ間の電気的接続を行う配線を容易に形成でき、且つ配線の信頼性を高めることができるようにした積層チップパッケージを提供することにある。
本発明の第2の目的は、積層された複数のチップを含む積層チップパッケージを備え、メモリデバイスを実現する電子部品であって、チップ間の電気的接続を行う配線を容易に形成でき、且つ配線の信頼性を高めることができるようにした電子部品を提供することにある。
本発明の積層チップパッケージは、上面、下面および4つの側面を有する本体と、本体の少なくとも1つの側面に配置された配線とを備えている。本体は、積層された複数の階層部分を含んでいる。複数の階層部分は、それぞれ第1の種類の半導体チップを含む複数の第1の種類の階層部分と、第2の種類の半導体チップを含む第2の種類の階層部分とを含んでいる。第1の種類の半導体チップは、複数のメモリセルを含んでいる。第2の種類の半導体チップは、複数の第1の種類の階層部分に含まれる複数のメモリセルに対する書き込みと読み出しを制御する回路を含んでいる。第1の種類の半導体チップと第2の種類の半導体チップは、いずれも、上面、下面および4つの側面を有している。複数の階層部分の各々は、第1の種類または第2の種類の半導体チップの4つの側面のうちの少なくとも1つの側面を覆う絶縁部と、第1の種類または第2の種類の半導体チップに接続された複数の電極とを含んでいる。絶縁部は、配線が配置された本体の少なくとも1つの側面に配置された少なくとも1つの端面を有している。複数の電極の各々は、配線が配置された本体の少なくとも1つの側面に配置され且つ絶縁部によって囲まれた端面を有している。配線は、複数の階層部分における複数の電極の端面に接続されている。
本発明の積層チップパッケージにおいて、第1の種類の半導体チップは、更に、そこに含まれる複数のメモリセルのみに関係する回路を含んでいてもよい。
また、本発明の積層チップパッケージは、更に、本体の上面と下面の少なくとも一方に配置され、配線に接続された複数の端子を備えていてもよい。
また、本発明の積層チップパッケージにおいて、本体の4つの側面は、配線が配置された少なくとも1つの第1の種類の側面と、配線が配置されていない少なくとも1つの第2の種類の側面とを含んでいてもよい。この場合、第1の種類または第2の種類の半導体チップの4つの側面は、本体の少なくとも1つの第1の種類の側面との間に絶縁部が配置された少なくとも1つの第1の種類の側面と、本体の少なくとも1つの第2の種類の側面に配置された少なくとも1つの第2の種類の側面とを含んでいてもよい。
本発明の第1の電子部品は、積層チップパッケージと、積層チップパッケージに接合された回路層とを備えている。積層チップパッケージは、上面、下面および4つの側面を有する本体と、本体の少なくとも1つの側面に配置された配線とを備えている。本体は、積層された複数の階層部分を含んでいる。複数の階層部分の各々は、上面、下面および4つの側面を有すると共に複数のメモリセルを含む半導体チップと、半導体チップの4つの側面のうちの少なくとも1つの側面を覆う絶縁部と、半導体チップに接続された複数の電極とを含んでいる。絶縁部は、配線が配置された本体の少なくとも1つの側面に配置された少なくとも1つの端面を有している。複数の電極の各々は、配線が配置された本体の少なくとも1つの側面に配置され且つ絶縁部によって囲まれた端面を有している。配線は、複数の階層部分における複数の電極の端面に接続されている。回路層は、積層チップパッケージの配線に接続されて、複数の階層部分に含まれる複数のメモリセルに対する書き込みと読み出しを制御する回路を含んでいる。
本発明の第1の電子部品において、半導体チップは、更に、そこに含まれる複数のメモリセルのみに関係する回路を含んでいてもよい。
また、本発明の第1の電子部品において、積層チップパッケージは、更に、本体の上面と下面の少なくとも一方に配置され、配線に接続された複数の端子を備えていてもよい。この場合、回路層は、複数の端子に接続されていてもよい。
また、本発明の第1の電子部品において、本体の4つの側面は、配線が配置された少なくとも1つの第1の種類の側面と、配線が配置されていない少なくとも1つの第2の種類の側面とを含んでいてもよい。この場合、半導体チップの4つの側面は、本体の少なくとも1つの第1の種類の側面との間に絶縁部が配置された少なくとも1つの第1の種類の側面と、本体の少なくとも1つの第2の種類の側面に配置された少なくとも1つの第2の種類の側面とを含んでいてもよい。
本発明の第2の電子部品は、積層された複数の積層チップパッケージと、複数の積層チップパッケージのうちの1つに接合され且つ電気的に接続された回路層とを備えている。上下に隣接する2つの積層チップパッケージは、互いに電気的に接続されている。複数の積層チップパッケージの各々は、上面、下面および4つの側面を有する本体と、本体の少なくとも1つの側面に配置された配線とを備えている。本体は、積層された複数の階層部分を含んでいる。複数の階層部分の各々は、上面、下面および4つの側面を有すると共に複数のメモリセルを含む半導体チップと、半導体チップの4つの側面のうちの少なくとも1つの側面を覆う絶縁部と、半導体チップに接続された複数の電極とを含んでいる。絶縁部は、配線が配置された本体の少なくとも1つの側面に配置された少なくとも1つの端面を有している。複数の電極の各々は、配線が配置された本体の少なくとも1つの側面に配置され且つ絶縁部によって囲まれた端面を有している。配線は、複数の階層部分における複数の電極の端面に接続されている。回路層は、複数の積層チップパッケージに含まれる複数のメモリセルに対する書き込みと読み出しを制御する回路を含んでいる。
本発明の第2の電子部品において、半導体チップは、更に、そこに含まれる複数のメモリセルのみに関係する回路を含んでいてもよい。
また、本発明の第2の電子部品において、複数の積層チップパッケージの各々は、更に、本体の上面に配置され、配線に接続された複数の第1の端子と、本体の下面に配置され、配線に接続された複数の第2の端子とを備えていてもよい。この場合、上下に隣接する2つの積層チップパッケージにおいて、下側の積層チップパッケージの複数の第1の端子と上側の積層チップパッケージの複数の第2の端子とが電気的に接続されていてもよい。
また、本発明の第2の電子部品において、本体の4つの側面は、配線が配置された少なくとも1つの第1の種類の側面と、配線が配置されていない少なくとも1つの第2の種類の側面とを含んでいてもよい。この場合、半導体チップの4つの側面は、本体の少なくとも1つの第1の種類の側面との間に絶縁部が配置された少なくとも1つの第1の種類の側面と、本体の少なくとも1つの第2の種類の側面に配置された少なくとも1つの第2の種類の側面とを含んでいてもよい。
本発明の積層チップパッケージもしくは本発明の第1または第2の電子部品によれば、本体の少なくとも1つの側面に配置された配線によって、積層された複数のチップを電気的に接続することができることから、チップ間の電気的接続を行う配線を容易に形成でき、且つ配線の信頼性を高めることが可能になるという効果を奏する。
本発明の第1の実施の形態に係る積層チップパッケージの斜視図である。 図1に示した積層チップパッケージに含まれる1つの階層部分を示す斜視図である。 図1に示した積層チップパッケージを構成する複数の階層部分の一例を示す分解斜視図である。 図1に示した積層チップパッケージを構成する複数の階層部分の他の例を示す分解斜視図である。 本発明の第1の実施の形態に係る積層チップパッケージの製造方法における一工程で作製される基礎構造物前ウェハの一部を示す断面図である。 図5に示した工程に続く工程で作製される研磨前基礎構造物本体の一部を示す断面図である。 図6に示した工程に続く工程で作製される構造物の一部を示す断面図である。 図7に示した工程に続く工程で作製される研磨前基礎構造物の一部を示す断面図である。 図8に示した工程に続く工程で作製される構造物の一部を示す断面図である。 図9に示した工程に続く工程で作製される基礎構造物の一部を示す断面図である。 図10に示した工程に続く工程で作製される積層体の一部を示す断面図である。 図11に示した工程に続く工程で作製される積層体の一部を示す断面図である。 図12に示した工程に続く工程で作製される積層体の一部を示す断面図である。 図5に示した工程で作製される基礎構造物前ウェハを示す斜視図である。 図14に示した基礎構造物前ウェハにおける半導体チップ予定部の内部の構造の一例を示す断面図である。 図6に示した工程で作製される研磨前基礎構造物本体の一部を示す斜視図である。 図8に示した工程で作製される研磨前基礎構造物の一部を示す斜視図である。 図10に示した工程で作製される基礎構造物の一部を示す斜視図である。 図13に示した工程に続く工程を示す説明図である。 図19に示した工程に続く工程で作製される積層基礎構造物の一部を示す断面図である。 図19に示した工程に続く工程で作製される積層基礎構造物を示す斜視図である。 図20に示した工程に続く工程で作製される本体集合体の一部を示す断面図である。 図22に示した工程で作製される本体集合体の一例を示す斜視図である。 図22に示した工程で作製される本体集合体の他の例を示す斜視図である。 図22に示した工程で作製される本体集合体の一部を示す斜視図である。 本発明の第1の実施の形態に係る積層チップパッケージの製造方法において、複数の本体集合体を並べる方法の一例を示す説明図である。 それぞれ治具が張り付けられた複数の本体集合体が並べられた状態を示す斜視図である。 それぞれ治具が張り付けられていない複数の本体集合体が並べられた状態を示す斜視図である。 配線が形成された後の本体集合体の一部を示す斜視図である。 本体集合体を切断して作製された複数の積層チップパッケージを示す斜視図である。 本発明の第1の実施の形態に係る積層チップパッケージの使用例を示す斜視図である。 本発明の第1の実施の形態に係る積層チップパッケージの他の使用例を示す斜視図である。 本発明の第1の実施の形態に係る積層チップパッケージの更に他の使用例を示す斜視図である。 本発明の第2の実施の形態に係る積層チップパッケージに含まれる1つの階層部分を示す斜視図である。 本発明の第2の実施の形態における研磨前基礎構造物本体の一部を示す斜視図である。 本発明の第3の実施の形態に係る電子部品の斜視図である。 図36に示した電子部品の分解斜視図である。 本発明の第3の実施の形態に係る電子部品の製造過程を示す斜視図である。 図36に示した電子部品の使用例を示す斜視図である。 本発明の第4の実施の形態に係る積層チップパッケージの斜視図である。 下面側から見た図40の積層チップパッケージを示す斜視図である。 本発明の第5の実施の形態に係る電子部品の一態様を示す斜視図である。 本発明の第5の実施の形態に係る電子部品の他の態様を示す斜視図である。
[第1の実施の形態]
以下、本発明の実施の形態について図面を参照して詳細に説明する。始めに、図1を参照して、本発明の第1の実施の形態に係る積層チップパッケージの構成について説明する。図1は、本実施の形態に係る積層チップパッケージの斜視図である。図1に示したように、本実施の形態に係る積層チップパッケージ1は、直方体形状の本体2を備えている。本体2は、上面2a、下面2b、互いに反対側を向いた第1の側面2cおよび第2の側面2d、ならびに互いに反対側を向いた第3の側面2eおよび第4の側面2fを有している。
積層チップパッケージ1は、更に、本体2の少なくとも1つの側面に配置された配線を備えている。図1に示した例では、積層チップパッケージ1は、本体2の第1の側面2cに配置された第1の配線3Aと、本体2の第2の側面2dに配置された第2の配線3Bとを備えている。以下、任意の配線に関しては符号3を付して表す。
本体2は、積層された複数の階層部分を含んでいる。図1には、一例として、本体2が、下から順に配置された8つの階層部分11,12,13,14,15,16,17,18を含んでいる例を示している。しかし、本体2に含まれる階層部分の数は8つに限らず、複数であればよい。以下の説明では、任意の階層部分に関しては、符号10を付して表す。
本体2は、更に、最も上に配置された階層部分18の上に積層された端子層20を含んでいる。上下に隣接する2つの階層部分の間、および階層部分18と端子層20の間は、それぞれ、接着剤によって接合されている。階層部分11〜18と端子層20は、いずれも、上面と、下面と、4つの側面とを有している。端子層20は、上面と下面を有する端子層本体21と、この端子層本体21の上面に配置された複数のパッド状端子22とを含んでいる。複数のパッド状端子22は、積層チップパッケージ1における外部接続端子として機能する。複数のパッド状端子22のうちのいくつかは、本体2の側面2cに配置された端面を有し、この端面に第1の配線3Aが接続されている。複数のパッド状端子22のうちの他のいくつかは、本体2の側面2dに配置された端面を有し、この端面に第2の配線3Bが接続されている。
積層チップパッケージ1は、更に、樹脂等の絶縁性の材料によって形成され、本体2の上面2aおよび複数のパッド状端子22を覆うオーバーコート層を備えていてもよい。この場合、オーバーコート層には、複数のパッド状端子22の各々の一部を露出させる複数の開口部を形成する。
図2は、1つの階層部分10を示す斜視図である。図2に示したように、階層部分10は、半導体チップ30を含んでいる。半導体チップ30は、上面30a、下面30b、互いに反対側を向いた第1の側面30cおよび第2の側面30d、ならびに互いに反対側を向いた第3の側面30eおよび第4の側面30fを有している。側面30c,30d,30e,30fは、それぞれ、本体2の側面2c,2d,2e,2fに向いている。
階層部分10は、更に、半導体チップ30の4つの側面のうちの少なくとも1つの側面を覆う絶縁部31と、半導体チップ30に接続された複数の電極32とを含んでいる。絶縁部31は、配線が配置された本体2の少なくとも1つの側面に配置された少なくとも1つの端面31aを有している。図2に示した例では、絶縁部31は、半導体チップ30の4つの側面の全てを覆い、絶縁部31は、本体2の4つの側面に配置された4つの端面31aを有している。また、この例では、絶縁部31は、半導体チップ30の上面30aも覆っている。
また、図2に示した例では、複数の電極32は、複数の第1の電極32Aと、複数の第2の電極32Bとを含んでいる。複数の第1の電極32Aの各々は、本体2の第1の側面2cに配置され且つ絶縁部31によって囲まれた端面32Aaを有している。複数の第2の電極32Bの各々は、本体2の第2の側面2dに配置され且つ絶縁部31によって囲まれた端面32Baを有している。本体2の第1の側面2cに配置された第1の配線3Aは、複数の階層部分10における複数の第1の電極32Aの端面32Aaに接続されている。本体2の第2の側面2dに配置された第2の配線3Bは、複数の階層部分10における複数の第2の電極32Bの端面32Baに接続されている。以下、任意の電極に関しては符号32を付して表し、任意の電極32の端面に関しては符号32aを付して表す。
積層チップパッケージ1は、フラッシュメモリ、DRAM、SRAM、MRAM、PROM、FeRAM等のメモリデバイスを実現するものである。複数の階層部分10は、それぞれ第1の種類の半導体チップ30を含む複数の第1の種類の階層部分と、第2の種類の半導体チップ30を含む1つ以上の第2の種類の階層部分とを含んでいる。第1の種類の半導体チップ30は、複数のメモリセルを含んでいる。第2の種類の半導体チップ30は、複数の第1の種類の階層部分に含まれる複数のメモリセルに対する書き込みと読み出しを制御する制御回路を含んでいる。ここでは、一例として、階層部分11が第2の種類の階層部分で、他の階層部分12〜18が第1の種類の階層部分であるものとする。
第2の種類の半導体チップ30に含まれる制御回路は、具体的には、コラムアドレスバッファ、ローアドレスバッファ、コラムデコーダ、ローデコーダ、センスアンプ、ベリファイ回路、冗長回路、クロック発生回路等を含んでいる。
第1の種類の半導体チップ30は、複数のメモリセルの他に、そこに含まれる複数のメモリセルのみに関係する回路を含んでいてもよい。例えば、第1の種類の半導体チップ30は、そこに含まれる複数のメモリセルのみに関係するコラムデコーダ、ローデコーダ、センスアンプ、ベリファイ回路、冗長回路等を含んでいてもよい。ただし、複数の第1の種類の半導体チップ30に含まれる複数組のメモリセルに関係する回路は、第2の種類の半導体チップ30に含まれる。
図3は、図1に示した積層チップパッケージを構成する複数の階層部分の一例を示す分解斜視図である。なお、図3では、階層部分12〜18の一部を省略している。図3に示した例では、第1の種類の階層部分である階層部分12〜18に含まれる第1の種類の半導体チップ30は、複数のメモリセルからなるメモリセル部301Aを含んでいるが、その他の回路を含んでいない。第2の種類の階層部分である階層部分11に含まれる第2の種類の半導体チップ30は、制御回路302を含んでいる。
図4は、図1に示した積層チップパッケージを構成する複数の階層部分の他の例を示す分解斜視図である。なお、図4では、階層部分12〜18の一部を省略している。図4に示した例では、第1の種類の階層部分である階層部分12〜18に含まれる第1の種類の半導体チップ30は、複数のメモリセルからなるメモリセル部301Aと、このメモリセル部301Aに含まれる複数のメモリセルのみに関係する回路301Bとを含んでいる。第2の種類の階層部分である階層部分11に含まれる第2の種類の半導体チップ30は、制御回路302を含んでいる。
本実施の形態に係る積層チップパッケージ1では、複数の階層部分10に含まれる複数の半導体チップ30が配線3によって電気的に接続されることによって、メモリデバイスが実現される。
本実施の形態に係る積層チップパッケージ1によれば、積層チップパッケージ1が、それぞれ複数のメモリセルを含む複数の第1の種類の半導体チップ30を含むことから、大容量のメモリデバイスを実現することができる。また、この積層チップパッケージ1によれば、積層チップパッケージ1に含まれる第1の種類の半導体チップ30の数を変えることにより、64GB(ギガバイト)、128GB、256GB等の種々の容量のメモリデバイスを容易に実現することができる。
次に、本実施の形態に係る積層チップパッケージ1の製造方法について説明する。本実施の形態に係る積層チップパッケージ1の製造方法は、積層基礎構造物を作製する工程と、この積層基礎構造物を用いて、複数の積層チップパッケージ1を作製する工程とを備えている。積層基礎構造物を作製する工程では、積層チップパッケージ1の複数の階層部分10にそれぞれ対応する複数の基礎構造物であって、各々が対応する階層部分10を複数含み、後にそれら対応する階層部分10のうちの隣接するもの同士の境界位置で切断される複数の基礎構造物を、積層チップパッケージ1の複数の階層部分10の積層の順序に対応させて積層して、積層基礎構造物を作製する。複数の基礎構造物の各々は、同種の階層部分10を複数含んでいてもよい。
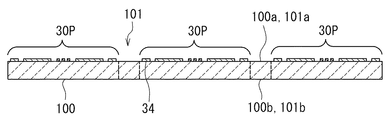
以下、図5ないし図21を参照して、本実施の形態に係る積層チップパッケージ1の製造方法における積層基礎構造物を作製する工程について詳しく説明する。積層基礎構造物を作製する工程では、まず、積層チップパッケージ1の複数の階層部分10にそれぞれ対応する複数の基礎構造物前ウェハを作製する。
図5は、1つの基礎構造物前ウェハを作製する工程を示している。この工程では、互いに反対側を向いた第1の面100aおよび第2の面100bを有する1つの半導体ウェハ100における第1の面100aに処理、例えばウェハプロセスを施すことによって、それぞれデバイスを含み、後に複数の半導体チップ30となる複数の半導体チップ予定部30Pが配列された基礎構造物前ウェハ101を作製する。基礎構造物前ウェハ101における複数の半導体チップ予定部30Pは、後に同種の複数の半導体チップ30となるものであってもよい。基礎構造物前ウェハ101は、半導体ウェハ100の第1の面100aに対応する第1の面101aと、半導体ウェハ100の第2の面100bに対応する第2の面101bとを有している。基礎構造物前ウェハ101において、複数の半導体チップ予定部30Pは一列に配列されていてもよいし、縦方向と横方向にそれぞれ複数個並ぶように、複数列に配列されていてもよい。以下の説明では、基礎構造物前ウェハ101において、複数の半導体チップ予定部30Pは、縦方向と横方向にそれぞれ複数個並ぶように、複数列に配列されているものとする。
半導体ウェハ100としては、例えばシリコンウェハが用いられる。ウェハプロセスとは、ウェハを加工して、複数のチップに分割される前の複数のデバイスを作製するプロセスである。基礎構造物前ウェハ101において、第1の面101aは、デバイスが形成されているデバイス形成面である。複数の半導体チップ予定部30Pの各々は、基礎構造物前ウェハ101の第1の面101aに配置された複数のパッド状電極34を有している。
図14は、基礎構造物前ウェハ101を示す斜視図である。図14に示したように、基礎構造物前ウェハ101には、縦方向に隣接する2つの半導体チップ予定部30Pの境界を通るように横方向に延びる複数のスクライブライン102Aと、横方向に隣接する2つの半導体チップ予定部30Pの境界を通るように縦方向に延びる複数のスクライブライン102Bとが形成されている。
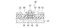
図15は、図14に示した基礎構造物前ウェハ101における半導体チップ予定部30Pの内部の構造の一例を示す断面図である。ここでは、半導体チップ予定部30Pに、デバイスとして、フラッシュメモリにおける複数のメモルセルが形成されている例を示す。図15は、半導体チップ予定部30Pに形成されたデバイスとしての複数のメモルセルのうちの1つを示している。このメモリセル40は、半導体ウェハ100よりなるP型シリコン基板41の表面(半導体ウェハ100の第1の面100a)の近傍に形成されたソース42およびドレイン43を備えている。ソース42およびドレイン43は、共にN型の領域である。ソース42とドレイン43は、これらの間にP型シリコン基板41の一部よりなるチャネルが形成されるように、所定の間隔を開けて配置されている。メモリセル40は、更に、ソース42とドレイン43の間において基板41の表面上に順に積層された絶縁膜44、浮遊ゲート45、絶縁膜46および制御ゲート47を備えている。メモリセル40は、更に、ソース42、ドレイン43、絶縁膜44、浮遊ゲート45、絶縁膜46および制御ゲート47を覆う絶縁層48を備えている。この絶縁層48には、ソース42、ドレイン43、制御ゲート47のそれぞれの上で開口するコンタクトホールが形成されている。メモリセル40は、それぞれ、ソース42、ドレイン43、制御ゲート47の上方の位置で絶縁層48上に形成されたソース電極52、ドレイン電極53、制御ゲート電極57を備えている。ソース電極52、ドレイン電極53、制御ゲート電極57は、それぞれ、対応するコンタクトホールを通して、ソース42、ドレイン43、制御ゲート47に接続されている。
積層チップパッケージ1の複数の階層部分10にそれぞれ対応する複数の基礎構造物前ウェハ101は、いずれも、図5を参照して説明した工程によって作製される。
図6は、図5に示した工程に続く工程を示している。この工程では、まず、基礎構造物前ウェハ101の第1の面101aの全体を覆うように、フォトレジスト等よりなる保護膜103を形成する。次に、基礎構造物前ウェハ101に対して、少なくとも1つの半導体チップ予定部30Pに隣接するように延び、且つ基礎構造物前ウェハ101の第1の面101aにおいて開口する1以上の溝104を形成する。ここでは、図6に示したように、複数の溝104を形成するものとする。隣接する2つの半導体チップ予定部30Pの境界の位置では、隣接する2つの半導体チップ予定部30Pの境界を通るように溝104が形成される。このようにして、複数の溝104が形成された後の基礎構造物前ウェハ101よりなる研磨前基礎構造物本体105が作製される。研磨前基礎構造物本体105は、複数の半導体チップ予定部30Pを含んでいる。また、研磨前基礎構造物本体105は、半導体ウェハ100の第1の面100aおよび基礎構造物前ウェハ101の第1の面101aに対応する第1の面105aと、半導体ウェハ100の第2の面100bおよび基礎構造物前ウェハ101の第2の面101bに対応する第2の面105bと、第1の面105aにおいて開口する複数の溝104とを有している。研磨前基礎構造物本体105において、第1の面105aは、デバイスが形成されているデバイス形成面である。
複数の溝104は、図14に示したスクライブライン102A,102Bに沿って形成される。また、溝104は、その底部が基礎構造物前ウェハ101の第2の面101bに達しないように形成される。溝104の幅は、例えば10〜150μmの範囲内である。溝104の深さは、例えば30〜150μmの範囲内である。溝104は、例えば、ダイシングソーによって形成してもよいし、反応性イオンエッチング等のエッチングによって形成してもよい。
図16は、図6に示した工程で作製される研磨前基礎構造物本体105の一部を示している。本実施の形態では、複数の溝104は、複数の第1の溝104Aと複数の第2の溝104Bとを含んでいる。複数の第1の溝104Aと複数の第2の溝104Bは、互いに直交する方向に延びている。なお、図16には、1つの第1の溝104Aと1つの第2の溝104Bのみを示している。第1の溝104Aは、図14に示したスクライブライン102Aに沿って形成され、第2の溝104Bは、図14に示したスクライブライン102Bに沿って形成されている。
図7は、図6に示した工程に続く工程を示している。この工程では、まず、研磨前基礎構造物本体105の複数の溝104を埋め、且つ複数のパッド状電極34を覆うように、絶縁層106を形成する。この絶縁層106は、後に絶縁部31の一部となるものである。次に、絶縁層106に、複数のパッド状電極34を露出させるための複数の開口部106aを形成する。
絶縁層106は、エポキシ樹脂、ポリイミド樹脂等の樹脂によって形成されてもよい。また、絶縁層106は、感光剤を含んだポリイミド樹脂等の感光性を有する材料によって形成されてもよい。絶縁層106が感光性を有する材料によって形成されている場合には、フォトリソグラフィによって絶縁層106に開口部106aを形成することができる。絶縁層106が感光性を有しない材料によって形成されている場合には、絶縁層106を選択的にエッチングすることによって、絶縁層106に開口部106aを形成することができる。
また、絶縁層106は、複数の溝104を埋める第1層と、この第1層および複数のパッド状電極34を覆う第2層とを含んでいてもよい。この場合には、開口部106aは、第2層に形成される。第1層と第2層は、共に、エポキシ樹脂、ポリイミド樹脂等の樹脂によって形成されてもよい。また、第2層は、感光剤を含んだポリイミド樹脂等の感光性を有する材料によって形成されてもよい。第2層が感光性を有する材料によって形成されている場合には、フォトリソグラフィによって第2層に開口部106aを形成することができる。第2層が感光性を有しない材料によって形成されている場合には、第2層を選択的にエッチングすることによって、第2層に開口部106aを形成することができる。
また、絶縁層106は、熱膨張係数の小さな樹脂によって形成することが好ましい。熱膨張係数の小さな樹脂によって絶縁層106を形成することにより、後にダイシングソーによって絶縁層106を切断する場合に、絶縁層106の切断が容易になる。
また、絶縁層106は、透明であることが好ましい。絶縁層106が透明であることにより、後に絶縁層106の上に形成されるアライメントマークを、絶縁層106を通して容易に認識することが可能になる。
図8は、図7に示した工程に続く工程を示している。この工程では、一部が絶縁層106の上に配置されるように、複数の電極32を形成する。各電極32は、開口部106aを通してパッド状電極34に接続される。図17は、図8に示した工程で作製される構造物の一部を示している。なお、図8および図17には、隣接する2つの半導体チップ予定部30Pの各々から延びる電極32同士が連結されている例を示している。しかし、隣接する2つの半導体チップ予定部30Pの各々から延びる電極32は連結されていなくてもよい。
電極32は、Cu等の導電性材料によって形成される。また、電極32は、例えばフレームめっき法によって形成される。この場合には、まず、絶縁層106の上に、めっき用のシード層を形成する。次に、シード層の上に、溝部を有するフレームを形成する。このフレームは、例えば、フォトリソグラフィによりフォトレジスト層をパターニングすることによって形成される。次に、めっき法によって、フレームの溝部内であってシード層の上に、電極32の一部となるめっき層を形成する。次に、フレームを除去し、更に、シード層のうち、めっき層の下に存在する部分以外の部分をエッチングによって除去する。これにより、めっき層およびその下に残ったシード層によって電極32が形成される。
図17に示したように、複数の電極32を形成する工程では、複数の電極32の形成と同時に、絶縁層106の上に複数のアライメントマーク107を形成する。アライメントマーク107は、溝104の上方の位置に配置される。アライメントマーク107の材料および形成方法は、電極32と同様である。
このようにして、図8および図17に示す研磨前基礎構造物109が作製される。研磨前基礎構造物109は、研磨前基礎構造物本体105と、研磨前基礎構造物本体105の複数の溝104を埋め、後に絶縁部31の一部となる絶縁層106と、一部が絶縁層106の上に配置された複数の電極32と、絶縁層106の上に配置された複数のアライメントマーク107とを備えている。また、研磨前基礎構造物109は、半導体ウェハ100の第1の面100aおよび基礎構造物前ウェハ101の第1の面101aに対応する第1の面109aと、半導体ウェハ100の第2の面100bおよび基礎構造物前ウェハ101の第2の面101bに対応する第2の面109bとを有している。
積層チップパッケージ1の複数の階層部分10にそれぞれ対応する複数の研磨前基礎構造物109は、いずれも、図6ないし図8を参照して説明した工程によって作製される。
図9は、図8に示した工程に続く工程を示している。この工程では、1つの研磨前基礎構造物109の第1の面109aが、図9に示した板状の治具112の一方の面に対向するように、絶縁性の接着剤によって、研磨前基礎構造物109を治具112に張り付ける。以下、この治具112に貼り付けられた研磨前基礎構造物109を、第1の研磨前基礎構造物109と呼ぶ。また、第1の研磨前基礎構造物109を作製する基となる基礎構造物前ウェハ101を第1の基礎構造物前ウェハ101と呼ぶ。接着剤によって形成される絶縁層113は、電極32を覆い、絶縁部31の一部となる。絶縁層113は、透明であることが好ましい。
次に、第1の研磨前基礎構造物109における第2の面109bを研磨する。この研磨は、複数の溝104が露出するまで行う。図9において、破線は、研磨後の面109bの位置を示している。第1の研磨前基礎構造物109における第2の面109bを研磨することにより、第1の研磨前基礎構造物109が研磨により薄くされることによって、基礎構造物110が、治具112に張り付けられた状態で形成される。この基礎構造物110の厚みは、例えば30〜100μmである。
図10は、治具112に張り付けられた基礎構造物110を示している。以下、この治具112に張り付けられた基礎構造物110を、第1の基礎構造物110と呼ぶ。第1の基礎構造物110は、第1の研磨前基礎構造物109の第1の面109aに対応する第1の面110aと、その反対側の第2の面110bとを有している。第2の面110bは、研磨された面である。
図18は、図10に示した工程で作製される第1の基礎構造物110の一部を示している。前述のように、複数の溝104が露出するまで、第1の研磨前基礎構造物109における第2の面109bを研磨することにより、複数の半導体チップ予定部30Pは、互いに分離されて、それぞれ半導体チップ30となる。
図11は、図10に示した工程に続く工程を示している。この工程では、治具112に張り付けられた第1の基礎構造物110に、絶縁性の接着剤によって、研磨前基礎構造物109を張り付ける。この研磨前基礎構造物109は、第1の面109aが、第1の基礎構造物110の研磨された面すなわち第2の面110bに対向するように、第1の基礎構造物110に張り付けられる。以下、第1の基礎構造物110に張り付けられる研磨前基礎構造物109を、第2の研磨前基礎構造物109と呼ぶ。また、第2の研磨前基礎構造物109を作製する基となる基礎構造物前ウェハ101を第2の基礎構造物前ウェハ101と呼ぶ。接着剤によって形成される絶縁層113は、電極32を覆い、絶縁部31の一部となる。絶縁層113は、透明であることが好ましい。
次に、第2の研磨前基礎構造物109における第2の面109bを研磨する。この研磨は、複数の溝104が露出するまで行う。図11において、破線は、研磨後の面109bの位置を示している。第2の研磨前基礎構造物109における第2の面109bを研磨することにより、第2の研磨前基礎構造物109が研磨により薄くされることによって、基礎構造物110が、第1の基礎構造物110上に積層された状態で形成される。以下、この第1の基礎構造物110上に積層された基礎構造物110を第2の基礎構造物110と呼ぶ。
図12は、第2の研磨前基礎構造物109における第2の面109bが研磨されて、治具112上に第1の基礎構造物110と第2の基礎構造物110とが積層された状態を示している。第2の基礎構造物110は、第2の研磨前基礎構造物109の第1の面109aに対応する第1の面110aと、その反対側の第2の面110bとを有している。第2の面110bは、研磨された面である。第2の基礎構造物110の厚みは、第1の基礎構造物110と同様に、例えば30〜100μmである。
ここで、絶縁層106,113が透明である場合には、治具112としてアクリル板、ガラス板等の透明なものを用いることにより、第1の基礎構造物110に第2の研磨前基礎構造物109を張り付ける際に、治具112の外側より、第1の基礎構造物110と第2の研磨前基礎構造物109におけるアライメントマーク107を見ることが可能になる。これにより、アライメントマーク107を利用して、第1の基礎構造物110と第2の研磨前基礎構造物109の位置合わせを行うことが可能になる。
以下、図11および図12に示した工程と同様の工程を繰り返し行って、第2の基礎構造物110の上に更に1つ以上の基礎構造物110を積層して、治具112上に3つ以上の基礎構造物110を積層してもよい。ここでは、一例として、図13に示したように、治具112上に4つの基礎構造物110を積層するものとする。なお、本実施の形態において、治具112上に積層する基礎構造物110の数は2つ以上であればよい。
図19は、図13に示した工程に続く工程を示している。この工程では、それぞれ4つの基礎構造物110を含む2つの積層体を用意し、この2つの積層体を張り合わせて、8つの基礎構造物110を含む新たな積層体を作製する。4つの基礎構造物110を含む2つの積層体は、いずれも図9ないし図13に示した工程によって作製される。なお、図19において上側に配置された4つの基礎構造物110を含む積層体と治具112の組み合わせは、図13に示した積層体と治具112とを分離した後、治具112を、積層体において当初張り付けられていた面とは反対側の面に張り付けることによって作製されている。このように、張り合わせる2つの積層体の一方について、治具112を張り直すことにより、図19に示したように、8つの基礎構造物110における第1および第2の面の上下の位置関係が同じになるように、8つの基礎構造物110を積層することが可能になる。
図20および図21は、図19に示した工程に続く工程を示す。この工程では、図19に示した工程で作製された8つの基礎構造物110を含む積層体における最も上に配置された基礎構造物110の上に、更に端子用ウェハ120を積層して、積層基礎構造物115を作製する。端子用ウェハ120は、樹脂、セラミック等の絶縁材料によって形成された板状のウェハ本体121を有している。ウェハ本体121は、後に互いに分離されてそれぞれ端子層本体21となる複数の端子層本体予定部21Pを含んでいる。端子用ウェハ120は、更に、ウェハ本体121の上面に配置された複数組のパッド状端子22を有している。1組のパッド状端子22は、1つの端子層本体予定部21Pに配置されている。なお、図20および図21には、隣接する2つの端子層本体予定部21Pの境界において、2つの端子層本体予定部21Pの各々に配置された複数のパッド状端子22同士が連結されている例を示している。しかし、隣接する2つの端子層本体予定部21Pの各々に配置された複数のパッド状端子22は連結されていなくてもよい。ウェハ本体121は透明であってもよい。この場合、ウェハ本体121の上面において、隣接する2つの端子層本体予定部21Pの境界の位置にアライメントマークを設けてもよい。
本実施の形態において、積層基礎構造物115を作製する工程は、第1の基礎構造物前ウェハ101を作製する工程と、第2の基礎構造物前ウェハ101を作製する工程と、第1の基礎構造物前ウェハ101を用いて第1の研磨前基礎構造物109を作製する工程と、第2の基礎構造物前ウェハ101を用いて第2の研磨前基礎構造物109を作製する工程と、第1の研磨前基礎構造物109を治具112に張り付ける工程と、第1の基礎構造物110が形成されるように第1の研磨前基礎構造物109における第2の面109bを研磨する第1の研磨工程と、第1の基礎構造物110に第2の研磨前基礎構造物109を張り付ける工程と、第2の基礎構造物110が形成されるように第2の研磨前基礎構造物109における第2の面109bを研磨する第2の研磨工程とを含んでいる。
第1および第2の基礎構造物前ウェハ101は、いずれも、図5を参照して説明した工程によって作製される。第1および第2の研磨前基礎構造物109は、いずれも、図6ないし図8を参照して説明した工程によって作製される。第1の研磨前基礎構造物109を治具112に張り付ける工程では、図9に示したように、第1の研磨前基礎構造物109の第1の面109aが治具112に対向するように、第1の研磨前基礎構造物109を治具112に張り付ける。第1の研磨工程では、図9および図10に示したように、第1の研磨前基礎構造物109が研磨により薄くされることによって、第1の基礎構造物110が、治具112に張り付けられた状態で形成されるように、第1の研磨前基礎構造物109における第2の面109bを研磨する。第1の基礎構造物110に第2の研磨前基礎構造物109を張り付ける工程では、図11に示したように、第2の研磨前基礎構造物109の第1の面109aが、第1の基礎構造物110の研磨された面すなわち第2の面110bに対向するように、第1の基礎構造物110に第2の研磨前基礎構造物109を張り付ける。第2の研磨工程では、第2の研磨前基礎構造物109が研磨により薄くされることによって、第2の基礎構造物110が、第1の基礎構造物110上に積層された状態で形成されるように、第2の研磨前基礎構造物109における第2の面109bを研磨する。
単独の状態の研磨前基礎構造物109に対して研磨を行って基礎構造物110を作製すると、基礎構造物110が例えば30〜100μmのように薄くなるために、基礎構造物110の取り扱いが難しくなると共に、基礎構造物110が損傷を受け易くなる。また、基礎構造物110において半導体チップ30と絶縁層106の熱膨張係数が異なることから、基礎構造物110が薄くなると、基礎構造物110が丸まってしまい、この点からも、基礎構造物110の取り扱いが難しくなると共に、基礎構造物110が損傷を受け易くなる。
本実施の形態では、第1の研磨前基礎構造物109については、治具112に張り付けられた状態で研磨を行うため、第1の研磨前基礎構造物109が研磨により薄くされることによって形成された第1の基礎構造物110の取り扱いが容易になると共に、第1の基礎構造物110が損傷を受け難くなる。また、第2の研磨前基礎構造物109については、治具112に張り付けられた第1の基礎構造物110に対して張り付けられた状態で研磨を行うため、第2の研磨前基礎構造物109が研磨により薄くされることによって形成された第2の基礎構造物110の取り扱いが容易になると共に、第2の基礎構造物110が損傷を受け難くなる。第2の基礎構造物110の上に積層される1つ以上の基礎構造物110についても同様である。
なお、本実施の形態において、積層基礎構造物115を作製する方法は、図5ないし図21を参照して説明した方法に限らない。例えば、第1の面109a同士が対向するように2つの研磨前基礎構造物109を張り合わせ、この2つの研磨前基礎構造物109における2つの第2の面109bを研磨して、2つの基礎構造物110を含む積層体を作製し、この積層体を複数積層して積層基礎構造物115を作製してもよい。あるいは、第2の面110b同士が対向するように2つの基礎構造物110を張り合わせて、2つの基礎構造物110を含む積層体を作製し、この積層体を複数積層して積層基礎構造物115を作製してもよい。
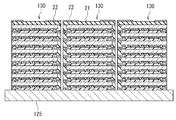
以下、積層基礎構造物115を用いて、複数の積層チップパッケージ1を作製する工程について説明する。この工程では、まず、図22に示したように、ダイシングソーによって、図18における第1の溝104Aに沿って、積層基礎構造物115を切断して、複数の本体集合体130を作製する。図23は本体集合体130の一例を示し、図24は本体集合体130の他の例を示している。図23および図24に示したように、本体集合体130は、積層チップパッケージ1の複数の階層部分10の積層方向と直交する一方向に配列され、それぞれ後に本体2となる複数の本体予定部2Pを含んでいる。図23に示した本体集合体130は、端子用ウェハ120のウェハ本体121が透明で、ウェハ本体121の上面において、隣接する2つの端子層本体予定部21Pの境界の位置に、アライメントマーク123が設けられた積層基礎構造物115を切断して得られたものである。図24に示した本体集合体130は、ウェハ本体121の上面にアライメントマーク123が設けられていない積層基礎構造物115を切断して得られたものである。なお、図23および図24には、本体集合体130が5つの本体予定部2Pを含む例を示したが、本体集合体130に含まれる本体予定部2Pの数は複数であればよい。
積層基礎構造物115の切断は、積層基礎構造物115を板状の治具または一般的にウェハのダイシングの際に使用されるウェハシートに張り付けた状態で行ってもよい。図22は、積層基礎構造物115を板状の治具125に張り付けた状態で、積層基礎構造物115の切断を行った例を示している。また、図22では、治具125は切断されていないが、積層基礎構造物115と共に治具125も切断してもよい。
図23および図24に示したように、本体集合体130は、上面と、下面と、4つの側面を有している。本体集合体130の下面には、治具126を張り付けてもよい。この治具126は、積層基礎構造物115を切断する際に積層基礎構造物115に張り付けた治具125が切断されて形成されたものであってもよい。
積層基礎構造物115を切断する工程では、図18における第1の溝104Aが延びる方向に沿って切断面が形成されるように絶縁層106が切断される。図25は、積層基礎構造物115を切断することによって作製された本体集合体130の一部を示している。図25に示したように、絶縁層106は、切断されることにより、絶縁部31の一部である絶縁層31Aとなる。また、絶縁層106の切断面、すなわち絶縁層31Aの切断面31Aaによって、絶縁部31の端面31aの一部が形成される。
積層基礎構造物115を切断する工程では、絶縁層106が切断される際に、電極32を覆う絶縁層113も切断される。絶縁層113は、切断されることにより、絶縁部31の他の一部である絶縁層31Bとなる。また、絶縁層113の切断面、すなわち絶縁層31Bの切断面31Baによって、絶縁部31の端面31aの他の一部が形成される。
また、積層基礎構造物115を切断する工程では、絶縁層106が切断されることによって、絶縁部31の端面31aから複数の電極32の端面32aが露出する。端面32aは、絶縁部31によって囲まれている。
積層基礎構造物115を切断することにより、本体集合体130の4つの側面のうち、複数の本体予定部2Pが並ぶ方向に平行な2つの側面に、それぞれ、複数の電極32の端面32aが現れる。より詳しく説明すると、本体集合体130の1つの側面には、本体集合体130に含まれる全ての階層部分10における複数の電極32Aの端面32Aaが現れ、この側面とは反対側の本体集合体130の側面には、本体集合体130に含まれる全ての階層部分10における複数の電極32Bの端面32Baが現れる。
複数の積層チップパッケージ1を作製する工程では、積層基礎構造物115を切断した後、複数の電極32の端面32aが現れる本体集合体130の2つの側面を研磨する。次に、本体集合体130における各本体予定部2Pに対してそれぞれ配線3A,3Bを形成する。この配線3A,3Bを形成する工程では、複数の本体集合体130を、複数の階層部分10の積層方向に並べた後、この複数の本体集合体130における各本体予定部2Pに対して同時に配線3A,3Bを形成してもよい。これにより、短時間で、多数の本体予定部2Pに対して配線3A,3Bを形成することが可能になる。
図26は、複数の本体集合体130を並べる方法の一例を示している。この例では、チップの位置の認識および制御が可能なチップボンディング装置を利用して、テーブル142上において、それぞれ治具126が張り付けられた複数の本体集合体130を、位置合わせを行いながら複数の階層部分10の積層方向に並べている。図26において、符号141は、チップを保持するためのヘッドを示している。この例では、治具126が張り付けられた状態の本体集合体130をヘッド141によって保持し、本体集合体130の位置の認識および制御を行いながら、本体集合体130をテーブル142上の所望の位置に配置している。図27は、それぞれ治具126が張り付けられた複数の本体集合体130が、複数の階層部分10の積層方向に並べられた状態を表している。なお、並べられた複数の本体集合体130を、容易に分離可能に接着して固定してもよい。
複数の本体集合体130を並べる際には、チップボンディング装置が備えている画像認識装置によって、本体集合体130の外縁の位置や、本体集合体130の側面に現れている電極32の端面32aの位置を認識することにより、本体集合体130の位置の認識および制御を行うことが可能になる。
また、それぞれ治具126が張り付けられていない複数の本体集合体130を、位置合わせを行いながら、複数の階層部分10の積層方向に並べてもよい。図28は、このようにして並べられた複数の本体集合体130を表している。この場合も、並べられた複数の本体集合体130を、容易に分離可能に接着して固定してもよい。
それぞれ治具126が張り付けられていない複数の本体集合体130を並べる場合において、絶縁部31および端子層本体21となる部分が透明で、アライメントマーク107,123の少なくとも一方を観察可能な場合には、チップボンディング装置が備えている画像認識装置によって、アライメントマーク107,123の少なくとも一方を認識することにより、本体集合体130の位置の認識および制御を行ってもよい。この場合には、画像認識装置によって、図26において符号143で示す矢印方向からアライメントマークを観察する。
次に、図29を参照して、配線3A,3Bを形成する工程について説明する。この工程では、本体集合体130における各本体予定部2Pに対してそれぞれ配線3A,3Bを形成する。配線3A,3Bは、例えばフレームめっき法によって形成される。この場合には、まず、配線3Aを形成すべき本体集合体130の側面上に、めっき用のシード層を形成する。次に、シード層の上に、溝部を有するフレームを形成する。このフレームは、例えば、フォトレジストフィルムをフォトリソグラフィによりパターニングすることによって形成される。次に、めっき法によって、フレームの溝部内であってシード層の上に、配線3Aの一部となるめっき層を形成する。次に、フレームを除去し、更に、シード層のうち、めっき層の下に存在する部分以外の部分をエッチングによって除去する。これにより、めっき層およびその下に残ったシード層によって配線3Aが形成される。次に、配線3Bを形成すべき本体集合体130の側面上に、配線3Aの形成方法と同様の方法によって配線3Bを形成する。図29は、配線3A,3Bが形成された後の本体集合体130の一部を示している。
次に、図30を参照して、本体集合体130を切断する工程について説明する。この工程では、本体集合体130に含まれる複数の本体予定部2Pが互いに分離されてそれぞれ本体2となることによって複数の積層チップパッケージ1が形成されるように、本体集合体130を切断する。このようにして、図30に示したように、積層チップパッケージ1が複数個同時に製造される。
本実施の形態に係る積層チップパッケージ1は、そのままの状態で、1つの電子部品(メモリデバイス)として使用することが可能である。例えば、積層チップパッケージ1は、複数のパッド状端子22が下を向くように配線基板上に配置することにより、フリップチップ法によって配線基板に実装することができる。
また、例えば、積層チップパッケージ1を使用する装置に、積層チップパッケージ1を収容する凹部が設けられている場合には、複数のパッド状端子22が上を向くようにして、凹部内に積層チップパッケージ1を挿入し、複数のパッド状端子22を装置内の回路に接続することができる。
図31は、積層チップパッケージ1の使用例を示している。この例では、積層チップパッケージ1の複数のパッド状端子22にそれぞれボンディングワイヤ160の一端を接続している。ボンディングワイヤ160の他端は、積層チップパッケージ1を使用する装置における端子に接続される。
図32および図33は、積層チップパッケージ1の他の使用例を示している。この例では、複数のピン161を有するリードフレームに積層チップパッケージ1を取り付け、積層チップパッケージ1をモールド樹脂によって封止している。積層チップパッケージ1の複数のパッド状端子22は、複数のピン161に接続されている。モールド樹脂は、積層チップパッケージ1を保護する保護層162となる。図32は、複数のピン161が水平方向に延びている例を示している。図33は、複数のピン161が下方に向けて折り曲げられた例を示している。
以上説明したように、本実施の形態によれば、メモリデバイスを実現する積層チップパッケージ1であって、積層された複数のチップ30を含み、高集積化の可能な積層チップパッケージ1を実現することができる。本実施の形態に係る積層チップパッケージ1は、上面、下面および4つの側面を有する本体2と、この本体2の少なくとも1つの側面に配置された配線3とを備えている。本体2は、積層された複数の階層部分10を含んでいる。複数の階層部分10の各々は、上面、下面および4つの側面を有する半導体チップ30と、半導体チップ30の4つの側面のうちの少なくとも1つの側面を覆う絶縁部31と、半導体チップ30に接続された複数の電極32とを含んでいる。絶縁部31は、配線3が配置された本体2の少なくとも1つの側面に配置された少なくとも1つの端面31aを有している。複数の電極32の各々は、配線3が配置された本体2の少なくとも1つの側面に配置され且つ絶縁部31によって囲まれた端面32aを有している。配線3は、複数の階層部分10における複数の電極32の端面32aに接続されている。
本実施の形態では、積層された複数の半導体チップ30は、本体2の少なくとも1つの側面に配置された配線3によって電気的に接続される。そのため、本実施の形態では、ワイヤボンディング方式における問題点、すなわちワイヤ同士の接触を避けるために電極の間隔を小さくすることが難しいという問題点や、ワイヤの高い抵抗値が回路の高速動作の妨げになるという問題点は生じない。
また、本実施の形態では、貫通電極方式に比べて以下の利点がある。まず、本実施の形態では、チップに貫通電極を形成する必要がないので、チップに貫通電極を形成するための多くの工程は不要である。
また、本実施の形態では、複数の半導体チップ30間の電気的接続を、本体2の少なくとも1つの側面に配置された配線3によって行う。そのため、本実施の形態によれば、複数のチップ間の電気的接続を貫通電極によって行う場合に比べて、複数の半導体チップ30間の電気的接続を行う配線を容易に形成でき、且つ配線の信頼性を向上させることができる。
また、本実施の形態では、配線3の線幅や厚みを容易に変更することができる。そのため、本実施の形態によれば、将来における配線3の微細化の要望にも容易に対応することができる。
また、貫通電極方式では、上下のチップの貫通電極同士を、例えば、高温下で半田によって接続する必要がある。これに対し、本実施の形態では、配線3は例えばめっき法によって形成することができるため、より低温下で、配線3を形成することが可能である。また、本実施の形態では、複数の階層部分10の接合も低温下で行うことができる。そのため、チップ30が熱によって損傷を受けることを防止することができる。
また、貫通電極方式では、上下のチップの貫通電極同士を接続するため、上下のチップを正確に位置合わせする必要がある。これに対し、本実施の形態では、複数の半導体チップ30間の電気的接続を、上下に隣接する2つの階層部分10の界面では行わず、本体2の少なくとも1つの側面に配置された配線3によって行うため、複数の階層部分10の位置合わせの精度は、貫通電極方式における複数のチップ間の位置合わせの精度に比べて緩やかでよい。
また、貫通電極方式では、上下のチップの貫通電極同士が例えば半田によって接続されているため、積層された複数のチップに1つ以上の不良チップが含まれていた場合に、その不良チップを良品のチップと交換することが難しい。これに対し、本実施の形態では、積層チップパッケージ1に1つ以上の不良の半導体チップ30が含まれていた場合に、その不良チップを良品のチップと容易に交換することが可能である。すなわち、不良チップを良品のチップと交換する場合には、まず、例えば研磨によって配線3を除去する。次に、少なくとも不良の半導体チップ30を含む階層部分10と他の階層部分10とが分離するように、本体2を分解して、不良の半導体チップ30を取り出す。本実施の形態では、上下に隣接する2つの階層部分10は接着剤によって接合されているので、これらの分離は容易である。次に、不良の半導体チップ30の代りに良品の半導体チップ30を用いて、本体2を再構築する。次に、再構築された本体2において配線3を形成すべき側面を研磨した後、この側面に配線3を形成する。
また、本実施の形態に係る積層チップパッケージの製造方法では、特許文献1に記載された積層チップパッケージの製造方法に比べて、工程数を少なくすることができ、その結果、積層チップパッケージのコストを低減することができる。
以上のことから、本実施の形態によれば、積層チップパッケージ1を低コストで短時間に大量生産することが可能になる。
また、本実施の形態に係る積層チップパッケージの製造方法によれば、積層基礎構造物115を構成する複数の基礎構造物110を、それらが損傷を受けることを防止しながら、容易に薄くすることができる。そのため、本実施の形態によれば、小型で集積度の高い積層チップパッケージ1を、高い歩留まりで製造することが可能になる。
[第2の実施の形態]
次に、本発明の第2の実施の形態について説明する。本実施の形態に係る積層チップパッケージ1では、本体2の4つの側面2c〜2fは、配線3が配置された少なくとも1つの第1の種類の側面と、配線3が配置されていない少なくとも1つの第2の種類の側面とを含んでいる。本実施の形態に係る積層チップパッケージ1の外観は、例えば、第1の実施の形態と同様に、図1に示したようになる。この例では、本体2の4つの側面2c〜2fのうち、側面2c,2dが第1の種類の側面であり、側面2e,2fが第2の種類の側面である。
また、本実施の形態では、第1の種類または第2の種類の半導体チップ30の4つの側面30c〜30fは、本体2の少なくとも1つの第1の種類の側面との間に絶縁部31が配置された少なくとも1つの第1の種類の側面と、本体2の少なくとも1つの第2の種類の側面に配置された少なくとも1つの第2の種類の側面とを含んでいる。
図34は、本実施の形態における1つの階層部分10を示す斜視図である。本実施の形態では、半導体チップ30の側面30e,30fは、それぞれ、本体2の側面2e,2fに配置されている。半導体チップ30の側面30c,30dは、それぞれ、本体の側面2c,2dに向いている。また、本実施の形態では、絶縁部31は、半導体チップ30の4つの側面のうち、側面30c,30dを覆っているが、側面30e,30fは覆っていない。従って、半導体チップ30の4つの側面30c〜30fのうち、側面30c,30dが第1の種類の側面であり、側面30e,30fが第2の種類の側面である。
次に、図35を参照して、本実施の形態に係る積層チップパッケージ1の製造方法が第1の実施の形態とは異なる点について説明する。図35は、本実施の形態において、図6に示した工程で作製される研磨前基礎構造物本体105の一部を示している。本実施の形態では、図6に示した工程において、複数の溝104として、図14に示した複数のスクライブライン102Aに沿った複数の第1の溝104Aのみを形成する。すなわち、本実施の形態では、第1の実施の形態では形成していた、複数のスクライブライン102Bに沿った複数の第2の溝104B(図16参照)を形成しない。本実施の形態では、図30に示した工程において、スクライブライン102Bに沿って本体集合体130が切断され、これにより、複数の半導体チップ予定部30Pは、互いに分離されて、それぞれ半導体チップ30となる。また、スクライブライン102Bに沿って本体集合体130が切断されることにより、半導体チップ30の第3の側面30eと第4の側面30fが形成される。
本実施の形態によれば、第1の実施の形態に比べて、1つの階層部分10において半導体チップ30が占める領域の割合を大きくすることができ、その結果、積層チップパッケージ1における集積度を大きくすることが可能になる。本実施の形態におけるその他の構成、作用および効果は、第1の実施の形態と同様である。
[第3の実施の形態]
次に、本発明の第3の実施の形態について説明する。始めに、図36を参照して、本実施の形態に係る電子部品の構成について説明する。図36は、本実施の形態に係る電子部品の斜視図である。図37は、図36に示した電子部品の分解斜視図である。本実施の形態に係る電子部品は、フラッシュメモリ、DRAM、SRAM、MRAM、PROM、FeRAM等のメモリデバイスを実現するものである。
図36および図37に示したように、本実施の形態に係る電子部品200は、積層チップパッケージ201と、積層チップパッケージ201に接合された回路層210とを備えている。本実施の形態における積層チップパッケージ201では、本体2に含まれる全ての階層部分10が第1の種類の階層部分になっている。すなわち、本実施の形態では、全ての階層部分10は、それぞれ第1の種類の半導体チップ30を含んでいる。第1の種類の半導体チップ30は、複数のメモリセルを含んでいる。積層チップパッケージ201のその他の構成は、第1または第2の実施の形態に係る積層チップパッケージ1と同様である。
回路層210は、複数のメモリセルからなるメモリセル部211と、このメモリセル部211と積層チップパッケージ201の複数の階層部分10とに含まれる複数のメモリセルに対する書き込みと読み出しを制御する制御回路212とを含んでいる。また、回路層210は、積層チップパッケージ201の複数のパッド状端子22に接続される複数のパッド状端子213と、複数の外部接続端子214とを備えている。複数のパッド状端子213と複数の外部接続端子214は、いずれも制御回路212に接続されている。回路層210の平面形状は、積層チップパッケージ201の階層部分10の平面形状よりも大きい。回路層210は、半導体ウェハにウェハプロセスを施すことによって形成されている。
積層チップパッケージ201は、複数のパッド状端子22が下を向くように回路層210上に配置され、複数のパッド状端子22と複数のパッド状端子213が例えば半田によって接続されている。回路層210は、複数のパッド状端子213および複数のパッド状端子22を介して、積層チップパッケージ201の配線3に接続されている。このようにして、回路層210内の制御回路212と、回路層210内のメモリセル部211および積層チップパッケージ201の複数の階層部分10に含まれる複数のメモリセルとが電気的に接続され、これらによってメモリデバイスが実現される。なお、回路層210は、メモリセル部211を含まずに、積層チップパッケージ201の複数の階層部分10に含まれる複数のメモリセルに対する書き込みと読み出しを制御する制御回路を含んでいてもよい。
次に、図38を参照して、本実施の形態に係る電子部品200の製造方法について説明する。この製造方法では、図38に示したように、半導体ウェハにウェハプロセスを施すことによって、それぞれ後に回路層210となる複数の回路層予定部210Pが配列された回路層用ウェハ220を作製する。また、この製造方法では、複数の積層チップパッケージ201を作製する。積層チップパッケージ201の製造方法は、第1または第2の実施の形態における積層チップパッケージ1の製造方法と同じである。次に、複数の積層チップパッケージ201の各々を、複数の回路層予定部210Pの各々の上に配置し、複数のパッド状端子22と複数のパッド状端子213を例えば半田によって接続することによって、複数の積層チップパッケージ201の各々と複数の回路層予定部210Pの各々とを、電気的に接続すると共に物理的に接合する。次に、複数の回路層予定部210Pが互いに分離されて複数の回路層210となるように、例えばダイシングソーによって回路層用ウェハ220を切断する。これにより、それぞれ回路層210と積層チップパッケージ201とを備えた複数の電子部品200が完成する。
なお、回路層用ウェハ220を切断して複数の回路層210を作製した後、各回路層210に対して積層チップパッケージ201を電気的に接続すると共に物理的に接合して、電子部品200を完成させてもよい。
次に、図39を参照して、電子部品200の使用例について説明する。図39に示した例では、回路層210の複数の外部接続端子214にそれぞれボンディングワイヤ231の一端を接続している。ボンディングワイヤ231の他端は、電子部品200を使用する装置における端子230に接続される。
以上説明したように、本実施の形態では、回路層210と積層チップパッケージ201とによってメモリデバイスが実現される。本実施の形態によれば、積層チップパッケージ201に含まれる複数の半導体チップ30間の電気的接続を、本体2の少なくとも1つの側面に配置された配線3によって行うため、複数の半導体チップ30間の電気的接続を行う配線を容易に形成でき、且つ配線の信頼性を向上させることができる。
本実施の形態におけるその他の構成、作用および効果は、第1または第2の実施の形態と同様である。
[第4の実施の形態]
次に、図40および図41を参照して、本発明の第4の実施の形態について説明する。図40は、本実施の形態に係る積層チップパッケージの斜視図である。図41は、下面側から見た図40の積層チップパッケージを示す斜視図である。
図40および図41に示したように、本実施の形態に係る積層チップパッケージ1では、本体2は、最も上に配置された階層部分18の上に配置された端子層20Aと、最も下に配置された階層部分11の下に配置された端子層20Bとを含んでいる。上下に隣接する2つの階層部分の間、階層部分18と端子層20Aの間、および階層部分11と端子層20Bの間は、それぞれ、接着剤によって接合されている。
端子層20Aは、本体2の上面2aに配置された複数のパッド状の第1の端子22Aを含んでいる。端子層20Bは、本体2の下面2bに配置された複数のパッド状の第2の端子22Bを含んでいる。これら端子22A,22Bは、積層チップパッケージ1における外部接続端子として機能する。
複数の第1の端子22Aのうちのいくつかは、本体2の側面2cに対応する位置に配置された端面を有し、この端面に第1の配線3Aが接続されている。複数の第1の端子22Aのうちの他のいくつかは、本体2の側面2dに対応する位置に配置された端面を有し、この端面に第2の配線3Bが接続されている。
同様に、複数の第2の端子22Bのうちのいくつかは、本体2の側面2cに対応する位置に配置された端面を有し、この端面に第1の配線3Aが接続されている。複数の第2の端子22Bのうちの他のいくつかは、本体2の側面2dに対応する位置に配置された端面を有し、この端面に第2の配線3Bが接続されている。
積層チップパッケージ1は、更に、樹脂等の絶縁性の材料によって形成され、本体2の上面2aおよび複数の第1の端子22Aを覆う第1のオーバーコート層と、樹脂等の絶縁性の材料によって形成され、本体2の下面2bおよび複数の第2の端子22Bを覆う第2のオーバーコート層とを備えていてもよい。この場合、第1のオーバーコート層には、複数の第1の端子22Aの各々の一部を露出させる複数の開口部を形成し、第2のオーバーコート層には、複数の第2の端子22Bの各々の一部を露出させる複数の開口部を形成する。
本実施の形態に係る積層チップパッケージ1によれば、本体2の少なくとも1つの側面に配置された配線3と、本体2の上面2aに配置された複数の第1の端子22Aと、本体2の下面2bに配置された複数の第2の端子22Bとを備えたことにより、複数の積層チップパッケージ1間の電気的な接続の多様化が可能になる。本実施の形態によれば、例えば、複数の積層チップパッケージ1を積層し、上下に隣接する2つの積層チップパッケージ1を、第1の端子22Aと第2の端子22Bとを用いて電気的に接続することができる。また、本実施の形態によれば、例えば、1つの配線基板に複数の積層チップパッケージ1を実装し、複数の第2の端子22Bを用いて積層チップパッケージ1と配線基板とを電気的に接続し、更に、複数の積層チップパッケージ1の第1の端子22A同士を電気的に接続する配線を設けて、モジュールを構成することができる。このように、本実施の形態によれば、複数の積層チップパッケージ1間の電気的な接続の多様化が可能になることから、複数の積層チップパッケージ1を含むシステムの小型化が可能になる。
本実施の形態におけるその他の構成、作用および効果は、第1または第2の実施の形態と同様である。
[第5の実施の形態]
次に、図42および図43を参照して、本発明の第5の実施の形態について説明する。図42は、本実施の形態に係る電子部品の一態様を示す斜視図である。図43は、本実施の形態に係る電子部品の他の態様を示す斜視図である。本実施の形態に係る電子部品は、フラッシュメモリ、DRAM、SRAM、MRAM、PROM、FeRAM等のメモリデバイスを実現するものである。
図42および図43に示したように、本実施の形態に係る電子部品400は、積層された複数の積層チップパッケージ401と、この複数の積層チップパッケージ401のうちの1つに接合され且つ電気的に接続された回路層とを備えている。図42には、4つの積層チップパッケージ401を積層し、最も下に配置された積層チップパッケージ401の下面に回路層410を接合した例を示している。図43には、4つの積層チップパッケージ401を積層し、最も上に配置された積層チップパッケージ401の上面に回路層420を接合した例を示している。
本実施の形態における積層チップパッケージ401では、本体2に含まれる全ての階層部分10が第1の種類の階層部分になっている。すなわち、本実施の形態では、全ての階層部分10は、それぞれ第1の種類の半導体チップ30を含んでいる。第1の種類の半導体チップ30は、複数のメモリセルを含んでいる。積層チップパッケージ401のその他の構成は、第4の実施の形態に係る積層チップパッケージ1と同様である。従って、積層チップパッケージ401は、本体2の上面2aに配置された複数のパッド状の第1の端子22Aと、本体2の下面2bに配置された複数のパッド状の第2の端子22Bとを備えている。
上下に隣接する2つの積層チップパッケージ401において、下側の積層チップパッケージ401の複数の第1の端子22Aと上側の積層チップパッケージ401の複数の第2の端子22Bとが、例えば半田によって電気的に接続されている。これにより、上下に隣接する2つの積層チップパッケージ401は、互いに電気的に接続されている。
図42に示した回路層410の構成は、第3の実施の形態における回路層210と同様である。すなわち、回路層410は、複数のメモリセルからなるメモリセル部411と、このメモリセル部411と複数の積層チップパッケージ401に含まれる複数のメモリセルとに対する書き込みと読み出しを制御する制御回路412とを含んでいる。また、回路層410は、積層チップパッケージ401の複数の第2の端子22Bに接続される複数のパッド状端子(図示せず)と、複数の外部接続端子414とを備えている。複数のパッド状端子と複数の外部接続端子414は、いずれも制御回路412に接続されている。回路層410の平面形状は、積層チップパッケージ401の階層部分10の平面形状よりも大きい。回路層410は、半導体ウェハにウェハプロセスを施すことによって形成されている。
図42に示した例では、最も下に配置された積層チップパッケージ401の複数の第2の端子22Bと、回路層410の複数のパッド状端子とが例えば半田によって接続されている。回路層410は、複数のパッド状端子および複数の第2の端子22Bを介して、最も下に配置された積層チップパッケージ401の配線3に接続されている。このようにして、回路層410内の制御回路412と、回路層410内のメモリセル部411および複数の積層チップパッケージ401に含まれる複数のメモリセルとが電気的に接続され、これらによってメモリデバイスが実現される。なお、回路層410は、メモリセル部411を含まずに、複数の積層チップパッケージ401に含まれる複数のメモリセルに対する書き込みと読み出しを制御する制御回路を含んでいてもよい。
図43に示した回路層420は、複数のメモリセルからなるメモリセル部421と、このメモリセル部421と複数の積層チップパッケージ401に含まれる複数のメモリセルとに対する書き込みと読み出しを制御する制御回路422とを含んでいる。また、回路層420は、積層チップパッケージ401の複数の第1の端子22Aに接続される複数のパッド状端子(図示せず)を備えている。この複数のパッド状端子は、制御回路422に接続され、且つ回路層420の下面において露出している。回路層420の平面形状は、積層チップパッケージ401の階層部分10の平面形状と同じである。回路層420は、半導体ウェハにウェハプロセスを施すことによって形成されている。
図43に示した例では、最も上に配置された積層チップパッケージ401の複数の第1の端子22Aと、回路層420の複数のパッド状端子とが例えば半田によって接続されている。回路層420は、複数のパッド状端子および複数の第1の端子22Aを介して、最も上に配置された積層チップパッケージ401の配線3に接続されている。このようにして、回路層420内の制御回路422と、回路層420内のメモリセル部421および複数の積層チップパッケージ401に含まれる複数のメモリセルとが電気的に接続され、これらによってメモリデバイスが実現される。なお、回路層420は、メモリセル部421を含まずに、複数の積層チップパッケージ401に含まれる複数のメモリセルに対する書き込みと読み出しを制御する制御回路を含んでいてもよい。
本実施の形態によれば、積層する積層チップパッケージ401の数を変えることによって、種々の容量のメモリデバイスを容易に実現することができる。
本実施の形態におけるその他の構成、作用および効果は、第3または第4の実施の形態と同様である。
なお、本発明は、上記各実施の形態に限定されず、種々の変更が可能である。例えば、第1の実施の形態では、複数の本体集合体130を並べて、この複数の本体集合体130における各本体予定部2Pに対して同時に配線3を形成したが、複数の本体集合体130を並べずに、1つの本体集合体130における各本体予定部2Pに対して配線3を形成してもよい。
また、配線3が形成された後の本体集合体130を切断して本体2を形成した後、本体集合体130を切断することによって本体2に形成された面に、更に他の配線を形成してもよい。
また、積層チップパッケージの本体2は、端子層を含まずに、配線3の一部が外部接続端子を兼ねていてもよい。
1…積層チップパッケージ、2…本体、3A,3B…配線、11〜18…階層部分、20…端子層、30…半導体チップ。

Claims (12)

  1. 上面、下面および4つの側面を有する本体と、
    前記本体の少なくとも1つの側面に配置された配線とを備え、
    前記本体は、積層された複数の階層部分を含み、
    前記複数の階層部分は、それぞれ第1の種類の半導体チップを含む複数の第1の種類の階層部分と、第2の種類の半導体チップを含む第2の種類の階層部分とを含み、
    前記第1の種類の半導体チップは、複数のメモリセルを含み、
    前記第2の種類の半導体チップは、前記複数の第1の種類の階層部分に含まれる複数のメモリセルに対する書き込みと読み出しを制御する回路を含み、
    前記第1の種類の半導体チップと前記第2の種類の半導体チップは、いずれも、上面、下面および4つの側面を有し、
    前記複数の階層部分の各々は、前記第1の種類または第2の種類の半導体チップの4つの側面のうちの少なくとも1つの側面を覆う絶縁部と、前記第1の種類または第2の種類の半導体チップに接続された複数の電極とを含み、
    前記絶縁部は、前記配線が配置された前記本体の前記少なくとも1つの側面に配置された少なくとも1つの端面を有し、
    前記複数の電極の各々は、前記配線が配置された前記本体の前記少なくとも1つの側面に配置され且つ前記絶縁部によって囲まれた端面を有し、
    前記配線は、前記複数の階層部分における複数の電極の端面に接続されていることを特徴とする積層チップパッケージ。
  2. 前記第1の種類の半導体チップは、更に、そこに含まれる複数のメモリセルのみに関係する回路を含むことを特徴とする請求項1記載の積層チップパッケージ。
  3. 更に、前記本体の上面と下面の少なくとも一方に配置され、前記配線に接続された複数の端子を備えたことを特徴とする請求項1記載の積層チップパッケージ。
  4. 前記本体の4つの側面は、前記配線が配置された少なくとも1つの第1の種類の側面と、前記配線が配置されていない少なくとも1つの第2の種類の側面とを含み、
    前記第1の種類または第2の種類の半導体チップの4つの側面は、前記本体の前記少なくとも1つの第1の種類の側面との間に前記絶縁部が配置された少なくとも1つの第1の種類の側面と、前記本体の前記少なくとも1つの第2の種類の側面に配置された少なくとも1つの第2の種類の側面とを含むことを特徴とする請求項1記載の積層チップパッケージ。
  5. 積層チップパッケージと、前記積層チップパッケージに接合された回路層とを備えた電子部品であって、
    前記積層チップパッケージは、上面、下面および4つの側面を有する本体と、前記本体の少なくとも1つの側面に配置された配線とを備え、
    前記本体は、積層された複数の階層部分を含み、
    前記複数の階層部分の各々は、上面、下面および4つの側面を有すると共に複数のメモリセルを含む半導体チップと、前記半導体チップの4つの側面のうちの少なくとも1つの側面を覆う絶縁部と、前記半導体チップに接続された複数の電極とを含み、
    前記絶縁部は、前記配線が配置された前記本体の前記少なくとも1つの側面に配置された少なくとも1つの端面を有し、
    前記複数の電極の各々は、前記配線が配置された前記本体の前記少なくとも1つの側面に配置され且つ前記絶縁部によって囲まれた端面を有し、
    前記配線は、前記複数の階層部分における複数の電極の端面に接続され、
    前記回路層は、前記積層チップパッケージの前記配線に接続されて、前記複数の階層部分に含まれる複数のメモリセルに対する書き込みと読み出しを制御する回路を含むことを特徴とする電子部品。
  6. 前記半導体チップは、更に、そこに含まれる複数のメモリセルのみに関係する回路を含むことを特徴とする請求項5記載の電子部品。
  7. 前記積層チップパッケージは、更に、前記本体の上面と下面の少なくとも一方に配置され、前記配線に接続された複数の端子を備え、前記回路層は、前記複数の端子に接続されていることを特徴とする請求項5記載の電子部品。
  8. 前記本体の4つの側面は、前記配線が配置された少なくとも1つの第1の種類の側面と、前記配線が配置されていない少なくとも1つの第2の種類の側面とを含み、
    前記半導体チップの4つの側面は、前記本体の前記少なくとも1つの第1の種類の側面との間に前記絶縁部が配置された少なくとも1つの第1の種類の側面と、前記本体の前記少なくとも1つの第2の種類の側面に配置された少なくとも1つの第2の種類の側面とを含むことを特徴とする請求項5記載の電子部品。
  9. 積層された複数の積層チップパッケージと、前記複数の積層チップパッケージのうちの1つに接合され且つ電気的に接続された回路層とを備えた電子部品であって、
    上下に隣接する2つの積層チップパッケージは、互いに電気的に接続され、
    前記複数の積層チップパッケージの各々は、上面、下面および4つの側面を有する本体と、前記本体の少なくとも1つの側面に配置された配線とを備え、
    前記本体は、積層された複数の階層部分を含み、
    前記複数の階層部分の各々は、上面、下面および4つの側面を有すると共に複数のメモリセルを含む半導体チップと、前記半導体チップの4つの側面のうちの少なくとも1つの側面を覆う絶縁部と、前記半導体チップに接続された複数の電極とを含み、
    前記絶縁部は、前記配線が配置された前記本体の前記少なくとも1つの側面に配置された少なくとも1つの端面を有し、
    前記複数の電極の各々は、前記配線が配置された前記本体の前記少なくとも1つの側面に配置され且つ前記絶縁部によって囲まれた端面を有し、
    前記配線は、前記複数の階層部分における複数の電極の端面に接続され、
    前記回路層は、複数の前記積層チップパッケージに含まれる複数のメモリセルに対する書き込みと読み出しを制御する回路を含むことを特徴とする電子部品。
  10. 前記半導体チップは、更に、そこに含まれる複数のメモリセルのみに関係する回路を含むことを特徴とする請求項9記載の電子部品。
  11. 前記複数の積層チップパッケージの各々は、更に、前記本体の上面に配置され、前記配線に接続された複数の第1の端子と、前記本体の下面に配置され、前記配線に接続された複数の第2の端子とを備え、
    前記上下に隣接する2つの積層チップパッケージにおいて、下側の積層チップパッケージの複数の第1の端子と上側の積層チップパッケージの複数の第2の端子とが電気的に接続されていることを特徴とする請求項9記載の電子部品。
  12. 前記本体の4つの側面は、前記配線が配置された少なくとも1つの第1の種類の側面と、前記配線が配置されていない少なくとも1つの第2の種類の側面とを含み、
    前記半導体チップの4つの側面は、前記本体の前記少なくとも1つの第1の種類の側面との間に前記絶縁部が配置された少なくとも1つの第1の種類の側面と、前記本体の前記少なくとも1つの第2の種類の側面に配置された少なくとも1つの第2の種類の側面とを含むことを特徴とする請求項9記載の電子部品。
JP2009207677A 2008-09-29 2009-09-09 メモリデバイスを実現する積層チップパッケージ Expired - Fee Related JP5535560B2 (ja)

Applications Claiming Priority (2)

Application Number Priority Date Filing Date Title
US12/285,101 US7557439B1 (en) 2008-09-29 2008-09-29 Layered chip package that implements memory device
US12/285,101 2008-09-29

Publications (2)

Publication Number Publication Date
JP2010087502A true JP2010087502A (ja) 2010-04-15
JP5535560B2 JP5535560B2 (ja) 2014-07-02

Family

ID=40811004

Family Applications (1)

Application Number Title Priority Date Filing Date
JP2009207677A Expired - Fee Related JP5535560B2 (ja) 2008-09-29 2009-09-09 メモリデバイスを実現する積層チップパッケージ

Country Status (2)

Country Link
US (1) US7557439B1 (ja)
JP (1) JP5535560B2 (ja)

Cited By (5)

* Cited by examiner, † Cited by third party
Publication number Priority date Publication date Assignee Title
JP2012033861A (ja) * 2010-08-02 2012-02-16 Headway Technologies Inc 積層半導体基板および積層チップパッケージ並びにこれらの製造方法
JP2012039076A (ja) * 2010-08-09 2012-02-23 Headway Technologies Inc 積層チップパッケージおよびその製造方法
JP2012109523A (ja) * 2010-11-18 2012-06-07 Headway Technologies Inc メモリデバイスおよび積層半導体基板並びにこれらの製造方法
JP2013077767A (ja) * 2011-09-30 2013-04-25 Toshiba Corp 半導体装置及びその製造方法、並びに半導体装置の管理システム
US10074667B1 (en) 2017-03-10 2018-09-11 Toshiba Memory Corporation Semiconductor memory device

Families Citing this family (16)

* Cited by examiner, † Cited by third party
Publication number Priority date Publication date Assignee Title
US7968374B2 (en) * 2009-02-06 2011-06-28 Headway Technologies, Inc. Layered chip package with wiring on the side surfaces
US8274165B2 (en) * 2009-02-10 2012-09-25 Headway Technologies, Inc. Semiconductor substrate, laminated chip package, semiconductor plate and method of manufacturing the same
US7915083B1 (en) * 2009-10-28 2011-03-29 Headway Technologies, Inc. Method of manufacturing layered chip package
US8012802B2 (en) * 2010-02-04 2011-09-06 Headway Technologies, Inc. Method of manufacturing layered chip package
TWI419197B (zh) * 2010-04-26 2013-12-11 Max Echo Technologies Corp Production method and process adjustment method of laminated wafer
US8421243B2 (en) 2010-06-24 2013-04-16 Headway Technologies, Inc. Layered chip package and method of manufacturing same
US8203216B2 (en) * 2010-07-13 2012-06-19 Headway Technologies, Inc. Layered chip package and method of manufacturing same
US8203215B2 (en) * 2010-07-13 2012-06-19 Headway Technologies, Inc. Layered chip package and method of manufacturing same
US8652877B2 (en) * 2010-12-06 2014-02-18 Headway Technologies, Inc. Method of manufacturing layered chip package
US8536712B2 (en) 2011-01-26 2013-09-17 Sae Magnetics Ltd. Memory device and method of manufacturing the same
JP5893287B2 (ja) * 2011-08-10 2016-03-23 ルネサスエレクトロニクス株式会社 半導体装置および基板
US10354980B1 (en) * 2018-03-22 2019-07-16 Sandisk Technologies Llc Three-dimensional memory device containing bonded chip assembly with through-substrate via structures and method of making the same
US10354987B1 (en) 2018-03-22 2019-07-16 Sandisk Technologies Llc Three-dimensional memory device containing bonded chip assembly with through-substrate via structures and method of making the same
US10923456B2 (en) * 2018-12-20 2021-02-16 Cerebras Systems Inc. Systems and methods for hierarchical exposure of an integrated circuit having multiple interconnected die
US10879260B2 (en) 2019-02-28 2020-12-29 Sandisk Technologies Llc Bonded assembly of a support die and plural memory dies containing laterally shifted vertical interconnections and methods for making the same
KR102879321B1 (ko) * 2020-04-17 2025-10-31 에스케이하이닉스 주식회사 저항 소자를 구비하는 반도체 장치

Citations (3)

* Cited by examiner, † Cited by third party
Publication number Priority date Publication date Assignee Title
JPH06177318A (ja) * 1991-09-30 1994-06-24 Internatl Business Mach Corp <Ibm> マルチチツプ集積回路パツケージ及びそのシステム
JPH08236688A (ja) * 1994-12-20 1996-09-13 Internatl Business Mach Corp <Ibm> 電子モジュールおよびその形成方法
JP2002110899A (ja) * 2000-09-29 2002-04-12 Toshiba Corp 不揮発性半導体記憶装置および不揮発性半導体メモリシステム

Family Cites Families (11)

* Cited by examiner, † Cited by third party
Publication number Priority date Publication date Assignee Title
US5838603A (en) 1994-10-11 1998-11-17 Matsushita Electric Industrial Co., Ltd. Semiconductor device and method for fabricating the same, memory core chip and memory peripheral circuit chip
DE19626126C2 (de) * 1996-06-28 1998-04-16 Fraunhofer Ges Forschung Verfahren zur Ausbildung einer räumlichen Chipanordnung und räumliche Chipanordung
US5953588A (en) 1996-12-21 1999-09-14 Irvine Sensors Corporation Stackable layers containing encapsulated IC chips
US6373447B1 (en) * 1998-12-28 2002-04-16 Kawasaki Steel Corporation On-chip antenna, and systems utilizing same
JP3767246B2 (ja) * 1999-05-26 2006-04-19 富士通株式会社 複合モジュール及びプリント回路基板ユニット
US6831370B2 (en) * 2001-07-19 2004-12-14 Micron Technology, Inc. Method of using foamed insulators in three dimensional multichip structures
US6734370B2 (en) 2001-09-07 2004-05-11 Irvine Sensors Corporation Multilayer modules with flexible substrates
JP3880572B2 (ja) * 2003-10-31 2007-02-14 沖電気工業株式会社 半導体チップ及び半導体装置
US7227249B1 (en) * 2003-12-24 2007-06-05 Bridge Semiconductor Corporation Three-dimensional stacked semiconductor package with chips on opposite sides of lead
US20060087013A1 (en) * 2004-10-21 2006-04-27 Etron Technology, Inc. Stacked multiple integrated circuit die package assembly
JP2007036104A (ja) 2005-07-29 2007-02-08 Nec Electronics Corp 半導体装置およびその製造方法

Patent Citations (3)

* Cited by examiner, † Cited by third party
Publication number Priority date Publication date Assignee Title
JPH06177318A (ja) * 1991-09-30 1994-06-24 Internatl Business Mach Corp <Ibm> マルチチツプ集積回路パツケージ及びそのシステム
JPH08236688A (ja) * 1994-12-20 1996-09-13 Internatl Business Mach Corp <Ibm> 電子モジュールおよびその形成方法
JP2002110899A (ja) * 2000-09-29 2002-04-12 Toshiba Corp 不揮発性半導体記憶装置および不揮発性半導体メモリシステム

Cited By (6)

* Cited by examiner, † Cited by third party
Publication number Priority date Publication date Assignee Title
JP2012033861A (ja) * 2010-08-02 2012-02-16 Headway Technologies Inc 積層半導体基板および積層チップパッケージ並びにこれらの製造方法
JP2012039076A (ja) * 2010-08-09 2012-02-23 Headway Technologies Inc 積層チップパッケージおよびその製造方法
US8362602B2 (en) 2010-08-09 2013-01-29 Headway Technologies, Inc. Layered chip package and method of manufacturing same
JP2012109523A (ja) * 2010-11-18 2012-06-07 Headway Technologies Inc メモリデバイスおよび積層半導体基板並びにこれらの製造方法
JP2013077767A (ja) * 2011-09-30 2013-04-25 Toshiba Corp 半導体装置及びその製造方法、並びに半導体装置の管理システム
US10074667B1 (en) 2017-03-10 2018-09-11 Toshiba Memory Corporation Semiconductor memory device

Also Published As

Publication number Publication date
JP5535560B2 (ja) 2014-07-02
US7557439B1 (en) 2009-07-07

Similar Documents

Publication Publication Date Title
JP5535560B2 (ja) メモリデバイスを実現する積層チップパッケージ
JP5275915B2 (ja) 積層チップパッケージ
JP5461077B2 (ja) 積層チップパッケージ
JP5451204B2 (ja) 積層チップパッケージの製造方法
JP5432604B2 (ja) 積層チップパッケージの製造方法
JP5102339B2 (ja) 積層チップパッケージの製造方法
JP5491802B2 (ja) ヒートシンクを備えた積層チップパッケージ
JP5550872B2 (ja) 積層チップパッケージおよびその製造方法
JP5275941B2 (ja) 積層チップパッケージおよびその製造方法
JP5154667B2 (ja) 積層チップパッケージおよびその製造方法
JP4927195B2 (ja) 複合型積層チップパッケージおよびその製造方法
JP5004311B2 (ja) 積層チップパッケージおよびその製造方法
JP2010186981A (ja) 半導体基板、積層チップパッケージおよび半導体プレート並びにこれらの製造方法
JP4948635B2 (ja) 積層チップパッケージの製造方法
JP4927194B2 (ja) 積層チップパッケージの製造方法
JP5228068B2 (ja) 積層チップパッケージおよびその製造方法
JP5653949B2 (ja) 積層チップパッケージの製造方法

Legal Events

Date Code Title Description
A621 Written request for application examination

Free format text: JAPANESE INTERMEDIATE CODE: A621

Effective date: 20120510

A977 Report on retrieval

Free format text: JAPANESE INTERMEDIATE CODE: A971007

Effective date: 20130522

A131 Notification of reasons for refusal

Free format text: JAPANESE INTERMEDIATE CODE: A131

Effective date: 20130604

A521 Request for written amendment filed

Free format text: JAPANESE INTERMEDIATE CODE: A523

Effective date: 20130828

TRDD Decision of grant or rejection written
A01 Written decision to grant a patent or to grant a registration (utility model)

Free format text: JAPANESE INTERMEDIATE CODE: A01

Effective date: 20140422

A61 First payment of annual fees (during grant procedure)

Free format text: JAPANESE INTERMEDIATE CODE: A61

Effective date: 20140423

R150 Certificate of patent or registration of utility model

Ref document number: 5535560

Country of ref document: JP

Free format text: JAPANESE INTERMEDIATE CODE: R150

R250 Receipt of annual fees

Free format text: JAPANESE INTERMEDIATE CODE: R250

R250 Receipt of annual fees

Free format text: JAPANESE INTERMEDIATE CODE: R250

R250 Receipt of annual fees

Free format text: JAPANESE INTERMEDIATE CODE: R250

LAPS Cancellation because of no payment of annual fees