JP2010087363A - 電気化学デバイス - Google Patents

電気化学デバイス Download PDF

Info

Publication number
JP2010087363A
JP2010087363A JP2008256586A JP2008256586A JP2010087363A JP 2010087363 A JP2010087363 A JP 2010087363A JP 2008256586 A JP2008256586 A JP 2008256586A JP 2008256586 A JP2008256586 A JP 2008256586A JP 2010087363 A JP2010087363 A JP 2010087363A
Authority
JP
Japan
Prior art keywords
terminal
sealing
sealing portion
electrochemical device
electrode terminal
Prior art date
Legal status (The legal status is an assumption and is not a legal conclusion. Google has not performed a legal analysis and makes no representation as to the accuracy of the status listed.)
Granted
Application number
JP2008256586A
Other languages
English (en)
Other versions
JP5261120B2 (ja
Inventor
Kazuyuki Hachiman
和志 八幡
Naoto Hagiwara
直人 萩原
Katsuhide Ishida
克英 石田
Motoki Kobayashi
元輝 小林
Current Assignee (The listed assignees may be inaccurate. Google has not performed a legal analysis and makes no representation or warranty as to the accuracy of the list.)
Taiyo Yuden Co Ltd
Original Assignee
Taiyo Yuden Co Ltd
Priority date (The priority date is an assumption and is not a legal conclusion. Google has not performed a legal analysis and makes no representation as to the accuracy of the date listed.)
Filing date
Publication date
Application filed by Taiyo Yuden Co Ltd filed Critical Taiyo Yuden Co Ltd
Priority to JP2008256586A priority Critical patent/JP5261120B2/ja
Publication of JP2010087363A publication Critical patent/JP2010087363A/ja
Application granted granted Critical
Publication of JP5261120B2 publication Critical patent/JP5261120B2/ja
Expired - Fee Related legal-status Critical Current
Anticipated expiration legal-status Critical

Links

Images

Classifications

    • YGENERAL TAGGING OF NEW TECHNOLOGICAL DEVELOPMENTS; GENERAL TAGGING OF CROSS-SECTIONAL TECHNOLOGIES SPANNING OVER SEVERAL SECTIONS OF THE IPC; TECHNICAL SUBJECTS COVERED BY FORMER USPC CROSS-REFERENCE ART COLLECTIONS [XRACs] AND DIGESTS
    • Y02TECHNOLOGIES OR APPLICATIONS FOR MITIGATION OR ADAPTATION AGAINST CLIMATE CHANGE
    • Y02EREDUCTION OF GREENHOUSE GAS [GHG] EMISSIONS, RELATED TO ENERGY GENERATION, TRANSMISSION OR DISTRIBUTION
    • Y02E60/00Enabling technologies; Technologies with a potential or indirect contribution to GHG emissions mitigation
    • Y02E60/13Energy storage using capacitors

Landscapes

  • Sealing Battery Cases Or Jackets (AREA)
  • Connection Of Batteries Or Terminals (AREA)
  • Electric Double-Layer Capacitors Or The Like (AREA)

Abstract

【課題】鉛フリー半田を使用した高温のリフロー半田付けに対応できる電気化学デバイスを提供する。
【解決手段】電気二重層キャパシタ10-1は、フィルムが重なり合う部分を接合して形成された所定幅の封止部14a1〜14a3を有するパッケージ14と、該パッケージ14の封止部14a1からその先端部が導出された正極端子12及び負極端子13とを備える。また、前記正極端子12及び負極端子13の封止部14a1内に存する部分R12a,R13aの側面長さL12a,L13aは、前記封止部14a1の封止幅W14a1よりも大きい。
【選択図】図5

Description

本発明は、フィルムが重なり合う部分を接合して形成された所定幅の封止部を有するパッケージと、該パッケージの封止部からその先端部が導出された少なくとも1対の端子とを備えた電気化学デバイスに関する。
電気化学デバイス、例えば電気二重層キャパシタやリチウムイオンキャパシタやレドックスキャパシタやリチウムイオン電池等には、フィルムが重なり合う部分を接合して形成された所定幅の封止部を有するパッケージと、該パッケージの封止部からその先端部を導出された少なくとも1対の端子とを備えたものが存在する。
例えば、前記に該当する電気二重層キャパシタは、正極側電極と負極側電極とをセパレータを介して順次積層して構成された蓄電素子と、蓄電素子の正極側電極に電気的に接続された正極端子の基端部と、蓄電素子の負極側電極に電気的に接続された負極端子の基端部と、電解液とを、フィルムから成るパッケージに封入すると共に、正極端子の先端部と負極端子の先端部を該両端子の基端部と向き合う封止部を通じて導出した構造を備えている。
前記パッケージには、例えばプラスチック製の保護層と金属製のバリア層とプラスチック製のシール層を順に有するラミネートフィルムが用いられており、該パッケージは、例えば所定サイズの1枚の矩形フィルムをその中央で折り曲げてからフィルムが重なり合う3辺部分を所定幅で接合して封止することにより形成されている。また、前記3辺部分のうちの前記両端子の基端部と向き合う1辺部分は前記正極端子及び負極端子の一部分を挟み込むようにして接合されており、該正極端子及び負極端子の一部分は接合後の封止部によって覆われている。
先に例示した電気二重層キャパシタを含む電気化学デバイスの近年における小型化に伴い、該電気化学デバイスを一般の電子部品と同様に鉛フリー半田を使用した高温のリフロー半田付けによって基板等に実装できるようにする要望、換言すれば、鉛フリー半田を使用した高温のリフロー半田付けに対応可能な電気化学デバイスの要求が高まっている。
しかし、従前の電気化学デバイスは鉛フリー半田を使用した高温のリフロー半田付けに対応するものではないため、該電気化学デバイスを一般の電子部品と同様に鉛フリー半田を使用した高温のリフロー半田付けによって基板等に実装できるようにする要望に答えることができない。
即ち、パッケージの封止部から導出された少なくとも1対の端子は該封止部によってその一部分を覆われているものの、該封止部によって該端子の側面を封止することが難しいこと、詳しくは、溶融シール層を該端子の側面に回り込ませて密着させることが難しいことから、該端子の側面における封止力が他の部分の封止力に比べて低下し易い。
依って、従前の電気化学デバイスを鉛フリー半田対応の高温(約250℃前後)のリフロー炉に投入してリフロー半田付けを行うと、封止部の中で封止力が最も弱い箇所、要するに前記端子の一部分を覆う封止部と該端子の側面との間から、リフロー半田付け時の熱によって蒸気圧上昇を生じた電解液が漏出する等の不具合を生じ得る。
特開2002−313677
本発明は前記事情に鑑みて創作されたもので、その目的は、鉛フリー半田を使用した高温のリフロー半田付けに対応できる電気化学デバイスを提供することにある。
前記目的を達成するため、本発明は、フィルムが重なり合う部分を接合して形成された所定幅の封止部を有するパッケージと、該パッケージの封止部からその先端部が導出された少なくとも1対の端子とを備えた電気化学デバイスにおいて、前記端子の封止部内に存する部分の側面長さが、前記封止部の封止幅よりも大きい。
この電気化学デバイスによれば、前記端子の封止部内に存する部分の側面長さが前記封止部の封止幅よりも大きいことから、該側面長さが該封止幅と同じ場合に比べて、溶融シール層を該端子の側面に回り込ませて密着させることが容易となる。即ち、前記封止部による前記端子の側面の封止を的確に行うことができ、該端子の側面における封止力が他の部分の封止力に比べて低下することを防止することができる。
依って、前記電気化学デバイスを鉛フリー半田対応の高温(例えば約250℃前後)のリフロー炉に投入してリフロー半田付けを行う場合でも、前記端子の一部分を覆う封止部と該端子の側面との間から、リフロー半田付け時の熱によって蒸気圧上昇を生じた電解液が漏出する等の不具合を確実に回避することができる。
これにより、鉛フリー半田を使用した高温のリフロー半田付けに対応できる電気化学デバイスを提供することができ、該電気化学デバイスを一般の電子部品と同様に鉛フリー半田を使用した高温のリフロー半田付けによって基板等に実装できるようにする要望に確実に答えることができる。
本発明によれば、鉛フリー半田を使用した高温のリフロー半田付けに対応できる電気化学デバイスを提供することができる。
本発明の前記目的とそれ以外の目的と、構成特徴と、作用効果は、以下の説明と添付図面によって明らかとなる。
[第1実施形態]
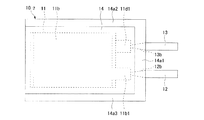
図1〜図5は本発明を電気二重層キャパシタに適用した第1実施形態を示す。図1は電気二重層キャパシタの上面図、図2は図1のa1−a1線に沿う縦断面図、図3は図1のa2−a2線に沿う縦断面図、図4は図2のA部の詳細図、図5は端子の封止部内に存する部分の詳細図である。
本第1実施形態の電気二重層キャパシタ10-1は、蓄電素子11と、1対の端子(正極端子12及び負極端子13)と、パッケージ14と、電解液15と、を備えている。
蓄電素子11は、正極側電極(符号無し)と負極側電極(符号無し)とをセパレータ11eを介して交互に積層して構成されている。正極側電極は、正極用分極性電極11aと該正極用分極性電極11aに重ねられた正極用集電体11bとから成り、また、負極側電極(符号無し)は、負極用分極性電極11cと該負極用分極性電極11cに重ねられた負極用集電体11dとから成る。また、各正極用集電体11bの端にはそれぞれ接続片11b1(図示省略)が設けられており、同様に、各負極用集電体11dの端にはそれぞれ接続片11d1が設けられている。
図面には図示の便宜上、正極側電極と負極側電極とセパレータ11eとから成るユニットを実質的に3つ重ねたものを示してあるが、該ユニット数は4つ以上、或いは、1つであっても良い。また、蓄電素子11の最上層及び最下層にそれぞれ集電体11b,11dを配置したものを示してあるが、製造プロセス等の関係から該最上層及び最下層の外側に分極性電極やセパレータが付加されても良い。
正極端子12と負極端子13は、アルミニウム等の金属から縦断面形が矩形或いはその近似形となるように形成されている。正極端子12はその基端部を前記蓄電素子11の接続片11b1に電気的に接続され、また、負極端子13はその基端部を前記蓄電素子11の接続片11d1に電気的に接続されている。また、正極端子12の先端部と負極端子13の先端部は、後述するパッケージ14の封止部14a1から導出されている。さらに、正極端子12と負極端子13は、後述するパッケージ14の封止部14a1から導出された先端部よりも蓄電素子11寄りの部分に、該封止部14a1の幅方向に沿う仮想線と鋭角を成して傾く斜行部12a,13aをそれぞれ有している。図5から分かるように、正極端子12の先端部と負極端子13の先端部は互いに平行で、且つ、封止部14a1の長さ方向に沿う仮想線に対して直交している。また、正極端子12の斜行部12aと負極端子13の斜行部13aは非平行で、且つ、封止部14a1の長さ方向に沿う仮想線に対して鈍角をもって斜行している。
パッケージ14は、後述のフィルムから輪郭が矩形になるように形成されており、その3辺(図1中の右辺と上辺と下辺)に所定幅の封止部14a1〜14a3を連続して有している。図2から分かるように、前記蓄電素子11と前記正極端子12の基端部と前記負極端子13の基端部と前記電解液15はパッケージ14に封入されている。また、図5から分かるように、封止部14a1〜14a3のうちの前記両端子12,13の基端部と向き合う封止部14a1は、該両端子12,13の斜行部12a,13aを覆っており、該両端子12,13の先端部は該封止部14a1を通じて導出されている。電解液15の封入に関しては、パッケージ14を形成する前に蓄電素子11に電解液15を予め含浸させる方法の他、パッケージ14を形成した後に該パッケージ14に予め形成した孔を通じてその内側に電解液15を充填してから該孔を塞ぐ方法等が採用できる。
前記パッケージ14を形成するためのフィルムには、例えば(E1)ナイロン等のプラスチックから成る保護層L1と、アルミニウム等の金属またはAl23等の金属酸化物から成るバリア層L2と、ポリエチレンテレフタレート等のプラスチックから成る絶縁層L3と、ポリプロピレン等のプラスチックから成るシール層L4とを順に有するラミネートフィルム(図4参照)、等が好ましく使用できる。勿論、前記パッケージ14を形成するためのフィルムには、(E2)前記E1のラミネートフィルムから絶縁層L3を除外してシール層L4を十分に厚くしたラミネートフィルム、(E3)十分な厚さを有するシール層L4のみとした非ラミネートフィルム、等を用いることも可能である。
因みに、前記E1,E2のラミネートフィルムにおけるバリア層L2は、パッケージ14からの電解液15の漏出を防止したり、パッケージ14への水分の浸入を防止する等の役目を果たす。また、絶縁層L3は、例えばヒートシール等によってシール層L4が溶融した場合でもバリア層L2が蓄電素子11に接触することを防止する役目を果たす。
また、前記パッケージ14を前記E1〜E2のラミネートフィルム及び前記E3の非ラミネートフィルムから形成する方法には、例えば(E11)所定サイズの1枚の矩形フィルムを用意し、該矩形フィルムのシール層側に蓄電素子11等を配置した後、該矩形フィルムをその中央で折り曲げてからシール層が重なり合う3辺部分を接合して封止する方法、等が好ましく採用できる。前記接合としては、ヒートシール、機械的圧着による接合、紫外線その他の電子線照射により硬化させる接合、マイクロ波照射による接合、その他各種方法を用いることができる。前記の接合をするためのエネルギーとしては、光、電磁波、熱、機械的圧着等が挙げられる。また、接合のメカニズムとしては、硬化性、可塑性、粘着性等が挙げられる。
前記3辺部分のうちの前記両端子12,13の基端部と向き合う1辺部分は該両端子12,13の斜行部12a,13aを挟み込むようにして例えばヒートシール等により接合され、接合後の封止部14a1は該両端子12,13の斜行部12a,13aを覆っている。
図面には図1中の右辺と上辺と下辺に封止部14a1〜14a3を連続して有するものを示してあるが、図1中の右辺と上辺と左辺に封止部を連続して有するにように前記パッケージ14を形成するようにしても良い。また、前記パッケージ14を前記E1〜E2のラミネートフィルム及び前記E3の非ラミネートフィルムから形成する方法には、(E12)所定サイズの2枚の矩形フィルムを用意し、一方の矩形フィルムのシール層側に蓄電素子11等を配置した後、該矩形フィルムに他方の矩形フィルムを重ねてから例えばシール層が重なり合う4辺部分を例えばヒートシール等により接合して封止する方法、等を用いることも可能である。
本第1実施形態の電気二重層キャパシタ10-1にあっては、前記正極端子12及び負極端子13の斜行部12a,13aが前記パッケージ14の封止部14a1によって覆われている構造にあるため、該正極端子12及び負極端子13の該封止部14a1内に存する部分R12a,R13a(図5参照)の側面長さL12a,L13a(図5参照)は、該封止部14a1の封止幅W14a1(図5参照)よりも大きくなる。
要するに、前記側面長さL12a,L13aが前記封止部14a1の封止幅W14a1よりも大きいことから、該側面長さL12a,L13aが該封止幅W14a1と同じ場合に比べて、溶融シール層を該両端子12,13の側面に回り込ませて密着させることが容易となる。即ち、前記封止部14a1による前記両端子12,13の側面の封止を的確に行うことができ、該両端子12,13の側面における封止力が他の部分の封止力に比べて低下することを防止することができる。
依って、前記電気二重層キャパシタ10-1を鉛フリー半田対応の高温(約250℃前後)のリフロー炉に投入してリフロー半田付けを行う場合でも、前記正極端子12及び負極端子13の一部分を覆う封止部14a1と該正極端子12及び負極端子13の側面との間から、リフロー半田付け時の熱によって蒸気圧上昇を生じた電解液が漏出する等の不具合を確実に回避することができる。
これにより、鉛フリー半田を使用した高温のリフロー半田付けに対応できる電気二重層キャパシタ10-1を提供することができ、該電気二重層キャパシタ10-1を一般の電子部品と同様に鉛フリー半田を使用した高温のリフロー半田付けによって基板等に実装できるようにする要望に確実に答えることができる。
尚、前述の説明では、前記正極端子12及び負極端子13としてその縦断面形が矩形或いはその近似形のものを示したが、該正極端子12及び負極端子13の少なくとも封止部14a1内に存する部分R12a,R13aに、4つの角部に丸みRが設けられた縦断面形(図6(A)参照)、または、4つの角部に面取りCを設けられた縦断面形(図6(B)参照)を採用すれば、該両端子12,13の側面へのシール層の回り込みを効果的に行って、前記封止部14a1による該両端子12,13の側面の封止をより的確に行うことができる。
[第2実施形態]
図7及び図8は本発明を電気二重層キャパシタに適用した第2実施形態を示す。図7は電気二重層キャパシタの上面図、図8は端子の封止部内に存する部分の詳細図である。
本第2実施形態の電気二重層キャパシタ10-2が、前記第1実施形態の電気二重層キャパシタ10-1と異なるところは、
・正極端子12と負極端子13として、パッケージ14の封止部14a1から導出された 先端部よりも蓄電素子11寄りの部分に、パッケージ14内に向かって幅が徐々に減少 する台形部12b,13bをそれぞれ有するものを用いた点
・前記パッケージ14の封止部14a1が、前記正極端子12の台形部12bと前記負極 端子13の台形部13bを覆っている点
にある。他の構成は前記第1実施形態の電気二重層キャパシタ10-1と同じであるので、同一符号を用いてその説明を省略する。
本第2実施形態の電気二重層キャパシタ10-2にあっては、前記正極端子12及び負極端子13の台形部12b,13bが前記パッケージ14の封止部14a1によって覆われている構造にあるため、該正極端子12及び負極端子13の該封止部14a1内に存する部分R12b,R13b(図8参照)の側面長さL12b,L13b(図8参照)は、該封止部14aの封止幅W14a1(図8参照)よりも大きくなる。
要するに、前記側面長さL12b,L13bが前記封止部14a1の封止幅W14a1よりも大きいことから、該側面長さL12b,L13bが該封止幅W14a1と同じ場合に比べて、溶融シール層を該両端子12,13の側面に回り込ませて密着させることが容易となる。即ち、前記封止部14a1による前記両端子12,13の側面の封止を的確に行うことができ、該両端子12,13の側面における封止力が他の部分の封止力に比べて低下することを防止することができる。
依って、前記電気二重層キャパシタ10-2を鉛フリー半田対応の高温(約250℃前後)のリフロー炉に投入してリフロー半田付けを行う場合でも、前記正極端子12及び負極端子13の一部分を覆う封止部14a1と該正極端子12及び負極端子13の側面との間から、リフロー半田付け時の熱によって蒸気圧上昇を生じた電解液が漏出する等の不具合を確実に回避することができる。
これにより、鉛フリー半田を使用した高温のリフロー半田付けに対応できる電気二重層キャパシタ10-2を提供することができ、該電気二重層キャパシタ10-2を一般の電子部品と同様に鉛フリー半田を使用した高温のリフロー半田付けによって基板等に実装できるようにする要望に確実に答えることができる。
尚、前記正極端子12及び負極端子13の縦断面形には、図6(A)に示した縦断面形と、図6(B)に示した縦断面形が適宜採用できる。
[第3実施形態]
図9及び図10は本発明を電気二重層キャパシタに適用した第3実施形態を示す。図9は電気二重層キャパシタの上面図、図10は端子の封止部内に存する部分の詳細図である。
本第3実施形態の電気二重層キャパシタ10-3が、前記第1実施形態の電気二重層キャパシタ10-1と異なるところは、
・正極端子12と負極端子13として、パッケージ14の封止部14a1から導出された 先端部よりも蓄電素子11寄りの部分に、長さ方向中央に向かって幅が徐々に減少する 砂時計状部12c,13cをそれぞれ有するものを用いた点
・前記パッケージ14の封止部14a1が、前記正極端子12の砂時計状部12cと前記 負極端子13の砂時計状部13cを覆っている点
にある。他の構成は前記第1実施形態の電気二重層キャパシタ10-1と同じであるので、同一符号を用いてその説明を省略する。
本第3実施形態の電気二重層キャパシタ10-3にあっては、前記正極端子12及び負極端子13の砂時計状部12c,13cが前記パッケージ14の封止部14a1によって覆われている構造にあるため、該正極端子12及び負極端子13の該封止部14a1内に存する部分R12c,R13c(図10参照)の側面長さL12c,L13c(図10参照)は、該封止部14aの封止幅W14a1(図10参照)よりも大きくなる。
要するに、前記側面長さL12c,L13cが前記封止部14a1の封止幅W14a1よりも大きいことから、該側面長さL12c,L13cが該封止幅W14a1と同じ場合に比べて、溶融シール層を該両端子12,13の側面に回り込ませて密着させることが容易となる。即ち、前記封止部14a1による前記両端子12,13の側面の封止を的確に行うことができ、該両端子12,13の側面における封止力が他の部分の封止力に比べて低下することを防止することができる。
依って、前記電気二重層キャパシタ10-3を鉛フリー半田対応の高温(約250℃前後)のリフロー炉に投入してリフロー半田付けを行う場合でも、前記正極端子12及び負極端子13の一部分を覆う封止部14a1と該正極端子12及び負極端子13の側面との間から、リフロー半田付け時の熱によって蒸気圧上昇を生じた電解液が漏出する等の不具合を確実に回避することができる。
これにより、鉛フリー半田を使用した高温のリフロー半田付けに対応できる電気二重層キャパシタ10-3を提供することができ、該電気二重層キャパシタ10-3を一般の電子部品と同様に鉛フリー半田を使用した高温のリフロー半田付けによって基板等に実装できるようにする要望に確実に答えることができる。
尚、前記正極端子12及び負極端子13の縦断面形には、図6(A)に示した縦断面形と、図6(B)に示した縦断面形が適宜採用できる。
[第4実施形態]
図11及び図12は本発明を電気二重層キャパシタに適用した第4実施形態を示す。図11は電気二重層キャパシタの上面図、図12は端子の封止部内に存する部分の詳細図である。
本第4実施形態の電気二重層キャパシタ10-4が、前記第1実施形態の電気二重層キャパシタ10-1と異なるところは、
・正極端子12と負極端子13として、パッケージ14の封止部14a1から導出された 先端部よりも蓄電素子11寄りの部分に、所定方向に所定角度(90度)曲がり、且つ 、逆方向に所定角度(90度)曲がるような屈曲部12d,13dをそれぞれ有するも のを用いた点
・前記パッケージ14の封止部14a1が、前記正極端子12の屈曲部12dと前記負極 端子13の屈曲部13dを覆っている点
にある。他の構成は前記第1実施形態の電気二重層キャパシタ10-1と同じであるので、同一符号を用いてその説明を省略する。
本第4実施形態の電気二重層キャパシタ10-4にあっては、前記正極端子12及び負極端子13の屈曲部12d,13dが前記パッケージ14の封止部14a1によって覆われている構造にあるため、該正極端子12及び負極端子13の該封止部14a1内に存する部分R12d,R13d(図12参照)の側面長さL12d,L13d(図12参照)は、該封止部14aの封止幅W14a1(図12参照)よりも大きくなる。
要するに、前記側面長さL12d,L13dが前記封止部14a1の封止幅W14a1よりも大きいことから、該側面長さL12d,L13dが該封止幅W14a1と同じ場合に比べて、溶融シール層を該両端子12,13の側面に回り込ませて密着させることが容易となる。即ち、前記封止部14a1による前記両端子12,13の側面の封止を的確に行うことができ、該両端子12,13の側面における封止力が他の部分の封止力に比べて低下することを防止することができる。
依って、前記電気二重層キャパシタ10-4を鉛フリー半田対応の高温(約250℃前後)のリフロー炉に投入してリフロー半田付けを行う場合でも、前記正極端子12及び負極端子13の一部分を覆う封止部14a1と該正極端子12及び負極端子13の側面との間から、リフロー半田付け時の熱によって蒸気圧上昇を生じた電解液が漏出する等の不具合を確実に回避することができる。
これにより、鉛フリー半田を使用した高温のリフロー半田付けに対応できる電気二重層キャパシタ10-4を提供することができ、該電気二重層キャパシタ10-4を一般の電子部品と同様に鉛フリー半田を使用した高温のリフロー半田付けによって基板等に実装できるようにする要望に確実に答えることができる。
尚、前記正極端子12及び負極端子13の縦断面形には、図6(A)に示した縦断面形と、図6(B)に示した縦断面形が適宜採用できる。
[第5実施形態]
図13は本発明を電気二重層キャパシタに適用した第5実施形態を示す、電気二重層キャパシタの上面図である。
本第5実施形態の電気二重層キャパシタ10-5が、前記第1実施形態の電気二重層キャパシタ10-1と異なるところは、
・正極端子12-1として、前記蓄電素子11の接続片11b1に電気的に接続された基端 部から先の部分に、所定方向に所定角度(90度)曲がるようなL字形部12eを有す るものを用いた点
・前記パッケージ14の封止部14a1及び封止部14a2が前記正極端子12-1のL字 形部12eを覆っていて、該正極端子12-1の先端部が、該正極端子12-1の基端部と 向き合う封止部14a1及び向き合わない封止部14a2を通じて該正極端子12-1の 基端部の側方(図13の上方)に位置するように導出されている点
・負極端子13-1として、前記蓄電素子11の接続片11d1に電気的に接続された基端 部から先の部分に、前記正極端子12-1とは逆方向に90度曲がるようなL字形部13 eを有するものを用いた点
・前記パッケージ14の封止部14a1及び封止部14a3が前記負極端子13-1のL字 形部13eを覆っていて、該負極端子13-1の先端部が、該負極端子13-1の基端部と 向き合う封止部14a1及び向き合わない封止部14a3を通じて該負極端子13-1の 基端部の側方(図13の下方)に位置するように導出されている点
にある。他の構成は前記第1実施形態の電気二重層キャパシタ10-1と同じであるので、同一符号を用いてその説明を省略する。
本第5実施形態の電気二重層キャパシタ10-5にあっては、前記正極端子12-1のL字形部12eが前記パッケージ14の封止部14a1及び封止部14a2によって覆われ、且つ、前記負極端子13-1のL字形部13eが前記パッケージ14の封止部14a1及び封止部14a3によって覆われている構造にあるため、該正極端子12-1の該封止部14a1及び封止部14a2内に存する部分の側面長さと、該負極端子13-1の該封止部14a1及び封止部14a3内に存する部分の側面長さは、封止部14a1の封止幅W14a1(図5参照)よりも大きくなる。
要するに、前記側面長さが前記封止部14a1の封止幅W14a1よりも大きいことから、該側面長さが該封止幅W14a1と同じ場合に比べて、シール層を該両端子12-1,13-1の側面に回り込ませて密着させることが容易となる。即ち、前記封止部14a1〜14a3による前記両端子12,13の側面の封止を的確に行うことができ、該両端子12,13の側面における封止力が他の部分の封止力に比べて低下することを防止することができる。
依って、前記電気二重層キャパシタ10-5を鉛フリー半田対応の高温(約250℃前後)のリフロー炉に投入してリフロー半田付けを行う場合でも、前記正極端子12-1及び負極端子13-1の一部分を覆う封止部14a1〜14a3と該正極端子12-1及び負極端子13-1の側面との間から、リフロー半田付け時の熱によって蒸気圧上昇を生じた電解液が漏出する等の不具合を確実に回避することができる。
これにより、鉛フリー半田を使用した高温のリフロー半田付けに対応できる電気二重層キャパシタ10-5を提供することができ、該電気二重層キャパシタ10-5を一般の電子部品と同様に鉛フリー半田を使用した高温のリフロー半田付けによって基板等に実装できるようにする要望に確実に答えることができる。
尚、前記正極端子12-1及び負極端子13-1の縦断面形には、図6(A)に示した縦断面形と、図6(B)に示した縦断面形が適宜採用できる。
[第6実施形態]
図14は本発明を電気二重層キャパシタに適用した第6実施形態を示す、電気二重層キャパシタの上面図である。
本第6実施形態の電気二重層キャパシタ10-6が、前記第1実施形態の電気二重層キャパシタ10-1と異なるところは、
・正極端子12-2として、前記蓄電素子11の接続片11b1に電気的に接続された基端 部から先の部分に、所定方向に2度所定角度(90度)曲がるような屈曲部12fを有 するものを用いた点
・前記パッケージ14の封止部14a1及び封止部14a2が前記正極端子12-2の屈曲 部12fを覆っていて、該正極端子12-2の先端部が、該正極端子12-2の基端部と向 き合う封止部14a1及び向き合わない封止部14a2を通じて該正極端子12-2の基 端部とは反対側(図14の左側)に位置するように導出されている点
・負極端子13-2として、前記蓄電素子11の接続片11d1に電気的に接続された基端 部から先の部分に、前記正極端子12-2とは逆方向に2度90度曲がるような屈曲部1 3fを有するものを用いた点
・前記パッケージ14の封止部14a1及び封止部14a3が前記負極端子13-2の屈曲 部13fを覆っていて、該負極端子13-2の先端部が、該負極端子13-2の基端部と向 き合う封止部14a1及び向き合わない封止部14a3を通じて該負極端子13-2の基 端部とは反対側(図14の左側)に位置するように導出されている点
にある。他の構成は前記第1実施形態の電気二重層キャパシタ10-1と同じであるので、同一符号を用いてその説明を省略する。
本第6実施形態の電気二重層キャパシタ10-6にあっては、前記正極端子12-2の屈曲部12fが前記パッケージ14の封止部14a1及び封止部14a2によって覆われ、且つ、前記負極端子13-2の屈曲部13fが前記パッケージ14の封止部14a1及び封止部14a3によって覆われている構造にあるため、該正極端子12-2の該封止部14a1及び封止部14a2内に存する部分の側面長さと、該負極端子13-2の該封止部14a1及び封止部14a3内に存する部分の側面長さは、封止部14a1の封止幅W14a1(図5参照)よりも大きくなる。
要するに、前記側面長さが前記封止部14a1の封止幅W14a1よりも大きいことから、該側面長さが該封止幅W14a1と同じ場合に比べて、シール層を該両端子12-2,13-2の側面に回り込ませて密着させることが容易となる。即ち、前記封止部14a1〜14a3による前記両端子12,13の側面の封止を的確に行うことができ、該両端子12,13の側面における封止力が他の部分の封止力に比べて低下することを防止することができる。
依って、前記電気二重層キャパシタ10-6を鉛フリー半田対応の高温(約250℃前後)のリフロー炉に投入してリフロー半田付けを行う場合でも、前記正極端子12-2及び負極端子13-2の一部分を覆う封止部14a1〜14a3と該正極端子12-2及び負極端子13-2の側面との間から、リフロー半田付け時の熱によって蒸気圧上昇を生じた電解液が漏出する等の不具合を確実に回避することができる。
これにより、鉛フリー半田を使用した高温のリフロー半田付けに対応できる電気二重層キャパシタ10-6を提供することができ、該電気二重層キャパシタ10-6を一般の電子部品と同様に鉛フリー半田を使用した高温のリフロー半田付けによって基板等に実装できるようにする要望に確実に答えることができる。
尚、前記正極端子12-2及び負極端子13-2の縦断面形には、図6(A)に示した縦断面形と、図6(B)に示した縦断面形が適宜採用できる。
[他の実施形態]
(1)第1〜第6実施形態では、端子の先端部と異形の部分(斜行部12a,13aと、台形部12b,13bと、砂時計状部12c,13cと、屈曲部12d,13dと、L字形部12e,13eと、屈曲部12f,13f)を該端子に設けることによって、該端子の封止部内に存する部分の側面長さを該封止部の封止幅よりも大きくしたものを例示したが、該異形部分の形状はこれら形状に限られるものではない。要するに、端子の封止部内に存する部分の側面長さを封止幅よりも大きくすることが可能な形状であれば、該形状を異形部分に採用することで前記同様の作用効果を得ることができる。
(2)第1〜第6実施形態では、電気二重層キャパシタ10-1〜10-6に本発明を適用したものを例示したが、フィルムの例えばシール層が重なり合う部分を例えばヒートシール等により接合して形成された所定幅の封止部を有するパッケージと、該パッケージ内から封止部を通じて導出された少なくとも1対の端子とを備えた他の電気化学デバイス、例えばリチウムイオンキャパシタやレドックスキャパシタやリチウムイオン電池等であっても本発明を適用して同様の作用効果を得ることができる。
本発明を電気二重層キャパシタに適用した第1実施形態を示す、電気二重層キャパシタの上面図である。 図1のa1−a1線に沿う縦断面図である。 図1のa2−a2線に沿う縦断面図である。 図2のA部の詳細図である。 端子の封止部内に存する部分の詳細図である。 端子の縦断面形の変形例を示す図である。 本発明を電気二重層キャパシタに適用した第2実施形態を示す、電気二重層キャパシタの上面図である。 端子の封止部内に存する部分の詳細図である。 本発明を電気二重層キャパシタに適用した第3実施形態を示す、電気二重層キャパシタの上面図である。 端子の封止部内に存する部分の詳細図である。 本発明を電気二重層キャパシタに適用した第4実施形態を示す、電気二重層キャパシタの上面図である。 端子の封止部内に存する部分の詳細図である。 本発明を電気二重層キャパシタに適用した第5実施形態を示す、電気二重層キャパシタの上面図である。 本発明を電気二重層キャパシタに適用した第6実施形態を示す、電気二重層キャパシタの上面図である。
符号の説明
10-1,10-2,10-3,10-4,10-5,10-6…電気二重層キャパシタ、11…蓄電素子、12…正極端子、13…負極端子、14…パッケージ、14a1〜14a3…封止部、15…電解液、12a,13a…斜行部、R12a,R13a…端子の封止部内に存する部分、L12a,L13a…端子の封止部内に存する部分の側面長さ、12b,13b…台形部、R12b,R13b…端子の封止部内に存する部分、L12b,L13b…端子の封止部内に存する部分の側面長さ、12c,13c…砂時計状部、R12c,R13c…端子の封止部内に存する部分、L12c,L13c…端子の封止部内に存する部分の側面長さ、12d,13d…屈曲部、R12d,R13d…端子の封止部内に存する部分、L12d,L13d…端子の封止部内に存する部分の側面長さ、12-1…正極端子、13-1…負極端子、12e,13e…L字形部、12-2…正極端子、13-2…負極端子、12f,13f…屈曲部。

Claims (10)

  1. フィルムが重なり合う部分を接合して形成された所定幅の封止部を有するパッケージと、該パッケージの封止部からその先端部が導出された少なくとも1対の端子とを備えた電気化学デバイスにおいて、
    前記端子の封止部内に存する部分の側面長さが、前記封止部の封止幅よりも大きい、
    ことを特徴とする電気化学デバイス。
  2. 前記端子は該端子の先端部と異形の部分を有し、該異形部分が該封止部によって覆われている、
    ことを特徴とする請求項1に記載の電気化学デバイス。
  3. 前記異形部分は、前記封止部の幅方向に沿う仮想線と鋭角を成して傾く斜行部から成り、
    前記端子の先端部は、該端子の基端部と向き合う封止部を通じて導出されている、
    ことを特徴とする請求項2に記載の電気化学デバイス。
  4. 前記異形部分は、前記パッケージ内に向かって幅が徐々に減少する台形部から成り、
    前記端子の先端部は、該端子の基端部と向き合う封止部を通じて導出されている、
    ことを特徴とする請求項2に記載の電気化学デバイス。
  5. 前記異形部分は、長さ方向中央に向かって幅が徐々に減少する砂時計状部から成り、
    前記端子の先端部は、該端子の基端部と向き合う封止部を通じて導出されている、
    ことを特徴とする請求項2に記載の電気化学デバイス。
  6. 前記異形部分は、所定方向に所定角度曲がり、且つ、逆方向に所定角度曲がるような屈曲部から成り、
    前記端子の先端部は、該端子の基端部と向き合う封止部を通じて導出されている、
    ことを特徴とする請求項2に記載の電気化学デバイス。
  7. 前記異形部分は、所定方向に所定角度曲がるようなL字形部から成り、
    前記端子の先端部は、該端子の基端部と向き合う封止部及び向き合わない封止部を通じて該端子の基端部の側方に位置するように導出されている、
    ことを特徴とする請求項2に記載の電気化学デバイス。
  8. 前記異形部分は、所定方向に2度所定角度曲がるような屈曲部から成り、
    前記端子の先端部は、該端子の基端部と向き合う封止部及び向き合わない封止部を通じて該端子の基端部とは反対側に位置するように導出されている、
    ことを特徴とする請求項2に記載の電気化学デバイス。
  9. 前記端子の縦断面形は矩形或いはその近似形であり、該端子の少なくとも封止部内に存する部分は、4つの角部に丸みが設けられた縦断面形を有する、
    ことを特徴とする請求項1〜8の何れか1項に記載の電気化学デバイス。
  10. 前記端子の縦断面形は矩形或いはその近似形であり、該端子の少なくとも封止部内に存する部分は、4つの角部に面取りが設けられた縦断面形を有する、
    ことを特徴とする請求項1〜8の何れか1項に記載の電気化学デバイス。
JP2008256586A 2008-10-01 2008-10-01 電気化学デバイス Expired - Fee Related JP5261120B2 (ja)

Priority Applications (1)

Application Number Priority Date Filing Date Title
JP2008256586A JP5261120B2 (ja) 2008-10-01 2008-10-01 電気化学デバイス

Applications Claiming Priority (1)

Application Number Priority Date Filing Date Title
JP2008256586A JP5261120B2 (ja) 2008-10-01 2008-10-01 電気化学デバイス

Publications (2)

Publication Number Publication Date
JP2010087363A true JP2010087363A (ja) 2010-04-15
JP5261120B2 JP5261120B2 (ja) 2013-08-14

Family

ID=42251004

Family Applications (1)

Application Number Title Priority Date Filing Date
JP2008256586A Expired - Fee Related JP5261120B2 (ja) 2008-10-01 2008-10-01 電気化学デバイス

Country Status (1)

Country Link
JP (1) JP5261120B2 (ja)

Cited By (3)

* Cited by examiner, † Cited by third party
Publication number Priority date Publication date Assignee Title
JP2012099633A (ja) * 2010-11-02 2012-05-24 Ud Trucks Corp 蓄電セル
CN103270566A (zh) * 2010-12-24 2013-08-28 株式会社村田制作所 蓄电器件
JP2013196930A (ja) * 2012-03-21 2013-09-30 Aisin Seiki Co Ltd 蓄電デバイス及び蓄電デバイスの封止方法

Citations (6)

* Cited by examiner, † Cited by third party
Publication number Priority date Publication date Assignee Title
JP2000077044A (ja) * 1998-08-28 2000-03-14 Mitsubishi Cable Ind Ltd シート電池
JP2000285903A (ja) * 1999-03-31 2000-10-13 Sanyo Electric Co Ltd 薄型電池
JP2000285904A (ja) * 1999-03-31 2000-10-13 Matsushita Electric Ind Co Ltd 非水電解質電池及びその製造方法
JP2001093491A (ja) * 1999-09-24 2001-04-06 Mitsubishi Electric Corp 板状電池および携帯無線端末
JP2002056839A (ja) * 2000-08-11 2002-02-22 Nec Mobile Energy Kk 密閉型電池
JP2003086152A (ja) * 2001-09-10 2003-03-20 Mitsubishi Chemicals Corp 電 池

Patent Citations (6)

* Cited by examiner, † Cited by third party
Publication number Priority date Publication date Assignee Title
JP2000077044A (ja) * 1998-08-28 2000-03-14 Mitsubishi Cable Ind Ltd シート電池
JP2000285903A (ja) * 1999-03-31 2000-10-13 Sanyo Electric Co Ltd 薄型電池
JP2000285904A (ja) * 1999-03-31 2000-10-13 Matsushita Electric Ind Co Ltd 非水電解質電池及びその製造方法
JP2001093491A (ja) * 1999-09-24 2001-04-06 Mitsubishi Electric Corp 板状電池および携帯無線端末
JP2002056839A (ja) * 2000-08-11 2002-02-22 Nec Mobile Energy Kk 密閉型電池
JP2003086152A (ja) * 2001-09-10 2003-03-20 Mitsubishi Chemicals Corp 電 池

Cited By (3)

* Cited by examiner, † Cited by third party
Publication number Priority date Publication date Assignee Title
JP2012099633A (ja) * 2010-11-02 2012-05-24 Ud Trucks Corp 蓄電セル
CN103270566A (zh) * 2010-12-24 2013-08-28 株式会社村田制作所 蓄电器件
JP2013196930A (ja) * 2012-03-21 2013-09-30 Aisin Seiki Co Ltd 蓄電デバイス及び蓄電デバイスの封止方法

Also Published As

Publication number Publication date
JP5261120B2 (ja) 2013-08-14

Similar Documents

Publication Publication Date Title
US8619409B2 (en) Electrochemical device
JP5588338B2 (ja) 電気化学デバイス
JP5835433B2 (ja) フィルム外装電気デバイス
KR20070099430A (ko) 안전성과 용량이 증가된 리튬 이차전지
JP5427239B2 (ja) 電気化学キャパシタ
JP6266375B2 (ja) 電気化学セル
CN102082256A (zh) 二次电池
JP5676172B2 (ja) ラミネートフィルム外装積層型電池の製造方法
RU2439732C2 (ru) Электрический двухслойный конденсатор
JP5426639B2 (ja) ラミネート電池およびその製造方法
JP2006164784A (ja) フィルム外装電気デバイス
JP5261120B2 (ja) 電気化学デバイス
JP5180663B2 (ja) 電気化学デバイス
JP2019145724A (ja) 電気化学セル
JP2014220176A (ja) リード部材、非水電解質蓄電デバイス
KR101546002B1 (ko) 전기화학 에너지 저장 장치
JP2023541747A (ja) パッケージケース、電池及び電気機器
CN105609694A (zh) 引线部件以及电池
CN204257745U (zh) 极耳引线以及蓄电设备
JP2009188195A (ja) 電気化学デバイス及びその実装構造
JP5319129B2 (ja) 電気化学デバイス
CN101609904A (zh) 二次电池
JP5180657B2 (ja) 電気化学デバイス
JP2006228591A (ja) 非水電解液二次電池
JP6705702B2 (ja) 電気化学セル

Legal Events

Date Code Title Description
A621 Written request for application examination

Free format text: JAPANESE INTERMEDIATE CODE: A621

Effective date: 20110822

A977 Report on retrieval

Free format text: JAPANESE INTERMEDIATE CODE: A971007

Effective date: 20120426

A131 Notification of reasons for refusal

Free format text: JAPANESE INTERMEDIATE CODE: A131

Effective date: 20120619

A521 Request for written amendment filed

Free format text: JAPANESE INTERMEDIATE CODE: A523

Effective date: 20120817

A02 Decision of refusal

Free format text: JAPANESE INTERMEDIATE CODE: A02

Effective date: 20121205

A521 Request for written amendment filed

Free format text: JAPANESE INTERMEDIATE CODE: A523

Effective date: 20130222

A911 Transfer to examiner for re-examination before appeal (zenchi)

Free format text: JAPANESE INTERMEDIATE CODE: A911

Effective date: 20130304

TRDD Decision of grant or rejection written
A01 Written decision to grant a patent or to grant a registration (utility model)

Free format text: JAPANESE INTERMEDIATE CODE: A01

Effective date: 20130327

A61 First payment of annual fees (during grant procedure)

Free format text: JAPANESE INTERMEDIATE CODE: A61

Effective date: 20130426

FPAY Renewal fee payment (event date is renewal date of database)

Free format text: PAYMENT UNTIL: 20160502

Year of fee payment: 3

R150 Certificate of patent or registration of utility model

Free format text: JAPANESE INTERMEDIATE CODE: R150

R250 Receipt of annual fees

Free format text: JAPANESE INTERMEDIATE CODE: R250

LAPS Cancellation because of no payment of annual fees