JP2010085752A - カメラ用羽根駆動装置 - Google Patents

カメラ用羽根駆動装置 Download PDF

Info

Publication number
JP2010085752A
JP2010085752A JP2008255366A JP2008255366A JP2010085752A JP 2010085752 A JP2010085752 A JP 2010085752A JP 2008255366 A JP2008255366 A JP 2008255366A JP 2008255366 A JP2008255366 A JP 2008255366A JP 2010085752 A JP2010085752 A JP 2010085752A
Authority
JP
Japan
Prior art keywords
blade
plate
cover plate
driving device
camera
Prior art date
Legal status (The legal status is an assumption and is not a legal conclusion. Google has not performed a legal analysis and makes no representation as to the accuracy of the status listed.)
Granted
Application number
JP2008255366A
Other languages
English (en)
Other versions
JP5373352B2 (ja
Inventor
Kenzo Imai
謙三 今井
Yusuke Ebara
悠介 江原
Kiyomi Yoshida
清美 吉田
Kazuo Shikima
和雄 色摩
Kazuya Atsuta
一也 熱田
Nobuaki Watabe
伸昭 渡部
Ryoji Sawaki
亮二 澤木
Hiromi Haruyama
陽 春山
Current Assignee (The listed assignees may be inaccurate. Google has not performed a legal analysis and makes no representation or warranty as to the accuracy of the list.)
Nidec Precision Corp
Original Assignee
Nidec Copal Corp
Priority date (The priority date is an assumption and is not a legal conclusion. Google has not performed a legal analysis and makes no representation as to the accuracy of the date listed.)
Filing date
Publication date
Application filed by Nidec Copal Corp filed Critical Nidec Copal Corp
Priority to JP2008255366A priority Critical patent/JP5373352B2/ja
Publication of JP2010085752A publication Critical patent/JP2010085752A/ja
Application granted granted Critical
Publication of JP5373352B2 publication Critical patent/JP5373352B2/ja
Expired - Fee Related legal-status Critical Current
Anticipated expiration legal-status Critical

Links

Images

Landscapes

  • Diaphragms For Cameras (AREA)
  • Shutters For Cameras (AREA)
  • Permanent Magnet Type Synchronous Machine (AREA)

Abstract

【課題】略U字形のヨークを有する電磁アクチュエータが少なくとも1枚の羽根を往復作動させるカメラ用羽根駆動装置であって、装置の薄型化と、地板の小型化を図っても、設計の自由度が得られるようにしたカメラ用羽根駆動装置を提供すること。
【解決手段】地板1の羽根室とは反対側の面に、電磁アクチュエータが取り付けられ、略U字形のヨーク6に筒状に巻回されたコイル5が、逃げ孔1iに挿入され、地板1の羽根室側の面に近接して配置されるようになっている。逃げ孔1iの底部には、羽根室への貫通領域と非貫通領域とがあって、非貫通領域には、地板1の羽根室側の面からカバー板2側へ向けて所定の厚さを有する梁部11jが形成されていて、そこにシャッタ羽根8のストッパ1sを設けるとともに、カバー板2側の面をカバー板2の受け面にしている。
【選択図】 図3

Description

本発明は、少なくとも1枚の羽根を電磁アクチュエータによって往復作動させるようにしたカメラ用羽根駆動装置に関する。
カメラ用羽根駆動装置としては、シャッタ装置,絞り装置,フィルタ装置,レンズバリア装置があるが、最近では、それらの装置は、少なくとも1枚の羽根が、電磁アクチュエータによって往復作動させられるようになっている。また、シャッタ装置,絞り装置,フィルタ装置の場合には、それらのうちの二つ以上を一つのカメラ用羽根駆動装置としてユニット化することがあるが、そのように構成する場合には、地板に対して複数の電磁アクチュエータを取り付けるのが普通である。そして、最近では、その地板は、殆どの場合、合成樹脂製になっている。
また、カメラ用羽根駆動装置のうち、絞り駆動リングを往復回転させることによって、複数の絞り羽根を同時に同じ方向へ回転させ、それらの絞り羽根の協働によって絞り開口の大きさを連続的に変化させ得るようにした絞り装置の場合は、現在のところでは、電磁アクチュエータとして、ステッピングモータを採用するのが普通であるが、その他の殆どのカメラ用羽根駆動装置の場合は、下記の特許文献1に記載されているように、永久磁石製の回転子が、所定の回転角度範囲内においてだけ、固定子コイルに対する電流の供給方向に対応した方向へ回転させられるようにした電流制御式の電磁アクチュエータを採用するのが普通である。
更に、そのような電流制御式の電磁アクチュエータには、下記の特許文献1の実施例1,2(図1〜5)に記載されているように、固定子コイルを、永久磁石製の回転子を軸受けしている二つの固定子枠の外側に、それらの軸受け部を囲むようにして巻回したものと、実施例3〜5(図6〜11)に記載されているように、固定子コイルを、略U字形をしていて二つの脚部の先端の磁極部を永久磁石製の回転子の周面に対向させているヨークに巻回したものとがあるが、後者のタイプのものは、光軸方向と平行な方向の寸法を小さくし、装置を薄型化するのに適している。
しかしながら、上記の実施例3〜5のうち、実施例3,4(図6〜9)の場合には、装置の薄型化をさらに可能にするために、地板に対して貫通した長方形の逃げ孔を形成し、ヨークの一方の脚部に筒状に巻回されている固定子コイルの外周面を、地板の羽根室側の面まで接近させ得るようにしている。本発明は、このような後者のタイプの電流制御式の電磁アクチュエータによって少なくとも1枚の羽根を往復作動させるようにしたカメラ用羽根駆動装置に関するものである。
特開2005−241866号公報
特許文献1の実施例3,4に記載されている電磁アクチュエータの取付け構成は、筒状に巻回された固定子コイルの一部が、羽根が露光開口から退いたときに存在している領域と重なるように形成した長方形の逃げ孔内に配置されるようにしている。そのため、装置の薄型化が図れると同時に、地板の平面外形形状を小さくして装置の小型化を図ることも可能になっている。そして、特許文献1には記載されていないが、そのような逃げ孔を地板の外周部に形成するときは、長方形の一辺を開放し、残りの3辺が、地板の外周縁を形成するような形状にしてもよいものである。
ところで、合成樹脂製の地板の場合は、羽根室側の面に各種の突出部位を一体成形で形成している。そして、その突出部位としては、羽根が当接するストッパや、羽根を回転可能に取り付けるための羽根取付軸や、地板との間に羽根室を構成するカバー板などを取り付けるのに必要な部位などがある。しかしながら、装置の薄型化を図るために、地板に、上記のような逃げ孔を形成した場合は、その逃げ孔の形成領域には、それらの突出部位を形成することができない。
そのため、特許文献1に記載の実施例3,4では、シャッタ羽根のストッパが、長方形の逃げ孔に近接した極めて狭苦しいところに立設されていることからも分かるように、それらの突出部位の配置位置に制約を受けることになり、装置全体の設計の自由度が極端に損なわれてしまうという問題点がある。また、それらの突出部位を、逃げ孔の形成領域以外に形成する必要があるため、地板の平面外形形状を所望の形状にすることができなくなったり、十分に小型化できなくなるという問題点もあった。
本発明は、このような問題点を解決するためになされたものであり、その目的とするところは、コイルを筒状に巻回した略U字形のヨークと永久磁石製の回転子とを有していて、羽根室内に配置された少なくとも1枚の羽根を往復作動させるようにした電磁アクチュエータを、羽根室とは反対側の地板面に取り付けていて、筒状に巻回されたコイルの外周面が、地板に設けられた逃げ孔内において地板の羽根室側の面に近接して配置されているようにしたカメラ用羽根駆動装置において、上記の逃げ孔は、少なくとも羽根の作動領域に対応する領域だけを貫通領域とし、非貫通領域のカバー板側を有効活用することによって、装置の設計の自由度を大きくし、小型化も可能にしたカメラ用羽根駆動装置を提供することである。
上記の目的を達成するために、本発明は、撮影光路用の開口部を有している地板と、撮影光路用の開口部を有していて前記地板との間に少なくとも一つの羽根室を構成しているカバー板と、前記羽根室内に配置されていて往復作動させられることによって撮影光路に進退する少なくとも1枚の羽根と、前記地板の羽根室外の面に回転軸を垂直にして配置されている永久磁石製の回転子と略U字形をしていて二つの脚部の一方にコイルを筒状に巻回し該二つの脚部の先端部を磁極部とし該回転子の周面に対向させて配置されているヨークとを有していて該回転子の往復回転によって前記羽根を往復作動させる少なくとも一つの電磁アクチュエータと、を備えており、前記地板には前記羽根室まで貫通した逃げ孔が形成されていて、筒状に巻回された前記コイルの外周面が前記地板の羽根室側の面に近接して配置され得るようにしたカメラ用羽根駆動装置において、前記逃げ孔は、少なくとも前記羽根の作動領域に対応している領域を含む所定の領域を貫通孔とし、その他の非貫通領域には、前記地板の羽根室側の面から前記カバー板側に向けて所定の形状をした梁部が形成され、少なくともその梁部の一部が前記地板以外の構成部材と接触し得るようにする。その場合、前記梁部が、前記地板の平面外形形状の一部を規制しているようにすると、装置の小型化にとって、より好ましいものとなる。
また、前記梁部の前記カバー板側の面の少なくとも一部は、前記地板と前記カバー板との間隔を規制するために、前記カバー板の受け面として形成されているようにしてもよく、その場合、さらに、前記カバー板の受け面に、前記カバー板を熱溶着で固定する軸が設けられているようにしてもよい。
また、前記地板と前記カバー板との間を中間板で仕切って二つの羽根室が構成されていて、前記梁部の前記カバー板側の面の少なくとも一部は、前記地板と前記中間板との間隔を規制するために、前記中間板の受け面として形成されているようにしてもよく、その場合、さらに、前記中間板の受け面に、前記中間板を熱カシメで固定する軸が設けられているようにしてもよい。
また、前記梁部に、少なくとも、前記羽根の当接するストッパが設けられているようにしてもよい。
また、前記地板と前記カバー板との間を中間板で仕切って二つの羽根室が構成されていて、前記梁部に、少なくとも、前記中間板と前記カバー板との間に配置されている前記羽根を回転可能に取り付けるための羽根取付軸が設けられているようにしてもよい。
更に、前記梁部に、少なくとも、前記カバー板の位置決めピンが設けられているようにしてもよいし、前記地板と前記カバー板との間を中間板で仕切って二つの羽根室が構成されていて、前記梁部に、少なくとも、前記中間板の位置決めピンが設けられているようにしてもよい。
本発明は、コイルを筒状に巻回した略U字形のヨークと永久磁石製の回転子とを有していて、羽根室内に配置された少なくとも1枚の羽根を往復作動させるようにした電磁アクチュエータを、羽根室とは反対側の地板面に取り付けていて、筒状に巻回されたコイルの外周面が、地板に設けられた逃げ孔内において地板の羽根室側の面に近接して配置されているようにしたカメラ用羽根駆動装置において、上記の逃げ孔は、少なくとも羽根の作動領域に対応する領域だけを貫通領域とし、その他の非貫通領域には、地板の羽根室側の面からカバー板に向けて所定の形状をした梁部が形成されているようにしたので、そこにストッパなどを形成することによって、設計の自由度が大きくなり、小型化も可能になるという利点がある。
本発明の実施の形態を、図示した三つの実施例によって説明する。上記したように、本発明のカメラ用羽根駆動装置は、単独のシャッタ装置,絞り装置,フィルタ装置,レンズバリア装置としても実施できるし、シャッタ装置,絞り装置,フィルタ装置のうちの二つ以上をユニット化したものとしても実施することが可能である。しかしながら、それらの全ての実施例を挙げるまでもないので、以下においては、単独のシャッタ装置としたものを実施例1とし、シャッタ装置とフィルタ装置をユニット化したものを実施例2,3として説明することにし、他の実施態様については、各実施例の説明中において、適宜触れることにする。尚、図1〜図7は、実施例1を説明するためのものであり、図8〜図14は、実施例2を説明するためのものであり、図15〜図19は、実施例3を説明するためのものである。
本実施例のカメラ用羽根駆動装置は、2枚のシャッタ羽根を備えたシャッタ装置として構成したものである。そして、図1は、デジタルカメラに採用されたときの撮影待機状態を示した正面図であり、図2は、地板単体の一部だけを、図1と同じように見て示した部分図である。そして、図3は、図1の背面図であり、図4は、図2の背面図である。また、図5は、本実施例の構成部材の重なり関係を分かり易く示した断面図であり、図6は、本実施例の要部だけの断面図である。更に、図7は、撮影直後の状態を図3と同様にして示した背面図である。
そこで先ず、本実施例の構成を説明する。本実施例の地板1は、合成樹脂製であって比較的厚い部材であり、図1に示されているように、平面形状は略長方形をしている。そして、この地板1には、その中央部より若干左下方領域に、直径の大きな凹部が形成されており、その中央部に、光軸を中心にした撮影光路用の開口部1bが形成されている。また、図3に示されているように、地板1の背面には、薄い板部材であって地板1と略同じ外形形状をしたカバー板2が、後述する手段によって、所定の間隔を空けて取り付けられており、地板1との間に羽根室を構成している。そして、このカバー板2にも光軸を中心にした撮影光路用の開口部2aが形成されているが、上記の開口部1bの直径の方が小さいので、本実施例の露光開口は、開口部1bによって規制されている。しかしながら、開口部2aの方の直径を小さくして、露光開口を規制するようにしても差し支えない。
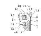
地板1の両面は、複雑な形状に形成されている。先ず、図1及び図2に示されているように、羽根室とは反対側となる面に、二つの固定子取付軸1c,1dが立設されている。また、図2から分かるように、基準面から1段深いところに、後述する略U字形をしたヨーク6の形状に合わせて受け部1eが形成され、その受け部1eから、さらに鍵穴状に深くしたところを、後述する回転子3の収容部1fとしている。そして、収容部1f内には、回転子取付軸1gが立設され、円弧状をした逃げ孔1hが羽根室側への貫通孔として形成されている。
また、図2から分かるように、上記の受け部1eの一部を切断するようにして、一方の長辺が地板1の外周縁と一致するようにした長方形の逃げ孔1iが形成されている。そして、この逃げ孔1iは、一部の平面領域が羽根室に通じる貫通領域となっているが、その他の非貫通領域は、羽根室側の面からカバー板2側に所定の厚さを有する梁部1jとして形成されている。尚、本実施例は、地板1の平面外形形状が小さくて済むようにするために、逃げ孔1iを地板1の外周縁に隣接して形成し、梁部1jが地板1の外周縁の一部を規制するようにしているが、本発明は、このような構成に限定されず、例えば、特許文献1の実施例3,4のように、外周縁に隣接しないように形成しても差し支えない。このことは、下記の各実施例の場合も同じである。
次に、電磁アクチュエータの構成を説明する。先ず、上記の回転子取付軸1gには、回転子3が回転可能に取り付けられている。本実施例の回転子3は、径方向に2極に着磁された永久磁石製であって、円筒形をした本体部3aから張り出された腕部3bの先端に、出力ピン3cを形成している。そして、この出力ピン3cは、円弧状をした上記の逃げ孔1hから羽根室内に挿入されている。尚、本実施例の場合には、回転子3の腕部3bと出力ピン3cも、本体部3aと同様に永久磁石であるが、それらの腕部3bと出力ピン3cを合成樹脂製にしたものも知られている。
本実施例の固定子枠4は、合成樹脂製であって、図1,図5に示されているような二つの板状部4a,4bと、それらの間に形成された中空のボビン部4cとからなっており、ボビン部4cには、板状部4a,4bとの境にフランジ4c−1,4c−2が形成されている。また、二つの板状部4a,4bには、取付孔4a−1,4b−1が形成されている。そして、ボビン部4cには、全体形状が筒状になるようにしてコイル5が巻回されている。また、ヨーク6は、略U字形をしていて、二つの脚部6a,6bの先端を磁極部としており、一方の脚部6aを、中空のボビン部4cに挿入している。
このようにしてボビン部4cにコイル5を巻回し且つヨーク6を取り付けた固定子枠4は、熱溶着といわれている加工方法によって地板1に取り付けられている。即ち、地板1に立設されている固定子取付軸1c,1dは、地板1の製作段階では円柱状をしている。そこで、固定子枠4の板状部4a,4bに形成されている取付孔4a−1,4b−1を、その円柱状の固定子取付軸1c,1dに嵌合させる。その結果、ヨーク6は、上記の受け部1eに接触状態になり、ボビン部4cのフランジ4c−1,4c−2とコイル5とが地板1の羽根室側の面に接近した状態になる。このような状態にしておいて、取付孔4a−1,4b−1から突き出ている固定子取付軸1c,1dの先端を加熱し、フランジ状に変形させると、図1及び図5に示されているような取付け構成が得られる。
このような電磁アクチュエータの取付け状態においては、図5,図6から分かるように、ボビン部4cのフランジ4c−1,4c−2と筒状に巻回されているコイル5の外周面が、地板1の羽根室側の面の近傍にまで挿入されているため、電磁アクチュエータの取付け領域における、光軸と平行な方向の寸法が極めて小さくなっている。また、本実施例は、梁部1jを形成しているので、梁部1jを形成していない場合に比較して、逃げ孔1iの短辺を形成している二つの部位の、成形加工による変形がしずらくなっている。
図3,図7に示されているように、地板1の羽根室側の面には、上記のようにして梁部1jが形成されているほか、その梁部1jの厚さと同じ寸法の高さで、カバー板2の三つの取付部1k,1m,1nが形成されている。そのため、梁部1jのカバー板2側の面は、カバー板2の受け面にもなっていることになる。しかしながら、本発明は、梁部1jのカバー板2側の面を、カバー板2の受け面としたものに限定されるものではない。
また、三つの取付部1k,1m,1nには、カバー板取付軸1p,1q,1rが立設されている。これらのカバー板取付軸1p,1q,1rは、地板1の製作段階では、図4に示されているカバー板取付軸1pのように、円柱状をしている。そして、カバー板2は、その取付孔2b,2c,2dをカバー板取付軸1p,1q,1rに嵌合させた後、それらのカバー板取付軸1p,1q,1rの先端を加熱し、フランジ状に変形させることによって、地板1に取り付けられている。
また、梁部1jにはストッパ1sが形成されていて、その先端をカバー板2の孔2eに挿入している。更に、地板1の羽根室側の面には、二つの羽根取付軸1t,1uと、三つのストッパ1v,1w,1xとが立設されているが、それらのうち、羽根取付軸1tは、カバー板2を地板1に取り付けるときの位置決めピンの役目もしている。そして、羽根取付軸1t,1uの先端は、カバー板2の孔2f,2gに挿入され、ストッパ1v,1xの先端は、カバー板2の孔2h,2iに挿入されている。
羽根室内には、2枚のシャッタ羽根7,8が配置されている。それらのうち、地板1側に配置されているシャッタ羽根7は、長孔7aを有していて、上記の羽根取付軸1tに回転可能に取り付けられている。また、カバー板2側に配置されているシャッタ羽根8は、長孔8aを有していて、上記の羽根取付軸1uに回転可能に取り付けられている。そして、上記した回転子3の出力ピン3cは、羽根室内でシャッタ羽根7,8の長孔7a,8aに嵌合し、先端を、地板1の逃げ孔1hと略同じ形状に形成されたカバー板2の逃げ孔2jに挿入している。
次に、本実施例の作動を、図1,図3及び図7を用いて説明する。図1及び図3は、デジタルカメラに採用されたときの撮影待機状態を示したものである。この状態においては、カメラの電源スイッチがオンになっているが、コイル5には通電されていない。しかしながら、周知のように、このときには、回転子3の本体部3aの磁極と、その周面に対向して配置されているヨーク6の磁極部との間に、本体部3aの磁力が作用していて、回転子3は、図1において反時計方向へ回転するように付勢されている。
そのため、図3において、シャッタ羽根7は反時計方向へ、シャッタ羽根8は時計方向へ回転するように付勢されているが、シャッタ羽根7はストッパ1vにより、シャッタ羽根8はストッパ1wによって回転を阻止され、この状態が維持されている。そのため、図示していない固体撮像素子には被写体光が当たっており、撮影者は、モニターで被写体像を観察することが可能になっている。
撮影に際してレリーズボタンが押されると、固体撮像素子に蓄積されていた電荷が放出されて撮影が開始され、新たな電荷が固体撮像素子に蓄積されていく。そして、所定の時間が経過すると、露光時間制御回路からの信号によって、コイル5に順方向の電流が供給される。それによって、回転子3が、図1において時計方向へ回転させられるので、図3において、シャッタ羽根7は時計方向へ回転させられ、シャッタ羽根8は反時計方向へ回転させられて、開口部1bを閉じていく。そして、開口部1bを閉鎖した直後に、シャッタ羽根7はストッパ1xに当接し、シャッタ羽根8はストッパ1sに当接して停止させられる。図7は、そのときの状態を示したものである。
その後、固体撮像素子に蓄積された電荷が、撮像情報として記憶装置に転送されるが、それが終わると、コイル5に対して逆方向の電流が供給される。そのため、回転子3は、図1において反時計方向へ回転させられるので、図7において、シャッタ羽根7は反時計方向へ回転させられ、シャッタ羽根8は時計方向へ回転させられて、開口部1bを開いていく。そして、開口部1bを全開にした直後に、シャッタ羽根7はストッパ1vに当接し、シャッタ羽根8はストッパ1wに当接して停止させられる。その後、コイル5への通電を断つと、図1及び図3に示した撮影待機状態に復帰したことになる。
このような作動説明からも分かるように、本実施例の構成では、地板1の平面外形形状を極端に小さくして、装置の小型化を図っているため、本来であれば、シャッタ羽根7が開口部1bを開いたときに当接するストッパを配置するのが困難であるところ、梁部1jを形成したことによって、ストッパ1sを設けることが可能になっている。
尚、本実施例のカメラ用羽根駆動装置は、シャッタ羽根を2枚備えた単独のシャッタ装置として構成したものであるが、本実施例のシャッタ羽根7の平面積を大きくすれば、シャッタ羽根8を備えていない、1枚のシャッタ羽根を備えたシャッタ装置になる。そして、本実施例のように構成したシャッタ装置も、1枚のシャッタ羽根を備えたシャッタ装置も、そのままレンズバリア装置としてカメラに採用することが可能である。また、上記のような1枚のシャッタ羽根を備えたシャッタ装置の構成は、シャッタ羽根に露光開口よりも直径の小さい開口部を形成して絞り羽根とすれば、絞り装置とすることが可能である。更に、そのような絞り羽根の開口部をフィルタ板で覆ってフィルタ羽根とすれば、フィルタ装置とすることも可能である。また、その場合のフィルタ羽根は、特開2005−091656号公報に記載のものとすることも可能である。従って、それらの装置は、いずれも、本発明のカメラ用羽根駆動装置である。
次に、図8〜図14を用いて実施例2を説明するが、本実施例のカメラ用羽根駆動装置は、2枚のシャッタ羽根を備えたシャッタ装置と、1枚のフィルタ羽根を備えたフィルタ装置とを一つのユニットとして構成したものである。尚、図8は、撮影待機状態を示した正面図であり、図9は、図8に示されている地板単体の一部だけを示した部分図であり、図10は、図8の背面図であり、図11は、図9の背面図である。また、図12は、本実施例の構成部材の重なり関係を分かり易く示した断面図であり、図13は、本実施例の要部の断面図である。更に、図14は、撮影終了直後の状態を、図10と同様にして示した背面図である。
そこで先ず、本実施例の構成を説明する。本実施例の地板11は、合成樹脂製であり、その略中央部には、直径の大きな凹部11aと、光軸を中心にして撮影光路用の開口部11bが形成されている。また、図10において、地板11の手前側に、地板11よりも薄く且つ平面外形形状の小さな中間板12が配置されており、図示していない手段によって地板11に取り付けられ、地板11との間に後述するフィルタ羽根22の羽根室を構成している。そして、この中間板12にも、光軸を中心にして、上記の開口部11aよりも直径の大きな撮影光路用の開口部12aが形成されている。
また、図10において、中間板12の手前側に、地板11と略同じ外形形状をしたカバー板13が配置されていて、後述する手段によって、地板11に取り付けられ、中間板12との間に、後述する2枚のシャッタ羽根23,24の羽根室を構成しているが、図10,図14においては、その羽根室内の一部が見えるようにするために、カバー板13の一部を切除して示してある。このカバー板13にも、光軸を中心にした撮影光路用の開口部13aが形成されているが、その直径は、中間板12の開口部12aと略同じである。そのため、本実施例の場合には、地板11の開口部11bが露光開口を規制するようになっている。しかしながら、中間板12の開口部12aやカバー板13の開口部13aの直径を一番小さくして、露光開口を規制するようにしても構わないことは言うまでもない。
地板11の両面は、実施例1の地板1の場合よりも一層複雑な形状に形成されている。そして、図8に示されているように、羽根室とは反対側となる地板11の面に、二つの電磁アクチュエータが取り付けられている。しかしながら、それらの電磁アクチュエータの構成と、地板11への取付け構成は、実施例の場合と殆ど同じである。そのため、それらの構成については、簡単に説明する。
先ず、図8において右側に配置されている電磁アクチュエータの関連構成を説明する。図8及び図9に示されているように、羽根室とは反対側となる地板11の面に、二つの固定子取付軸11c,11dが立設されている。また、図9から分かるように、基準面から1段深いところに、後述する略U字形をしたヨーク16の受け部11eが形成され、さらに深いところに、後述する回転子14の収容部11fが鍵穴状に形成されている。そして、収容部11f内には、回転子取付軸11gが立設され、円弧状をした逃げ孔11hが羽根室側への貫通孔として形成されている。
また、図9から分かるように、上記の受け部11eの一部を切断するようにして、一方の長辺が地板11の外周縁と一致するようにした長方形の逃げ孔11iが形成されている。この逃げ孔11iは、一部の平面領域が羽根室に通じる貫通領域となっているが、その他の非貫通領域は、羽根室側の面からカバー板13側に所定の厚さを有する梁部11jとして形成されている。尚、本実施例の貫通領域の平面形状が、上記の実施例1の場合と異なっているが、その主な理由は、地板11と中間板12との間に構成されている羽根室の平面外形形状が異なっているからである。
電磁アクチュエータの構成は、実施例1における固定子枠4の一部の形状が異なるだけである。先ず、回転子取付軸11gには、回転子14が回転可能に取り付けられている。この回転子14は、径方向に2極に着磁された永久磁石製の本体部14aと、腕部14bと、出力ピン14cとで構成されている。そして、出力ピン14cは、円弧状をした上記の逃げ孔11hから羽根室内に挿入されている。
固定子枠15は、合成樹脂製であって、二つの板状部15a,15bと、それらの間に形成された中空のボビン部15cとからなっており、ボビン部15cには、フランジ15c−1,15c−2が形成されている。そして、この固定子枠15は、板状部15a,15bの形状が、実施例1の固定子枠4の板状部4a,4bと異なっている。また、ボビン部15cには、全体形状が筒状になるようにしてコイル16が巻回されており、ヨーク17は、二つの脚部17a,17bの先端を磁極部としていて、一方の脚部17aを、ボビン部15cに挿入している。
このようにしてボビン部15cにコイル16を巻回し且つヨーク17を取り付けた固定子枠15は、実施例1の固定子枠4の場合と同様に、熱溶着によって、地板11の固定子取付軸11c,11dに取り付けられている。そして、その取付け状態においては、図13,図14から分かるように、ボビン部15cのフランジ15c−1,15c−2と筒状に巻回されているコイル16の外周面が、地板11の羽根室側の面の近傍にまで挿入されている。そのため、実施例1の場合と同様に、電磁アクチュエータの取付け領域における、光軸と平行な方向の寸法が小さくなっている。また、本実施例の場合にも、梁部11jを形成しているので、梁部11jを形成していない場合に比較して、逃げ孔11iの短辺を形成している二つの部位が、成形加工によって変形しずらくなっている。
次に、図8において左側に配置されている電磁アクチュエータの構成と、地板11への取付け構成を説明するが、それらの構成は、上記の電磁アクチュエータの場合と殆ど同じである。そのため、異なる点を中心にして簡単に説明する。
地板11には、二つの固定子取付軸11k,11mが立設されている。また、基準面から1段深いところに、後述するヨーク21の受け部11nが形成され、さらに深いところに、後述する回転子18の収容部11pが鍵穴状に形成されている。そして、収容部11p内には、回転子取付軸11qが立設され、円弧状の逃げ孔11rが羽根室側への貫通孔として形成されている。尚、図8においては、この逃げ孔11rと上記の固定子取付軸11mが重なって示されているが、図8での図示が困難なためにそのように示されているだけであって、実際には、図12に示されているように、地板11には、逃げ孔11rの一部を覆うように庇部11tが形成されており、固定子取付軸11mは、その庇部11tに立設されている。
また、ヨーク21の受け部11nの一部を切断するようにして、一方の長辺が地板11の外周縁と一致するようにした長方形の逃げ孔11sが形成されている。この逃げ孔11sには、上記の逃げ孔11iのようには、貫通領域が存在しない。何故ならば、図12からも分かるように、逃げ孔11sが形成されている面の反対側の面には、地板11と中間板12との間に構成されている羽根室が存在しないので、逃げ孔11sの深さを逃げ孔11iと同じにしても、貫通孔が形成され得ないのである。
そして、この電磁アクチュエータの回転子18も、径方向に2極に着磁された永久磁石製の本体部18aと、腕部18bと、出力ピン18cとで構成されていて、回転子取付軸11qに回転可能に取り付けられており、その出力ピン18cを、円弧状をした上記の逃げ孔11rから羽根室内に挿入している。
また、固定子枠19は、二つの板状部19a,19bと、それらの間に形成された中空のボビン部19cとからなっていて、ボビン部19cには、フランジ19c−1,19c−2が形成されているが、この固定子枠19は、板状部19a,19bの形状だけが、上記の固定子枠15の板状部15a,15bと異なっている。また、ボビン部19cには、全体形状が筒状になるようにしてコイル20が巻回されており、ヨーク21は、二つの脚部21a,21bの先端を磁極部としていて、一方の脚部21aを、ボビン部19cに挿入している。そして、ボビン部19cにコイル20を巻回し且つヨーク21を取り付けた状態の固定子枠19は、熱溶着によって、地板11の固定子取付軸11k,11mに取り付けられている。
地板11の羽根室側の面には、上記のようにして梁部11jが形成されているが、本実施例の梁部11jは、実施例1における梁部1jのように単独の梁部として形成されておらず、図10,図14に示されているように、梁部11jの厚さと同じ寸法の高さで、開口部11bを大きく取り囲むようにして、左上方部から時計廻りに右下方部まで形成され取付部11Aの一部であるかのように形成されている。しかし、他の取付部11Aとは独立して形成しても差し支えない。そして、本実施例では、取付部11Aのカバー板13側の面は、中間板12の受け面になっているので、当然のことながら、梁部11jのカバー板13側の面も、中間板12の受け面になっている。尚、図10,図14において、左下方部に形成されている受け部11Bも、カバー板13側の面が、中間板12の受け面になっている。
図10,図14の左下方部には、上記の取付部11Aよりも一段高く取付部11Cが形成されており、また、右方部には、取付部11Cと同じ高さに取付部11Dが形成されている。そして、それらの取付部11C,11Dにはカバー板取付軸11E,11F,11Gが立設されている。更に、左上方部には、受け部11Hが形成されていて、その受け部11Hと、上記のカバー板取付軸11E,11F,11Gのカバー板13側の面が、カバー板13の受け面になっている。
地板11の羽根室側の面には、羽根取付軸11Jと、カバー板13の位置決めピン11Kと、ストッパ11L,11Mとが立設され、取付部11Aとの境目には、ストッパ11Nが立設されている。また、取付部11Aには、羽根取付軸11Q,11Rと、中間板12の位置決めピン11Sと、ストッパ11Tとが立設され、取付部11Dとの境目には、ストッパ11U,11Vが立設されている。そして、それらのうち、中間板12の位置決めピン11Sとストッパ11Tとは、図11から明らかなように、梁部11jに立設されている。
そして、中間板12は、孔12bを位置決めピン11Sにしっかりと嵌合させ、また、孔12cを位置決めピン11Kに、孔12dを羽根取付軸11Jに、孔12eをストッパ11Nに、孔12fをストッパ11Tに、孔12gをストッパ11Mに、孔12hを羽根取付軸11Qに、孔12iを羽根取付軸11Rに、それぞれ緩く嵌合させて、図示していない手段によって地板11に取り付けられている。
また、カバー板13は、孔13bを位置決めピン11Kにしっかりと嵌合させ、また、孔13cを位置決めピン11Sに、孔13dを羽根取付軸11Jに、孔13eをストッパ11Nに、孔13fをストッパ11Tに、孔13gをストッパ11Mに、孔13hを羽根取付軸11Qに、孔13iを羽根取付軸11Rに、孔13jをストッパ11Uに、孔13kをストッパ11Vに、それぞれ緩く嵌合させている。そして、このカバー板13は、孔13m,13n,13pを、カバー板取付軸11E,11F,11Gに嵌合させ、上記のような熱溶着によって地板11に取り付けられている。
地板11と中間板12との間に構成された羽根室には、実質的には1枚として作動するフィルタ羽根22が配置されている。このフィルタ羽根22は、特開2005−091656号公報にも記載されているような3枚重合構成のフィルタ羽根であって、2枚の不透明な羽根部材がNDフィルタシートの羽根部材をサンドウイッチしており、不透明な2枚の羽根部材には、開口部11bよりも直径の小さな開口部22aが形成されている。そして、このフィルタ羽根22は、長孔22bを有していて、羽根取付軸11Jに回転可能に取り付けられている。また、上記の回転子14の出力ピン14cが、フィルタ羽根22の長孔22bに嵌合し、その先端部を、中間板12とカバー板13に形成された、上記の逃げ孔11hと同じ形状の逃げ孔12j,13qに挿入している。
尚、本実施例のフィルタ羽根22は、開口部22aの直径が、開口部11bより小さいが、周知のように、開口部22aの直径を、開口部11bと同じにしても、大きくしても構わない。また、本実施例では、このような3枚重合構成のものをフィルタ羽根としているが、周知のように、1枚の羽根に開口部を形成し、その開口部を覆うようにしてNDフィルタシートを取り付けたものをフィルタ羽根としても構わない。また、そのような1枚のフィルタ羽根の開口部の直径を開口部11bよりも小さくし且つNDフィルタシートを取り付けないようにすれば、周知の絞り羽根になるが、本実施例のフィルタ羽根22をそのような絞り羽根に置き換えれば、本実施例は、シャッタ装置と絞り装置とをユニット化したカメラ用羽根駆動装置になる。そのため、そのようにしたカメラ用羽根駆動装置も、本発明のカメラ用羽根駆動装置である。そして、これらのことは、下記の実施例3にも言えることである。
また、中間板12とカバー板13との間に構成された羽根室には、2枚のシャッタ羽根23,24が配置されている。それらのうち、中間板12側に配置されているシャッタ羽根23は、長孔23aを有していて、上記の羽根取付軸11Qに回転可能に取り付けられている。また、カバー板13側に配置されているシャッタ羽根24は、長孔24aを有していて、上記の羽根取付軸11Rに回転可能に取り付けられている。そして、上記した回転子18の出力ピン18cは、上記の逃げ孔11rと同じ形状に形成された中間板12の逃げ孔12kに挿入されて、羽根室内でシャッタ羽根23,24の長孔23a,24aに嵌合し、その先端を、カバー板13に形成された、逃げ孔12kと同じ形状の逃げ孔13rに挿入している。
次に、本実施例の作動を、図8,図10,図14を用いて説明する。図8及び図10は、撮影待機状態を示したものである。この状態では、カメラの電源スイッチはオンになっているが、コイル16,20には通電されていない。しかしながら、このときには、回転子14,18の本体部14a,18aと、その周面に対向して配置されているヨーク17,21の磁極部との間に、回転子14,18の磁力が作用していて、図8において、回転子14,18は、いずれも反時計方向へ回転するように付勢されている。
そのため、図10において、フィルタ羽根22は反時計方向へ回転するように付勢されており、また、シャッタ羽根23は反時計方向へ回転するように付勢され、シャッタ羽根24は時計方向へ回転するように付勢されているが、フィルタ羽根22はストッパ11Tによりその回転を阻止され、シャッタ羽根23,24はストッパ11U,11Nによってそれらの回転を阻止され、開口部11b(露光開口)の全開状態が維持されている。そのため、図示していない固体撮像素子には被写体光が当たっており、撮影者は、モニターによって被写体像を観察することが可能になっている。
撮影に際してレリーズボタンが押されると、その初期段階において、先ず、測光回路によって被写体光を測定し、その結果によって、被写体光を減光しないで撮影すると判断された場合には、シャッタ羽根23,24だけを作動させるが、被写体光を減光して撮影すると判断された場合には、最初に、フィルタ羽根22を作動させておいてから、シャッタ羽根23,24を作動させることになる。
そこで先ず、撮影に際してレリーズボタンを押したとき、測光回路の測定結果によって、被写体光を減光して撮影すると判断された場合には、最初に、コイル16に対して順方向の電流が供給される。それによって、回転子14は、図8において、時計方向へ回転させられる。そのため、図10において、出力ピン14cがフィルタ羽根22を時計方向へ回転させる。そして、フィルタ羽根22は、その開口部22aの中心が、開口部11bの中心位置までくると、ストッパ11Lに当接して停止させられる。
その状態になると、実施例1の場合と同様に、直ちに、固体撮像素子に蓄積されていた電荷が放出されて、撮影が開始され、新たな電荷が固体撮像素子に蓄積されていく。そして、所定の時間が経過すると、露光時間制御回路からの信号によって、コイル20に逆方向の電流が供給されるので、図8において、回転子18が時計方向へ回転させられる。そのため、図10において、出力ピン18cが、シャッタ羽根23を時計方向へ回転させ、シャッタ羽根24を時計方向へ回転させて、開口部11bの閉じ作動を行なわせる。そして、その閉じ作動は、開口部11bを閉鎖した直後に、シャッタ羽根23がストッパ11Mに当接し、シャッタ羽根24がストッパ11Vに当接することによって停止する。図14は、そのときの状態を示したものである。
その後、固体撮像素子に蓄積された電荷が、撮像情報として記憶装置に転送されるが、それが終わると、コイル16には逆方向の電流が供給され、コイル20には順方向の電流が供給されるので、回転子14,18は、先ほどとは逆方向へ回転させられる。そのため、図14において、フィルタ羽根22は反時計方向へ回転させられ、また、シャッタ羽根23は反時計方向へ回転させられ、シャッタ羽根24は時計方向へ回転させられる。そして、開口部11bが全開になると、その直後に、フィルタ羽根22はストッパ11Tに当接し、シャッタ羽根23,24はストッパ11U,11Nに当接して停止する。その後、コイル16,20への通電を断つと、図8及び図10に示された撮影待機状態に復帰したことになる。
次に、撮影に際してレリーズボタンを押したとき、測光回路の測定結果によって、被写体光を減光しないで撮影すると判断された場合の作動を簡単に説明する。この場合には、フィルタ羽根22は、上記のように作動させられることなく、図10の状態を維持させられたまま、直ちに実際の撮影が開始されることになる。そして、所定の時間が経過すると、露光時間制御回路からの信号によって、コイル20に逆方向の電流が供給され、上記のようにして、シャッタ羽根23,24の閉じ作動が行なわれる。また、シャッタ羽根23,24の閉じ作動が終了し、固体撮像素子に蓄積された電荷が、撮像情報として記憶装置に転送されると、コイル20に順方向の電流が供給され、上記のようにして、シャッタ羽根23,24の開き作動が行なわれる。そして、シャッタ羽根23,24の開き作動が終了した後、コイル20への通電を断つと、図10に示された撮影待機状態に復帰したことになる。
尚、本実施例においては、フィルタ羽根22だけが図14に示された状態に作動し終わっていて、中間板12側にあるシャッタ羽根23が図10に示されているように未だ閉じ作動を開始していないときには、両者は平面上で全く重ならない状態になる。そのため、中間板12が存在しないと、そのような状態からシャッタ羽根23が閉じ作動を開始したとき、フィルタ羽根22に衝突してしまうことになる。そのため、本実施例では中間板12を備えているが、両方の羽根22,23の一部が常に接触状態を保てる構成であるならば、中間板12は必ずしも必要ではない。
また、両方の羽根22,23の一部が常に接触状態を保てる構成にしていても、被写体光を減光しないで撮影するときと、減光して撮影するときとでは、フィルタ羽根22の存在位置が変るので、シャッタ羽根23の閉じ作動開始直前における両者の接触面積は異なるようになる。そのため、シャッタ羽根23の閉じ作動開始時における摩擦抵抗も異なってしまうが、そのようなことを考慮しなくてよい場合には、中間板12は必要がないことになる。従って、本発明のカメラ用羽根駆動装置は、シャッタ装置とフィルタ装置とをユニット化したものであっても、中間板を備えているとは限らない。そして、このことは、上記のようにしてシャッタ装置と絞り装置とをユニット化したものの場合も同じであるし、シャッタ羽根を1枚構成にした場合も同じである。
次に、図15〜図19を用いて実施例3を説明するが、上記の実施例2の説明で用いた図8は、そのまま本実施例の説明にも用いられる。そして、図15は、図8のようにして見た場合における本実施例の地板の一部だけを上記の図9のようにして示した部分図である。また、図16は、上記の図10のようにして示した本実施例の背面図であり、図17は、図15の背面図であり、図18は、本実施例の要部の断面図である。更に、図19は、撮影終了直後の状態を、図16と同様にして示した背面図である。
本実施例は、実施例2のカメラ用羽根駆動装置と同様に、2枚のシャッタ羽根を備えたシャッタ装置と、1枚のフィルタ羽根を備えたフィルタ装置とを一つのユニットとして構成したものである。そして、本実施例と上記の実施例2とは、一部の構成が異なるだけであって、殆どの構成は同じである。そのため、各図面においては、実施例2の場合と実質的に同じ部材及び同じ部位に、同じ符号を付けてある。そこで、以下においては、主に、実施例2の場合と異なる構成に付いて説明することにし、まったく同じ構成については説明を省略する。
本実施例の地板11は、羽根室とは反対側の面が、実施例2の場合と全く同じに形成されているが、図15に破線で示すように、梁部11jの羽根室側の形状が、後述するように異なっている。そして、地板11の羽根室とは反対側の面には、実施例2と全く同じ構成をした二つの電磁アクチュエータが、同じようにして取り付けられ、それらの回転子14,18の出力ピン14c,18cを逃げ孔11h,11rに挿入している。また、図16においては、地板11の手前側に、中間板12が図示していない手段によって取り付けられ、地板11との間に、実施例2の場合と全く同じフィルタ羽根22の羽根室を構成している。
また、図16において、中間板12の手前側には、後述する手段によってカバー板13が取り付けられていて、中間板12との間に、実施例2の場合とは形状の異なる2枚のシャッタ羽根23,24の羽根室を構成しているが、図16,図19においては、その羽根室内の一部を見えるようにするために、カバー板13の一部を切除して示してある。そして、上記の回転子14,18の出力ピン14c,18cは、実施例2の場合と全く同じように、それらの中間板12とカバー板13に設けられた円弧状の逃げ孔12j,13qと12h,13rに挿入されている。
地板11の羽根室側の面には、上記のようにして梁部11jが形成されているが、本実施例の梁部11jは、実施例2の場合と異なり、図17に示されているように、肉薄部11j−1と肉厚部11j−2とからなっている。そして、肉薄部11j−1は、実施例2の場合と同様に、取付部11Aの一部として形成されていて、カバー板13側の面を中間板12の受け面としているが、中間板12の位置決めピン11Sを、カバー板13の位置決めピン11Kの方へ移動して立設させ、その代わりに、実施例2における羽根取付軸11Qを立設するようにしている。また、肉厚部11j−2の方は、実施例2における受け部11Hにつなげ、同じ高さになるように形成されている。従って、肉厚部11j−2のカバー板13側の面は、カバー板13の受け面になっており、そこに、新たにカバー板取付軸11Wを立設している。
本実施例の梁部11jは、このように形成されているため、それに伴って、中間板12とカバー板13の形状も、実施例2の場合とは若干異なっている。即ち、中間板12は、梁部11jに接触するところの外形形状が異なっているし、孔12b,12hの形成位置が移動している。また、カバー板13も、孔13c,13hの形成位置が移動しているほか、新たに孔13sを設けており、その孔13sを上記のカバー板取付軸11Wに嵌合させることにより、熱カシメによって取り付けられている。このように、本実施例においては、地板11に対して、カバー板13が4箇所で取り付けられているため、カバー板13が地板11にしっかりと取り付けられ、シャッタ羽根23,24の安定した作動が得られるようになっている。
また、本実施例の場合には、実施例2における、シャッタ羽根23が閉じたときに当接するストッパ11Mと、シャッタ羽根24が閉じたときに当接するストッパ11Vが設け
られておらず、両方のシャッタ羽根23,24に共通なストッパ11Xが設けられている
。そのため、本実施例の中間板12には、実施例2における孔12gが設けられておらず、その代わりに孔12mを設けており、カバー板13には、実施例2における孔13g,13kが設けられておらず、孔13gの代わりに、孔12mと同じ形状の孔13tを設けている。また、シャッタ羽根23が開いたときに当接するストッパ11Uは、実施例2の場合よりも下方へ移動されている。そのため、実施例2におけるカバー板13の孔13jも一緒に移動させられているが、図16,19ではカバー板13の一部が切除されているので、図示されていない。
更に、上記したように、本実施例のシャッタ羽根23,24は、実施例2の場合と形状が異なっている。そのため、図16,19から分かるように、取付部11Dの平面形状が変わっており、シャッタ羽根23,24の羽根室が小さくなっている。そのため、中間板12も、その羽根室の形状にならって、外形形状が変えられている。以上において説明されなかった部材や部位については、実施例2の場合と全く同じである。尚、図18から分かるように、本実施例の梁部11jは、カバー板13側とは反対になる面の、コイル16を羽根室側の面に近付けるのに支障を来たさないところに、逃げ孔11iの長辺に沿って、断面が略三角形になる補強部11j−3を形成しているが、このような部位を形成すると、梁部11jが薄く形成されていても、その強度が補われることになる。
本実施例の構成は上記のとおりであるが、その作動は、実施例2の場合と殆ど同じである。即ち、出力ピン14cによって往復回転させられるフィルタ羽根22は、図16の撮影待機状態から時計方向へ回転させられると、ストッパ11Lに当接して、図19の状態で停止させられ、その後、反時計方向へ回転させられると、ストッパ11Tに当接して、図16の状態に復帰させられる。また、出力ピン18cによって同時に相反する方向へ往復回転させられるシャッタ羽根23,24は、図16の撮影待機状態から閉じ作動をさせられると、共通のストッパ11Xに当接して、図19の状態で停止させられ、その後、開き作動をさせられると、ストッパ11U,11Nに当接して、図16の状態に復帰させられる。
そして、被写体光を減光して撮影する場合の作動と、被写体光を減光しないで撮影する場合の作動については、実施例2の場合に準じて行われる。従って、それらの作動説明は省略する。
尚、上記の各実施例においては、コイル5,16,20は、固定子枠4,15,19のボビン部4c,15c,19cに巻回されているが、それらの固定子枠4,15,19とは独立したボビンに巻回し、そのボビンを、ヨーク6,17,21の脚部6a,17a,21aに嵌装するようにしてもよいし、それらのように、固定子枠4,15,19にボビン部4c,15c,19cを形成したり、独立したボビンを備えたりすることなく、コイル5,16,20を空芯コイルとし、その空芯コイルをヨーク6,17,21の脚部6a,17a,21aに直接嵌装するようにしてもよい。
単独のシャッタ装置として構成した実施例1のカメラ用羽根駆動装置が、デジタルカメラに採用されたときにおける撮影待機状態を示した正面図である。 実施例1に用いられている地板単体の一部だけを、図1と同じように見て示した部分図である。 図1の背面図である。 図2の背面図である。 実施例1の構成部材の重なり関係を分かり易く示した断面図である。 実施例1の要部の断面図である。 撮影直後の状態を示した実施例1の背面図である。 シャッタ装置とフィルタ装置とをユニット化した実施例2のカメラ用羽根駆動装置が、デジタルカメラに採用された場合における撮影待機状態を示した正面図である。 実施例2に用いられている地板単体の一部だけを、図8と同じように見て示した部分図である。 図8の背面図である。 図9の背面図である。 実施例2の構成部材の重なり関係を分かり易く示した断面図である。 実施例2の要部の断面図である。 撮影終了直後の状態を示した実施例2の背面図である。 実施例3に用いられている地板単体の一部だけを、図9と同じようにして示した部分図である。 図10のようにして示した実施例3の背面図である。 図15の背面図である。 実施例3の要部の断面図である。 撮影終了直後の状態を示した実施例3の背面図である。
符号の説明
1,11 地板
1a、11a 凹部
1b,2a,11b,12a,13a,22a 開口部
1c,1d,11c,11d,11k,11m 固定子取付軸
1e,11e,11n,11B,11H 受け部
1f,11f,11p 収容部
1g,11g,11q 回転子取付軸
1h,1i,2j,11h,11i,11r,11s,12j,12k,13q,13r 逃げ孔
1j,11j 梁部
1k,1m,1n,11A,11C,11D 取付部
1p〜1r,11E〜11G,11W カバー板取付軸
1s,1v〜1x,11L〜11N,11T〜11V ストッパ
1t,1u,11J,11Q,11R,11X 羽根取付軸
2,13 カバー板
2b,2c,2d,4a−1,4b−1 取付孔
2e〜2i,12b〜12i,12m,3d〜13k,13m,13n,13p,13s,13t 孔
3,14,18 回転子
3a,14a,18a 本体部
3b,14b,18b 腕部
3c,14c,18c 出力ピン
4,15,19 固定子枠
4a,4b,15a,15b,19a,19b 板状部
4c,15c,19c ボビン部
4c−1,4c−2,15c−1,15c−2,19c−1,19c−2 フランジ
5,16,20 コイル
6,17,21 ヨーク
6a,6b,17a,17b,21a,21b 脚部
7,8,23,24 シャッタ羽根
7a,8a,22b,23a,24a 長孔
11j−1 肉薄部
11j−2 肉厚部
11j−3 補強部
11t 庇部
11K,11S 位置決めピン
12 中間部材
22 フィルタ羽根

Claims (10)

  1. 撮影光路用の開口部を有している地板と、撮影光路用の開口部を有していて前記地板との間に少なくとも一つの羽根室を構成しているカバー板と、前記羽根室内に配置されていて往復作動させられることによって撮影光路に進退する少なくとも1枚の羽根と、前記地板の羽根室外の面に回転軸を垂直にして配置されている永久磁石製の回転子と略U字形をしていて二つの脚部の一方にコイルを筒状に巻回し該二つの脚部の先端部を磁極部とし該回転子の周面に対向させて配置されているヨークとを有していて該回転子の往復回転によって前記羽根を往復作動させる少なくとも一つの電磁アクチュエータと、を備えており、前記地板には前記羽根室まで貫通した逃げ孔が形成されていて、筒状に巻回された前記コイルの外周面が前記地板の羽根室側の面に近接して配置され得るようにしたカメラ用羽根駆動装置において、前記逃げ孔は、少なくとも前記羽根の作動領域に対応している領域を含む所定の領域を貫通孔とし、その他の非貫通領域には、前記地板の羽根室側の面から前記カバー板側に向けて所定の形状をした梁部が形成され、少なくともその梁部の一部が前記地板以外の構成部材と接触し得るようにしたことを特徴とするカメラ用羽根駆動装置。
  2. 前記梁部が、前記地板の平面外形形状の一部を規制していることを特徴とする請求項1に記載のカメラ用羽根駆動装置。
  3. 前記梁部の前記カバー板側の面の少なくとも一部は、前記地板と前記カバー板との間隔を規制するために、前記カバー板の受け面として形成されていることを特徴とする請求項1又は2に記載のカメラ用羽根駆動装置。
  4. 前記カバー板の受け面に、前記カバー板を熱溶着で固定する軸が設けられていることを特徴とする請求項3に記載のカメラ用羽根駆動装置。
  5. 前記地板と前記カバー板との間を中間板で仕切って二つの羽根室が構成されていて、前記梁部の前記カバー板側の面の少なくとも一部は、前記地板と前記中間板との間隔を規制するために、前記中間板の受け面として形成されていることを特徴とする請求項1又は2に記載のカメラ用羽根駆動装置。
  6. 前記中間板の受け面に、前記中間板を熱溶着で固定する軸が設けられていることを特徴とする請求項5に記載のカメラ用羽根駆動装置。
  7. 前記梁部に、少なくとも、前記羽根の当接するストッパが設けられていることを特徴とする請求項1又は2に記載のカメラ用羽根駆動装置。
  8. 前記地板と前記カバー板との間を中間板で仕切って二つの羽根室が構成されていて、前記梁部に、少なくとも、前記中間板と前記カバー板との間に配置されている前記羽根を回転可能に取り付けるための羽根取付軸が設けられていることを特徴とする請求項1又は2に記載のカメラ用羽根駆動装置。
  9. 前記梁部に、少なくとも、前記カバー板の位置決めピンが設けられていることを特徴とする請求項1又は2に記載のカメラ用羽根駆動装置。
  10. 前記地板と前記カバー板との間を中間板で仕切って二つの羽根室が構成されていて、前記梁部に、少なくとも、前記中間板の位置決めピンが設けられていることを特徴とする請求項1又は2に記載のカメラ用羽根駆動装置。
JP2008255366A 2008-09-30 2008-09-30 カメラ用羽根駆動装置 Expired - Fee Related JP5373352B2 (ja)

Priority Applications (1)

Application Number Priority Date Filing Date Title
JP2008255366A JP5373352B2 (ja) 2008-09-30 2008-09-30 カメラ用羽根駆動装置

Applications Claiming Priority (1)

Application Number Priority Date Filing Date Title
JP2008255366A JP5373352B2 (ja) 2008-09-30 2008-09-30 カメラ用羽根駆動装置

Publications (2)

Publication Number Publication Date
JP2010085752A true JP2010085752A (ja) 2010-04-15
JP5373352B2 JP5373352B2 (ja) 2013-12-18

Family

ID=42249762

Family Applications (1)

Application Number Title Priority Date Filing Date
JP2008255366A Expired - Fee Related JP5373352B2 (ja) 2008-09-30 2008-09-30 カメラ用羽根駆動装置

Country Status (1)

Country Link
JP (1) JP5373352B2 (ja)

Citations (5)

* Cited by examiner, † Cited by third party
Publication number Priority date Publication date Assignee Title
JP2002199693A (ja) * 2000-12-26 2002-07-12 Canon Inc 電磁駆動モータ、電磁作動装置、光量調整装置および光学機器
JP2005338691A (ja) * 2004-05-31 2005-12-08 Nidec Copal Corp カメラ用シャッタ
JP2006011293A (ja) * 2004-06-29 2006-01-12 Nidec Copal Corp カメラ用羽根駆動装置
JP2008096769A (ja) * 2006-10-13 2008-04-24 Nidec Copal Corp カメラ用シャッタ装置
JP2008139405A (ja) * 2006-11-30 2008-06-19 Nidec Copal Corp デジタルカメラ用羽根駆動装置

Patent Citations (5)

* Cited by examiner, † Cited by third party
Publication number Priority date Publication date Assignee Title
JP2002199693A (ja) * 2000-12-26 2002-07-12 Canon Inc 電磁駆動モータ、電磁作動装置、光量調整装置および光学機器
JP2005338691A (ja) * 2004-05-31 2005-12-08 Nidec Copal Corp カメラ用シャッタ
JP2006011293A (ja) * 2004-06-29 2006-01-12 Nidec Copal Corp カメラ用羽根駆動装置
JP2008096769A (ja) * 2006-10-13 2008-04-24 Nidec Copal Corp カメラ用シャッタ装置
JP2008139405A (ja) * 2006-11-30 2008-06-19 Nidec Copal Corp デジタルカメラ用羽根駆動装置

Also Published As

Publication number Publication date
JP5373352B2 (ja) 2013-12-18

Similar Documents

Publication Publication Date Title
KR101277428B1 (ko) 카메라용 블레이드 구동 장치
JP4628091B2 (ja) カメラ用羽根駆動装置
JP4522691B2 (ja) カメラ用羽根駆動装置
JP5373352B2 (ja) カメラ用羽根駆動装置
JP2006084826A (ja) デジタルスチルカメラ用フォーカルプレンシャッタ
JP5230111B2 (ja) カメラ用羽根駆動装置
JP2013097103A (ja) カメラ用羽根駆動装置
JP5000929B2 (ja) カメラ用羽根駆動装置
JP5183898B2 (ja) 電磁アクチュエータ及びそれを用いたカメラ用羽根駆動装置
JP4619027B2 (ja) カメラ用羽根駆動装置
JP4979920B2 (ja) カメラ用羽根駆動装置
JP4334337B2 (ja) カメラ用羽根駆動装置
JP5295625B2 (ja) カメラ用羽根駆動装置
JP2008033119A (ja) カメラ用羽根駆動装置
JP4238127B2 (ja) カメラ用羽根駆動装置
JP4958704B2 (ja) カメラ用羽根駆動装置
JP4641891B2 (ja) カメラ用羽根駆動装置
JP2008249814A (ja) カメラ用羽根駆動装置
JP5001108B2 (ja) カメラ用羽根駆動装置
JP5000930B2 (ja) カメラ用羽根駆動装置
JP2009244614A (ja) カメラ用羽根駆動装置
JP4575055B2 (ja) カメラ用羽根駆動装置
JP2007256721A (ja) カメラ用羽根駆動装置
JP2006072174A (ja) カメラ用羽根駆動装置
JP2010085437A (ja) カメラ用羽根駆動装置

Legal Events

Date Code Title Description
A621 Written request for application examination

Free format text: JAPANESE INTERMEDIATE CODE: A621

Effective date: 20110831

A977 Report on retrieval

Free format text: JAPANESE INTERMEDIATE CODE: A971007

Effective date: 20130228

A131 Notification of reasons for refusal

Free format text: JAPANESE INTERMEDIATE CODE: A131

Effective date: 20130326

A521 Written amendment

Free format text: JAPANESE INTERMEDIATE CODE: A523

Effective date: 20130523

RD02 Notification of acceptance of power of attorney

Free format text: JAPANESE INTERMEDIATE CODE: A7422

Effective date: 20130523

TRDD Decision of grant or rejection written
A01 Written decision to grant a patent or to grant a registration (utility model)

Free format text: JAPANESE INTERMEDIATE CODE: A01

Effective date: 20130903

A61 First payment of annual fees (during grant procedure)

Free format text: JAPANESE INTERMEDIATE CODE: A61

Effective date: 20130919

R150 Certificate of patent or registration of utility model

Ref document number: 5373352

Country of ref document: JP

Free format text: JAPANESE INTERMEDIATE CODE: R150

Free format text: JAPANESE INTERMEDIATE CODE: R150

R250 Receipt of annual fees

Free format text: JAPANESE INTERMEDIATE CODE: R250

R250 Receipt of annual fees

Free format text: JAPANESE INTERMEDIATE CODE: R250

R250 Receipt of annual fees

Free format text: JAPANESE INTERMEDIATE CODE: R250

R250 Receipt of annual fees

Free format text: JAPANESE INTERMEDIATE CODE: R250

LAPS Cancellation because of no payment of annual fees