JP2010085338A - センシング素子、センシング装置、方位検出装置及び情報機器 - Google Patents

センシング素子、センシング装置、方位検出装置及び情報機器 Download PDF

Info

Publication number
JP2010085338A
JP2010085338A JP2008256914A JP2008256914A JP2010085338A JP 2010085338 A JP2010085338 A JP 2010085338A JP 2008256914 A JP2008256914 A JP 2008256914A JP 2008256914 A JP2008256914 A JP 2008256914A JP 2010085338 A JP2010085338 A JP 2010085338A
Authority
JP
Japan
Prior art keywords
sensing element
element according
information
sensing
movable part
Prior art date
Legal status (The legal status is an assumption and is not a legal conclusion. Google has not performed a legal analysis and makes no representation as to the accuracy of the status listed.)
Granted
Application number
JP2008256914A
Other languages
English (en)
Other versions
JP5240657B2 (ja
Inventor
Akihiro Fuse
晃広 布施
Current Assignee (The listed assignees may be inaccurate. Google has not performed a legal analysis and makes no representation or warranty as to the accuracy of the list.)
Ricoh Co Ltd
Original Assignee
Ricoh Co Ltd
Priority date (The priority date is an assumption and is not a legal conclusion. Google has not performed a legal analysis and makes no representation as to the accuracy of the date listed.)
Filing date
Publication date
Application filed by Ricoh Co Ltd filed Critical Ricoh Co Ltd
Priority to JP2008256914A priority Critical patent/JP5240657B2/ja
Publication of JP2010085338A publication Critical patent/JP2010085338A/ja
Application granted granted Critical
Publication of JP5240657B2 publication Critical patent/JP5240657B2/ja
Expired - Fee Related legal-status Critical Current
Anticipated expiration legal-status Critical

Links

Images

Landscapes

  • Navigation (AREA)
  • Measuring Magnetic Variables (AREA)

Abstract

【課題】高コスト化を招くことなく、小型で高い信頼性を有し、加速度及び地磁気を同時に検出することができるセンシング素子を提供する。
【解決手段】4つの磁気発生部材と、対応する磁気発生部材からの磁気を検出するための4つのTMR素子と、3軸方向に関する地磁気を検出するための3つのTMR素子とが、形成されたセンサ基板121Aと、センサ基板121Aをカバーするカバー部材を有している。そして、センサ基板121Aは、錘部と、可動部とを有し、錘部に4つの磁気発生部材が形成され、可動部にZ軸方向に関する地磁気を検出するためのTMR素子が形成されている。また、カバー部材は、可動部に機械的な力を作用させ、可動部に形成されているTMR素子を傾斜させる。
【選択図】図5

Description

本発明は、センシング素子、センシング装置、方位検出装置及び情報機器に係り、更に詳しくは、複数の磁気センサを有するセンシング素子、該センシング素子を備えるセンシング装置、方位検出装置、及び情報機器に関する。
近年、携帯端末の高機能化、高性能化が進展し、地図情報を元に、所望の位置に誘導するいわゆるナビゲーション機能を搭載した携帯電話も急速に普及しつつある。このようなアプリケーションでは、地磁気情報を有効に活用することにより、利便性が飛躍的に向上する。
また、この場合に、姿勢検知のために3軸の加速度センサを組み合わせることにより、さらに正確な情報の活用と、利便性の飛躍的な向上が図られる。
地磁気はベクトル量であり、その強度は、一般に0.3〜0.5Oe(エルステッド)と言われており非常に弱いものである。このように非常に弱い強度の地磁気を高精度に検知するために、検出素子の特性向上が図られた。
地磁気は地球上の両磁極から発生する磁力線によるものであるために、平面ではない地球上でこの地磁気を検知する場合には、水平面のみの情報(2次元情報)では不十分である。従って、地磁気に関する情報を有効に活用するためには、地磁気の情報を3次元で検知する必要がある。
例えば、特許文献1には、基板上に固定された第1X軸GMR素子〜第4X軸GMR素子と、基板上に移動可能に支持された可動コイルとを備え、検出素子として磁気検出素子のみを用いて外部磁界及び加速度等を測定できるセンサが開示されている。
また、特許文献2には、板バネと、検出方向の加速度と逆方向に変位するように、板バネに支持された検出用磁石と、検出用磁石が発生する磁界を検出する磁界検出素子からなる磁気式加速度センサが開示されている。
また、特許文献3及び特許文献4には、地磁気を検出する少なくとも3軸の磁気センサと、重力加速度を検出する2軸以上の加速度センサと、磁気センサからの出力信号及び加速度センサからの出力信号を処理する信号処理部とを備えた集積化方位センサが開示されている。
特開2006−98078号公報 特開2006−317184号公報 特許第3928775号公報 特許第3982611号公報
最近、携帯端末は、高機能化及び高性能化だけでなく、小型化の要求も高まっている。そこで、携帯端末に搭載される方位検出装置も小型化する必要がある。
しかしながら、特許文献1に開示されているセンサでは、加速度と地磁気の両方の物理量を同時に検知することができないという不都合があった。また、特許文献1に開示されているセンサでは、可動コイルに電流を流す必要があるため、省エネルギを図ることができないという不都合があった。さらに、可動コイルに電流を流す/流さないを制御するための制御ユニットも必要となることから、回路も複雑となり、部品点数の増加やコストの上昇などを招くという不都合があった。
また、特許文献2に開示されている磁気式加速度センサでは、磁気回路や磁気センサなどをすべて実装技術を利用して組み立てているために、小型化には限界があった。
また、特許文献3及び4に開示されている集積化方位センサでは、加速度を検知するための応力検知素子と磁気情報を得るための磁気センサとが必要であり、結局二つの物理量を検知するのに、2種類の検知デバイスが必要である。そこで、それぞれを形成するための製造工程が必要になり、製造コストが上昇するという不都合があった。
本発明は、かかる事情の下になされたもので、その第1の目的は、高コスト化を招くことなく、小型で高い信頼性を有し、加速度及び地磁気を同時に検出することができるセンシング素子を提供することにある。
また、本発明の第2の目的は、高コスト化を招くことなく、小型で、精度良く3軸方向に関する加速度及び3軸方向に関する地磁気を同時に検出することができるセンシング装置を提供することにある。
また、本発明の第3の目的は、高コスト化を招くことなく、小型で、精度良く方位を検出することができる方位検出装置を提供することにある。
また、本発明の第4の目的は、高コスト化を招くことなく、小型で、ユーザの要求に最適な情報を得ることができる情報機器を提供することにある。
本発明は、第1の観点からすると、加速度によって変位する錘部と、外力によって可動する少なくとも1つの可動部とを有し、前記錘部に形成された少なくとも1つの磁気発生部材と、該磁気発生部材からの磁気を検出するための複数の磁気センサと、前記少なくとも1つの可動部を含む複数の位置に形成され3軸方向に関する地磁気を検出するための複数の磁気センサとが形成されたセンサ基板と;前記センサ基板をカバーするとともに、機械的な力を作用させて前記少なくとも1つの可動部を、該可動部以外に対して傾斜させるカバー部材と;を備えるセンシング素子である。
これによれば、高コスト化を招くことなく、小型で高い信頼性を有し、加速度及び地磁気を同時に検出することが可能となる。
本発明は、第2の観点からすると、本発明のセンシング素子と;前記センシング素子における複数の磁気センサの出力信号、及び前記センサ素子における前記少なくとも1つの可動部の傾斜角に基づいて、3軸方向に関する加速度情報及び3軸方向に関する地磁気情報をそれぞれ求める演算装置と;を備えるセンシング装置である。
これによれば、本発明のセンシング素子を有しているため、高コスト化を招くことなく、小型で、精度良く3軸方向に関する加速度及び3軸方向に関する地磁気を同時に検出することが可能となる。
本発明は、第3の観点からすると、本発明のセンシング装置と;前記センシング装置からの3軸方向に関する加速度情報と3軸方向に関する地磁気情報に基づいて、方位情報を求める方位取得装置と;を備える方位検出装置である。
これによれば、本発明のセンシング装置を備えているため、結果として、高コスト化を招くことなく、小型で、精度良く方位を検出することが可能となる。
本発明は、第4の観点からすると、位置情報を取得する位置検出装置と;本発明の方位検出装置と;前記方位検出装置からの方位情報と前記位置検出装置からの位置情報に基づいて、情報を取得する情報取得装置と;を備える情報機器である。
これによれば、本発明の方位検出装置を備えているため、結果として、高コスト化を招くことなく、小型で、ユーザの要求に最適な情報を得ることが可能となる。
以下、本発明の一実施形態を図1〜図25に基づいて説明する。図1には、一実施形態に係る情報機器としての携帯電話10の外観が示されている。
この携帯電話10は、一例として図2に示されるように、キー入力装置11、表示装置12、メモリ13、無線回路14、アンテナ15、スピーカ16、マイク17、カメラモジュール18、インターフェース(IF)19、方位検出装置20、位置検出装置21、電源装置23、及び主制御装置22などを備えている。
キー入力装置11は、ユーザがデータを入力したり、携帯電話10に対する指示内容を選択したりするのに用いられ、テンキーや各種ファンクションキーなどを有している。ここで入力されたキー情報は主制御装置22に通知される。なお、キーとしては、ハードウェアキー、ソフトウェアキーのいずれであっても良いし、それらが併用されても良い。
表示装置12は、ユーザへの各種メッセージやユーザが入力した各種情報などを表示する。また、表示装置12は、各種アプリケーション及びカメラモジュール18での表示手段としても用いられる。
メモリ13は、複数種類の記憶媒体を有し、それぞれに適した各種データが格納される。
無線回路14は、アンテナ15を介して、外部との双方向の無線通信を制御する。なお、音声データだけではなく、文字データや画像データも、通信データとして送受信することが可能である。さらに、GPS(Global Positioning System)信号も受信することができる。
スピーカ16は、音声データや音楽データなどを音に変換して出力する。
マイク17は、入力される音を電気信号に変換する。
カメラモジュール18は、画像を撮像する。
インターフェース(IF)19は、複数種類のインターフェースドライバを有し、外部機器(例えば、メモリチップ、USB機器など)との双方向のデータ通信を制御する。
方位検出装置20は、携帯電話10の長手方向が向いている方位情報を取得し、主制御装置22に通知する。この方位検出装置20の構成については後述する。
位置検出装置21は、GPS信号に基づいて携帯電話10の位置情報を取得する。
電源装置23は、各部に電力を供給する。
主制御装置22は、CPU、ROM、及びRAMを有し、携帯電話10の全体を制御する。
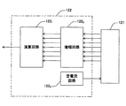
ここで、前記方位検出装置20について説明する。この方位検出装置20は、一例として図3に示されるように、センシング装置120及び方位情報変換装置130を有している。
センシング装置120は、センシング素子121と演算装置122を有し、3軸方向に関する地磁気データ及び3軸方向に関する加速度データを出力する。
このセンシング素子121は、一例として図4(A)及び図4(B)に示されるように、センサ基板121A、センサ基板121Aをカバーするカバー部材121B、センサ基板121Aを支持する支持部材121Cを有している。なお、本明細書では、XYZ3次元直交座標系において、センサ基板121Aの表面に垂直な方向をZ軸方向として説明する。
ここでは、カバー部材121Bは、センサ基板121Aの+Z側の面をカバーしている。そして、支持部材121Cは、センサ基板121Aの−Z側の面を介してセンサ基板121Aを支持している。
また、カバー部材121Bとセンサ基板121A、及び支持部材121Cとセンサ基板121Aは、接着剤によって接着されている。なお、それらは、いわゆる陽極接合によって接合されても良い。
センサ基板121Aは、一例として図5に示されるように、基板201を有し、地磁気を検出するための領域(以下では、「地磁気検出領域」という)201mと、加速度を検出するための領域(以下では、「加速度検出領域」という)201sが設けられている。
地磁気検出領域201mには、図6に示されるように、TMR素子121、TMR素子121、TMR素子121、複数の電極パッド202、及び複数の配線203が形成されている。
TMR素子121は、X軸方向の地磁気を検出するための磁気センサであり、TMR素子121は、Y軸方向の地磁気を検出するための磁気センサであり、TMR素子121は、Z軸方向の地磁気を検出するための磁気センサである。
また、地磁気検出領域201mには、図7(A)及び図7(A)のA−A断面図である図7(B)に示されるように、カンチレバー構造(片持ち梁構造)の可動部201bが形成されている。そして、この可動部201bの自由端近傍にTMR素子121が形成されている。
TMR素子121及びTMR素子121は、可動部201bの一端が支持されている非可動部に形成されている。そして、ここでは、TMR素子121とTMR素子121は、磁界の検知方向が互いにほぼ直交するように形成されている。
加速度検出領域201sには、図8に示されるように、TMR素子121、TMR素子121、TMR素子121、TMR素子121、4つの磁気発生部材(205〜205)、複数の電極パッド202、及び複数の配線203が形成されている。
TMR素子121は磁気発生部材205の磁気を検出するための磁気センサであり、TMR素子121は磁気発生部材205の磁気を検出するための磁気センサである。さらに、TMR素子121は磁気発生部材205の磁気を検出するための磁気センサであり、TMR素子121は磁気発生部材205の磁気を検出するための磁気センサである。
また、加速度検出領域201sには、図9(A)及び図9(A)のA−A断面図である図9(B)に示されるように、4つの支持部201dによって支持された錘部201cが形成されている。
この錘部201cは、一例として図10に示されるように、加速度の大きさや方向に応じて変位し、その位置及び姿勢が変化する。
4つの磁気発生部材(205〜205)は、錘部201cの表面における4隅近傍に形成されている。
TMR素子121、TMR素子121、TMR素子121、及びTMR素子121は、支持部201dが支持されている非可動部であって、対応する磁気発生部材に近接する位置にそれぞれ形成されている。
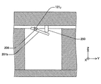
カバー部材121Bには、一例として図11(A)〜図11(C)に示されるように、センサ基板121Aの可動部201bに機械的な力を作用させるための突起部250が形成されている。なお、図11(B)は図11(A)のA−A断面図である。
そこで、センサ基板121Aがカバー部材121Bでカバーされると、一例として図12(A)及び図12(A)のA−A断面図である図12(B)に示されるように、カバー部材121Bの突起部250によって可動部201bに−Z方向の押圧が作用する。すなわち、可動部201bに機械的な力が作用する。そして、TMR素子121とともに可動部201bは、XY平面に対して傾斜することとなる。このときの傾斜角θは、XY面内での突起部250の位置(すなわち、押圧の作用位置)、及びZ軸方向に関する突起部250の長さ(すなわち、突出量)によって決定される。なお、本実施形態では、一例として可動部201bの傾斜角θが25度となるように設定されている。
また、図12(A)のB−B断面図が、図13に示されている。
ところで、TMR素子は、磁界に応じてその抵抗値が変化するトンネル磁気抵抗効果素子であり、一例として図14に示されるように、反強磁性体層としてFe−Mn薄膜52、強磁性体層(ピン層)としてCo−Fe薄膜53、絶縁体層として酸化アルミニウム膜54、強磁性体層(フリー層)としてパーマロイ薄膜55が、順に積層されたTMR構造膜を有している。なお、TMR構造膜の層構成及び層材料は、これに限定されるものではない(例えば、宮崎照宣著、「スピントロニクス」、日刊工業新聞社、2004年、参照)。
そこで、一例として図15に示されるように、各TMR素子には一定の電流が演算装置122から供給され、各TMR素子の電圧がそれぞれの信号として演算装置122に出力される。
次に、センサ基板121Aの作製方法について簡単に説明する。
ここでは、基板201には、表面が(100)面であり、膜厚が525nmの熱酸化膜が形成されている単結晶シリコン(Si)のウエハを用いた(図16(A)参照)。
(1)マグネトロンスパッタリング法を用いて、基板201の熱酸化膜上に上記TMR構造膜を成膜する(図16(B)参照)。
(2)フォトリソグラフィー及びドライエッチングにより、TMR素子に対応する領域以外のTMR構造膜を除去する(図16(C)及び図17(A)参照)。ここでは、TMR素子に対応する領域は長方形であり、短い辺の長さDaを70μm、長い辺の長さDbを200μmとした(図17(B)参照)。
(3)一例として図18(A)〜図18(C)に示されるように、TMR構造膜の微細加工を行う。
(4)スパッタリング法を用いて、層間絶縁膜としてSiO膜を300nmの厚さで成膜する。
(5)公知の手段を用いてコンタクトホールを開口する。
(6)アルミニウムの成膜及びパターニング加工により配線203及び電極パッド202を形成する(図19(A)参照)。これによって、TMR素子ができ上がる。なお、一例として図19(B)に、TMR構造膜における配線203のコンタクト位置が示されている。原理的には、1つのTMR素子には4つの端子が必要となるが、ここでは1つの端子を共有化し、3つの端子を設けている。
(7)磁気発生部材が所望の領域にのみ形成されるようにステンシルマスク(図20(A)参照)を用いたいわゆるマスクデポ手法を採用し、磁化用の磁界を加えながら、マグネトロンスパッタリング法により、磁気発生部材を形成する(図20(B)参照)。ここでは、磁気発生部材としてコバルト(Co)−鉄(Fe)合金を200nmの厚さで形成した。
(8)カンチレバー構造の可動部201b、及び支持部201dによって支持された錘部201cを形成するため、レジストフィルムを用いてエッチングマスクを形成する(図21(A)参照)。
(9)シリコンのドライエッチング技術を用いて、マスクされていない部分のエッチングを行う。
(10)エッチングマスクを取り除く(図21(B)参照)。
ここでは、図22(A)におけるD11は1mm、D12は1mm、D13は3mm、D14は3mm、D15は2mm、D16は5mmとした。また、図22(B)におけるD17は1.5mmとした。
カバー部材121Bは、センサ基板121Aと同様にSiウェハを用い、フォトリソグラフィー及びドライエッチングにより形成した。ここでは、図23におけるD21は1mm、D22は200μmφとした。なお、突起部250は弾性を有している。
支持部材121Cは、センサ基板121Aと同様にSiウェハを用い、フォトリソグラフィー及びドライエッチングにより形成した。ここでは、図24におけるD31は0.5mmとした。
なお、カバー部材121B及び支持部材121Cは、センサ基板121Aを保護する役割も有している。すなわち、カバー部材121B及び支持部材121Cは、いずれも磁気センシング素子121のパッケージング部材の一部を兼ねている。
従って、磁気センシング素子121は、厚さ(ここでは、Z軸方向の長さ)が3mm未満となり、従来の磁気センシング素子よりも薄くすることができた。
演算装置122は、図25に示されるように、演算回路122、各TMR素子の出力電圧を増幅する増幅回路122、各TMR素子に一定の電流を供給する定電流回路122を有している。
演算回路122は、増幅回路122で増幅されたTMR素子121〜TMR素子121の出力電圧に基づいて3軸方向に関する加速度データを算出する。
また、演算回路122は、増幅回路122で増幅された、TMR素子121の出力電圧、TMR素子121の出力電圧、及びTMR素子121の出力電圧を、増幅回路122で増幅されたTMR素子121〜TMR素子121の出力電圧に基づいて補正する。
そして、演算回路122は、補正されたTMR素子121の出力電圧に基づいてX軸方向に関する地磁気データを算出し、補正されたTMR素子121の出力電圧に基づいてY軸方向に関する地磁気データを算出する。さらに、演算回路122は、補正されたTMR素子121の出力電圧及び可動部201bの傾斜角に基づいてZ軸方向に関する地磁気データを算出する。なお、可動部201bの傾斜角は、予め計測あるいは計算され、演算回路122の不図示のメモリに格納されている。
センシング素子121に加速度が生じると、該加速度の方向と大きさに応じて錘部201cの位置及び姿勢が変化し、それに伴って、4つの磁気発生部材(205〜205)も位置及び姿勢が変化する(図10参照)。これにより、4つのTMR素子(121〜121)の出力電圧がそれぞれ変化する。そこで、4つのTMR素子(121〜121)の出力電圧から3軸方向に関する加速度データを算出することができる。
演算回路122で算出された3軸方向に関する地磁気データ及び3軸方向に関する加速度データは、方位情報変換装置130に出力される。
図3に戻り、方位情報変換装置130は、センシング装置120からの3軸方向に関する地磁気データと3軸方向に関する加速度データとに基づいて、公知の演算処理を行い、携帯電話10の長手方向が向いている方位情報(例えば、方位角)を取得する。ここで得られた方位情報は、主制御装置22に通知される。
図2に戻り、主制御装置22は、ユーザの要求に応じて、方位検出装置20で取得された方位情報及び位置検出装置21で取得された位置情報に基づいて、ユーザの要求に最適な情報(例えば、ナビゲーション情報)を表示装置12に表示する(例えば、特開2001−289646号公報参照)。
以上の説明から明らかなように、本実施形態に係るセンシング素子121では、TMR素子121とTMR素子121とTMR素子121とによって、3軸方向に関する地磁気を検出するための複数の磁気センサが構成されている。
また、TMR素子121とTMR素子121とTMR素子121とTMR素子121とによって、磁気発生部材からの磁気を検出するための複数の磁気センサが構成されている。
また、本実施形態に係る方位検出装置20では、方位情報変換装置130によって方位取得装置が構成されている。
また、本実施形態に係る携帯電話10では、主制御装置22によって情報取得装置が構成されている。
以上説明したように、本実施形態に係るセンシング素子121によると、4つの磁気発生部材(205〜205)と、該磁気発生部材(205〜205)からの磁気を検出するための4つのTMR素子(121〜121)と、3軸方向に関する地磁気を検出するための3つのTMR素子(121、121、121)とが、形成されたセンサ基板121Aと、該センサ基板121Aをカバーするカバー部材121Bを有している。
そして、センサ基板121Aは、加速度によって変位する錘部201cと、カンチレバー構造の可動部201bとを有し、錘部201cに4つの磁気発生部材(205〜205)が形成され、可動部201bにTMR素子121が形成されている。
また、カバー部材121Bには、センサ基板121Aをカバーしたときに、可動部201bに機械的な力を作用させ、可動部201bを、該可動部201b以外に対して傾斜させる突起部250が形成されている。
この場合、各TMR素子は基板201上に形成されているため、従来の磁気センシング素子のように、X軸方向、Y軸方向、Z軸方向それぞれに対応する磁気センサ素子(磁気センサチップ)を個別に接着する必要がない。そこで、従来の接着工程が不要となり、低コスト化を図ることが可能となる。また、接着部分がないため、接着強度のばらつきや経時変化(経時劣化)の心配がない。さらに、磁気センサ素子の大きさに制約がない。
また、錘部201c、可動部201b及び各TMR素子は、マイクロマシニング技術を利用して作製されているため、磁気センシング素子121の小型化、特に高さ方向(ここでは、Z軸方向)の小型化を図ることが可能である。
さらに、TMR素子の形成時に配線及び電極パッドも形成することができるため、従来のように、磁気センサ素子の実装後に配線部材によって磁気センサと電極パッドとを接続する必要がなく、長期の安定性や信頼性に対して十分に対応することが可能である。
すなわち、高コスト化を招くことなく、3軸方向に関する加速度及び3軸方向に関する地磁気を同時に検出することができ、信頼性を高く維持したまま小型化を図ることが可能である。
また、可動部201bを傾斜させるのにエネルギを必要としないため、省エネルギ化を図ることが可能である。
また、磁気センサとしてTMR素子を使用しているため、消費電力を小さくすることができる。
また、カバー部材121B及び支持部材121Cがパッケージ部材の一部を兼ねているため、更に製造工程の簡略化と低コスト化を同時に満足させることが可能である。
さらに、センサ部材121A、カバー部材121B及び支持部材121Cが、いずれも同じ材質であるため、熱膨張率の差による応力の発生や機械的強度の低下などパッケージングの際に懸念される問題を解消することができる。
また、Z軸方向の地磁気を検出するためのTMR素子121を基板201の(100)面に形成しているため、傾斜面にTMR素子121を形成する場合(例えば、特開2004−354182号公報及び特開2004−006752号公報参照)に比べて、容易に良好なTMR素子を形成することができる。そして、各TMR素子の感度を互いにほぼ等しくすることができる。
そして、本実施形態に係るセンシング装置120によると、センシング素子121を有しているため、高コスト化を招くことなく、小型で、3軸方向に関する加速度及び3軸方向に関する地磁気を同時に精度良く検出することが可能である。
また、本実施形態に係る方位検出装置20によると、センシング装置120を有しているため、高コスト化を招くことなく、小型で、方位を精度良く検出することが可能である。
また、本実施形態に係る携帯電話10によると、方位検出装置20を備えているため、高コスト化を招くことなく、小型で、ユーザの要求に最適な情報を得ることが可能である。
なお、上記実施形態では、センサ基板121Aに4つの磁気発生部材が形成されている場合について説明したが、これに限定されるものではない。例えば、図26に示されるように、錘部201cの表面の中央部に1つの磁気発生部材205が形成されていても良い。この場合であっても、錘部201cの位置及び姿勢が変化すると、それに伴って、磁気発生部材205も位置及び姿勢が変化するため、4つのTMR素子(121〜121)の出力電圧から3軸方向に関する加速度データを算出することができる。
また、上記実施形態では、可動部201bの傾斜角θが25度の場合について説明したが、これに限定されるものではない。
また、上記実施形態において、一例として図27に示されるように、可動部201bの傾斜角を検出するためのセンサとしてピエゾ抵抗素子260を可動部201bに形成しても良い。
ピエゾ抵抗素子260は、引張応力や圧縮応力が加わるとその抵抗値が変化するという特性を有している。そこで、可動部102bが傾斜して変形すると、その変形量に応じて抵抗値が変化する。このピエゾ抵抗素子260も、マイクロマシニング技術を用いて基板201上に形成することができる。なお、ピエゾ抵抗素子260は、可動部201bにおけるカバー部材121Bの突起部250が干渉しない領域に形成される。
なお、ピエゾ抵抗素子260として、ボロンが注入されているピエゾ抵抗素子を用いる場合には、ピエゾ抵抗素子を形成する際の、ボロンを注入したあとの熱拡散工程で、900℃という高温プロセスが必要となる。ところで、TMR素子は、350℃以上の高温では特性を失ってしまう。そこで、ピエゾ抵抗素子の形成は、TMR素子の形成より前に行う必要がある。
この場合には、前記増幅回路122は、ピエゾ抵抗素子260の出力信号も増幅することとなる。そして、演算回路122は、増幅回路122で増幅されたピエゾ抵抗素子260の出力信号から可動部102bの傾斜角を求め、その傾斜角と増幅回路122で増幅されたTMR素子121の出力電圧とから、Z軸方向に関する地磁気データを算出する。これにより、地磁気の検出精度を更に向上させることができる。
なお、ピエゾ抵抗素子260の出力信号と可動部102bの傾斜角との関係は、予め実験等により求められ、演算回路122の不図示のメモリに格納されている。
また、上記実施形態において、一例として図28に示されるように、可動部201bは、両端がトーションバー206によって支持されている平板であっても良い。この場合であっても、一例として図29に示されるように、センサ基板121Aがカバー部材121Bでカバーされると、カバー部材121Bの突起部250によって可動部201bに−Z方向の押圧が作用し、トーションバー206がねじれて、可動部201bは、トーションバー206を軸として回動する。すなわち、TMR素子121とともに可動部201bは、XY平面に対して傾斜することとなる。ここでは、可動部201bの傾斜角を25度としている。
このような可動部であっても、マイクロマシニング技術を用いて作製することができる。
また、一例として図30及び図31に示されるように、それぞれ両端がトーションバー206によって支持されている平板からなる2つの可動部201bが、互いに傾斜方向が異なるように形成され、それぞれにTMR素子121が形成されても良い。但し、この場合には、各可動部に対応した突起部250がカバー部材131Bに形成される必要がある。
なお、2つの可動部の位置関係は、これに限定されるものではない。また、各可動部の傾斜角が互いに異なっていても良い
この場合には、演算回路122は、増幅回路122で増幅された2つのTMR素子121の出力電圧及び各可動部の傾斜角に基づいてZ軸方向に関する地磁気データを算出する。ここでは、互いに傾斜方向が異なる2つのTMR素子121の検出結果を用いているため、検出精度を更に向上させることができるとともに、TMR素子121の不感領域を考慮する必要がない。
また、一例として図32に示されるように、各トーションバー206に上記ピエゾ抵抗素子260を形成しても良い。
また、一例として図33に示されるように、前記TMR素子121、前記TMR素子121、2つの前記TMR素子121が、いずれも両端がトーションバー206によって支持されている平板からなる可動部201bに形成されても良い。
この場合は、各TMR素子が、それぞれ異なる平面上にあるようにすることができる。
また、上記実施形態において、前記センシング素子121に代えて、図34〜図38(B)に示されるセンシング素子131を用いても良い。
このセンシング素子131は、センサ基板131A、カバー部材131B及び支持部材131Cを有し、図35に示されるように、支持部材131Cの内部に傾斜面が形成されていることに特徴を有している。
カバー部材131Bは、図36に示されるように、上記カバー部材121Bと同じカバー部材である。
センサ基板131Aは、図37(A)のA−A断面図である図37(B)に示されるように、支持部材131Cで支持される部分の厚さ(ここでは、Z軸方向の長さ)が上記センサ基板121Aよりも薄くなっている。
この場合には、一例として図38(A)及び図38(B)に示されるように、可動部201bを支持部材131Cの傾斜面に沿って傾斜させることができる。これにより、可動部201bの傾斜角の精度を担保することができる。
例えば、支持部材131Cの材料がシリコンの場合には、表面が(100)面であれば、KOH(水酸化カリウム)やTMAH(水酸化テトラエチルアンモニウム)をエッチング液として用いる異方性エッチングを行うことにより{111}面の傾斜面を容易に形成することができる。このときの傾斜面の傾斜角は54.7度である。
また、上記実施形態では、基板201の材料がシリコンの場合について説明したが、これに限定されるものではない。可動部が傾斜できる程度の弾性、マイクロマシニング技術を利用することができる程度の加工性、耐熱性、TMR素子の形成に適した表面平坦性(例えば、Ra≦1.0nm)を有していれば良い。
また、上記実施形態では、磁気センサがトンネル磁気抵抗効果素子の場合について説明したが、これに限定されるものではない。例えば、巨大磁気抵抗効果(GMR)素子であっても良い。
また、上記実施形態において、磁気発生部材が永久磁石であっても良い。
また、上記実施形態では、カバー部材の突起部が円柱状の場合について説明したが、本発明がこれに限定されるものではない。要するに、センサ部材の可動部に機械的な力を作用させ、可動部を傾斜させることができれば良い。
また、上記実施形態では、カバー部材の突起部によってセンサ部材の可動部に機械的な力を作用させる場合について説明したが、突起部以外でセンサ部材の可動部に機械的な力を作用させても良い。
また、上記実施形態における各寸法は一例であり、これらに限定されるものではない。
また、上記実施形態では、情報機器が携帯電話の場合について説明したが、これに限定されるものではない。地磁気情報と加速度情報を必要とする情報機器であれば良い。例えば、PDA(Personal Digital Assistant)であっても良い。
以上説明したように、本発明のセンシング素子によれば、高コスト化を招くことなく、小型で高い信頼性を有し、加速度及び地磁気を同時に検出するのに適している。また、本発明のセンシング装置によれば、高コスト化を招くことなく、小型で、精度良く3軸方向に関する加速度及び3軸方向に関する地磁気を同時に検出するのに適している。また、本発明の方位検出装置によれば、高コスト化を招くことなく、小型で、方位を精度良く検出するのに適している。また、本発明の情報機器によれば、高コスト化を招くことなく、小型で、ユーザの要求に最適な情報を得るのに適している。
本発明の一実施形態に係る携帯電話の外観を説明するための図である。 図1の携帯電話の概略構成を説明するための図である。 図2の方位検出装置を説明するための図である。 図4(A)及び図4(B)は、それぞれセンシング素子を説明するための図である。 センサ基板の地磁気検出領域と加速度検出領域を説明するための図である。 地磁気検出領域を説明するための図である。 図7(A)及び図7(B)は、それぞれ可動部を説明するための図である。 加速度検出領域を説明するための図である。 図9(A)及び図9(B)は、それぞれ錘部を説明するための図である。 錘部の変位を説明するための図である。 図11(A)〜図11(C)は、それぞれカバー部材を説明するための図である。 図12(A)及び図12(B)は、それぞれ可動部の傾斜を説明するための図である。 図12(A)のB−B断面図である。 TMR素子を説明するための図である。 TMR素子の入出力を説明するための図である。 図16(A)〜図16(C)は、それぞれセンサ基板の作製方法を説明するための図(その1)である。 図17(A)及び図17(B)は、それぞれセンサ基板の作製方法を説明するための図(その2)である。 図18(A)〜図18(C)は、それぞれセンサ基板の作製方法を説明するための図(その3)である。 図19(A)及び図19(B)は、それぞれセンサ基板の作製方法を説明するための図(その4)である。 図20(A)及び図20(B)は、それぞれセンサ基板の作製方法を説明するための図(その5)である。 図21(A)及び図21(B)は、それぞれセンサ基板の作製方法を説明するための図(その6)である。 図22(A)及び図22(B)は、それぞれセンサ基板の大きさを説明するための図である。 カバー部材の大きさを説明するための図である。 支持部材の大きさを説明するための図である。 演算装置を説明するための図である。 磁気発生部材の変形例を説明するための図である。 ピエゾ抵抗素子を説明するための図である。 地磁気検出領域の変形例1を説明するための図である。 変形例1における可動部の傾斜を説明するための図である。 地磁気検出領域の変形例2を説明するための図である。 変形例2における可動部の傾斜を説明するための図である。 地磁気検出領域の変形例3を説明するための図である。 地磁気検出領域の変形例4を説明するための図である。 センシング素子の変形例を説明するための図である。 図34のセンシング素子における支持部材を説明するための図である。 図34のセンシング素子におけるカバー部材を説明するための図である。 図37(A)及び図37(B)は、それぞれ図34のセンシング素子におけるセンサ基板を説明するための図である。 図38(A)及び図38(B)は、それぞれ図34のセンシング素子における傾斜面と可動部との関係を説明するための図である。
符号の説明
10…携帯電話、20…方位検出装置、21…位置検出装置、22…主制御装置(情報取得装置)、120…センシング装置、121…センシング素子、121A…センサ基板、121B…カバー部材、121C…支持部材、121…TMR素子(磁気センサ)、121…TMR素子(磁気センサ)、121…TMR素子(磁気センサ)、121…TMR素子(磁気センサ)、121…TMR素子(磁気センサ)、121…TMR素子(磁気センサ)、121…TMR素子(磁気センサ)、122…演算装置、130…方位情報変換装置(方位取得装置)、131…センシング素子、131A…センサ基板、131B…カバー部材、131C…支持部材、201b…可動部、201c…錘部、205…磁気発生部材、205…磁気発生部材、205…磁気発生部材、205…磁気発生部材、205…磁気発生部材、206…トーションバー、260…ピエゾ抵抗素子。

Claims (21)

  1. 加速度によって変位する錘部と、外力によって可動する少なくとも1つの可動部とを有し、前記錘部に形成された少なくとも1つの磁気発生部材と、該磁気発生部材からの磁気を検出するための複数の磁気センサと、前記少なくとも1つの可動部を含む複数の位置に形成され3軸方向に関する地磁気を検出するための複数の磁気センサとが形成されたセンサ基板と;
    前記センサ基板をカバーするとともに、機械的な力を作用させて前記少なくとも1つの可動部を、該可動部以外に対して傾斜させるカバー部材と;を備えるセンシング素子。
  2. 前記少なくとも1つの可動部は、カンチレバー構造を有していることを特徴とする請求項1に記載のセンシング素子。
  3. 前記少なくとも1つの可動部は、両端がトーションバーによって支持されている平板であることを特徴とする請求項1に記載のセンシング素子。
  4. 前記カバー部材は、前記少なくとも1つの可動部に押圧を作用させるための突起部を有することを特徴とする請求項1〜3のいずれか一項に記載のセンシング素子。
  5. 前記突起部は、弾性体を含むことを特徴とする請求項4に記載のセンシング素子。
  6. 前記カバー部材は、パッケージ部材の一部を兼ねていることを特徴とする請求項1〜5のいずれか一項に記載のセンシング素子。
  7. 前記磁気発生部材は、磁化用の磁界を加えながら形成された磁性体の薄膜であることを特徴とする請求項1〜6のいずれか一項に記載のセンシング素子。
  8. 前記磁気発生部材は、永久磁石であることを特徴とする請求項1〜6のいずれか一項に記載のセンシング素子。
  9. 前記センサ基板を支持し、傾斜した前記少なくとも1つの可動部が当接する傾斜面を有する支持部材を、更に備えることを特徴とする請求項1〜8のいずれか一項に記載のセンシング素子。
  10. 前記支持部材は、表面が(100)面の単結晶シリコンからなり、前記傾斜面は異方性エッチングによって形成された{111}面のうちの一つの面であることを特徴とする請求項9に記載のセンシング素子。
  11. 前記支持部材は、パッケージ部材の一部を兼ねていることを特徴とする請求項9又は10に記載のセンシング素子。
  12. 前記少なくとも1つの可動部は、複数の可動部であり、
    該複数の可動部は、互いに異なる方向に傾斜していることを特徴とする請求項1〜11のいずれか一項に記載のセンシング素子。
  13. 前記センサ基板は、前記少なくとも1つの可動部に形成され、該可動部の傾斜角を計測するためのセンサを有することを特徴とする請求項1〜12のいずれか一項に記載のセンシング素子。
  14. 前記傾斜角を計測するためのセンサは、ピエゾ抵抗素子を含むことを特徴とする請求項13に記載の磁気センシング素子。
  15. 前記磁気センサは、磁気抵抗効果素子を含むことを特徴とする請求項1〜14のいずれか一項に記載のセンシング素子。
  16. 前記磁気抵抗効果素子は、トンネル磁気抵抗効果素子であることを特徴とする請求項15に記載のセンシング素子。
  17. 前記磁気抵抗効果素子は、巨大磁気抵抗効果素子であることを特徴とする請求項15に記載のセンシング素子。
  18. 請求項1〜17のいずれか一項に記載のセンシング素子と;
    前記センシング素子における複数の磁気センサの出力信号、及び前記センシング素子における前記少なくとも1つの可動部の傾斜角に基づいて、3軸方向に関する加速度情報及び3軸方向に関する地磁気情報をそれぞれ求める演算装置と;を備えるセンシング装置。
  19. 前記演算装置は、3軸方向に関する地磁気情報を求める際に、前記磁気発生部材からの磁気を検出するための複数の磁気センサの出力信号に応じて、前記地磁気を検出するための複数の磁気センサの出力信号を補正することを特徴とする請求項18に記載のセンシング装置。
  20. 請求項18又は19に記載のセンシング装置と;
    前記センシング装置からの3軸方向に関する加速度情報と3軸方向に関する地磁気情報に基づいて、方位情報を求める方位取得装置と;を備える方位検出装置。
  21. 位置情報を取得する位置検出装置と;
    請求項20に記載の方位検出装置と;
    前記方位検出装置からの方位情報と前記位置検出装置からの位置情報に基づいて、情報を取得する情報取得装置と;を備える情報機器。
JP2008256914A 2008-10-02 2008-10-02 センシング素子、センシング装置、方位検出装置及び情報機器 Expired - Fee Related JP5240657B2 (ja)

Priority Applications (1)

Application Number Priority Date Filing Date Title
JP2008256914A JP5240657B2 (ja) 2008-10-02 2008-10-02 センシング素子、センシング装置、方位検出装置及び情報機器

Applications Claiming Priority (1)

Application Number Priority Date Filing Date Title
JP2008256914A JP5240657B2 (ja) 2008-10-02 2008-10-02 センシング素子、センシング装置、方位検出装置及び情報機器

Publications (2)

Publication Number Publication Date
JP2010085338A true JP2010085338A (ja) 2010-04-15
JP5240657B2 JP5240657B2 (ja) 2013-07-17

Family

ID=42249428

Family Applications (1)

Application Number Title Priority Date Filing Date
JP2008256914A Expired - Fee Related JP5240657B2 (ja) 2008-10-02 2008-10-02 センシング素子、センシング装置、方位検出装置及び情報機器

Country Status (1)

Country Link
JP (1) JP5240657B2 (ja)

Cited By (2)

* Cited by examiner, † Cited by third party
Publication number Priority date Publication date Assignee Title
KR101147078B1 (ko) 2011-03-29 2012-05-17 현대로템 주식회사 3축 측정용 홀 아이씨를 이용한 영구자석 착자 상태 분석장치
JP2018535391A (ja) * 2015-12-29 2018-11-29 ウェイハイ ホアリン オプト−エレクトロニクス シーオー.,エルティーディー. 磁気イメージセンサー

Citations (4)

* Cited by examiner, † Cited by third party
Publication number Priority date Publication date Assignee Title
JP2004006752A (ja) * 2002-03-27 2004-01-08 Yamaha Corp 磁気センサおよびその製造方法
JP2004354182A (ja) * 2003-05-28 2004-12-16 Res Inst Electric Magnetic Alloys 薄膜磁気センサ及びその製造方法
JP2008096131A (ja) * 2006-10-06 2008-04-24 Ricoh Co Ltd センサ・モジュール、補正方法、プログラム及び記録媒体
WO2008108387A1 (ja) * 2007-03-06 2008-09-12 Alps Electric Co., Ltd. 多感度軸を持つ磁気センサ装置

Patent Citations (4)

* Cited by examiner, † Cited by third party
Publication number Priority date Publication date Assignee Title
JP2004006752A (ja) * 2002-03-27 2004-01-08 Yamaha Corp 磁気センサおよびその製造方法
JP2004354182A (ja) * 2003-05-28 2004-12-16 Res Inst Electric Magnetic Alloys 薄膜磁気センサ及びその製造方法
JP2008096131A (ja) * 2006-10-06 2008-04-24 Ricoh Co Ltd センサ・モジュール、補正方法、プログラム及び記録媒体
WO2008108387A1 (ja) * 2007-03-06 2008-09-12 Alps Electric Co., Ltd. 多感度軸を持つ磁気センサ装置

Cited By (3)

* Cited by examiner, † Cited by third party
Publication number Priority date Publication date Assignee Title
KR101147078B1 (ko) 2011-03-29 2012-05-17 현대로템 주식회사 3축 측정용 홀 아이씨를 이용한 영구자석 착자 상태 분석장치
JP2018535391A (ja) * 2015-12-29 2018-11-29 ウェイハイ ホアリン オプト−エレクトロニクス シーオー.,エルティーディー. 磁気イメージセンサー
US10690733B2 (en) 2015-12-29 2020-06-23 Weihai Hualing Opto-Electronics Co., Ltd. Magnetic image sensor

Also Published As

Publication number Publication date
JP5240657B2 (ja) 2013-07-17

Similar Documents

Publication Publication Date Title
JP5152495B2 (ja) 磁気センサーおよび携帯情報端末装置
EP2413153B1 (en) Magnetic detection device
JP5157611B2 (ja) 磁気センサ及びその製造方法
JP4177032B2 (ja) 三次元磁気センサおよびその製造方法
US10551447B2 (en) Magnetic field sensing apparatus
JP2009122041A (ja) 複合センサー
JP2006003116A (ja) 磁気センサ
US7444871B2 (en) Acceleration sensor and magnetic disk drive apparatus
JP2009216390A (ja) 3軸磁気センシング装置およびその製造方法
CN100496065C (zh) 动作传感器和使用了该动作传感器的手机
US7444872B2 (en) Acceleration sensor and magnetic disk drive apparatus
JP2005114489A (ja) 磁気方位検出装置
CN112014778B (zh) 微机电系统磁阻传感器、传感器单体及电子设备
JP5240657B2 (ja) センシング素子、センシング装置、方位検出装置及び情報機器
US7523664B2 (en) Acceleration sensor and magnetic disk drive apparatus
JP2008216181A (ja) 方位センサ及び電子機器
JP4331630B2 (ja) 磁気センサ
JP5212900B2 (ja) 磁気センシング素子、磁気センシング装置、方位検出装置及び情報機器
US7543498B2 (en) Spring member for acceleration sensor, acceleration sensor and magnetic disk drive apparatus
JP4122834B2 (ja) 方位測定機能を有する携帯型電子装置
JP4404364B2 (ja) 磁気式加速度センサを用いた小型の加速度地磁気検出装置
JP2009150786A (ja) 磁気式座標位置検出装置
JP2004184150A (ja) 磁気検知装置、方位検知システム及び携帯通信端末
KR20050122792A (ko) 교류자기저항 센서를 이용한 3축 자기센서와, 이를 이용한전방위 자기센서
JP2003318466A (ja) 磁気センサ、この磁気センサを用いた方位検知システム及び携帯通信端末

Legal Events

Date Code Title Description
A621 Written request for application examination

Free format text: JAPANESE INTERMEDIATE CODE: A621

Effective date: 20110812

TRDD Decision of grant or rejection written
A01 Written decision to grant a patent or to grant a registration (utility model)

Free format text: JAPANESE INTERMEDIATE CODE: A01

Effective date: 20130311

FPAY Renewal fee payment (event date is renewal date of database)

Free format text: PAYMENT UNTIL: 20160412

Year of fee payment: 3

R151 Written notification of patent or utility model registration

Ref document number: 5240657

Country of ref document: JP

Free format text: JAPANESE INTERMEDIATE CODE: R151

A61 First payment of annual fees (during grant procedure)

Free format text: JAPANESE INTERMEDIATE CODE: A61

Effective date: 20130324

FPAY Renewal fee payment (event date is renewal date of database)

Free format text: PAYMENT UNTIL: 20160412

Year of fee payment: 3

LAPS Cancellation because of no payment of annual fees