JP2010084890A - スケール付運動案内装置及びスケール付運動案内装置用軌道部材 - Google Patents

スケール付運動案内装置及びスケール付運動案内装置用軌道部材 Download PDF

Info

Publication number
JP2010084890A
JP2010084890A JP2008256331A JP2008256331A JP2010084890A JP 2010084890 A JP2010084890 A JP 2010084890A JP 2008256331 A JP2008256331 A JP 2008256331A JP 2008256331 A JP2008256331 A JP 2008256331A JP 2010084890 A JP2010084890 A JP 2010084890A
Authority
JP
Japan
Prior art keywords
scale
magnet
linear scale
track member
track rail
Prior art date
Legal status (The legal status is an assumption and is not a legal conclusion. Google has not performed a legal analysis and makes no representation as to the accuracy of the status listed.)
Granted
Application number
JP2008256331A
Other languages
English (en)
Other versions
JP5255395B2 (ja
Inventor
Takaaki Yamanashi
貴昭 山梨
Toshiyuki Asao
利之 浅生
Toshiro Tojo
敏郎 東條
Takuya Horie
拓也 堀江
Current Assignee (The listed assignees may be inaccurate. Google has not performed a legal analysis and makes no representation or warranty as to the accuracy of the list.)
Amada Co Ltd
THK Co Ltd
Original Assignee
Amada Co Ltd
THK Co Ltd
Priority date (The priority date is an assumption and is not a legal conclusion. Google has not performed a legal analysis and makes no representation as to the accuracy of the date listed.)
Filing date
Publication date
Application filed by Amada Co Ltd, THK Co Ltd filed Critical Amada Co Ltd
Priority to JP2008256331A priority Critical patent/JP5255395B2/ja
Publication of JP2010084890A publication Critical patent/JP2010084890A/ja
Application granted granted Critical
Publication of JP5255395B2 publication Critical patent/JP5255395B2/ja
Active legal-status Critical Current
Anticipated expiration legal-status Critical

Links

Images

Landscapes

  • Transmission And Conversion Of Sensor Element Output (AREA)
  • Bearings For Parts Moving Linearly (AREA)
  • Rolling Contact Bearings (AREA)

Abstract

【課題】汎用のリニアスケールを使用した上でリニアスケールを容易に交換することができるスケール付運動案内装置を提供する。
【解決手段】運動案内装置は、長手方向に伸びる転動体転走溝1aを有する軌道部材1と、転動体転走溝1aに対向する負荷転動体転走溝2aを含む転動体循環路を有し、軌道部材1に相対的に運動可能に組み付けられる移動部材2と、転動体循環路に収容される複数の転動体7と、を備える。運動案内装置の軌道レール1に、磁石12を用いてリニアスケール4を着脱可能に取り付ける。リニアスケール4は、読取りヘッド3と組み合わされて、位置を検出するためのエンコーダを構成する。
【選択図】図1

Description

本発明は、テーブル等の移動体が直線運動又は曲線運動するのを案内する運動案内装置に関し、特に移動体の位置を検出するエンコーダが組み込まれた運動案内装置に関する。
運動案内装置は、軌道レールに相対的に移動可能に移動ブロックが組み付けられたもので、テーブル等の移動体がベースに対して直線運動又は曲線運動するのを案内する。移動体の運動を制御するにあたって、ベースに対する移動体の位置を正確に検出する必要がある。移動体の位置を正確に検出するために、エンコーダが用いられることが多い。エンコーダは、刻線が形成されるリニアスケールと、リニアスケールを読み取る読取りヘッドと、から構成される。一般的には、エンコーダのリニアスケールがベースに取り付けられ、読取りヘッドがテーブルに取り付けられる。読取りヘッドがリニアスケールに対して相対的に移動すると、読取りヘッドから移動距離に比例した数のパルス信号が出力される。
しかし、リニアスケールをベースに取り付けたのでは、ベースにリニアスケールを取り付けるためのスペースが必要になる。しかも、軌道レールをベースに取り付け、リニアスケールをベースに取り付け、その後、軌道レールとリニアスケールとを平行にする必要があるので、取り付け工数も多くなる。
この問題を解決し、スペースの削減及び取付け工数の削減を図るために、運動案内装置にエンコーダを組み込む、すなわち軌道レールにリニアスケールを取り付けたリニアスケール付軌道レールが開発されている(特許文献1,2参照)。このリニアスケール付軌道レールにおいて、リニアスケールは軌道レールに強固に固定される。軌道レールに対するリニアスケールの位置がずれると、移動体の正確な位置を検出することができなくなるからである。例えば、特許文献1に記載の発明において、リニアスケールは、軌道レールにスポット溶接又は接着によって固定される。特許文献2に記載の発明において、リニアスケールは、軌道レールの長手方向に伸びる薄板状のスケール本体と、スケール本体から突出し、軌道レールのザグリ孔に嵌められる係合部と、から構成される。リニアスケールの係合部を軌道レールのザグリ孔に圧入することで、リニアスケールが軌道レールに強固に固定される。
特開平3−153915号公報 特開平9−53638号公報
ところで、リニアスケールが汚れたり、リニアスケールに疵が付いたりしたとき、リニアスケールを交換しなければならなくなる。しかし、特許文献1に記載の発明のように、リニアスケールを軌道レールに溶接又は接着したのでは、リニアスケールだけを交換することができず、リニアスケールを軌道レールごと交換する必要がある。
特許文献2に記載の発明によれば、リニアスケール単独での交換が可能になる。しかし、リニアスケールを薄板状のスケール本体と、スケール本体から突出する嵌合部と、から構成する必要があるので、汎用のリニアスケールを利用することができない。
そこで本発明は、汎用のリニアスケールを使用した上でリニアスケールを容易に交換することができるスケール付運動案内装置を提供することを目的とする。
上記課題を解決するために、請求項1に記載の発明は、長手方向に伸びる転動体転走溝を有する軌道部材と、前記転動体転走溝に対向する負荷転動体転走溝を含む転動体循環路を有し、前記軌道部材に相対的に運動可能に組み付けられる移動部材と、前記転動体循環路に収容される複数の転動体と、読取りヘッドと組み合わされて、位置を検出するためのエンコーダを構成するスケールと、前記スケールを前記軌道部材に着脱可能に取り付ける磁石と、を備えるスケール付運動案内装置である。
請求項2に記載の発明は、請求項1に記載のスケール付運動案内装置において、前記スケールは、前記磁石に吸引される性質を持つ軟質磁性材料からなることを特徴とする。
請求項3に記載の発明は、請求項1に記載のスケール付運動案内装置において、前記スケールは、前記読取りヘッドによって読み取られるスケール本体と、このスケール本体が固定され、前記磁石に吸引される性質を持つ軟質磁性材料からなる板部材と、を有することを特徴とする。
請求項4に記載の発明は、請求項1ないし3のいずれかに記載のスケール付運動案内装置において、前記軌道部材は、長手方向に繋がれた複数本の軌道部材セグメントから構成され、前記スケールは、前記複数本の軌道部材セグメントの繋ぎ目を跨ることを特徴とする。
請求項5に記載の発明は、請求項1ないし4のいずれかに記載のスケール付運動案内装置において、前記スケールの長手方向の少なくとも一方の端部が、ねじを用いて前記軌道部材に取り付けられることを特徴とする。
請求項6に記載の発明は、請求項1ないし5のいずれかに記載のスケール付運動案内装置において、前記軌道部材には、前記軌道部材の上面から底面まで貫通すると共に、前記軌道部材をベースに取り付けるためのボルトの通し孔が開けられ、前記スケールは、前記軌道部材の上面に前記通し孔の少なくとも一部を覆うように設けられることを特徴とする。
請求項7に記載の発明は、請求項1ないし6のいずれかに記載のスケール付運動案内装置において、前記軌道部材には、長手方向に伸びるスケール収容溝が形成され、前記スケールの幅方向の一方の端面が、前記スケール収容溝の一方の壁面に突き当てられる一方、前記スケールの幅方向の他方の端面と前記スケール収容溝の他方の壁面との間には、すきまが空くことを特徴とする。
請求項8に記載の発明は、請求項1ないし7のいずれかに記載のスケール付運動案内装置において、前記磁石は、前記軌道部材の長手方向に間隔を空けて配列された複数の分離磁石からなるか、又は前記軌道部材の長手方向に伸びるテープ状磁石からなることを特徴とする。
請求項9に記載の発明は、請求項8に記載のスケール付運動案内装置において、前記複数の分離磁石は、前記軌道部材の長手方向に間隔を空けて配列された複数の磁石収容穴に埋められていて、前記分離磁石の吸引力によって、前記スケールと前記分離磁石との間に僅かなすきまが存在する状態で、前記スケールが前記軌道部材に接触することを特徴とする。
請求項10に記載の発明は、転動体が転走するための長手方向に伸びる転動体転走溝が形成される運動案内装置用軌道部材と、読取りヘッドと組み合わされて、位置を検出するためのエンコーダを構成するスケールと、前記スケールを前記軌道部材に着脱可能に取り付ける磁石と、を備えるスケール付運動案内装置用軌道部材である。
スケールを磁石にて軌道部材に着脱可能に取り付けることで、汎用のスケールを使用した上でスケールを容易に交換できる。
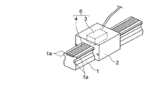
以下、添付図面に基づいて本発明の実施形態を詳細に説明する。図1及び図2は本発明の一実施形態におけるスケール付運動案内装置の斜視図を示す。この運動案内装置は、移動体の直線運動を案内するのに用いられるリニアガイドであり、直線的に細長く伸びる軌道部材である軌道レール1と、軌道レール1に相対的に移動可能に組み付けられる移動部材である移動ブロック2と、を備える。このリニアガイドには、移動体の位置を検出するための光学式のエンコーダ6が組み込まれる。光学式のエンコーダ6は、一定の周期で刻線が形成される細長い薄板状のリニアスケール4と、リニアスケール4に光を照射すると共に、リニアスケール4からの反射光を読み取る読取りヘッド3と、から構成される。リニアスケール4は軌道レール1の上面に取り付けられる。読取りヘッド3は、移動ブロック2の内部に組み込まれる。読取りヘッド3はリニアスケール4にすきまを介して対向する。
図3に示されるように、リニアガイドの軌道レール1には、長手方向に伸びる転動体転走溝である複数条のボール転走溝1aが形成される。軌道レール1と移動ブロック2との間に挟まれた複数のボール7は、このボール転走溝1aを転がり運動する。
図4は軌道レール1の詳細図を示す。軌道レール1には、その上面から底面まで貫通するボルトの通し孔9が長手方向に所定のピッチで形成される。通し孔9は、ボルトの座面を形成するザグリ孔9aを有する。軌道レール1が取り付けられるベース(図示せず)には、軌道レール1の通し孔9のピッチと同じピッチでボルトが螺合するねじ孔が形成される。軌道レール1をベースに載せ、軌道レール1の通し孔9にボルトを通し、ボルトをベースのねじ孔に螺合させることで、軌道レール1をベースに取り付けることができる。
軌道レール1の上面には、長手方向に伸びるスケール収容溝10が形成される。また、軌道レール1のスケール収容溝10の底面には、一定のピッチを開けて複数の円形状の磁石収容凹部11が形成される。複数の磁石収容凹部11それぞれには、分離磁石としての円盤状の丸型磁石12が収容される(図5参照)。丸型磁石12は一定のピッチを開けて軌道レール1上に配列される。
図6は、磁石収容凹部11に収容された丸型磁石12の断面図を示す。磁石収容凹部11の平面形状は、丸型磁石12の平面形状に対応した円形状に形成される。磁石収容凹部11の深さdは、丸型磁石12の厚みtよりも大きい。磁石収容凹部11の底まで丸型磁石12が埋め込まれるので、リニアスケール4と丸型磁石12との間にはすきまが空く。
リニアスケール4には、市販品の光学式エンコーダ用のリニアスケール4が用いられる。リニアスケール4の材質は、磁石に吸引される性質をもつ軟質磁性材料、例えばニッケルと鉄の合金、鋼、ステンレス等である。軌道レール1の上面のスケール収容溝10に収容されたリニアスケール4は、丸型磁石12の吸引力に吸引されて軌道レール1の上面に着脱可能に取り付けられる。
リニアスケール4を丸型磁石12にて軌道レール1に着脱可能に取り付けることで、汎用のスケールを使用した上でスケールを容易に交換できる。また、磁気式のリニアスケールを用いると、磁石が検出精度に悪影響を及ぼすおそれがある。リニアスケール4に光学式のものを用いることで、磁石が検出精度に悪影響を及ぼすこともない。さらに、リニアスケール4の材質を軟質磁性材料にすることで、リニアスケール4を直接軌道レール1に取り付けることができ、部品点数を削減することができる。
リニアスケール4はスケール収容溝10の底面に接触する。その一方、リニアスケール4と丸型磁石12との間には僅かなすきまが空く。丸型磁石12が磁石収容凹部11から僅かでも突出すると、その分だけリニアスケール4が部分的に上昇してしまい、リニアスケール4が波打つ。リニアスケール4が波打つと、正確な位置を検出することができなくなる。それゆえ、リニアスケール4と丸型磁石12との間にはわずかなすきまが空られる。
図4に示されるように、軌道レール1の上面のスケール収容溝10に収容されたリニアスケール4は、軌道レール1の通し孔9を覆う。リニアスケール4を軌道レール1に取り付けるときは、通し孔9にボルトを通し、軌道レール1をベースに取り付けた後、リニアスケール4を軌道レール1の上面に取り付ける。リニアスケール4が通し孔9を覆うことで、軌道レール1の上面をリニアスケール4の取付けスペースとして、かつボルトの通し孔9が形成されるスペースとして、有効に利用することができる。なお、軌道レール1の側面にはボール転走溝1aが形成されていて、平面が少なく形成されることが多いので、リニアスケール4の取付けスペースを確保するのは困難である。
リニアスケール4は丸型磁石12の吸引力のみによって、軌道レール1の上面に取り付けられる。リニアスケール4を交換する場合には、丸型磁石12からリニアスケール4を離し、丸型磁石12の吸引力を解除すればよい。軌道レール1は移動ブロック2に囲まれているので、リニアスケール4を軌道レール1の長手方向に引っ張り出すことによって、軌道レール1からリニアスケール4を取り外すことができる。
図7は磁石の他の例を示す。この例の磁石は丸型でなく、軌道レール1の長手方向に伸びるテープ状に形成される。このテープ状磁石14は軌道レール1のスケール収容溝10の底面に接着される。テープ状磁石14の幅方向の一方の側面14aは、スケール収容溝10の一方の側面10aに突き当てられる。その一方、テープ状磁石14の幅方向の他方の側面14bと、スケール収容溝10の他方の側面10bとの間にはすきまが空く。リニアスケール4はテープ状磁石14の上面に直接取り付けられる。
図4に示されるように、リニアスケール4の長手方向の一方の端部又は両端部は、図4(b)及び(c)中二点鎖線で示されるねじ16を用いて軌道レール1に取り付けられてもよい。リニアスケール4の長手方向の端部(読取りヘッド3で読み取られない部分)には、ねじを通す通し孔4dが開けられる。汎用のリニアスケール4には、リニアスケール4の全長に渡って刻線が形成されていて、通し孔4dは形成されていない。このため、後加工で通し孔4dを形成する必要がある。読取りヘッド3はリニアスケール4の端から端までの全てを読み取る訳ではない。通し孔4dはリニアスケール4の有効長から外れた位置に開けられる。また、軌道レール1の長手方向の端部には、ねじ16に螺合するねじ孔1bが形成される。リニアスケール4の通し孔4dにねじを通し、軌道レール1のねじ孔1bにねじ込むことによって、リニアスケール4を軌道レール1に取り付けることができる。ねじ16の頭部がリニアスケール4の上面から飛び出さないように、ねじ16には皿ねじが用いられる。
丸型磁石12はリニアスケール4を下方から吸引するので、丸型磁石12の吸引力だけでも充分にリニアスケール4を固定することができる。しかし、移動体がリニアスケール4に接触するおそれがある等、丸型磁石12だけではリニアスケール4の取付けに心配がある場合がある。この場合、丸型磁石12での固定に併用してねじ16での固定を用いてもよい。
リニアスケール4は軟質磁性材料からなり、軌道レール1は鋼からなる。リニアスケール4及び軌道レール1の熱膨張係数は近い。温度変化の少ない環境で使用される場合、熱膨張によるリニアスケール4の伸びと軌道レール1の伸びとの差は極めて小さいので、リニアスケール4の両端部をねじ止めするのが望ましい。一方、温度変化の大きい環境で使用される場合、リニアスケール4の伸びと軌道レール1の伸びとの差が無視できないほどに大きくなる可能性がある。その場合は、リニアスケール4の長手方向の両端部を固定すると、リニアスケール4がたわむので、リニアスケール4の長手方向の一方の端部のみを固定するのが望ましい。
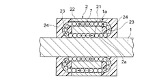
図1に示されるように、軌道レール1には移動ブロック2が移動可能に組み付けられる。図3に示されるように、移動ブロック2は、軌道レール1のボール転走溝1aに対向する負荷転動体転走溝としての負荷ボール転走溝2aが形成されると共に、負荷ボール転走溝2aと平行に伸びる貫通孔からなる無負荷ボール戻し路21が形成される鋼製の移動ブロック本体22と、移動ブロック本体22の移動方向の両端部に設けられ、負荷ボール転走溝2aの端部と無負荷ボール戻し路21の端部とを接続するU字状の方向転換路23が形成される樹脂製のエンドプレート24と、から構成される。移動ブロック2の負荷ボール転走溝2a、無負荷ボール戻し路21、及び一対のU字状の方向転換路23によって、転動体循環路であるサーキット状のボール循環路が構成される。
サーキット状のボール循環路には多数のボール7が配列・収容される。軌道レール1に対して移動ブロック2を相対的に直線運動させると、多数のボール7が圧縮荷重を受けながら軌道レール1のボール転走溝1aと移動ブロック2の負荷ボール転走溝2aとの間の負荷ボール転走路を転がり運動する。負荷ボール転走路の一端まで移動したボールは、U字状の方向転換路23に掬い上げられ、負荷ボール転走路と平行な無負荷ボール戻し路21を経由した後、反対側の方向転換路23に至る。ボール7は後続のボール7に押されながら再び負荷ボール転走路の中に入る。以上のようにボール7がサーキット状のボール循環路を循環する。
図2に示されるように、移動ブロック本体22は、軌道レール1の上面に対向する中央部22aと、軌道レール1の左右の側面に対向し、中央部22aの幅方向の両端部から下方に垂れ下がる一対の側壁部22bと、から構成される。移動ブロック本体22の中央部22aの、軌道レール1に対向する面には、読取りヘッド3を収容するためのヘッド収容凹部28が形成される。読取りヘッド3は、このヘッド収容凹部28に埋め込まれると共に、移動ブロック本体22の上面側から移動ブロック本体22に挿入されるボルト29によって、移動ブロック本体22に固定される。
図8は、読取りヘッド3をテーブル31の下面に取り付けた例を示す。この例では、一本の軌道レール1に二つの移動ブロック2が組み付けられる。一つのテーブル31につき二本の平行な軌道レール1が設けられる。読取りヘッド3は、二つの移動ブロック2の間に配置される。読取りヘッド3を移動ブロック2に埋め込むか、テーブル31の下面に取り付けるかは、読取りヘッド3の大きさ及び移動ブロック2の大きさに応じて決められる。
図9は、軌道レール1のスケール収容溝10に収容したリニアスケール4の他の例を示す。この例のリニアスケール4の横幅w1は、軌道レール1のスケール収容溝10の横幅w2よりも狭い。そして、リニアスケール4の幅方向の一方の端面4aが軌道レール1のスケール収容溝10の一方の壁面10aに突き当てられる。リニアスケール4の幅方向の他方の端面4bと軌道レール1のスケール収容溝10の他方の壁面10bとの間にはすきまが空く。リニアスケール4をスケール収容溝10の壁面10aに突き当てることで、軌道レール1とリニアスケール4とを平行にすることができ、正確な位置の検出が可能になる。
図10は、二本の軌道レールセグメント1−1,1−2に跨ってリニアスケール4を取り付けた例を示す。軌道レールセグメント1−1,1−2それぞれにリニアスケール4を取り付けたのでは、軌道レールセグメント1−1,1−2の繋ぎ目32の部分でリニアスケール4が分断されていることになる。このため、繋ぎ目32の部分でリニアスケール4の読み取り性能を維持できなくなる。リニアスケール4を軌道レールセグメント1−1,1−2の繋ぎ目32を跨るように配置することで、軌道レールセグメント1−1,1−2の繋ぎ目32でも正確に位置を検出することができる。リニアスケール4の下面にテープ状磁石14を配置すると、繋ぎ目32に段差があってもテープ状磁石14がなだらかに傾いて段差を跨るので、繋ぎ目32での読取り性能を維持できる。
図11は、リニアスケール4を、刻線が形成される薄板状のスケール本体33と、スケール本体33が取り付けられる板部材である鋼板34と、から構成した例を示す。スケール本体33は鋼板34に接着される。市販品のスケール本体33には、薄く、かつ撓み易いものがある。薄板状のスケール本体33を鋼板34に取り付けることで、リニアスケール4の強度を確保することができる。また、軌道レール1の繋ぎ目に段差があっても鋼板34がなだらかに傾いて段差を跨るので、繋ぎ目での読取り性能を維持できる。なお、スケール本体の材質は、ガラスであっても、軟質磁性材料でもよい。
鋼板34は、磁石に吸引される性質を持つ軟質磁性材料からなる。鋼板34の断面形状はL字形に形成される。鋼板34の起立壁34aにリニアスケール4の幅方向の端面が突き当てられる。スケール本体33が接着された鋼板34は、丸型磁石12の吸引力によって軌道レール1の上面に取り付けられる。鋼板34の起立壁34aを軌道レール1のスケール収容溝10の壁面10aに突き当てることで、軌道レール1と鋼板34、ひいては軌道レール1とスケール本体33とを平行にすることができる。
図12は、鋼板の他の例を示す。この例の鋼板35は平板状に形成される。鋼板35を平板状に形成することで、コイル状に巻いた状態で鋼板を搬送できる。リニアスケール4は平板状の鋼板35に治具を用いて取り付けられる。リニアスケール4と鋼板との平行度を確保するために治具が必要になる。
図13は、光学式エンコーダの測定原理の一例を示す。読取りヘッド3に設けられるLED41は、リニアスケール4の山形の刻線42に向けて発光する。リニアスケール4で反射した光は、読取りヘッド3に設けられる透明な回析格子43を通して光検出器44に戻る。リニアスケール4に対して回析格子43が相対的に移動すると、光検出器44にはサイン波形干渉縞が形成される。光検出器44はこのサイン波形干渉縞からサイン波形の電気信号を生成する。読取りヘッド3には、内挿回路(インターポレータ)が内蔵されていて、光検出器44から出力される電流信号からパルス信号を生成する。図14に示されるように、読取りヘッド3は、最終的には、原点を表すZ相信号、90度の位相差を持つA相信号及びB相信号を生成する。
図15に示されるように、軌道レールセグメント1−1,1−2を二本繋いだときに、繋ぎ目32で読取り性能を維持できるか否かを評価する評価機を作成した。二本の軌道レールセグメント1−1,1−2の上面には一本のリニアスケール4が取り付けられる。リニアスケール4に対向する読取りヘッド3はブラケット46を介してリニアモータの可動子47に取り付けられる。そして、読取りヘッド3から検出される位置信号に基づいて、リニアモータをフィードバック制御した。その結果、軌道レールセグメント1−1,1−2の繋ぎ目でも問題なくリニアモータを制御することができ、リニアスケール4の線形性が確保できることがわかった。
また、図16に示される解析モデルを用いて、リニアスケール4の上面に発生する磁束密度及びリニアスケール4に作用する吸引力をシミュレーションした。軌道レール1の上面には、丸型磁石12を用いてステンレス製のリニアスケール4が取り付けられる。解析の結果、リニアスケール4の上面に発生する磁束密度は、微小な値であった。また、リニアスケール4に作用する吸引力は、リニアスケール4を固定するのに十分な大きさであった。
なお、本発明は上記実施形態に限られることなく、本発明の要旨を変更しない範囲で種々変更できる。上記実施形態では、本発明を軌道レールに対して鞍形状の移動ブロックが移動するタイプのリニアガイドに適用した例が示されているが、スプライン軸に対して円筒形のナットが移動するボールスプラインにも適用することができる。また、転動体にはボールの他にローラを用いることもできる。
本発明の一実施形態におけるスケール付運動案内装置の斜視図 スケール付運動案内装置の断面図 リニアガイドの移動方向に沿った断面図 軌道レールの詳細図(図中(a)は軌道レールの長手方向からみた正面図を示し、図中(b)は軌道レールの平面図を示し、図中(c)は軌道レールに沿った断面図を示す) 丸型磁石を配列した軌道レールの斜視図 磁石収容凹部に収容された丸型磁石の断面図 テープ状磁石が接着された軌道レールの斜視図 テーブルに取り付けられたリニアガイドの側面図 軌道レールに取り付けたリニアスケールの他の例を示す図 二本の軌道レールセグメントに跨ってリニアスケールを取り付けた例を示す側面図 リニアスケールの他の例を示す断面図 リニアスケールのさらに他の例を示す断面図 光学式エンコーダの測定原理の一例を示す概念図 読取りヘッドから出力されるパルス信号を示す図 評価機の斜視図 解析モデル図
符号の説明
1…軌道レール(軌道部材)
1a…ボール転走溝(転動体転走溝)
1−1,1−2…軌道レールセグメント
2…移動ブロック(移動部材)
2a…負荷ボール転走溝(負荷転動体転走溝)
3…読取りヘッド
4…リニアスケール
7…ボール(転動体)
9…通し孔
10…スケール収容溝
11…磁石収容凹部
12…丸型磁石(磁石)
14…テープ状磁石(磁石)
31…テーブル
32…繋ぎ目
33…スケール本体
34,35…鋼板(板部材)

Claims (10)

  1. 長手方向に伸びる転動体転走溝を有する軌道部材と、
    前記転動体転走溝に対向する負荷転動体転走溝を含む転動体循環路を有し、前記軌道部材に相対的に運動可能に組み付けられる移動部材と、
    前記転動体循環路に収容される複数の転動体と、
    読取りヘッドと組み合わされて、位置を検出するためのエンコーダを構成するスケールと、
    前記スケールを前記軌道部材に着脱可能に取り付ける磁石と、を備えるスケール付運動案内装置。
  2. 前記スケールは、前記磁石に吸引される性質を持つ軟質磁性材料からなることを特徴とする請求項1に記載のスケール付運動案内装置。
  3. 前記スケールは、
    前記読取りヘッドによって読み取られるスケール本体と、
    このスケール本体が固定され、前記磁石に吸引される性質を持つ軟質磁性材料からなる板部材と、
    を有することを特徴とする請求項1に記載のスケール付運動案内装置。
  4. 前記軌道部材は、長手方向に繋がれた複数本の軌道部材セグメントから構成され、
    前記スケールは、前記複数本の軌道部材セグメントの繋ぎ目を跨ることを特徴とする請求項1ないし3のいずれかに記載のスケール付運動案内装置。
  5. 前記スケールの長手方向の少なくとも一方の端部が、ねじを用いて前記軌道部材に取り付けられることを特徴とする請求項1ないし4のいずれかに記載のスケール付運動案内装置。
  6. 前記軌道部材には、前記軌道部材の上面から底面まで貫通すると共に、前記軌道部材をベースに取り付けるためのボルトの通し孔が開けられ、
    前記スケールは、前記軌道部材の上面に前記通し孔の少なくとも一部を覆うように設けられることを特徴とする請求項1ないし5のいずれかに記載のスケール付運動案内装置。
  7. 前記軌道部材には、長手方向に伸びるスケール収容溝が形成され、
    前記スケールの幅方向の一方の端面が、前記スケール収容溝の一方の壁面に突き当てられる一方、
    前記スケールの幅方向の他方の端面と前記スケール収容溝の他方の壁面との間には、すきまが空くことを特徴とする請求項1ないし6のいずれかに記載のスケール付運動案内装置。
  8. 前記磁石は、前記軌道部材の長手方向に間隔を空けて配列された複数の分離磁石からなるか、又は前記軌道部材の長手方向に伸びるテープ状磁石からなることを特徴とする請求項1ないし7のいずれかに記載のスケール付運動案内装置。
  9. 前記複数の分離磁石は、前記軌道部材の長手方向に間隔を空けて配列された複数の磁石収容穴に埋められていて、
    前記分離磁石の吸引力によって、前記スケールと前記分離磁石との間に僅かなすきまが存在する状態で、前記スケールが前記軌道部材に接触することを特徴とする請求項8に記載のスケール付運動案内装置。
  10. 転動体が転走するための長手方向に伸びる転動体転走溝が形成される運動案内装置用軌道部材と、
    読取りヘッドと組み合わされて、位置を検出するためのエンコーダを構成するスケールと、
    前記スケールを前記軌道部材に着脱可能に取り付ける磁石と、を備えるスケール付運動案内装置用軌道部材。
JP2008256331A 2008-10-01 2008-10-01 スケール付運動案内装置及びスケール付運動案内装置用軌道部材 Active JP5255395B2 (ja)

Priority Applications (1)

Application Number Priority Date Filing Date Title
JP2008256331A JP5255395B2 (ja) 2008-10-01 2008-10-01 スケール付運動案内装置及びスケール付運動案内装置用軌道部材

Applications Claiming Priority (1)

Application Number Priority Date Filing Date Title
JP2008256331A JP5255395B2 (ja) 2008-10-01 2008-10-01 スケール付運動案内装置及びスケール付運動案内装置用軌道部材

Publications (2)

Publication Number Publication Date
JP2010084890A true JP2010084890A (ja) 2010-04-15
JP5255395B2 JP5255395B2 (ja) 2013-08-07

Family

ID=42249037

Family Applications (1)

Application Number Title Priority Date Filing Date
JP2008256331A Active JP5255395B2 (ja) 2008-10-01 2008-10-01 スケール付運動案内装置及びスケール付運動案内装置用軌道部材

Country Status (1)

Country Link
JP (1) JP5255395B2 (ja)

Cited By (6)

* Cited by examiner, † Cited by third party
Publication number Priority date Publication date Assignee Title
JP2012043756A (ja) * 2010-08-23 2012-03-01 Explore:Kk 照明装置
CN103557231A (zh) * 2013-10-24 2014-02-05 南京工艺装备制造有限公司 一种导轨副
US9032638B2 (en) 2011-01-07 2015-05-19 Rls Merilna Tehnika D.O.O Encoder readhead apparatus
KR20180048180A (ko) * 2016-11-02 2018-05-10 현대모비스 주식회사 후륜 조향장치
WO2018139261A1 (ja) * 2017-01-24 2018-08-02 Thk株式会社 ワーク搬送制御システム、及び運動案内装置
WO2019208233A1 (ja) * 2018-04-24 2019-10-31 Thk株式会社 案内装置

Citations (5)

* Cited by examiner, † Cited by third party
Publication number Priority date Publication date Assignee Title
JPH05272535A (ja) * 1992-03-27 1993-10-19 Nippon Thompson Co Ltd 案内ユニット及びこれを具備した直動ユニット
JPH0953638A (ja) * 1995-08-11 1997-02-25 Nippon Thompson Co Ltd 位置検出装置並びにこれを具備した軌道台ユニット及び案内ユニット
JPH09266659A (ja) * 1996-03-28 1997-10-07 Nippon Thompson Co Ltd 小形リニアモータテーブル
JP2003139566A (ja) * 2001-11-02 2003-05-14 Nsk Ltd 長ストローク位置決め装置
JP2007205490A (ja) * 2006-02-02 2007-08-16 Nsk Ltd 直動案内装置の上面カバー

Patent Citations (5)

* Cited by examiner, † Cited by third party
Publication number Priority date Publication date Assignee Title
JPH05272535A (ja) * 1992-03-27 1993-10-19 Nippon Thompson Co Ltd 案内ユニット及びこれを具備した直動ユニット
JPH0953638A (ja) * 1995-08-11 1997-02-25 Nippon Thompson Co Ltd 位置検出装置並びにこれを具備した軌道台ユニット及び案内ユニット
JPH09266659A (ja) * 1996-03-28 1997-10-07 Nippon Thompson Co Ltd 小形リニアモータテーブル
JP2003139566A (ja) * 2001-11-02 2003-05-14 Nsk Ltd 長ストローク位置決め装置
JP2007205490A (ja) * 2006-02-02 2007-08-16 Nsk Ltd 直動案内装置の上面カバー

Cited By (7)

* Cited by examiner, † Cited by third party
Publication number Priority date Publication date Assignee Title
JP2012043756A (ja) * 2010-08-23 2012-03-01 Explore:Kk 照明装置
US9032638B2 (en) 2011-01-07 2015-05-19 Rls Merilna Tehnika D.O.O Encoder readhead apparatus
CN103557231A (zh) * 2013-10-24 2014-02-05 南京工艺装备制造有限公司 一种导轨副
KR20180048180A (ko) * 2016-11-02 2018-05-10 현대모비스 주식회사 후륜 조향장치
KR102431401B1 (ko) 2016-11-02 2022-08-11 현대모비스 주식회사 후륜 조향장치
WO2018139261A1 (ja) * 2017-01-24 2018-08-02 Thk株式会社 ワーク搬送制御システム、及び運動案内装置
WO2019208233A1 (ja) * 2018-04-24 2019-10-31 Thk株式会社 案内装置

Also Published As

Publication number Publication date
JP5255395B2 (ja) 2013-08-07

Similar Documents

Publication Publication Date Title
JP5255395B2 (ja) スケール付運動案内装置及びスケール付運動案内装置用軌道部材
CN105518324B (zh) 带磁尺的运动引导装置
CN101419049B (zh) 位置传感器和偏磁场生成装置
KR101801536B1 (ko) 페달 스트로크 센서의 설치구조
JP3134590B2 (ja) スケール装置
JPH0953638A (ja) 位置検出装置並びにこれを具備した軌道台ユニット及び案内ユニット
JP4886355B2 (ja) 可動マグネット型リニアモータを内蔵したスライド装置
CN106104030B (zh) 运动引导装置
JP5596056B2 (ja) エンコーダスケール部材および取付方法
JP2008289344A (ja) リニアモータ
US6119357A (en) Scale device
CN206573067U (zh) 一种组装式直线位移检测传感器
JP5214524B2 (ja) リニアエンコーダおよびエンコーダヘッドの交換方法
JP2016080689A (ja) エンコーダ
JP3946868B2 (ja) スケール装置
US20080164830A1 (en) Synchronous Linear Motor with Non-Contacting Scanning of the Toothed Structure of the Secondary Part
TWI736040B (zh) 滾動引導裝置的感測器安裝構造
CN112840136B (zh) 滚动引导装置的传感器安装构件以及传感器安装方法
JP5537685B2 (ja) エンコーダヘッドの交換方法
JP3488845B2 (ja) リニアモータ
JP2008289315A (ja) 駆動装置及び光学機器
JP2006287098A (ja) 位置決め装置
JP6147547B2 (ja) 測長装置
TW202503459A (zh) 線性編碼器及線性搬送系統
US7849551B2 (en) Assembly type cleaning structure for an induction reader

Legal Events

Date Code Title Description
A621 Written request for application examination

Free format text: JAPANESE INTERMEDIATE CODE: A621

Effective date: 20111003

A711 Notification of change in applicant

Free format text: JAPANESE INTERMEDIATE CODE: A711

Effective date: 20111017

A521 Request for written amendment filed

Free format text: JAPANESE INTERMEDIATE CODE: A821

Effective date: 20111017

A977 Report on retrieval

Free format text: JAPANESE INTERMEDIATE CODE: A971007

Effective date: 20120920

A131 Notification of reasons for refusal

Free format text: JAPANESE INTERMEDIATE CODE: A131

Effective date: 20120925

A521 Request for written amendment filed

Free format text: JAPANESE INTERMEDIATE CODE: A523

Effective date: 20121122

TRDD Decision of grant or rejection written
A01 Written decision to grant a patent or to grant a registration (utility model)

Free format text: JAPANESE INTERMEDIATE CODE: A01

Effective date: 20130327

A61 First payment of annual fees (during grant procedure)

Free format text: JAPANESE INTERMEDIATE CODE: A61

Effective date: 20130419

R150 Certificate of patent or registration of utility model

Ref document number: 5255395

Country of ref document: JP

Free format text: JAPANESE INTERMEDIATE CODE: R150

Free format text: JAPANESE INTERMEDIATE CODE: R150

FPAY Renewal fee payment (event date is renewal date of database)

Free format text: PAYMENT UNTIL: 20160426

Year of fee payment: 3

R250 Receipt of annual fees

Free format text: JAPANESE INTERMEDIATE CODE: R250

R250 Receipt of annual fees

Free format text: JAPANESE INTERMEDIATE CODE: R250

R250 Receipt of annual fees

Free format text: JAPANESE INTERMEDIATE CODE: R250

R250 Receipt of annual fees

Free format text: JAPANESE INTERMEDIATE CODE: R250

R250 Receipt of annual fees

Free format text: JAPANESE INTERMEDIATE CODE: R250

R250 Receipt of annual fees

Free format text: JAPANESE INTERMEDIATE CODE: R250

R250 Receipt of annual fees

Free format text: JAPANESE INTERMEDIATE CODE: R250

R250 Receipt of annual fees

Free format text: JAPANESE INTERMEDIATE CODE: R250

R250 Receipt of annual fees

Free format text: JAPANESE INTERMEDIATE CODE: R250

R250 Receipt of annual fees

Free format text: JAPANESE INTERMEDIATE CODE: R250