JP2010083257A - 車体前部構造 - Google Patents

車体前部構造 Download PDF

Info

Publication number
JP2010083257A
JP2010083257A JP2008252940A JP2008252940A JP2010083257A JP 2010083257 A JP2010083257 A JP 2010083257A JP 2008252940 A JP2008252940 A JP 2008252940A JP 2008252940 A JP2008252940 A JP 2008252940A JP 2010083257 A JP2010083257 A JP 2010083257A
Authority
JP
Japan
Prior art keywords
front side
side frame
collision load
frame
collision
Prior art date
Legal status (The legal status is an assumption and is not a legal conclusion. Google has not performed a legal analysis and makes no representation as to the accuracy of the status listed.)
Granted
Application number
JP2008252940A
Other languages
English (en)
Other versions
JP5187105B2 (ja
Inventor
Katsutoshi Tanaka
克俊 田中
Yasuyuki Ando
康之 安道
Yukio Nakamura
幸雄 中村
Koichi Nakano
孝一 中野
Shiro Nakatani
志郎 中谷
Current Assignee (The listed assignees may be inaccurate. Google has not performed a legal analysis and makes no representation or warranty as to the accuracy of the list.)
Mazda Motor Corp
Original Assignee
Mazda Motor Corp
Priority date (The priority date is an assumption and is not a legal conclusion. Google has not performed a legal analysis and makes no representation as to the accuracy of the date listed.)
Filing date
Publication date
Application filed by Mazda Motor Corp filed Critical Mazda Motor Corp
Priority to JP2008252940A priority Critical patent/JP5187105B2/ja
Publication of JP2010083257A publication Critical patent/JP2010083257A/ja
Application granted granted Critical
Publication of JP5187105B2 publication Critical patent/JP5187105B2/ja
Expired - Fee Related legal-status Critical Current
Anticipated expiration legal-status Critical

Links

Images

Landscapes

  • Body Structure For Vehicles (AREA)
  • Arrangement Or Mounting Of Propulsion Units For Vehicles (AREA)

Abstract

【課題】ポールのように車幅方向に広がりを備えていない障害物に対して車幅方向中央部分が激突したときに、その衝突エネルギをフロントサイドフレームを使って吸収する。
【解決手段】ペリメータフレーム30の前端部には、その上方に位置するフロントサイドフレーム24との間に衝突荷重伝達部材84が介装されている。衝突荷重伝達部材84は、ペリメータフレーム30の前端部の上面から斜め後方且つ上方に向けて延びており、その上端がフロントサイドフレーム24の下面に連結されている。横置きエンジン34を含むパワープラントはマウント部材94を介してフロントサイドフレーム24に搭載されている。マウント部材94は、衝突荷重伝達部材84の上端がフロントサイドフレーム24と合流する位置よりも後方にオフセットした位置に配設されている。
【選択図】図1

Description

本発明は、車体前部構造に関し、より詳しくは、ポール状の障害物に対して車幅方向中央部分が前面衝突したときの安全性を向上することのできるものに関する。
車体前部は、一般的に、車体前端において車幅方向に延びるバンパーレインフォースメントの左右の端部を夫々左右一対のフロントサイドフレームの前端に連結する、より詳しくはクラッシュカンを介して連結する構造が採用されている。すなわち、車体前部構造として、左右のフロントサイドフレームは前面衝突の際の主なる衝撃吸収部材として機能する構造が採用されている。
前面衝突に関する衝撃安全性能試験は二つの態様で行われている。第一の態様がフルラップ前面衝突であり、第二の態様がオフセット前面衝突である。フルラップ前面衝突試験では、車両を所定速度でコンクリート製の障壁に衝突させることにより行われる。オフセット前面衝突試験では、車両の一方の側部(オーバーラップ率40%)をハニカム状の障壁に前面衝突させることにより行われる。
特許文献1は、左右のフロントサイドフレームの前端にクラッシュカンを介してバンパーレインフォースメントを取り付けると共に、フロントサイドフレームの下方にサブフレームとして平面視略矩形の枠形状のいわゆるペリメータフレームを配設した車体前部構造を開示し、そして、低速でポールに前面衝突において低速でポールに衝突したときに、クラッシュカンで衝突エネルギを吸収することを提案している。
特許文献2は、フルラップ前面衝突及びオフセット前面衝突において、衝突初期で、フロントサイドフレームの前端部の座屈により衝突エネルギを吸収すると共に衝突後期における乗員の減速度を緩和する発明を提案している。具体的には、特許文献2は、矩形閉断面構造の左右のフロントサイドフレームの後端部間に亘って車幅方向に延びるパイプを設け、このパイプの左右の各端をフロントサイドフレームの内側側面に連結する構造を提案している。この発明によれば、衝突によりパワープラントが後退すると、この後退するパワープラントにより、車幅方向に延びる連結パイプが後方に屈曲し、この連結パイプの屈曲によって左右のフロントサイドフレームの後端部を車幅方向内方側に屈曲させることで、衝突後期の乗員の減速度を緩和することができる。
特許文献3は、左右のフロントサイドフレームと、その下方に配設した平面視略矩形の枠形状のサブフレーム(ペリメータフレーム)とを連結する、その連結構造によってフルラップ前面衝突及びオフセット前面衝突における衝突初期及び衝突中期の衝突耐力の向上と衝突後期の減速度を緩和する提案を行っている。
特開2006−175988号公報 特開2002−120752号公報 特開2004−26888号公報
ところで、上述したように前面衝突の態様として典型的にはフルラップ衝突及びオフセット衝突を挙げることができるものの、実際の前面衝突事故では種々様々な態様があるのは勿論である。その一つに、道路脇に植設された電柱や道路標識の支柱などに激突した場合である。このポール状の障害物に対して車両の側部で前面衝突したときには、前述したオフセット前面衝突試験と同様に、一方のフロントサイドフレームによって衝撃を吸収することが可能である。しかし、車両の車幅方向中央部分がポール状の障害物に激突した場合、バンパーレインフォースメントは、一般的に設計上これを受け止める強度を備えていないため、その車幅方向中央部分で折れ曲がってしまい、この結果、左右のフロントサイドフレームが機能せずに大きな損壊が発生してしまう虞がある。
本発明の目的は、ポールのように車幅方向に広がりを備えていない障害物に対して車幅方向中央部分が激突したときに、その衝突エネルギをフロントサイドフレームを使って吸収することのできる車体前部構造を提供することにある。
上記の技術的課題は、本発明によれば、
エンジンを含むパワープラントが配設されるエンジンルームを車体前後方向に延び且つ閉断面構造の左右のフロントサイドフレームと、
該左右のフロントサイドフレームの下方に配設され、平面視略矩形の枠形状のサブフレームとを有する車体前部構造において、
前記サブフレームの左右の前端部から前記フロントサイドフレームに向けて延びる衝突荷重伝達部材を有し、
該衝突荷重伝達部材は、その軸線が斜め上方且つ後方に延びており、
該左右の衝突荷重伝達部材の上端が、各々、これに対応する前記フロントサイドフレームの下面に連結されていることを特徴とする車体前部構造を提供することにより達成される。
本発明によれば、前面衝突においてポールのように車幅方向に大きな幅を有していない障害物に対して車幅方向中央部分が激突して、その衝突荷重がサブフレームに加わったときに、サブフレームに入力した衝突荷重は、その一部が衝突荷重伝達部材を介してフロントサイドフレームに入力され、このフロントサイドフレームの衝突エネルギ吸収機能によって吸収することができる。換言すると、左右のフロントサイドフレームの前端にはバンパーレインフォースメントが配設されるのが通常であるが、このバンパーレインフォースメントは、その長手方向中央部分にポールが激突したときに、これに抗する程の剛性を備えていないのが通常であり、このためポールがエンジンルームに侵入してしまう虞があるが、これに対して、サブフレームに入力した衝突荷重を衝突荷重伝達部材によってフロントサイドフレームに入力することでフロントサイドフレームの衝突エネルギ吸収機能を使って衝突初期の衝突エネルギを吸収することができる。換言すると、バンパーレインフォースメントによってポール衝突に対応しようとすると、バンパーレインフォースメントの剛性を高めることが必要となり、車体重量が増加してしまう。
また、本発明によれば、衝突荷重伝達部材の軸線がサブフレームから斜め後方且つ上方に向けて延びているため、サブフレームに入力した衝突荷重をフロントサイドフレームに円滑に入力することができる。
本発明の好ましい実施の形態によれば、
前記衝突荷重伝達部材が、前記サブフレーム側の第1部材と、前記フロントサイドフレーム側の第2部材とを含み、前記第1、第2の部材は共に閉断面構造を有し、前記第1部材は、その軸線が、前記サブフレームの前端部から斜め上方且つ後方に延びており、前記第2部材は、その軸線が、前記フロントサイドフレームの下面から斜め下方且つ前方に延びており、前記第1部材の上端と前記第2部材の下端が互いに対向している。この実施の形態によれば、車体組立において、サブフレーム側の前記第1部材の上端と、フロントサイドフレーム側の第2部材の下端とを互いに付き合わせて、これを連結することで衝突荷重伝達部材を簡単に作ることができる。
本発明の好ましい実施の形態によれば、
前記パワープラントが前記フロントサイドフレームに対してマウント部材を介して搭載され、該マウント部材が、前記衝突荷重伝達部材が前記フロントサイドフレームと合流する位置から後方にオフセットした位置に配設されている。この実施の形態によれば、ポールがパワープラントに衝突してパワープラントを後退させるタイミングの前段階で衝突荷重をフロントサイドフレームの前端部によって吸収することができる。
本発明の好ましい実施の形態によれば、
前記フロントサイドフレームが、前端から後端に向けて衝突エネルギ吸収構造の異なる領域に区分されて設計され、前端部が座屈域であり、該前端部の後方が屈曲域であり、
前記衝突荷重伝達部材の上端が、前記フロントサイドフレームにおける座屈域の後端又は該座屈域と前記屈曲域との境界部分又は前記屈曲域の前端に連結されている。この実施の形態によれば、フロントサイドフレーム前端部の座屈による衝突エネルギ吸収機能を使って衝突初期の衝突エネルギを吸収することができる。
本発明の他の目的及び作用効果は、以下の好ましい実施例の詳細な説明から明らかになろう。
以下に、添付の図面に基づいて本発明の好ましい実施例を説明する。図1は側面視した実施例の車体前部構造であり、図2は実施例の車体前部構造を下方から見た底面図である。先ず図1を参照して、参照符号10はダッシュパネルを示し、ダッシュパネル10によって車室12とエンジンルーム14とが区画されている。車室12は、その床面が、ダッシュパネル10の下端に前端を連結したフロアパネル16によって形成され、車室12には、インスツルメントパネル18、ブレーキペダル20やアクセルペダル等が設けられている。参照符号22はフロントウインドウである。
エンジンルーム14の下方域には、車体前後方向にエンジンルーム14の全域に亘って延在する左右のフロントサイドフレーム24が配設されており、フロントサイドフレーム24は矩形の閉断面構造を有している。既知のように、左右のフロントサイドフレーム24の前端には、車幅方向に延びるバンパーレインフォースメント26がクラッシュカン28を介して連結されている。エンジンルーム14の下方域には、更に、フロントサイドフレーム24よりも下方に位置するサブフレーム30としてのペリメータフレームが配設されている。参照符号32は前輪である。
ペリメータフレーム30は、エンジンルーム14の後端部に位置して車幅方向に延びる本体部分30aと、本体部分30aの車幅方向両端からフロントサイドフレーム24に沿って前方に延びる側方部分30bと、左右の側方部分30b、30bの前端の間を車幅方向に延びて、左右の側方部分30b、30bの前端を連結する前方連結部分30cとで構成され、ペリメータフレーム30は平面視したときに略矩形の枠形状を有する。
エンジンルーム14には内燃多気筒エンジン34が搭載されている。エンジン34は、水冷式の直列四気筒エンジンであり、図2から最も良く分かるようにエンジン出力軸を車幅方向に向けてエンジンルーム14内に搭載されている。すなわち、エンジンルーム14に搭載されたエンジン34は横置きのレシプロエンジンであり、エンジン34の後端にはトランスアクスル36が連結されている。換言すると、エンジン34とトランスアクスル36は車幅方向に並んで配設され、エンジン出力は、トランスアクスル36に内蔵されたデファレンシャルギア38(図1)を介して左右の前輪32に分配される。この自動車は前輪駆動形式の車両であるが、4輪駆動形式の車両に対しても本発明を適用することができる。
エンジン34は水冷式エンジンであり、このエンジン34の冷却水は、左右のフロントサイドフレーム24の前端部の間のシュラウドパネル(図示せず)に固設されたラジエータ40によって冷却される。
横置きのエンジン34は、前方吸気、後方排気の形式が採用されており(図1)、エンジン34のシリンダヘッドには、その前面に吸気管42が連結され、後面に排気管44が連結されている。
図2を参照して、ペリメータフレーム30は、その左右の側方部分30bの前端が第1ボルト46によってフロントサイドフレーム24に連結されており、また、本体30aの左右の後端が第2ボルト48によって左右のフロアフレーム50に連結されている。これについては後に詳しく説明する。図2の参照符号52は、フロアパネル50の左右の側縁に沿って延びるサイドシルを示す。
ペリメータフレーム30には、前輪32のサスペンション機構54に含まれる第1、第2のロアアーム56、58の車幅方向内端ピボット点56a、58aが設けられており、相対的に前方に位置する第1ロアアーム56のピボット点56aはペリメータフレーム30の左右の側方部分30bに配設され、後方に位置する第2ロアアーム58のピボット点58aはペリメータフレーム30の本体部分28aの左右の端部に配設されている(図2)。図中、参照符号60はステアリングリンク機構を示す。
図3、図4は、ペリメータフレーム30の前端部をフロントサイドフレーム24に連結する構造を示す図である。図3、図4を参照して、フロントサイドフレーム24の前端部には、下方に延びる第1ブラケット62が設けられている。他方、ペリメータフレーム30の前端部には、上方に向けて延びる第2ブラケット64が設けられており、この第2ブラケット64にはゴムブッシュ66が配設されている。ペリメータフレーム30の前端部とその上方のフロントサイドフレーム24の前端部とは、ロングボルト46とゴムブッシュ66とを介して互いに連結される。図3において、参照符号68はサスペンションタワーを示し、参照符号70はエプロンパネルを示す。エプロンパネル70はその下端縁がフロントサイドフレーム24に溶接され、他方、エプロンパネル70の上端縁にはエプロンレインフォースメント72が配設されている。
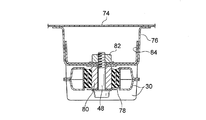
図5は、ペリメータフレーム30の後端部をフロアフレーム50に連結する構造を示す図である。図5を参照して、フロアパネル16は、その前端がキックアップパネル74によって前方に延長されている。キックアップパネル74は、前方から後方に向かうに従って斜め下方に延びており、その前端がダッシュパネル10の下端に接合されている。図5のVI−VIに沿った断面を図6に示し、図5のVII−VIIに沿った断面を図7に示す。また、図5のVIII−VIIIに沿った断面を図8に示す。
図5、図8を参照して、フロアフレーム50は、キックアップパネル74に沿って延びる延長フロアフレーム76によって前方に延長されている。この延長フロアフレーム76には、その下面に前方に向けて切り欠いた形状の段部76aが形成され、この段部76aにペリメータフレーム30の後端部が受け入れられて第2ボルト48によって延長フロアフレーム76の下面に固定されている。なお、図8から分かるように、ペリメータフレーム30の後端部にはゴムブッシュ78を介してスリーブ80が配設されており、上記第2ボルト48はスリーブ80に挿入されて延長フロアフレーム76に予め溶接されているナット82に螺着される。図8において参照符号84は補強パネルを示す。
図1、図3〜図5を再び参照して、ペリメータフレーム30の前端部には、その上方に位置するフロントサイドフレーム24との間に衝突荷重伝達部材84が介装されている。衝突荷重伝達部材84は、軸線がペリメータフレーム30から斜め上方且つ後方に向けて延びており、この衝突荷重伝達部材84によって、ペリメータフレーム30に入力された衝突荷重がフロントサイドフレーム24に伝達される。
衝突荷重伝達部材84は、その下端部がペリメータフレーム30の前端部の上面、具体的にはペリメータフレーム30の第2ブラケット64の基部から斜め後方且つ上方に向けて延びており、その上端がフロントサイドフレーム24の下面に連結されている。実施例では、衝突荷重伝達部材84は、ペリメータフレーム30側の第1閉断面部材86と、フロントサイドフレーム24側の第2閉断面部材88とをボルトナットの組み合わせ90を使って互いに連結することにより構成されている。
第1閉断面部材86は、後面が起立した側面視略直角三角形の形状を有していてもよく、或いは、斜め上方且つ後方に延びる形状を有していてもよいが、その下端がペリメータフレーム30及び第2ブラケット64にアーク溶接されている。この第1閉断面部材86は、その上端部に、後方に向いた第1フランジ86aが形成されている。他方、第2閉断面部材88は、その上端がフロントサイドフレーム24の下面にアーク溶接されて斜め下方且つ前方に向けて延びる形状を有し、その下端部には、前方に向いた第2フランジ88aが形成され、これら第1、第2のフランジ86a、88aは、この実施例では互いに鉛直面で対向している。図9を参照して、第1、第2の閉断面部材86、88の第1、第2フランジ86a、88aの間には弾性シート92が介装される。このように弾性シート92を介在させることにより、衝突荷重伝達部材84による衝突荷重伝達機能を損なうことなく第1、第2のフランジ86a、88a間の連結の自由度を向上させることができる。
図1を参照して、参照符号94はエンジンマウント部材を示す。横置きエンジン34、トランスアクスル36を含むパワープラントはその出力軸方向つまり車幅方向の一端部と他端部が左右のフロントサイドフレーム24に対してマウント部材94を介して搭載されている。ここに、フロントサイドフレーム24の衝突エネルギ吸収構造として、フロントサイドフレーム24の前端部が座屈域Aに設定され、この座屈域Aの後方の領域が屈曲域Bに設定されている。フロントサイドフレーム24に前面衝突の衝突荷重が加わると、座屈域Aが座屈し、次いで、その後方の屈曲域Bが三次元的に屈曲して衝突エネルギが吸収される。
引き続き図1を参照して、上述した衝突荷重伝達部材84の上端は、好ましくは座屈域Aの後端又は座屈域Aと屈曲域Bとの境界又は屈曲域Bの前端に連結される。また、衝突荷重伝達部材84の上端は、好ましくはエンジンマウント部材94よりも前方にオフセットした箇所に位置するようにフロントサイドフレーム24に対する連結部位が設定されている。
衝突荷重伝達部材84の上端の連結箇所に関し、この衝突荷重伝達部材84を通じてフロントサイドフレーム24に入力した衝突荷重をフロントサイドフレーム24の座屈域Aを使ってエネルギ吸収するのであれば、座屈域Aの前後方向中央部分に衝突荷重伝達部材84の上端を連結することになるが、この場合には衝突荷重伝達部材84が起立した状態で配設されることになり、衝突荷重伝達部材84を通じてフロントサイドフレーム24に入力した衝突荷重のベクトルが、フロントサイドフレーム24の軸線と大きな角度で交差することになってフロントサイドフレーム24の軸線方向への荷重伝達が悪化してしまう。
衝突荷重伝達部材84の上端の連結箇所に関し、この衝突荷重伝達部材84の立ち上がり角度を小さくするとフロントサイドフレーム24の軸線方向への荷重伝達が円滑になる。これを念頭に置くと、衝突荷重伝達部材84の上端の連結箇所は、フロントサイドフレーム24の座屈域Aの後端部又は座屈域Aと屈曲域Bの境界部分又は屈曲域Bの前端となる。フロントサイドフレーム24の座屈域Aと屈曲域Bの境界部分又は屈曲域Bの前端に衝突荷重伝達部材84を連結する場合、屈曲域Bにおけるフロントサイドフレーム24の軸線は、図1からも理解できるように、前輪サスペンション機構54のストロークに起因する前輪ドライブシャフトの上下移動軌跡との干渉を回避するため山なりのラインを描いていることから、衝突荷重伝達部材84の立ち上がり角度を小さくできるだけでなく、フロントサイドフレーム24の軸線方向への荷重伝達が円滑になるという利点がある。ただし、衝突荷重伝達部材84からフロントサイドフレーム24に入力される荷重の吸収に際して、フロントサイドフレーム24の座屈域Aの座屈によりエネルギ吸収は期待できない。
なお、フロントサイドフレーム24の座屈域A、屈曲域Bは、フルラップ前面衝突及びオフセット前面衝突によってフロントサイドフレーム24の前端から衝突荷重が入力したときに最も効率的なエネルギ吸収が行われるように設計されているが、実施例における屈曲域Bは、ポール衝突によってペリメータフレーム30及び衝突荷重伝達部材84を通じて、座屈域Aを経由することなくフロントサイドフレーム24の屈曲域Bに衝突荷重が直接的に入力したときに、フロントサイドフレーム24による屈曲によって効率的にエネルギを吸収するように設計することができる。したがって、フルラップ前面衝突、オフセット前面衝突、ポール衝突のいずれの態様であっても、衝突荷重をフロントサイドフレーム24によって効率的に吸収することができる。
前面衝突において、例えば車幅方向中央部分にポールなどが激突したときに、その衝突荷重はバンパーレインフォースメント26を介して左右のクラッシュカン28に入力してクラッシュカン28が座屈し、次いで衝突荷重がフロントサイドフレーム24に入力する。また、ポールが激突することによってバンパーレインフォースメント26の車幅方向中央部分が後方に屈曲変形したときには、ペリメータフレーム30にポールが衝突して、この衝突荷重がペリメータフレーム30の左右の側方部分30bに入力する。
ペリメータフレーム30の左右の側方部分30bに入力した衝突荷重は、その一部が衝突荷重伝達部材84によってフロントサイドフレーム24に分散される。衝突荷重伝達部材84は、その軸線が、ペリメータフレーム30から斜め上方且つ後方に延びてフロントサイドフレーム24と交差しているため、換言すると、衝突荷重伝達部材84による衝突荷重伝達経路がフロントサイドフレーム24の軸線に対して斜め後方に交差しているため、ペリメータフレーム30から衝突荷重伝達部材84を経由してフロントサイドフレーム24に入力した衝突荷重は、フロントサイドフレーム24に直接的に入力した衝突荷重と合流し、そして、その後方のフロントサイドフレーム24の部分による衝突エネルギ吸収機能を使って衝突エネルギを吸収することができる。
したがって、ポール衝突の際に、ポールがエンジンルーム14内に侵入してエンジン34を含むパワープラントと衝突するタイミングまでの間に衝突エネルギの大部分をフロントサイドフレーム24によって吸収することができる。
また、衝突荷重伝達部材84の上端よりも後方にエンジンマウント部材94(図1)を配設することで、ポールがパワープラントを後退させ、このエンジンの後退に伴う荷重がエンジンマウント部材94を介してフロントサイドフレーム24に伝わるタイミングの前にフロントサイドフレーム24を使って衝突エネルギを吸収することができる。
勿論のことであるが、フルラップ前面衝突、オフセット前面衝突においても、衝突荷重がペリメータフレーム30に入力したときには、その衝突荷重の一部をフロントサイドフレーム24によって吸収することができる。
実施例の車体前部構造を側面視した図である。 実施例の車体前部構造を下方から見た底面図である。 フロントサイドフレーム及びペリメータフレームの前端部を車外の斜め前方から見た図である。 フロントサイドフレーム及びペリメータフレームの前端部をエンジンルーム側の斜め後方から見た図である。 フロントサイドフレームとペリメータフレームの後端部を側面視した図である。 図5のVI−VI線に沿ったフロントサイドフレームの断面図である。 図5のVII−VII線に沿ったフロアフレーム延長部の断面図である。 図5のVIII−VIII線に沿った断面図であり、ペリメータフレームの後端部の連結構造を示す図である。 ペリメータフレームの前端部から斜め上方且つ後方に延びて、上端がフロントサイドフレームの下面に連結される衝突荷重伝達部材の構造を説明するための要部拡大斜視図である。
符号の説明
14 エンジンルーム
24 フロントサイドフレーム
26 バンパーレインフォースメント
28 クラッシュカン
30 ペリメータフレーム(サブフレーム)
34 エンジン
36 トランスアクスル
84 衝突荷重伝達部材
86 第1閉断面部材(ペリメータフレーム側)
86a 鉛直面の第1フランジ
88 第2閉断面部材(フロントサイドフレーム側)
88a 鉛直面の第2フランジ
92 弾性シート
94 エンジンマウント部材

Claims (6)

  1. エンジンを含むパワープラントが配設されるエンジンルームを車体前後方向に延び且つ閉断面構造の左右のフロントサイドフレームと、
    該左右のフロントサイドフレームの下方に配設され、平面視略矩形の枠形状のサブフレームとを有する車体前部構造において、
    前記サブフレームの左右の前端部から前記フロントサイドフレームに向けて延びる衝突荷重伝達部材を有し、
    該衝突荷重伝達部材は、その軸線が斜め上方且つ後方に延びており、
    該左右の衝突荷重伝達部材の上端が、各々、これに対応する前記フロントサイドフレームの下面に連結されていることを特徴とする車体前部構造。
  2. 前記衝突荷重伝達部材が、前記サブフレーム側の第1部材と、前記フロントサイドフレーム側の第2部材とを含み、
    前記第1、第2の部材は共に閉断面構造を有し、
    前記第1部材は、その軸線が、前記サブフレームの前端部から斜め上方且つ後方に延びており、
    前記第2部材は、その軸線が、前記フロントサイドフレームの下面から斜め下方且つ前方に延びており、
    前記第1部材の上端と前記第2部材の下端が互いに対向している、請求項1に記載の車体前部構造。
  3. 前記パワープラントが前記フロントサイドフレームに対してマウント部材を介して搭載され、
    該マウント部材が、前記衝突荷重伝達部材が前記フロントサイドフレームと合流する位置から後方にオフセットした位置に配設されている、請求項2に記載の車体前部構造。
  4. 前記第1部材の上端には後方に向いた第1フランジが形成され、
    前記第2部材の下端には前方に向いた第2フランジが形成され、
    前記第1、第2フランジが互いに対向した状態で連結される、請求項2又は3に記載の車体前部構造。
  5. 前記第1、第2フランジの間に弾性部材が介装されている、請求項4に記載の車体前部構造。
  6. 前記フロントサイドフレームが、前端から後端に向けて衝突エネルギ吸収構造の異なる領域に区分されて設計され、前端部が座屈域であり、該前端部の後方が屈曲域であり、
    前記衝突荷重伝達部材の上端が、前記フロントサイドフレームにおける座屈域の後端又は該座屈域と前記屈曲域との境界部分又は前記屈曲域の前端に連結されている、請求項1に記載の車体前部構造。
JP2008252940A 2008-09-30 2008-09-30 車体前部構造 Expired - Fee Related JP5187105B2 (ja)

Priority Applications (1)

Application Number Priority Date Filing Date Title
JP2008252940A JP5187105B2 (ja) 2008-09-30 2008-09-30 車体前部構造

Applications Claiming Priority (1)

Application Number Priority Date Filing Date Title
JP2008252940A JP5187105B2 (ja) 2008-09-30 2008-09-30 車体前部構造

Publications (2)

Publication Number Publication Date
JP2010083257A true JP2010083257A (ja) 2010-04-15
JP5187105B2 JP5187105B2 (ja) 2013-04-24

Family

ID=42247655

Family Applications (1)

Application Number Title Priority Date Filing Date
JP2008252940A Expired - Fee Related JP5187105B2 (ja) 2008-09-30 2008-09-30 車体前部構造

Country Status (1)

Country Link
JP (1) JP5187105B2 (ja)

Cited By (3)

* Cited by examiner, † Cited by third party
Publication number Priority date Publication date Assignee Title
CN104210553A (zh) * 2013-05-31 2014-12-17 三菱自动车工业株式会社 车辆前部部分结构
CN113830182A (zh) * 2020-06-24 2021-12-24 现代自动车株式会社 车辆前部结构
CN115503833A (zh) * 2021-06-22 2022-12-23 丰田自动车株式会社 车辆前部构造

Families Citing this family (1)

* Cited by examiner, † Cited by third party
Publication number Priority date Publication date Assignee Title
US12503168B2 (en) * 2022-05-31 2025-12-23 Subaru Corporation Vehicle body front structure

Citations (6)

* Cited by examiner, † Cited by third party
Publication number Priority date Publication date Assignee Title
JPH11171045A (ja) * 1997-12-12 1999-06-29 Honda Motor Co Ltd 車両における衝撃吸収車体構造
JP2001310754A (ja) * 2000-04-28 2001-11-06 Fuji Heavy Ind Ltd 自動車の車体前部構造
JP2002120752A (ja) * 2000-10-19 2002-04-23 Mazda Motor Corp 自動車の前部車体構造
JP2003226266A (ja) * 2002-02-01 2003-08-12 Nissan Motor Co Ltd 車体前部構造
JP2005289131A (ja) * 2004-03-31 2005-10-20 Honda Motor Co Ltd 車体フレーム構造
JP2006175988A (ja) * 2004-12-22 2006-07-06 Mazda Motor Corp 車体前部構造

Patent Citations (6)

* Cited by examiner, † Cited by third party
Publication number Priority date Publication date Assignee Title
JPH11171045A (ja) * 1997-12-12 1999-06-29 Honda Motor Co Ltd 車両における衝撃吸収車体構造
JP2001310754A (ja) * 2000-04-28 2001-11-06 Fuji Heavy Ind Ltd 自動車の車体前部構造
JP2002120752A (ja) * 2000-10-19 2002-04-23 Mazda Motor Corp 自動車の前部車体構造
JP2003226266A (ja) * 2002-02-01 2003-08-12 Nissan Motor Co Ltd 車体前部構造
JP2005289131A (ja) * 2004-03-31 2005-10-20 Honda Motor Co Ltd 車体フレーム構造
JP2006175988A (ja) * 2004-12-22 2006-07-06 Mazda Motor Corp 車体前部構造

Cited By (4)

* Cited by examiner, † Cited by third party
Publication number Priority date Publication date Assignee Title
CN104210553A (zh) * 2013-05-31 2014-12-17 三菱自动车工业株式会社 车辆前部部分结构
CN104210553B (zh) * 2013-05-31 2016-09-21 三菱自动车工业株式会社 车辆前部部分结构
CN113830182A (zh) * 2020-06-24 2021-12-24 现代自动车株式会社 车辆前部结构
CN115503833A (zh) * 2021-06-22 2022-12-23 丰田自动车株式会社 车辆前部构造

Also Published As

Publication number Publication date
JP5187105B2 (ja) 2013-04-24

Similar Documents

Publication Publication Date Title
JP6816664B2 (ja) 車体前部構造
CN103359180B (zh) 车身前部结构
JP5927695B2 (ja) 車体下部構造
CN115667058A (zh) 整体梁在轿车车身上的固定装置以及轿车
KR20150134977A (ko) 스몰 오버랩 충돌대응 차체보강구조
CN105073560A (zh) 车身前部结构
JP2008222037A (ja) 車両の衝撃吸収構造
RU2554174C1 (ru) Структура передней части для транспортного средства
JP5211993B2 (ja) 車体前部構造
JP5158361B2 (ja) 車体前部構造
CN113954970A (zh) 一种车身前部框架结构
JP2006175987A (ja) 車体前部構造
JP5187105B2 (ja) 車体前部構造
CN111746651A (zh) 一种异种材料结合的前副车架结构
KR20190016692A (ko) 전방 차체 보강구조
JP2024173657A (ja) 車両フロント構造
JP5263511B2 (ja) 車体前部構造
JP7497565B2 (ja) 車両のフロントサスペンション装置
JP3045337B2 (ja) 自動車の前部構造
JP3870677B2 (ja) 移動体用緩衝装置
JP3771721B2 (ja) 車両の前部車体構造
CN117533403A (zh) 非承载式车身的前舱结构、非承载式车身和车辆
JP4539320B2 (ja) 車両用牽引フックの取付構造
KR20190040793A (ko) 전방 차체 보강구조
WO2024241524A1 (ja) サスペンションメンバ

Legal Events

Date Code Title Description
A621 Written request for application examination

Free format text: JAPANESE INTERMEDIATE CODE: A621

Effective date: 20110802

A521 Written amendment

Free format text: JAPANESE INTERMEDIATE CODE: A523

Effective date: 20120329

A977 Report on retrieval

Free format text: JAPANESE INTERMEDIATE CODE: A971007

Effective date: 20120911

A131 Notification of reasons for refusal

Free format text: JAPANESE INTERMEDIATE CODE: A131

Effective date: 20120919

A521 Written amendment

Free format text: JAPANESE INTERMEDIATE CODE: A523

Effective date: 20121115

TRDD Decision of grant or rejection written
A01 Written decision to grant a patent or to grant a registration (utility model)

Free format text: JAPANESE INTERMEDIATE CODE: A01

Effective date: 20121225

A61 First payment of annual fees (during grant procedure)

Free format text: JAPANESE INTERMEDIATE CODE: A61

Effective date: 20130107

FPAY Renewal fee payment (event date is renewal date of database)

Free format text: PAYMENT UNTIL: 20160201

Year of fee payment: 3

R150 Certificate of patent or registration of utility model

Ref document number: 5187105

Country of ref document: JP

Free format text: JAPANESE INTERMEDIATE CODE: R150

Free format text: JAPANESE INTERMEDIATE CODE: R150

LAPS Cancellation because of no payment of annual fees