JP2010081759A - ガス遮断器 - Google Patents

ガス遮断器 Download PDF

Info

Publication number
JP2010081759A
JP2010081759A JP2008248889A JP2008248889A JP2010081759A JP 2010081759 A JP2010081759 A JP 2010081759A JP 2008248889 A JP2008248889 A JP 2008248889A JP 2008248889 A JP2008248889 A JP 2008248889A JP 2010081759 A JP2010081759 A JP 2010081759A
Authority
JP
Japan
Prior art keywords
phase circuit
circuit breaker
circuit breakers
tank
gas
Prior art date
Legal status (The legal status is an assumption and is not a legal conclusion. Google has not performed a legal analysis and makes no representation as to the accuracy of the status listed.)
Granted
Application number
JP2008248889A
Other languages
English (en)
Other versions
JP5269534B2 (ja
Inventor
Toshiyuki Saida
敏之 才田
Naokazu Iwanade
直和 岩撫
Koji Suzuki
浩二 鈴木
Current Assignee (The listed assignees may be inaccurate. Google has not performed a legal analysis and makes no representation or warranty as to the accuracy of the list.)
Toshiba Corp
Original Assignee
Toshiba Corp
Priority date (The priority date is an assumption and is not a legal conclusion. Google has not performed a legal analysis and makes no representation as to the accuracy of the date listed.)
Filing date
Publication date
Application filed by Toshiba Corp filed Critical Toshiba Corp
Priority to JP2008248889A priority Critical patent/JP5269534B2/ja
Publication of JP2010081759A publication Critical patent/JP2010081759A/ja
Application granted granted Critical
Publication of JP5269534B2 publication Critical patent/JP5269534B2/ja
Expired - Fee Related legal-status Critical Current
Anticipated expiration legal-status Critical

Links

Images

Landscapes

  • Gas-Insulated Switchgears (AREA)

Abstract

【課題】極めて簡単な構成により、遮断器の設置床面へ加わる操作振動を低減することが可能であり、構成の簡略化及びメンテナンス性に優れたガス遮断器を提供する。
【解決手段】単相遮断器1a〜1cにおける操作機構箱2a〜2cとタンク3a〜3cは左右に連結されており、各タンク3a〜3cは、所定の中心点から120度ずつの角度の間隔で放射状に配置されている。また、操作機構箱2a〜2cは、放射状の中心点から見て単相遮断器1a〜1cの中心側の端部に取り付けられている。
【選択図】図1

Description

本発明は、複数の単相遮断器を備えたガス遮断器において、遮断操作時の振動低減を図ったガス遮断器に関するものである。
ガス絶縁開閉装置(GIS)は、遮断器、断路器、母線などから構成される装置であって、いずれの構成機器も大地電位に成した金属製の密閉タンク内に、絶縁性ガスを封入すると共に高電圧充電部を収納している。このため、優れた安全性及び信頼性を発揮することができ、しかも、据え付け面積の縮小化が可能である。したがって、様々な場所でガス絶縁開閉装置が利用されている。
例えば、地価の高騰が進む都市部などの人口密集地では、地下式変電所の建設が進められており、ここにガス絶縁開閉装置が採用されている。図9は商業ビルの地下に設置した地下式変電所の概念図である。
変電所には通常、変圧器10及びガス絶縁開閉装置20が含まれるが、変電所の最重量物である変圧器10は、合理的な土木・躯体設計の観点から、ビルの最下層に設置されるのが普通である。これに対して、ガス絶縁開閉装置20は、変圧器10を設置した階の上階に設置される場合がほとんどである。
ところで、商業ビルの地下1階や2階など浅い階には商業施設30が入るのが一般的である。このため、ガス絶縁開閉装置20は、商業施設30に比較的近い深さに設置されることが多く、操作振動やそれに伴う騒音が問題となっていた。
したがって、商業施設30の利用者などへの配慮から、ガス絶縁開閉装置20には機器の操作振動及びその伝搬を極力抑制することが望まれている。このようなニーズは、住宅地の近隣に設置されるガス絶縁開閉装置20に等しく存在するものである。
ガス絶縁開閉装置20を構成する機器の中で、最も操作振動が大きいのは、事故電流の高速遮断を責務とするガス遮断器である。ガス遮断器は、操作力が大きいため、必然的に操作振動が大きくなっている。しかも、電力需要が急増する人口密集地近くのガス遮断器ほど、高速化及び大容量化が求められるので、操作力が大きくなり、これに比例して操作振動は増大傾向にある。
つまり、人口密集地に設置されるガス遮断器ほど、操作振動及びその伝搬を抑制したいにもかかわらず、大きな操作力を確保する必要があるため、操作振動が増大しており、操作振動及びその伝搬の抑制は、深刻な問題となっていた。操作力を維持した上での操作振動の抑制対策としては、機器の軽量化が有効ではあるが、機器の軽量化には物理的な限界がある。そのため、振動の伝搬を抑える技術の改良が模索されている。
振動の伝搬を抑制する手法としては、機器と機器設置床面との間に防振装置や免振装置を取り付けるなどの対策が主流となっている。しかし、変電所が従来よりも居住地区にさらに隣接して建設されるようになった現在、防振装置や免振装置だけでは振動伝搬の抑制効果が不十分となる可能性がある。
以上の点を背景として、例えば、特許文献1記載のガス遮断器が提案されている。特許文献1記載のガス遮断器では、第1及び第2の操作機構の駆動力によって、第1及び第2の接点部を互いに逆方向と動作させている。また、特許文献1記載の技術は、3つの操作機構を備え、その駆動力の動作方向が互いに約120度の角度をなすように操作機構を配置したガス遮断器も含んでいる。
このような従来技術によれば、ガス遮断器の操作機構における配置に関してのみ改良を加えたことで、操作機構の駆動力により生じる振動荷重を互いに相殺することができるため、防振装置や免振装置だけでは不十分な振動伝搬の抑制効果を補うことができる。
特開平7−335088号公報
しかしながら、上記特許文献1記載の技術では、駆動力の方向が異なる操作機構の操作タイミングが同期するように、各操作機構を相互に連結させなくてはならない。特に、120度の角度で配置した3つの操作機構を互いに連結させるとなると、構成の複雑化は増し、問題となっていた。また、構成の複雑化に伴って、操作機構の保守点検作業が面倒となるため、その改善が待たれていた。
本発明は、以上の課題を解決するために提案されたものであり、極めて簡単な構成により、遮断器の設置床面へ加わる操作振動を低減することが可能であり、構成の簡略化及びメンテナンス性に優れたガス遮断器を提供することを目的とするものである。
上記目的を達成するために、本発明は、金属製のタンク内部に絶縁性ガスを封入してなり、電流遮断時には前記絶縁性ガスを極間に吹き付けてアークを消弧せしめる単相遮断器を同一平面上に複数設置したガス遮断器において、前記タンクの長軸方向に操作力を出力する操作機構箱を水平方向に取り付け、複数の前記単相遮断器を、前記操作機構箱の出力する操作力のベクトル和がゼロとなるように配置し、さらに前記単相遮断器同士を実用上十分な強度で相互に連結したことを特徴とするものである。
以上のような本発明では、操作機構箱の操作力に関して、そのベクトル和がゼロとなるように単相遮断器を配置し、且つ単相遮断器同士を実用上十分な強度で相互に連結しているので、複数の単相遮断器が同時に動作した場合に、各操作機構箱の操作力を互いに相殺することが可能である。
このため、単相遮断器の設置された同一平面つまり設置床面に伝搬する操作振動を、相対的に小さくすることができる。したがって、従来の防振装置や免振装置だけでは、操作振動の伝搬抑制効果が足りなかったケースでも、設置床面への振動伝搬を低減することができる。これにより、ガス遮断器において、優れた操作力を維持しつつ、操作振動やそれに伴う騒音の発生を防ぐことができる。
しかも、本発明では、単相遮断器同士を実用上十分な強度で相互に連結しただけの構成で済むので、複数の操作機構を連結する場合と比べて、構成は格段にシンプルである。その上、構成がシンプルな分、作業スペースの確保も容易であって、保守点検作業の作業効率が向上する。
以上説明したように、本発明によれば、操作機構箱の出力する操作力のベクトル和がゼロとなるように単相遮断器を配置し、操作機構を連結するのではなく、単相遮断器同士を実用上十分な強度で連結するといった極めて簡単な構成によって、遮断器の設置床面へ加わる操作振動を低減することが可能であり、構成の簡略化及びメンテナンス性に優れたガス遮断器を提供することができる。
(1)第1の実施形態
[構成]
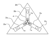
以下、本発明に係る第1の実施形態について、図1、図2を参照して具体的に説明する。図1は第1の実施形態の平面図、図2(a)、(b)は単相遮断器1の平面図及び側面図を示している。
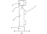
図2に示す単相遮断器1は、いわゆる「横形」の遮断器であって、金属製のタンク3内部に絶縁性ガスが封入されており、電流遮断時には極間に前記絶縁性ガスを吹き付けてアークを消弧せしめるように構成されている。
また、タンク3の端部には単相遮断器1を操作するための操作機構箱2が設置されている。操作機構箱2は、タンク3長軸方向に操作力を出力するように構成され、タンク3に対し水平方向に取り付けられている。
第1の実施形態では、図1の平面図に示すように、3相を構成する3台の単相遮断器1a〜1cが同一床面に設置されている。各単相遮断器1a〜1cにおける操作機構箱2a〜2cは、各タンク3a〜3cの長軸方向に操作力を出力するように構成され、それぞれのタンク3a〜3cに対して水平方向に取り付けられている。各タンク3a〜3cは、所定の中心点から120度ずつの角度の等間隔で(正三角形の頂点に位置するように)放射状に配置されている。
また、操作機構箱2a〜2cは、放射状の中心点から見て単相遮断器1a〜1cの中心側の端部に取り付けられ、それぞれ操作力Fa、Fb、Fcを出力するように構成されている。さらに操作機構箱2a、2b、2cには三角形状の連結部材4が設置されている。
この連結部材4によって単相遮断器1a、1b、1c同士は中心部分において実用上十分な強度で相互に連結されている。このため、操作機構箱2a〜2cの出力する操作力Fa、Fb、Fcのベクトル和は理想的にはゼロとなるようになっている。
[作用効果]
単相遮断器1a〜1cが同時に動作すると、操作機構箱2a〜2c操作力はタンク3a〜3cの長軸上に、ほぼ同時刻に生じる。このとき、タンク3a〜3cを120度ずつの角度の間隔で放射状に配置しているので、操作機構箱2a〜2cの操作力Fa〜Fcにおけるベクトル和(Fa+Fb+Fc)は理想的にゼロとなり、操作力Fa〜Fcを相殺することができる。
すなわち、第1の実施形態においては、単相遮断器1a〜1cを放射状に配置し、相互を連結するといった構成とするだけで、単相遮断器1a〜1cの設置床面に伝搬する操作振動を、相対的に小さくすることが可能である。
これにより、従来の防振装置や免振装置だけでは不足していた振動伝搬抑制効果を補うことができ、設置床面への振動伝搬の低減が可能となる。したがって、ガス遮断器として大きな操作力を発揮して優れた信頼性を維持すると同時に、操作振動やそれに伴う騒音を確実に抑えることができ、人口密集地に設置されるガス絶縁開閉装置の構成機器に最適である。
しかも、第1の実施形態では、連結部材4によって単相遮断器1a〜1c同士を実用上十分な強度で連結するだけなので、操作機構箱2a〜2c内の操作機構を機械的に相互に連結させる場合と比べて、構成を大幅に簡略化することができる。また、3つの操作機構箱2a〜2cを中心部分に近接して配置しているため、メンテナンス作業を迅速に行うことができ、優れたメンテナンス性を発揮することが可能である。
[第1の実施形態の変形例]
さらに、第1の実施形態の変形例としては、図3に示すように、放射状に配置したタンク3a〜3cの中心点から見て、単相遮断器1a〜1cの外周方向側の端部に操作機構箱2a〜2cを取り付けた実施形態も包含する。
このような実施形態によれば、上記の作用効果に加えて、次のような独自の作用効果がある。すなわち、操作機構箱2a〜2cを単相遮断器1a〜1cの外周方向側の端部に取り付けたことで、操作機構箱2a〜2c周辺に広い作業スペースを確保することができる。これにより、操作機構を巡視し易いなど、メンテナンスの作業効率をさらに高めることが可能である。
(2)第2の実施形態
[構成]
次に、本発明に係る第2の実施形態について、図4の側面図を用いて説明する。
図4に示すように、第2の実施形態では、タンク3a〜3cが、該タンク3a〜3cの長軸方向を水平にして上下方向に積み上げて配置されており、タンク3a〜3cの左端部又は右端部に操作機構箱2a〜2cが交互に取り付けられている点に特徴がある。
より詳しくは、タンク3a〜3cは下から順に積み上げられており、タンク3aの左端部に操作機構箱2aが取り付けられ、タンク3bの右端部に操作機構箱2bが取り付けられ、タンク3cの左端部に操作機構箱2cが取り付けられている。また、単相遮断器1a〜1cは、隣接するタンク3a〜3c同士が互いに固定されることにより実用上十分な強度で相互に連結されている。
[作用効果]
上記の構成を有する第2の実施形態においては、単相遮断器1a〜1cが同時に動作すると、操作機構箱2a〜2cの操作力Fa〜Fcはタンク3a〜3cの長軸上に、ほぼ同時刻に生じる。
このとき、操作機構箱2a〜2cの操作力Fa〜Fcは、そのうちの一つが他の一つと逆向きのベクトルとなっている。すなわち、操作力Fa、Fcは図4中の右向きのベクトル、操作力Fbが図4中の左向きのベクトルとなる。
このため、単相遮断器1a〜1cの3相同時操作時のベクトル和(Fa+Fb+Fc)は、理想的には操作力Fa又はFcと操作力Fbとが相殺されて、操作力Fa(又はFc)1つ分のベクトルの大きさと同じとなる。つまり、単相遮断器1a〜1cが同方向に設置されている場合のベクトル和と比べて、1/3となる。
したがって、単相遮断器1a〜1cの設置床面に伝搬する操作振動は相対的に小さくなる。その結果、上記第1の実施形態と同様、従来の防振装置や免振装置だけでは効果が不十分な場合でも単相遮断器1a〜1cの設置床面への操作振動伝搬を低減することができる。これにより、操作力の確保と振動伝搬の抑制を両立させたガス遮断器を獲得することが可能である。
(3)第3の実施形態
[構成]
続いて、本発明に係る第3の実施形態について、図5、図6を用いて説明する。図5は第3の実施形態の正面図、図6(a)、(b)は単相遮断器1の平面図及び側面図を示している。図6に示す単相遮断器1は、タンク3の長軸方向を垂直にした、いわゆる「縦形」の遮断器である。図6(b)では、操作機構箱2は、タンク3の下端部に取り付けられている。
図5に示すように、第3の実施形態では、タンク3a〜3cが、該タンク3a〜3cの長軸方向を垂直にして左右方向に並べて配置されており、タンク3a〜3cの上端部又は下端部に操作機構箱2a〜2cが交互に取り付けられている。
より詳しくは、タンク3a〜3cは長軸方向を垂直にして3a、3b、3cの順に左右方向に並置されており、タンク3aの下端部に操作機構箱2aが取り付けられ、タンク3bの上端部に操作機構箱2bが取り付けられ、タンク3cの下端部に操作機構箱2cが取り付けられている。これにより、単相遮断器1a〜1c同士は実用上十分な強度で相互に連結される。
[作用効果]
上記の構成を有する第3の実施形態では、単相遮断器1a〜1cが同時に動作すると、操作機構箱2a〜2cの操作力Fa〜Fcはタンク3a〜3cの長軸上に、ほぼ同時刻に生じる。
このとき、操作機構箱2a〜2cの操作力Fa〜Fcは、前記第2の実施形態と同じく、そのうちの一つが他の一つと逆向きのベクトルとなっている。すなわち、操作力Fa、Fcが図5中の上向きのベクトル、操作力Fbが図5中の下向きのベクトルとなる。
このため、3相同時操作時のベクトル和(Fa+Fb+Fc)は、理想的には操作力Fa又はFcと操作力Fbとが相殺されて、操作力Fa(又はFc)1つ分のベクトルと同値となる。つまり、単相遮断器1a〜1cが同方向に設置されている場合のベクトル和と比べて、1/3となる。
したがって、単相遮断器1a〜1cの設置床面に伝搬する操作振動は相対的に小さくなる。その結果、上記第1及び第2の実施形態と同様、従来の防振装置や免振装置だけでは効果が不十分となる場合でも単相遮断器1a〜1cの設置床面への操作振動伝搬を抑えることが可能である。これにより、高速化及び大容量化に対応可能な操作力を確保すると同時に、振動伝搬の抑制を実現することができ、人口密集地に設置されるガス遮断器に好適である。
(4)第4の実施形態
[構成]
さらに、本発明に係る第4の実施形態について、図7の平面図を参照して具体的に説明する。
図7に示すように、第4の実施形態には、6つの単相遮断器1a〜1fが同一床面に設置されている。各単相遮断器1a〜1fにおける操作機構箱2a〜2fは、各タンク3a〜3fの長軸方向に操作力を出力するように構成され、それぞれのタンク3a〜3fに対して水平方向に取り付けられている。各タンク3a〜3fは、所定の中心点から60度ずつの角度の間隔で放射状に配置されている。
ここで、単相遮断器1a〜1cにて1つの回線が構成され、単相遮断器1d〜1fにて別の回線が構成されている。また、単相遮断器1a〜1fは、六角形状の連結部材4aによって中心部分において実用上十分な強度で相互に連結されている。
[作用効果]
第4の実施形態は、2回線、6台の単相遮断器を備えたガス遮断器であって、一方の回線、すなわち単相遮断器1a〜1cが同時に動作すると、操作機構箱2a〜2cの操作力Fa〜Fcはタンク3a〜3cの長軸上に、ほぼ同時刻に生じる。
このとき、タンク3a〜3cを120度ずつの角度の間隔で放射状に配置しているので、操作機構箱2a〜2cの操作力Fa〜Fcのベクトル和(Fa+Fb+Fc)は理想的にゼロとなり、操作力Fa〜Fcを相殺することができる。
同じく、他方の回線である単相遮断器1d〜1fにおいても、同様の作用効果が得られる。すなわち、単相遮断器1d〜1fが同時に動作すると、操作機構箱2d〜2fの操作力Fd〜Ffはタンク3d〜3fの長軸上に、ほぼ同時刻に生じる。
このとき、タンク3d〜3fを120度ずつの角度の間隔で放射状に配置しているので、操作機構箱2d〜3fの操作力Fd〜Ffのベクトル和(Fd+Fe+Ff)は理想的にゼロとなり、操作力Fd〜Ffを相殺することができる。
したがって、2回線を構成する6つの単相遮断器1a〜1fにおいて、遮断器設置床面に伝搬する操作振動を相対的に小さくすることができる。このため、従来の防振装置や免振装置だけでは振動伝搬抑制効果が不足するような場合でも、ガス遮断器の設置床面への振動伝搬を低減することができる。
しかも、第4の実施形態では、2回線、6台の単相遮断器を含む構成を、3台の単相遮断器を配置した場合とほぼ同等の設置スペースに配置することが可能であり、空間利用度を高めることができる。したがって、人口密集地にガス絶縁開閉装置を設置する場合に、そのコンパクト化を発揮することができ、スペース的にもコスト的にも有利である。
さらに、操作機構箱2a〜2c内の操作機構並びに2d〜2f内の操作機構という6つの操作機構を、それぞれ機械的に連結するとなると、構成の複雑化は不可避である。これに対して、第4の実施形態では、連結部材4aによって単相遮断器1a〜1f同士を実用上十分な強度で連結するだけであり、構成は非常にシンプルとなる。このため、メンテナンス性にも優れ、経済的に有利である。
[第4の実施形態の変形例]
第4の実施形態の変形例としては、図8に示すように、放射状に配置したタンク3a〜3fの中心点から見て、単相遮断器1a〜1fの外周方向側の端部に操作機構箱2a〜2fを取り付けた実施形態も包含する。
このような実施形態によれば、操作機構箱2a〜2fを単相遮断器1a〜1fの外周方向側の端部に取り付けたことで、上記第1の実施形態の変形例と同じく、操作機構箱2a〜2f周辺に広い作業スペースを確保することができる。これにより、操作機構を巡視し易くなり、メンテナンス作業の効率が向上するといったメリットがある。
(5)他の実施形態
なお、本発明は、上記の実施形態に限定されるものではなく、各部材の構成や配置、設置数などは適宜変更可能であり、具体的には、単相遮断器同士を連結させる連結部材に関しては、実用上十分な強度で相互に連結させるものであれば、その形状や材質などは適宜選択可能である。
また、同一平面に設置される複数の単相遮断器の配置に関しても、適宜変更可能であって、例えば第4の実施形態において、所定の中心点からのタンク3a〜3fの角度の間隔を、単相遮断器1a〜1fが重なり合わない範囲で、任意に決めることができる。
本発明に係る第1の実施形態の平面図。 (a)、(b)は「横形」の単相遮断器の平面図及び側面図。 第1の実施形態の変形例の平面図。 本発明に係る第2の実施形態の側面図。 本発明に係る第3の実施形態の正面図。 (a)、(b)は「縦形」の単相遮断器の平面図及び側面図。 本発明に係る第4の実施形態の平面図。 第4の実施形態の変形例の平面図。 一般的な地下式変電所の概念図。
符号の説明
1、1a〜1f…単相遮断器
2、2a〜2f…操作機構箱
3、3a〜3f…タンク
4、4a…連結部材
10…変圧器
20…ガス絶縁開閉装置
30…商業施設
Fa〜Ff…操作力

Claims (7)

  1. 金属製のタンク内部に絶縁性ガスが封入され、電流遮断時には前記絶縁性ガスを極間に吹き付けてアークを消弧せしめる単相遮断器が同一平面上に複数設置されたガス遮断器において、
    前記タンクには該タンクの長軸方向に出力される操作力にて前記単相遮断器を操作する操作機構箱が水平方向に取り付けられ、
    複数の前記単相遮断器は、前記操作機構箱の出力する操作力におけるベクトル和がゼロとなるように配置され、
    さらに前記単相遮断器同士は実用上十分な強度で相互に連結されたことを特徴とするガス遮断器。
  2. 3相を構成する3台の単相遮断器は、所定の中心点から120度の等間隔で同一平面上に放射状に配置されたことを特徴とする請求項1に記載のガス遮断器。
  3. 第1及び第2の回線にはそれぞれ3相を構成する3台の単相遮断器が2組、第1及び第2の回線として配置され、
    前記第1の回線側に含まれる前記単相遮断器は、所定の中心点から120度の等間隔で放射状に配置され、
    前記第2の回線側に含まれる前記単相遮断器は、且つ前記第1の回線側の各単相遮断器と重ならないように前記中心点から120度ずつの角度の間隔で放射状に配置されたことを特徴とする請求項2に記載のガス遮断器。
  4. 放射状の中心点から見て前記単相遮断器の外周方向側の端部に前記操作機構箱が取り付けられたことを特徴とする請求項1〜3のいずれか1項に記載のガス遮断器。
  5. 金属製のタンク内部に絶縁性ガスが封入され、電流遮断時には前記絶縁性ガスを極間に吹き付けてアークを消弧せしめる単相遮断器が複数設置されたガス遮断器において、
    複数の前記単相遮断器は、各タンクの長軸方向を水平にして上下方向に積み上げて配置され、
    前記タンクの左端部又は右端部には、該タンクの長軸方向に出力される操作力にて前記単相遮断器を操作する操作機構箱が水平方向に取り付けられ、
    さらに前記単相遮断器同士は実用上十分な強度で相互に連結されたことを特徴とするガス遮断器。
  6. 金属製のタンク内部に絶縁性ガスが封入され、電流遮断時には前記絶縁性ガスを極間に吹き付けてアークを消弧せしめる単相遮断器が同一平面上に複数設置されたガス遮断器において、
    複数の前記単相遮断器は、各タンクの長軸方向を垂直にして左右方向に並べて配置され、
    前記タンクの上端部又は下端部には、該タンクの長軸方向に出力される操作力にて前記単相遮断器を操作する操作機構箱が垂直方向に取り付けられ、
    さらに前記単相遮断器同士は実用上十分な強度で相互に連結されたことを特徴とするガス遮断器。
  7. 前記操作機構箱は前記タンクの端部に対して交互に取り付けられたことを特徴とする請求項5又は6に記載のガス遮断器。
JP2008248889A 2008-09-26 2008-09-26 ガス遮断器 Expired - Fee Related JP5269534B2 (ja)

Priority Applications (1)

Application Number Priority Date Filing Date Title
JP2008248889A JP5269534B2 (ja) 2008-09-26 2008-09-26 ガス遮断器

Applications Claiming Priority (1)

Application Number Priority Date Filing Date Title
JP2008248889A JP5269534B2 (ja) 2008-09-26 2008-09-26 ガス遮断器

Publications (2)

Publication Number Publication Date
JP2010081759A true JP2010081759A (ja) 2010-04-08
JP5269534B2 JP5269534B2 (ja) 2013-08-21

Family

ID=42211544

Family Applications (1)

Application Number Title Priority Date Filing Date
JP2008248889A Expired - Fee Related JP5269534B2 (ja) 2008-09-26 2008-09-26 ガス遮断器

Country Status (1)

Country Link
JP (1) JP5269534B2 (ja)

Cited By (1)

* Cited by examiner, † Cited by third party
Publication number Priority date Publication date Assignee Title
US9305724B2 (en) 2011-09-20 2016-04-05 Mitsubishi Electric Corporation Circuit breaker

Citations (6)

* Cited by examiner, † Cited by third party
Publication number Priority date Publication date Assignee Title
JPS5354782A (en) * 1976-10-28 1978-05-18 Bbc Brown Boveri & Cie Metallic container sf6 gas insulating switch
JPH02164206A (ja) * 1988-12-15 1990-06-25 Toshiba Corp ガス絶縁開閉装置
JPH07335088A (ja) * 1994-06-07 1995-12-22 Toshiba Corp ガス遮断器とそれを含むガス絶縁開閉装置
JP2001057716A (ja) * 1999-08-18 2001-02-27 Toshiba Corp スイッチギヤ
JP2001307603A (ja) * 2000-04-19 2001-11-02 Hitachi Ltd 真空スイッチ及びそれを用いた真空スイッチギヤ
JP2002152927A (ja) * 2000-11-10 2002-05-24 Toshiba Corp 複合絶縁方式ガス絶縁開閉装置

Patent Citations (6)

* Cited by examiner, † Cited by third party
Publication number Priority date Publication date Assignee Title
JPS5354782A (en) * 1976-10-28 1978-05-18 Bbc Brown Boveri & Cie Metallic container sf6 gas insulating switch
JPH02164206A (ja) * 1988-12-15 1990-06-25 Toshiba Corp ガス絶縁開閉装置
JPH07335088A (ja) * 1994-06-07 1995-12-22 Toshiba Corp ガス遮断器とそれを含むガス絶縁開閉装置
JP2001057716A (ja) * 1999-08-18 2001-02-27 Toshiba Corp スイッチギヤ
JP2001307603A (ja) * 2000-04-19 2001-11-02 Hitachi Ltd 真空スイッチ及びそれを用いた真空スイッチギヤ
JP2002152927A (ja) * 2000-11-10 2002-05-24 Toshiba Corp 複合絶縁方式ガス絶縁開閉装置

Cited By (1)

* Cited by examiner, † Cited by third party
Publication number Priority date Publication date Assignee Title
US9305724B2 (en) 2011-09-20 2016-04-05 Mitsubishi Electric Corporation Circuit breaker

Also Published As

Publication number Publication date
JP5269534B2 (ja) 2013-08-21

Similar Documents

Publication Publication Date Title
JP5791832B2 (ja) ガス絶縁スイッチギヤ
EP3640964A1 (en) Direct-current circuit breaker, mechanical switching device for direct-current circuit breaker and semiconductor switching device for direct current circuit breaker
US20130148268A1 (en) Gas-insulated switchgear arrangement
JP5269534B2 (ja) ガス遮断器
JP3357750B2 (ja) ガス絶縁開閉装置
JP5234092B2 (ja) 避雷器
CN114614391A (zh) 一种适用风电的紧凑型开关设备
JP5546425B2 (ja) ガス絶縁開閉装置
JP4928953B2 (ja) ガス絶縁開閉装置
JP2010016934A (ja) ガス絶縁開閉装置
JP2024165359A (ja) 直流遮断器
US9876336B2 (en) Gas-insulated switching apparatus
JP2008086141A (ja) スイッチギヤ
JP2672666B2 (ja) ガス絶縁開閉装置
CN202172220U (zh) 开关柜
JP5202195B2 (ja) スイッチギヤ
JP2013027062A (ja) ガス絶縁開閉装置
JP5901857B1 (ja) ガス絶縁開閉装置
JP2014079116A (ja) ガス絶縁開閉装置
JPH08308042A (ja) ガス絶縁開閉装置
JPH0898344A (ja) ガス絶縁開閉装置
KR20120108660A (ko) 가스 절연 개폐장치
JPH0488813A (ja) ガス絶縁開閉装置
JP2008029079A (ja) ガス絶縁開閉装置
JPH0793772B2 (ja) ガス絶縁開閉装置

Legal Events

Date Code Title Description
A621 Written request for application examination

Free format text: JAPANESE INTERMEDIATE CODE: A621

Effective date: 20110920

A977 Report on retrieval

Free format text: JAPANESE INTERMEDIATE CODE: A971007

Effective date: 20121109

A131 Notification of reasons for refusal

Free format text: JAPANESE INTERMEDIATE CODE: A131

Effective date: 20121113

A521 Written amendment

Free format text: JAPANESE INTERMEDIATE CODE: A523

Effective date: 20130115

A131 Notification of reasons for refusal

Free format text: JAPANESE INTERMEDIATE CODE: A131

Effective date: 20130129

A521 Written amendment

Free format text: JAPANESE INTERMEDIATE CODE: A523

Effective date: 20130328

TRDD Decision of grant or rejection written
A01 Written decision to grant a patent or to grant a registration (utility model)

Free format text: JAPANESE INTERMEDIATE CODE: A01

Effective date: 20130416

A61 First payment of annual fees (during grant procedure)

Free format text: JAPANESE INTERMEDIATE CODE: A61

Effective date: 20130508

LAPS Cancellation because of no payment of annual fees