JP2010078347A - ブレーカの電流検出器 - Google Patents

ブレーカの電流検出器 Download PDF

Info

Publication number
JP2010078347A
JP2010078347A JP2008244067A JP2008244067A JP2010078347A JP 2010078347 A JP2010078347 A JP 2010078347A JP 2008244067 A JP2008244067 A JP 2008244067A JP 2008244067 A JP2008244067 A JP 2008244067A JP 2010078347 A JP2010078347 A JP 2010078347A
Authority
JP
Japan
Prior art keywords
magnetic core
holder
current detector
hall element
cover
Prior art date
Legal status (The legal status is an assumption and is not a legal conclusion. Google has not performed a legal analysis and makes no representation as to the accuracy of the status listed.)
Granted
Application number
JP2008244067A
Other languages
English (en)
Other versions
JP5150432B2 (ja
Inventor
Koji Konishi
功次 小西
Takashi Yamato
敬史 大和
Toshiyuki Nakagawa
敏幸 中川
Current Assignee (The listed assignees may be inaccurate. Google has not performed a legal analysis and makes no representation or warranty as to the accuracy of the list.)
Kawamura Electric Inc
Original Assignee
Kawamura Electric Inc
Priority date (The priority date is an assumption and is not a legal conclusion. Google has not performed a legal analysis and makes no representation as to the accuracy of the date listed.)
Filing date
Publication date
Application filed by Kawamura Electric Inc filed Critical Kawamura Electric Inc
Priority to JP2008244067A priority Critical patent/JP5150432B2/ja
Publication of JP2010078347A publication Critical patent/JP2010078347A/ja
Application granted granted Critical
Publication of JP5150432B2 publication Critical patent/JP5150432B2/ja
Active legal-status Critical Current
Anticipated expiration legal-status Critical

Links

Images

Landscapes

  • Measuring Instrument Details And Bridges, And Automatic Balancing Devices (AREA)
  • Breakers (AREA)

Abstract

【課題】 ブレーカの線路導体と磁気コアと磁電変換素子との相関位置を固定し、磁電変換素子の出力を安定させ、線路電流を高精度に検出する。
【解決手段】 この電流検出器21は、端子バー22の折曲部31を取り囲むU字形の磁気コア26と、磁気コア26の空隙部36の磁束密度を検出するホール素子が実装されたホール素子基板27と、ホール素子基板27を磁気コア26に対し一定の位置に保持するホルダ28と、磁気コア26の基部39を覆うカバー29と、ホルダ28およびカバー29を端子バー22に共締めするネジ30とを備える。磁気コア26の脚部34をホルダ28の係止溝35に挿入する。ホール素子基板27をホルダ28の定置部37に装着し、ホール素子を磁気コア26の空隙部36に定置する。カバー29に挟持部41を設け、挟着部41と定置部37との間にホール素子基板27を挟持する。
【選択図】 図6

Description

本発明は、ブレーカの線路導体に流れる電流を検出する電流検出器に関する。
ブレーカの電流検出器として、従来、変流器(CT)が広く使用されている。例えば、図11に示す変流器51は、ケース52にコイルを巻いた磁気コアが収められ、貫通孔53に線路導体54が挿通される。また、従来、磁電変換素子を用いた電流検出器も知られている。例えば、特許文献1には、図12に示すように、線路導体62を取り囲む磁気コア63の一部に空隙部64を形成し、空隙部64にホール素子65を挿入した電流検出器61が記載されている。
特開2004−20460号公報
ところが、変流器51は、線路導体54の周囲に大きな設置スペースを必要とするため、ブレーカのケーシングが大形化する問題点があった。これに対し、ホール素子65等の磁電変換素子を用いた電流検出器61は、磁気コア63にコイルを巻く必要がないため、全体を比較的小型に構成できる。しかし、磁電変換素子は、磁気コア63や線路導体62に対する位置が少しでも変わると、出力が大きく変動するため、線路電流の検出精度を安定させることが困難であった。
そこで、本発明の目的は、小型の構成で線路電流を高精度に検出できる電流検出器を提供することにある。
上記課題を解決するために、本発明は、ブレーカの線路導体に流れる電流を検出する電流検出器において、次のような特徴的手段を提供する。
(1)線路導体を取り囲む磁気コアと、磁気コアの空隙部に発生した磁束の密度を検出する磁電変換素子と、磁気コアおよび磁電変換素子を一定の相関位置に保持するホルダと、ホルダを線路導体に組み付ける組付手段とを備えたことを特徴とする電流検出器。
(2)磁気コアをU字形またはC字形に形成し、ホルダに磁気コアの脚部を係止する係止部と、磁電変換素子を磁気コアの空隙部に定置する定置部とを設けたことを特徴とする電流検出器。
(3)磁気コアの基部を覆うカバーを備え、カバーに挟持部を形成し、挟持部と定置部との間に磁電変換素子を挟持したことを特徴とする電流検出器。
(4)組付手段がネジを含み、ネジでホルダとカバーを線路導体に共締めしたことを特徴とする電流検出器。
本発明の電流検出器によれば、磁気コアと磁電変換素子の相関位置をホルダで固定し、ホルダを線路導体に組み付けたので、磁気コアおよび線路導体に対し磁電変換素子を定位置に保持し、磁電変換素子の出力を安定させ、線路電流を高精度に検出できるという効果がある。特に、磁気コアをU字形またはC字形に形成することで、電流検出器の設置スペースを縮小し、ブレーカの小型化を促進できるという効果がある。
以下、本発明の実施形態を図面に基づいて説明する。図1は単相3線式電路用ブレーカの外観を示し、図2は内部機構を示し、図3は電気回路を示す。図4はブレーカ内部における電流検出器の設置形態を示し、図5は電流検出器を線路導体に組み付けた形態を示し、図6は電流検出器の各部を分解して示す。図7,図8は磁気コアとホール素子の相関位置を示し、図9,図10はホルダとカバーの組み合わせを示す。
図1に示すように、この実施例のブレーカ1は、ケーシング2が協約形ブレーカの規定寸法に合わせて形成されている。ケーシング2の上端部には3つの電源側端子3が配設され、下端部に3つの負荷側端子4が配設されている。ケーシング2の前面には、単相3線式電路を手動で開閉するハンドル5と、ブレーカ1の動作状態を表示する表示部6と、表示や動作モードを切り替える手元スイッチ7と、外部操作機器に接続されるLAN配線接続口8とが設けられている。
図2に示すように、ケーシング2の内部には、電路に流れた過電流を遮断するトリップコイル9と、短絡電流を瞬時に遮断する瞬時遮断機構10と、ブレーカ1の主接点11(図3参照)を開閉する開閉機構12とが設置されている。トリップコイル9はハンドル5の側方に配置され、瞬時遮断機構10が表示基板13の下側に配置され、双方の動力が開閉機構12を介して主接点11に伝達される。ケーシング2の背面には電子回路基板14が設けられ、背面カバー(図示略)で覆われている。
図3に示すように、電子回路基板14には、ブレーカ1全体の動作を制御するCPU15と、電流検出器21の出力に基づいて電路20に流れる電流を測定する電流測定部16と、トリップコイル9を時限制御するトリップコイル制御部17と、赤外線リモコンやパソコン等の外部操作機器との通信を制御する通信制御部18とが設けられている。電流検出器21は電路20の二本の電圧線20X,20Y上に設置され、X,Y相の線路導体に流れる電流を検出し、検出信号を電流測定部16に出力する。
図4に示すように、X相の電流検出器21XとY相の電流検出器21Yはそれぞれ同様に構成され、線路導体の一部である左右の負荷側端子4の端子バー22に組み付けられている。端子バー22は金属板を折り曲げて形成され(図6参照)、端子ネジ23により座金24を介して端子バー22に取り付けられている。なお、電流検出器21は、負荷側端子バー22に限定されず、電源側端子バー、または電源側と負荷側の中間部位など、X,Y相の線路導体上の任意の箇所に設置できる。
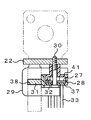
図5、図6に示すように、電流検出器21は磁気コア26、ホール素子基板27、ホルダ28、カバー29およびネジ30から構成されている。図7、図8に示すように、磁気コア26は、パーマロイ(電磁軟鉄)やMn−Zn系フェライト等の磁性材により、端子バー22の折曲部31を取り囲むU字形に形成されている。ホール素子基板27には、磁気コア26の空隙部36に発生した磁束の密度を検出するホール素子32と、ホール素子32を電子回路基板14に接続するリード線33とが設けられている。
図9、図10に示すように、ホルダ28およびカバー29は樹脂で成形されている。ホルダ28は、一対の係止溝35と定置部37とを備え、係止溝35に磁気コア26の脚部34を挿入し、定置部37にホール素子基板27を装着し、ホール素子32が空隙部36に定置されるように、磁気コア26とホール素子基板27とを一定の相関位置に保持している。カバー29には、端子バー22の折曲部31に嵌合する位置決め溝38と、磁気コア26の基部39を覆う被覆部40と、ホール素子32を定置部37との間に挟持する挟持部41とが形成されている。
図6に示すように、ホルダ28の定置部37にはネジ挿通孔42が設けられ、カバー29の挟持部41にボス43とネジ通し孔44とが形成されている。そして、磁気コア26とホール素子基板27をホルダ28に装着し、ホルダ28とカバー29を組み合わせ、ネジ30を挿通孔42、通し孔44、ボス43に通して端子バー22のネジ穴45に締め付け、図5に示すように、ネジ30でホルダ28とカバー29を端子バー22に共締めするようになっている。
上記構成の電流検出器21によれば、次のような作用効果が得られる。
(a)ブレーカ1の線路電流をホール素子32で検出するので、変流器(CT)と比較し、電流検出器21を小型に構成し、ケーシング2内にコンパクトに設置できる。
(b)特に、磁気コア26をU字形に形成したので、電流検出器21が端子バー22の周辺に占めるスペースを縮小し、ケーシング2の小型化を促進できる。
(c)ホール素子32を基板27に実装し、ホール素子基板27と磁気コア26をホルダ28で一定の相関位置に保持したので、ホール素子32の出力を安定させ、線路電流を高精度に検出できる。
(d)また、ホルダ28を端子バー22に組み付けたので、端子バー22に対する磁気コア26とホール素子32の相関位置を固定し、線路電流をより高精度に検出できる。
(e)磁気コア26の脚部34を樹脂製のホルダ28の係止溝35に挿入し、磁気コア26の露出部である基部39を樹脂製のカバー29で被覆したので、外部磁気による影響を少なくし、ホール素子32の電流検出精度を高めることができる。
(f)ホール素子基板27をホルダ28の定置部37とカバー29の挟持部41とで挟み付けたので、磁気コア26の空隙部36にホール素子32を確実に定置し、電流検出精度を長期間安定させることができる。
(g)ホルダ28とカバー29をネジ30で端子バー22に共締めしたので、電流検出器21の複数の部品を端子バー22に容易に一体化でき、このアセンブリーをブレーカ1のケーシング2に簡単に装着できる。
なお、本発明の電流検出器は、単相3線式電路用のブレーカに限定されず、例えば、単相2線式電路、3相3線式電路等に配備されるブレーカにも適用でき、主幹ブレーカ、分岐ブレーカ、電流制限器等の各種回路遮断器に適用することも可能である。また、磁電変換素子としては、ホール素子に限定されず、磁気抵抗素子等も使用できる。その他、磁気コア26をC字形に形成するなど、本発明の趣旨を逸脱しない範囲で、電流検出器各部の構成や形状を任意に変更して実施することも可能である。
本発明の一実施例を示すブレーカの正面図である。 ブレーカの内部機構を示す斜視図である。 ブレーカの電気回路を示すブロック図である。 電流検出器の設置形態を示す負荷側端子部分の正面図である。 電流検出器の全体を示す斜視図である。 電流検出器を分解して示す斜視図である。 磁気コアとホール素子の相関位置を示す正面図である。 磁気コアとホール素子基板の相関位置を示す斜視図である。 図5の9−9線断面図である。 図5の10−10線断面図である。 従来の電流検出器を示す斜視図である。 従来の別の電流検出器を示す正面図である。
符号の説明
1 ブレーカ
21 電流検出器
22 端子バー
26 磁気コア
27 ホール素子基板
28 ホルダ
29 カバー
30 ネジ
32 ホール素子
34 脚部
35 係止溝
36 空隙部
37 定置部
39 基部
40 被覆部
41 挟持部

Claims (4)

  1. ブレーカの線路導体に流れる電流を検出する電流検出器において、線路導体を取り囲む磁気コアと、磁気コアの空隙部に発生した磁束の密度を検出する磁電変換素子と、磁気コアおよび磁電変換素子を一定の相関位置に保持するホルダと、ホルダを線路導体に組み付ける組付手段とを備えたことを特徴とする電流検出器。
  2. 前記磁気コアをU字形またはC字形に形成し、前記ホルダに磁気コアの一対の脚部を係止する係止部と、磁電変換素子を磁気コアの空隙部に定置する定置部とを設けた請求項1記載の電流検出器。
  3. 前記磁気コアの基部を覆うカバーを備え、カバーに挟持部を形成し、挟持部と前記定置部との間に磁電変換素子を挟持した請求項2記載の電流検出器。
  4. 前記組付手段がネジを含み、ネジでホルダとカバーを線路導体に共締めした請求項3記載の電流検出器。
JP2008244067A 2008-09-24 2008-09-24 ブレーカの電流検出器 Active JP5150432B2 (ja)

Priority Applications (1)

Application Number Priority Date Filing Date Title
JP2008244067A JP5150432B2 (ja) 2008-09-24 2008-09-24 ブレーカの電流検出器

Applications Claiming Priority (1)

Application Number Priority Date Filing Date Title
JP2008244067A JP5150432B2 (ja) 2008-09-24 2008-09-24 ブレーカの電流検出器

Publications (2)

Publication Number Publication Date
JP2010078347A true JP2010078347A (ja) 2010-04-08
JP5150432B2 JP5150432B2 (ja) 2013-02-20

Family

ID=42208990

Family Applications (1)

Application Number Title Priority Date Filing Date
JP2008244067A Active JP5150432B2 (ja) 2008-09-24 2008-09-24 ブレーカの電流検出器

Country Status (1)

Country Link
JP (1) JP5150432B2 (ja)

Cited By (5)

* Cited by examiner, † Cited by third party
Publication number Priority date Publication date Assignee Title
JP2013113687A (ja) * 2011-11-28 2013-06-10 Toyota Industries Corp 電流検出装置
JP2014026739A (ja) * 2012-07-24 2014-02-06 Nitto Kogyo Co Ltd 配電機器
JP2014035322A (ja) * 2012-08-10 2014-02-24 Tokai Rika Co Ltd コアホルダ及び電流センサ
JP2014235156A (ja) * 2013-06-05 2014-12-15 株式会社豊田自動織機 電流検出装置
JP2015523847A (ja) * 2012-07-09 2015-08-13 ソーラーボス、インク. 太陽電池パネルにおける逆電流障害の防止

Citations (3)

* Cited by examiner, † Cited by third party
Publication number Priority date Publication date Assignee Title
JPH0451666U (ja) * 1990-09-05 1992-04-30
JPH0686080U (ja) * 1993-05-21 1994-12-13 スタンレー電気株式会社 電流検出装置
JPH07280846A (ja) * 1994-04-15 1995-10-27 Nippon Telegr & Teleph Corp <Ntt> 電流測定部付きブレーカー

Patent Citations (3)

* Cited by examiner, † Cited by third party
Publication number Priority date Publication date Assignee Title
JPH0451666U (ja) * 1990-09-05 1992-04-30
JPH0686080U (ja) * 1993-05-21 1994-12-13 スタンレー電気株式会社 電流検出装置
JPH07280846A (ja) * 1994-04-15 1995-10-27 Nippon Telegr & Teleph Corp <Ntt> 電流測定部付きブレーカー

Cited By (5)

* Cited by examiner, † Cited by third party
Publication number Priority date Publication date Assignee Title
JP2013113687A (ja) * 2011-11-28 2013-06-10 Toyota Industries Corp 電流検出装置
JP2015523847A (ja) * 2012-07-09 2015-08-13 ソーラーボス、インク. 太陽電池パネルにおける逆電流障害の防止
JP2014026739A (ja) * 2012-07-24 2014-02-06 Nitto Kogyo Co Ltd 配電機器
JP2014035322A (ja) * 2012-08-10 2014-02-24 Tokai Rika Co Ltd コアホルダ及び電流センサ
JP2014235156A (ja) * 2013-06-05 2014-12-15 株式会社豊田自動織機 電流検出装置

Also Published As

Publication number Publication date
JP5150432B2 (ja) 2013-02-20

Similar Documents

Publication Publication Date Title
US5943204A (en) Electronic trip unit with dedicated override current sensor
CN101496245B (zh) 配电盘
JP5150432B2 (ja) ブレーカの電流検出器
JP4893358B2 (ja) 漏電遮断器の漏電引外し装置
TW421811B (en) Circuit breaker with a power-on information apparatus
US20060290454A1 (en) Measuring device for measuring differential current, trip module comprising one such measuring device and switchgear unit having one such module
JP2008159456A (ja) 漏電遮断器
JP5116582B2 (ja) 漏電遮断器
CN1637968B (zh) 为用在低压断路器中的电子保护装置供电的装置
JP5731876B2 (ja) 電流検出装置およびこれを用いた電力量計
JP2708988B2 (ja) 電流検出装置
JP2013161752A (ja) 回路遮断器
KR101604279B1 (ko) 직류 회로차단기용 직류 전류 센서
JP4012098B2 (ja) 漏電遮断器
JP2727738B2 (ja) 配線用遮断器
JP5908300B2 (ja) 回路遮断器
JP2785415B2 (ja) 漏電遮断器
JP5922423B2 (ja) 回路遮断器
JP5922426B2 (ja) 回路遮断器
JP7561721B2 (ja) 変流器一体形電流センサおよび遮断器
US11821923B2 (en) Arrangement and switching device with contactless current measuring capability
KR20010027246A (ko) 교류 전류센서 및 이것을 내장하는 전력기기
JP3375277B2 (ja) 漏電遮断器
JP5274958B2 (ja) 瞬時遮断機構を備えたブレーカ
WO1998042001A1 (en) Earth leakage circuit breaker

Legal Events

Date Code Title Description
A621 Written request for application examination

Free format text: JAPANESE INTERMEDIATE CODE: A621

Effective date: 20110829

A977 Report on retrieval

Free format text: JAPANESE INTERMEDIATE CODE: A971007

Effective date: 20120629

A131 Notification of reasons for refusal

Free format text: JAPANESE INTERMEDIATE CODE: A131

Effective date: 20120710

A521 Request for written amendment filed

Free format text: JAPANESE INTERMEDIATE CODE: A523

Effective date: 20120831

TRDD Decision of grant or rejection written
A01 Written decision to grant a patent or to grant a registration (utility model)

Free format text: JAPANESE INTERMEDIATE CODE: A01

Effective date: 20121106

A61 First payment of annual fees (during grant procedure)

Free format text: JAPANESE INTERMEDIATE CODE: A61

Effective date: 20121203

R150 Certificate of patent or registration of utility model

Ref document number: 5150432

Country of ref document: JP

Free format text: JAPANESE INTERMEDIATE CODE: R150

FPAY Renewal fee payment (event date is renewal date of database)

Free format text: PAYMENT UNTIL: 20151207

Year of fee payment: 3

R250 Receipt of annual fees

Free format text: JAPANESE INTERMEDIATE CODE: R250

R250 Receipt of annual fees

Free format text: JAPANESE INTERMEDIATE CODE: R250

R250 Receipt of annual fees

Free format text: JAPANESE INTERMEDIATE CODE: R250

R250 Receipt of annual fees

Free format text: JAPANESE INTERMEDIATE CODE: R250

R250 Receipt of annual fees

Free format text: JAPANESE INTERMEDIATE CODE: R250

R250 Receipt of annual fees

Free format text: JAPANESE INTERMEDIATE CODE: R250

R250 Receipt of annual fees

Free format text: JAPANESE INTERMEDIATE CODE: R250