JP2010076716A - 積載量計測システム - Google Patents

積載量計測システム Download PDF

Info

Publication number
JP2010076716A
JP2010076716A JP2008250164A JP2008250164A JP2010076716A JP 2010076716 A JP2010076716 A JP 2010076716A JP 2008250164 A JP2008250164 A JP 2008250164A JP 2008250164 A JP2008250164 A JP 2008250164A JP 2010076716 A JP2010076716 A JP 2010076716A
Authority
JP
Japan
Prior art keywords
load
power
vehicle
load amount
discharge
Prior art date
Legal status (The legal status is an assumption and is not a legal conclusion. Google has not performed a legal analysis and makes no representation as to the accuracy of the status listed.)
Granted
Application number
JP2008250164A
Other languages
English (en)
Other versions
JP5324873B2 (ja
Inventor
Tetsuji Takamori
徹示 高森
Masahiko Matsumiya
昌彦 松宮
Yuichi Kobayashi
裕一 小林
Current Assignee (The listed assignees may be inaccurate. Google has not performed a legal analysis and makes no representation or warranty as to the accuracy of the list.)
Yazaki Corp
Original Assignee
Yazaki Corp
Priority date (The priority date is an assumption and is not a legal conclusion. Google has not performed a legal analysis and makes no representation as to the accuracy of the date listed.)
Filing date
Publication date
Application filed by Yazaki Corp filed Critical Yazaki Corp
Priority to JP2008250164A priority Critical patent/JP5324873B2/ja
Publication of JP2010076716A publication Critical patent/JP2010076716A/ja
Application granted granted Critical
Publication of JP5324873B2 publication Critical patent/JP5324873B2/ja
Active legal-status Critical Current
Anticipated expiration legal-status Critical

Links

Images

Landscapes

  • Refuse-Collection Vehicles (AREA)

Abstract

【課題】乗員の負担の増大を防止し且つ乗員の誤操作による計測精度の低下を防止する。
【解決手段】走行系と積載系で動力が切り替わり且つ前記積載系に切り替わった動力によって積載物を排出する積載車両に設けられた荷重センサ7と、前記荷重センサ7が出力した前記積載車両に加わる荷重に応じた荷重信号に基づいて積載量を計測する計測手段P1と、前記計測手段P1が計測した積載量を出力する積載量出力手段P2と、を有する積載量計測システムにおいて、前記積載車両における排出の終了を検出する排出終了検出手段P3と、前記排出終了検出手段が排出の終了を検出した後に、前記積載系から前記走行系への動力の復帰を検出する動力復帰検出手段P4と、前記動力復帰検出手段P4による動力の復帰の検出に応じて、前記計測手段P1を初期化する初期化手段P5と、を有することを特徴とする。
【選択図】図1

Description

本発明は、動力が切り替えられたときに積載物を排出する排出手段を有する積載車両に設けられた荷重センサと、前記荷重センサが出力した前記積載車両に加わる荷重に応じた荷重信号に基づいて積載量を計測する計測手段と、前記計測手段が計測した積載量を前記積載車両の乗員に表示する表示手段と、を有する積載量計測システムに関するものである。
車両の積載重量の計測は、主としてトラック等の大型車両を対象とし、例えば過積載による横転等の交通事故や車両劣化の促進を防ぐ目的で行われている。在来の車両の積載重量計測は、俗に看貫(かんかん)と呼ばれる台秤に計測対象の車両を載せて行っていたが、施設が大掛かりで広い設置スペースを必要とするため、設置できる台秤の台数が制限され多くの車両を計測することができない他、設置コストが嵩んでしまう。
そこで、車両自体に搭載して積載重量を計測する自重計(積載量計測装置)が提供されている。車両搭載型の従来の自重計では、例えば、フロント、リアの両アクスル(車軸)のに左右両端部に、例えばひずみ式ゲージセンサ等、重量測定用の荷重センサを取り付け、前後左右の各タイヤに掛る荷重に比例するそれら各荷重センサの出力の合計により積載重量を計測するようにしている。
近年では、過積載防止、資源ごみ分別収集、ごみの料金課金、等の観点からパッカー車(機械式ごみ収集車)への自重計(荷重センサ)の搭載が検討されているが、なかなか実現されていない。そして、特許文献1に示す計測装置は、リセット可能なメモリ手段を設け、積載物を排出したときに、作業員がリセットスイッチを操作してメモリ手段を「0」にリセットする点と、そのリセットスイッチの操作を作業者が忘れた場合に、リセットスイッチの操作のし忘れを報知する点が記載されている。
特開平2−210222号公報
上述した特許文献1は、積載物を排出する際に、メモリ手段のリセットをし忘れたときに警報を行うが、最終的には作業者がリセットスイッチを操作する必要があり、多忙な乗員を煩わせてしまうという問題があった。そして、作業者が手動でリセットする構造であるため、積載物を排出し忘れた状態でもリセットスイッチを操作することが可能となり、積載物の重量測定精度に著しい誤差を与える危険性があった。そして、積載物を排出した後にメモリ手段のリセット操作が忘れられてしまうと、積載物を排出したにもかかわらず、「0」が表示されないという問題が生じてしまう。
また、リセットのタイミングについては、次回の収集開始時(例えば、排出した後のACCのON時等)にリセットすることも考えられるが、荷重センサによる計測精度によっては積載物を排出したにもかかわらず、「0」が表示されないという問題が生じるため、乗員が積載車両の荷箱内を確認しなければならないため、乗員の負担が増大してしまうという問題が生じてしまう。
よって本発明は、上述した問題点に鑑み、乗員の負担の増大を防止し且つ乗員の誤操作による計測精度の低下を防止する積載量計測システムを提供することを課題としている。
上記課題を解決するため本発明によりなされた請求項1記載の積載量計測装置は、図1の基本構成図に示すように、車両系と積載系で動力が切り替わり且つ前記積載系に切り替わった動力によって積載物を排出する積載車両に設けられた荷重センサ7と、前記荷重センサ7が出力した前記積載車両に加わる荷重に応じた荷重信号に基づいて積載量を計測する計測手段P1と、前記計測手段P1が計測した積載量を出力する積載量出力手段P2と、を有する積載量計測システムにおいて、前記積載車両における排出の終了を検出する排出終了検出手段P3と、前記排出終了検出手段が排出の終了を検出した後に、前記積載系から前記車両系への動力の復帰を検出する動力復帰検出手段P4と、前記動力復帰検出手段P4による動力の復帰の検出に応じて、前記計測手段P1を初期化する初期化手段P5と、を有することを特徴とする。
上記請求項1に記載した本発明の積載量計測装置によれば、荷重センサ7が出力した荷重信号に基づいて積載量が計測手段P1によって計測されると、積載量出力手段P2によって該計測量が乗員等に対して出力される。そして、排出終了検出手段P3によって積載車両の排出の終了が検出され、その後、動力復帰検出手段P4によって積載系から車両系への動力の復帰が検出されると、初期化手段P5によって計測手段P1のカウンタ、変数、等が初期化される。
以上説明したように請求項1に記載した本発明の積載量計測装置によれば、積載車両における排出の終了を検出し、その後の積載車両における積載系から車両系への動力の復帰を検出すると、計測手段の初期化を行うようにしたことから、積載物の排出に応じて積載車両の積載量を初期化することができるため、積載物を排出したにもかかわらず、初期値が出力されないという問題を解消することができる。また、積載車両における排出の終了を検出した後に、積載系から車両系に動力が復帰したときに計測手段を初期化するようにしたことから、従来のリセットスイッチ等を排出の終了後に乗員が操作する必要がなくなるため、リセットスイッチ等と乗員の初期化のための操作が不要となり且つ乗員の操作し忘れによる誤差の発生を防止することができる。従って、乗員の負担の増大を防止し且つ乗員の誤操作による計測精度の低下を防止する積載量計測システムを提供することができる。
以下、本発明に係る積載量計測システムの一実施形態を、図2〜図6の図面を参照して以下に説明する。
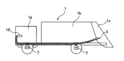
図2及び図3において、積載量計測システム100は、複数の荷重センサ7と、積載量計測装置10と、を有している。積載量計測装置10は、積載車両であるパッカー車1の運転席に表示内容が視認可能に搭載されている。積載量計測装置10は、パッカー車1が停車してから走行開始するまでの間に定められた計測区間、即ち1回の停車中に積載された区間積載量を計測する。
パッカー車1は、図2に示すように、キャブ1aと、荷箱1bと、テールゲート1cと、ACC(accessory)スイッチ2と、テールゲートセンサ3と、PTO(Power Take Off)スイッチ4と、を有している。
なお、本実施形態では、積載車両をパッカー車1とした場合について説明するが、本発明はこれに限定するものではなく、例えば、各種ゴミ収集車等の停車して直ぐに積み卸し作業が行われる特装車両が挙げられる。そして、パッカー車1は、車両系と積載系で動力が切り替わり且つ前記積載系に切り替わった動力によって積載物を排出する。車両系はパッカー車1の走行、動作等、積載系は荷箱1bに対する積載、排出等をそれぞれ意味している。
パッカー車1は、積載場所に停車すると、テールゲート1cを閉じた状態で、作業員によってホッパーに収集されたごみを自動的に荷箱1bに押し込み圧縮する構成となっている。パッカー車1は、クリーンセンターなどの処理施設に収集したごみを搬入し、テールゲート1cを上げ、その開口に向けて押し出し板を移動させることで、荷箱1bの中のごみを全て押し出して排出する。なお、排出構造としては、押し出し板等を用いず、荷箱1bを傾けて排出するなど種々異なる実施形態とすることができる。
ACCスイッチ2は、車両における主に計器やラジオなどの電装品に電力を供給する電気系統であるACC系のスイッチであり、ON状態で計器の照明やオーディオ機器の作動が可能になる。テールゲートセンサ3は、テールゲート1cがOPEN状態であるかCLOSE状態であるかを示す状態(テールゲート)信号を出力する。PTOスイッチ4は、車両の動力を切り替えるスイッチであり、ONされると、収集ごみを自動的に荷箱1bに押し込み圧縮する装置に動力が切り替え、また、OFFされると、動力を車両側に切り替える。
複数の荷重センサ7は、図4に示すように、パッカー車1の前後の車軸1dにおけるタイヤ寄りの左右に設けられた歪み式のセンシング素子となっている。荷重センサ7は、パッカー車1の荷箱1bにおける荷重に応じて変化する車軸1dの歪み量を示すパルス信号を発生する。
積載量計測装置10は、MPU11と、メモリ12と、表示部13と、インタフェース(I/F)部14と、を有して構成している。MPU11には、メモリ12と表示部13とI/F部14とが電気的に接続されている。
MPU11は、周知のように、予め定めたプログラムに従って各種の処理や制御などを行う中央演算処理装置(CPU)11a、CPU11aのためのプログラム等を格納した読み出し専用のメモリであるROM11b、各種のデータを格納するとともにCPU11aの処理作業に必要なエリアを有する読み出し書き込み自在のメモリであるRAM11c等を有して構成している。
ROM11bは、図1に示す請求項中の計測手段P1、積載量出力手段P2、排出終了検出手段P3、動力復帰検出手段P4、初期化手段P5、等の各種手段としてCPU11aを機能させるための各種プログラムを記憶している。
メモリ12は、電力供給が断たれた場合でも、格納された各種データの保持が可能であり、CPU11aの処理作業に必要な各種格納エリアを有する電気的消去/書き換え可能なメモリ(EEPROM)等が用いられる。メモリ部12は、サンプリングした荷重信号の値である荷重データを時系列的に複数記憶するとともに、それらの荷重データに基づいて算出した積載量を記憶する記憶領域を有している。
表示部13は、周知である液晶ディスプレイ、セグメント表示装置等の各種表示装置が用いられる。表示部13は、CPU11aの制御によって計測した積載重量等の各種情報を表示する。そして、I/F部14は、上述したACCスイッチ2、テールゲートセンサ3、PTOスイッチ4、複数の荷重センサ7、等が電気的に接続されており、それらから入力された信号を変換してMPU11に出力する。
I/F部14は、励磁電流の供給により各荷重センサ7を励磁させ、各荷重センサ7の励磁によって生じる交流電圧を検出して直流電圧に変換し、該直流電圧の電圧値に比例した周波数のパルス信号に変換してCPU11aに出力する。そして、CPU11aは、入力されるパルス信号に基づいて周波数を計測して時系列的にメモリ12等に記憶する。
そして、CPU11aは、ROM11b等に予め記憶している計測処理プログラムを実行することで、メモリ12に記憶されている最新の荷重データ、重量換算係数、等に基づいて最新の積載重量を所定時間毎に算出し、該算出結果を計測した積載量としてRAM11c等に記憶する。よって、CPU11aが前記計測手段P1及び前記積載量出力手段P2として機能することになる。
また、I/F部14は、ACCスイッチ2、テールゲートセンサ3、PTOスイッチ4のそれぞれの状態信号をCPU11aに出力する。そして、CPU11aは、各状態信号に基づいて、ACCスイッチ2、テールゲートセンサ3、PTOスイッチ4の各状態を検出する。
次に、上述した積載量計測装置10のCPU11aが実行する自動初期化処理の一例を、図5のフローチャートを参照して以下に説明する。なお、自動初期化処理は、パッカー車1のACCスイッチ2のONに応じて起動され、その後の積載量計測装置10の電源断、上位処理からの強制終了等に応じて処理を終了することを前提としている。
CPU11aによってROM11bに予め記憶された自動初期化処理プログラムが実行されることで、図5に示すステップS11において、I/F部14を介してテールゲートセンサ3及びPTOスイッチ4の各状態信号が取得され、それらの状態信号に基づいて、パッカー車1のテールゲート1cがOPEN、且つ、PTOスイッチ4がON状態(PTO−ON)であるか否かが判定される。テールゲート1cがOPEN且つPTO−ONではないと判定された場合(S11でN)、この判定処理が繰り返される。一方、テールゲート1cがOPEN且つPTO−ONであると判定された場合(S11でY)、ステップS12に進む。
ステップS12(排出終了検出手段に相当)において、I/F部14を介してテールゲートセンサ3からの状態(テールゲート)信号が取得され、該状態信号に基づいてテールゲート1cがCLOSEであるか否かが判定される。テールゲート1cがCLOSEではないと判定された場合(S12でN)、この判定処理を繰り返すことで、テールゲート1cのCLOSEを待つ。一方、テールゲート1cがCLOSEであると判定された場合(S12でY)、ステップS13に進む。
ステップS13(動力復帰検出手段に相当)において、I/F部14を介してPTOスイッチ4の状態信号が取得され、該状態信号に基づいてPTOスイッチ4がOFF状態(PTO−OFF)であるか否かが判定される。PTO−OFFではないと判定された場合(S13でN)、この判定処理を繰り返すことで、PTO−OFFを待つ。一方、PTO−OFFであると判定された場合(S13でY)、ステップS14(初期化手段に相当)において、メモリ12の積載量がリセットされることで、積載量に初期値である「0」が設定され、その後ステップS11に戻り、一連の処理が繰り返される。
以上の説明からも明らかなように、CPU11aが自動初期化処理プログラムを実行することで、図1に示す請求項中の排出終了検出手段P3、動力復帰検出手段P4、初期化手段P5として機能する。
次に、上述した構成の積載量計測システム100の本発明に係る動作(作用)の一例を、図6等の図面を参照して以下に説明する。
積載量計測装置10は、ACCスイッチ2のON操作等によって起動されると、状態ST1に遷移して、複数の荷重センサ7から入力される荷重信号を所定のサンプリング間隔でサンプリングして積載量を計測し、その計測結果を表示部13に表示(出力)する。そして、パッカー車1が集積場所等で停車した後、PTOスイッチ4がONされると、パッカー車1のホッパーに収集されたごみを自動的に荷箱1bに押し込み圧縮する駆動装置(図示せず)にパッカー車1の動力が切り替わる。そして、積載量計測装置10はそのPTO−ONの検出に応じて状態ST2に遷移して、荷箱1bへの積載物の積載作業に応じて変化する荷重信号を、所定のサンプリング間隔で計測して積載量を表示部13に表示する。これにより、表示部13には積載作業に応じて変化する積載量が逐次表示される。
積載量計測装置10は、状態ST2においてPTOスイッチ4がOFFされたことを検出すると、状態ST1に遷移し、また、状態ST2においてテールゲート1cがOPENしたことを検出すると、状態ST3−1に遷移して、表示部13にテールゲート1cがオープンされていることを表示する。積載量計測装置10は、状態ST3−1においてPTOスイッチ4がOFFされると、状態ST1に遷移し、また、状態ST3−1においてテールゲート1cの開口スイッチ等の操作によってテールゲート1cがCLOSEしたことを検出すると、状態ST3−2に遷移する。
積載量計測装置10は、状態STST3−2においてテールゲート1cがOPENしたことを検出すると、状態ST3−1に遷移する。また、積載量計測装置10は、状態STST3−2においてPTOスイッチ4がOFFされたことを検出すると、リセット状態ST4に遷移して、メモリ12の積載量に初期値(例えば「0」等)が設定して、状態ST1に遷移する。そして、積載量計測装置10は、状態ST1において、メモリ12の積載量を表示部13に表示(出力)するため、乗員はその表示部13を参照することで、荷箱1b内を確認しなくても、荷箱1b内が空になったことを確認することができる。
以上説明した積載量計測システム100によれば、パッカー車1における排出の終了を検出し、その後のパッカー車1における積載系から走行系への動力の復帰を検出すると、メモリ12における積載量の初期化を行うようにしたことから、積載物の排出に応じてパッカー車1の積載量を初期化することができるため、積載物を排出したにもかかわらず、初期値が出力されないという問題を解消することができる。また、パッカー車1における排出の終了を検出した後に、積載系から走行系に動力が復帰したときに計測手段を初期化するようにしたことから、従来のリセットスイッチ等を排出の終了後に乗員が操作する必要がなくなるため、リセットスイッチ等と乗員の初期化のための操作が不要となり且つ乗員の操作し忘れによる誤差の発生を防止することができる。従って、乗員の負担の増大を防止し且つ乗員の誤操作による計測精度の低下を防止する積載量計測システム100を提供することができる。
なお、上述した本実施形態では、パッカー車1における排出の終了をテールゲートセンサ3からの状態信号に基づいて検出する場合について説明したが、本発明はこれに限定するものではなく、テールゲート1cの開口スイッチに基づいて検出するなど種々異なる実施形態とすることができる。
このように上述した実施例は本発明の代表的な形態を示したに過ぎず、本発明は、実施形態に限定されるものではない。即ち、本発明の骨子を逸脱しない範囲で種々変形して実施することができる。
本発明の積載量計測システムの基本構成を示す構成図である。 本発明に係る積載量計測システムの概略構成の一例を示す構成図である。 積載車両の概略構成の一例を示す構成図である。 図3の積載車両の底面における概略構成を説明するための図である。 図2のCPUが実行する自動初期化処理の一例を示すフローチャートである。 積載量計測システムの本発明に係る状態遷移の一例を示す状態遷移図である。
符号の説明
1 積載車両(パッカー車)
4 PTOスイッチ
7 荷重センサ
10 積載量計測装置
13 表示部
P1 計測手段
P2 積載量出力手段
P3 排出終了検出手段
P4 動力復帰検出手段
P5 初期化手段

Claims (1)

  1. 車両系と積載系で動力が切り替わり且つ前記積載系に切り替わった動力によって積載物を排出する積載車両に設けられた荷重センサと、前記荷重センサが出力した前記積載車両に加わる荷重に応じた荷重信号に基づいて積載量を計測する計測手段と、前記計測手段が計測した積載量を出力する積載量出力手段と、を有する積載量計測システムにおいて、
    前記積載車両における排出の終了を検出する排出終了検出手段と、
    前記排出終了検出手段が排出の終了を検出した後に、前記積載系から前記車両系への動力の復帰を検出する動力復帰検出手段と、
    前記動力復帰検出手段による動力の復帰の検出に応じて、前記計測手段を初期化する初期化手段と、
    を有することを特徴とする積載量計測システム。
JP2008250164A 2008-09-29 2008-09-29 積載量計測システム Active JP5324873B2 (ja)

Priority Applications (1)

Application Number Priority Date Filing Date Title
JP2008250164A JP5324873B2 (ja) 2008-09-29 2008-09-29 積載量計測システム

Applications Claiming Priority (1)

Application Number Priority Date Filing Date Title
JP2008250164A JP5324873B2 (ja) 2008-09-29 2008-09-29 積載量計測システム

Publications (2)

Publication Number Publication Date
JP2010076716A true JP2010076716A (ja) 2010-04-08
JP5324873B2 JP5324873B2 (ja) 2013-10-23

Family

ID=42207645

Family Applications (1)

Application Number Title Priority Date Filing Date
JP2008250164A Active JP5324873B2 (ja) 2008-09-29 2008-09-29 積載量計測システム

Country Status (1)

Country Link
JP (1) JP5324873B2 (ja)

Cited By (2)

* Cited by examiner, † Cited by third party
Publication number Priority date Publication date Assignee Title
JP2012233813A (ja) * 2011-05-06 2012-11-29 Taiyo Nippon Sanso Corp 自動計量装置
JP2021188901A (ja) * 2020-05-25 2021-12-13 矢崎エナジーシステム株式会社 荷重測定装置及び荷重測定プログラム

Citations (6)

* Cited by examiner, † Cited by third party
Publication number Priority date Publication date Assignee Title
JPS6187746U (ja) * 1984-11-15 1986-06-09
JPS62171803A (ja) * 1986-01-23 1987-07-28 富士車輌株式会社 塵芥収集車の安全装置
JPH02210222A (ja) * 1989-02-10 1990-08-21 Kyokuto Kaihatsu Kogyo Co Ltd 車両における計量装置
JPH07209065A (ja) * 1994-01-14 1995-08-11 Sekisui Chem Co Ltd 廃物収集作業車
JP2000121419A (ja) * 1998-10-09 2000-04-28 Yazaki Corp 車両用積載重量検出装置
JP2001261106A (ja) * 2000-03-24 2001-09-26 Fuji Heavy Ind Ltd 塵芥収集車の塵芥積載重量計測方法

Patent Citations (6)

* Cited by examiner, † Cited by third party
Publication number Priority date Publication date Assignee Title
JPS6187746U (ja) * 1984-11-15 1986-06-09
JPS62171803A (ja) * 1986-01-23 1987-07-28 富士車輌株式会社 塵芥収集車の安全装置
JPH02210222A (ja) * 1989-02-10 1990-08-21 Kyokuto Kaihatsu Kogyo Co Ltd 車両における計量装置
JPH07209065A (ja) * 1994-01-14 1995-08-11 Sekisui Chem Co Ltd 廃物収集作業車
JP2000121419A (ja) * 1998-10-09 2000-04-28 Yazaki Corp 車両用積載重量検出装置
JP2001261106A (ja) * 2000-03-24 2001-09-26 Fuji Heavy Ind Ltd 塵芥収集車の塵芥積載重量計測方法

Cited By (3)

* Cited by examiner, † Cited by third party
Publication number Priority date Publication date Assignee Title
JP2012233813A (ja) * 2011-05-06 2012-11-29 Taiyo Nippon Sanso Corp 自動計量装置
JP2021188901A (ja) * 2020-05-25 2021-12-13 矢崎エナジーシステム株式会社 荷重測定装置及び荷重測定プログラム
JP7582793B2 (ja) 2020-05-25 2024-11-13 矢崎エナジーシステム株式会社 荷重測定装置及び荷重測定プログラム

Also Published As

Publication number Publication date
JP5324873B2 (ja) 2013-10-23

Similar Documents

Publication Publication Date Title
JP2009184639A (ja) 車両システム
US9933294B1 (en) Vehicle load indicator
CN202171500U (zh) 一种车辆在途重量变化监测系统
JP5115857B2 (ja) 積載量計測装置及び積載量計測システム
US11505246B2 (en) Trailer jackknife warning system with corrective steering indicator
JP5798363B2 (ja) 荷崩れ予報装置
JP5324873B2 (ja) 積載量計測システム
JP5138438B2 (ja) ホイールローダの積載荷重計測装置及び積載荷重計測方法
CN103648871B (zh) 用于车辆的电子制动控制装置以及诊断仪器和接收站
CN111465950B (zh) 控制机动车辆的导航的系统和方法
JP5203119B2 (ja) 積載量計測装置及び積載量計測システム
JP2005029130A (ja) タイヤ摩耗警告装置
US20080180236A1 (en) Method for controlling a power-operated vehicle accessory, in particular a power-operated folding hardtop roof
JP6454060B2 (ja) 操作装置
WO2017182768A1 (en) Apparatus for use in determining the weight of a trailer and the goods located therein
JP4530466B2 (ja) 塵芥収集車の塵芥積載重量計測方法
EP2072294A1 (en) Method and system for detecting the load of a vehicle equipped with non-pneumatic suspensions
JP7582793B2 (ja) 荷重測定装置及び荷重測定プログラム
JP5711529B2 (ja) 運行記録装置及びその表示制御方法
CN109827707A (zh) 翻斗车平衡检测方法、计算机装置及计算机可读存储介质
JPH0643227A (ja) 電気車のバッテリ稼働残時間表示装置
KR200479800Y1 (ko) 덤프트럭용 자동 기록장치
US11752937B2 (en) Sensor-based trim element warning system, associated vehicle and method
CN222528760U (zh) 一种具有监控功能的地磅装置
KR19990012705A (ko) 운행기록 데이터 저장방법 및 저장장치

Legal Events

Date Code Title Description
A621 Written request for application examination

Free format text: JAPANESE INTERMEDIATE CODE: A621

Effective date: 20110802

A711 Notification of change in applicant

Free format text: JAPANESE INTERMEDIATE CODE: A712

Effective date: 20120926

RD03 Notification of appointment of power of attorney

Free format text: JAPANESE INTERMEDIATE CODE: A7423

Effective date: 20120927

RD04 Notification of resignation of power of attorney

Free format text: JAPANESE INTERMEDIATE CODE: A7424

Effective date: 20121005

A977 Report on retrieval

Free format text: JAPANESE INTERMEDIATE CODE: A971007

Effective date: 20121228

A131 Notification of reasons for refusal

Free format text: JAPANESE INTERMEDIATE CODE: A131

Effective date: 20130122

A521 Request for written amendment filed

Free format text: JAPANESE INTERMEDIATE CODE: A523

Effective date: 20130306

TRDD Decision of grant or rejection written
A01 Written decision to grant a patent or to grant a registration (utility model)

Free format text: JAPANESE INTERMEDIATE CODE: A01

Effective date: 20130625

A61 First payment of annual fees (during grant procedure)

Free format text: JAPANESE INTERMEDIATE CODE: A61

Effective date: 20130719

R150 Certificate of patent or registration of utility model

Ref document number: 5324873

Country of ref document: JP

Free format text: JAPANESE INTERMEDIATE CODE: R150

Free format text: JAPANESE INTERMEDIATE CODE: R150

R250 Receipt of annual fees

Free format text: JAPANESE INTERMEDIATE CODE: R250

R250 Receipt of annual fees

Free format text: JAPANESE INTERMEDIATE CODE: R250

R250 Receipt of annual fees

Free format text: JAPANESE INTERMEDIATE CODE: R250

R250 Receipt of annual fees

Free format text: JAPANESE INTERMEDIATE CODE: R250

R250 Receipt of annual fees

Free format text: JAPANESE INTERMEDIATE CODE: R250

R250 Receipt of annual fees

Free format text: JAPANESE INTERMEDIATE CODE: R250

R250 Receipt of annual fees

Free format text: JAPANESE INTERMEDIATE CODE: R250

S531 Written request for registration of change of domicile

Free format text: JAPANESE INTERMEDIATE CODE: R313531

R350 Written notification of registration of transfer

Free format text: JAPANESE INTERMEDIATE CODE: R350

R250 Receipt of annual fees

Free format text: JAPANESE INTERMEDIATE CODE: R250

R250 Receipt of annual fees

Free format text: JAPANESE INTERMEDIATE CODE: R250

R250 Receipt of annual fees

Free format text: JAPANESE INTERMEDIATE CODE: R250