JP2010076459A - モニタ装置の支持具 - Google Patents

モニタ装置の支持具 Download PDF

Info

Publication number
JP2010076459A
JP2010076459A JP2008243442A JP2008243442A JP2010076459A JP 2010076459 A JP2010076459 A JP 2010076459A JP 2008243442 A JP2008243442 A JP 2008243442A JP 2008243442 A JP2008243442 A JP 2008243442A JP 2010076459 A JP2010076459 A JP 2010076459A
Authority
JP
Japan
Prior art keywords
shaft rod
side shaft
end side
base
monitor device
Prior art date
Legal status (The legal status is an assumption and is not a legal conclusion. Google has not performed a legal analysis and makes no representation as to the accuracy of the status listed.)
Granted
Application number
JP2008243442A
Other languages
English (en)
Other versions
JP5156561B2 (ja
Inventor
Toru Yamana
徹 山名
Joji Morota
讓治 諸田
Current Assignee (The listed assignees may be inaccurate. Google has not performed a legal analysis and makes no representation or warranty as to the accuracy of the list.)
Murakami Corp
Original Assignee
Murakami Corp
Priority date (The priority date is an assumption and is not a legal conclusion. Google has not performed a legal analysis and makes no representation as to the accuracy of the date listed.)
Filing date
Publication date
Application filed by Murakami Corp filed Critical Murakami Corp
Priority to JP2008243442A priority Critical patent/JP5156561B2/ja
Publication of JP2010076459A publication Critical patent/JP2010076459A/ja
Application granted granted Critical
Publication of JP5156561B2 publication Critical patent/JP5156561B2/ja
Expired - Fee Related legal-status Critical Current
Anticipated expiration legal-status Critical

Links

Images

Landscapes

  • Pivots And Pivotal Connections (AREA)
  • Fittings On The Vehicle Exterior For Carrying Loads, And Devices For Holding Or Mounting Articles (AREA)
  • Hooks, Suction Cups, And Attachment By Adhesive Means (AREA)

Abstract

【課題】モニタ装置の上下方向の向きを所定状態に維持したままモニタ装置の高さ位置を広い範囲で調整できるようにした支持具を提供する。
【解決手段】支持具10はベース部12、回動部14、モニタ取付部16を具える。ベース部12はモニタ装置を設置しようとする箇所に装着される。回動部14はベース部12に、回動軸18を中心に90°以上の角度範囲で回動自在に連結支持されている。回動部14の先端部にはモニタ取付部16が回動軸20を中心に90°以上の角度範囲で回動自在に連結支持される。モニタ取付部16にはモニタ装置25が装着される。回動部14は、互いに間隙を隔てて配置される左右のアーム58,60の両端部間を互いに平行に配置される基端部側軸棒62と自由端部側軸棒64でそれぞれ繋いで全体として枠状に構成されている。
【選択図】図1

Description

この発明はモニタ装置を設置するための支持具に関し、モニタ装置の上下方向の向きを所定状態に維持したままモニタ装置の高さ位置を広い範囲で調整できるようにしたものである。
例えば車載用のモニタ装置の支持具はモニタ装置を車内に設置支持した状態で該モニタ装置の高さ位置や角度を運転者等が広い範囲で調整できる必要がある。従来の車載用のモニタ装置の支持具として下記特許文献1,2に記載されたものがあった。特許文献1,2記載の支持具はいずれもモニタ装置を吸盤を用いて車内の設置箇所に設置したものである。このうち特許文献1記載の支持具は設置箇所に装着されるベース部分にレバーの下端部を連結し、該レバーの上端部にモニタ装置を上下方向に傾動自在に連結したものである。特許文献2記載の支持具は設置箇所に装着されるベース部にレバーの下端部を回動自在に連結し、該レバーの上端部にモニタ装置をピボット(球による連結構造)で傾動自在に連結したものである。
特開2007−154933号公報 特開2007−285485号公報
特許文献1記載の支持具によれば、レバーは吸盤の吸着状態を保持するために常に起立状態で使用されるため、モニタ装置の高さ位置を調整することはできない。したがってモニタ装置はレバーの上端部位置で上下方向の角度を調整できるのみであり、運転者等が望む高さ位置に調整することはできない。これに対し特許文献2記載の支持具によれば、レバーをベース部分に対し回動させることによりモニタ装置の高さ位置を調整することができるが、ピボットによる支持構造は傾動可能な角度範囲が狭いため、モニタ装置の上下方向の向きを所定状態に維持したままモニタ装置の高さ位置を広い範囲で調整することはできなかった。
この発明は上述の点に鑑みてなされたもので、モニタ装置の上下方向の向きを所定状態に維持したままモニタ装置の高さ位置を広い範囲で調整できるようにしたモニタ装置の支持具を提供しようとするものである。
この発明はモニタ装置を設置しようとする箇所に装着されるベース部と、互いに間隙を隔てて配置される左右のアームの両端部間を互いに平行に配置される基端部側軸棒と自由端部側軸棒でそれぞれ繋いで全体として枠状に構成された回動部とを具備し、前記基端部側軸棒は前記ベース部に該基端部側軸棒の軸回り方向に回動自在に支持され、もって前記回動部は該ベース部に該基端部側軸棒の軸回り方向に回動自在に支持され、前記自由端部側軸棒は前記モニタ装置を該自由端部側軸棒の軸回り方向に回動自在に支持するものである。これによれば基端部側軸棒はベース部に該基端部側軸棒の軸回り方向に回動自在に支持され、自由端部側軸棒はモニタ装置を該自由端部側軸棒の軸回り方向に回動自在に支持するので、モニタ装置を自由端部側軸棒の軸回り方向に回動させてモニタ装置の上下方向の向きを所定状態に維持したまま、回動部を基端部側軸棒の軸回り方向に回動に回動させることによりモニタ装置の高さ位置を広い範囲で調整することができる。
この発明は前記基端部側軸棒は前記ベース部内に通されて、前記回動部は前記左右のアームで前記ベース部材の上部を跨ぎながら回動するように構成することができる。またこの発明は前記基端部側軸棒がその軸方向中間位置に大径部を有し、前記ベース部は該ベース部内で前記大径部を挟み込むことにより該挟み込みによる摩擦力で前記回動部を任意の回動角度に保持するように構成することができる。この場合、前記大径部が球状に形成され、前記基端部側軸棒が少なくとも、該球の中心を通り該支持具の前後方向に延びる軸の回り方向に揺動自在に前記ベース部に支持されているものとすることができる。またこの発明は前記自由端部側軸棒に該自由端部側軸棒の軸回り方向に回動自在に連結支持されたモニタ取付部をさらに具備し、前記モニタ装置が前記モニタ取付部を介して前記自由端部側軸棒に支持され、該モニタ取付部が前記モニタ装置を少なくとも、該支持具の前後方向に延びる軸の回り方向に傾動自在に支持するものとすることができる。この場合前記モニタ取付部が前記自由端部側軸棒に該自由端部側軸棒の軸回り方向に回動自在に連結支持された第二回動部と、該第二回動部にピボットで傾動自在に連結支持された据付部とを具備し、前記モニタ装置は該据付部に装着されるものとすることができる。
さらにこの発明は前記ベース部の上面に前記基端部側軸棒を支持する凹所が形成され、該凹所に該基端部側軸棒を収容した状態で該基端部側軸棒に上方から被さるように該ベース部の上面に押さえ板が被せられ、該押さえ板は該ベース部の上面にねじ止めされ、もって該基端部側軸棒は該ベース部に該基端部側軸棒の軸回り方向に回動自在に支持されるものとすることができる。この場合前記ベース部は吸着面を下方に露出させた吸盤と該吸盤を上方から覆うカバーを有し、前記吸盤の上面中央部に引き棒が立設され、該引き棒は前記カバーを貫通して上方に突出し、該引き棒の該突出した部分には前記押さえ板に被さる蓋部が回動自在に連結され、該蓋部の基端部には前記カバーの上面に当接するカム部が形成され、前記吸盤を前記設置箇所の面に吸着させて前記蓋部を閉位置方向に回動させたときに、該蓋部の前記カム部と前記カバーの上面との当接により前記引き棒が引き上げられ、該引き上げに連動して前記吸盤の中央部が引き上げられて、該吸盤と被吸着面との間に形成されている空間が負圧化されて吸着力が発生するように構成することができる。
この発明は前記自由端部側軸棒を中心とした前記モニタ装置の回動により該モニタ装置の上下方向の向きを所定状態に維持したまま、前記回動部が前記基端部側軸棒を中心として90°以上回動可能とすることができる。
この発明の実施の形態を説明する。この実施の形態ではこの発明を車載モニタ装置の支持具(車載用モニタスタンド)に適用した場合について説明する。
《実施の形態1》
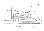
この発明の実施の形態1を説明する。はじめに図2を参照してこの実施の形態による支持具10の概要を説明する。支持具10はベース部12、回動部14、モニタ取付部16を具える。ベース部12は自動車の車室内でモニタ装置を設置しようとする箇所に、内蔵する吸盤30(図1)を用いて装着される。回動部14はベース部12に、回動軸18を中心に90°以上の角度範囲で回動自在に連結支持されている。回動軸18はベース部12の凹所28(図1)の開口端面が属する平面に対し平行に配置されている。モニタ取付部16は回動部14の先端部に、回動軸20を中心に90°以上の角度範囲で回動自在に連結支持された第二回動部22と、第二回動部22の中央部上面に形成されたピボット23(図1)に連結支持された据付部24を具える。回動軸20は回動軸18に対し平行に配置されている。据付部24の前面24aにはカーナビゲーションシステムの表示装置を構成する液晶ディスプレイ等によるモニタ装置25(図1、図3)がねじを用いて着脱自在に装着される。以上の構成によれば、ベース部12をダッシュボード上に吸盤30で装着した状態で、回動部14を回動軸18を中心に回動させることによりモニタ装置25の高さ位置が調整される。このとき回動部14はベース部12に対し、調整された回動角度に保持される。また第二回動部22を回動軸20を中心に回動させることによりモニタ装置25の上下方向の角度が調整される。このとき第二回動部22は回動部14に対し、調整された回動角度に保持される。また据付部24をピボット23を中心に傾動させることによりモニタ装置25の傾きが調整される。このとき据付部24は第二回動部22に対し、調整された傾動角度に保持される。
次に支持具10の各部の詳細構成を主に図1を参照して説明する。ベース部12は硬質合成樹脂、金属等で構成されたカバー26を具える。カバー26は下方に開口する凹所28を有する。凹所28には吸盤30が収容配置される。吸盤30の吸着面32は下方に向けられている。吸盤30の吸着面32の全面には粘着性のある高分子ゲル層として高分子ゲルシート33が高分子ゲルシート33自身の粘着性を利用して着脱自在に貼り付けられている。高分子ゲルシート33が貼り付けられた吸盤30は吸盤作用によりダッシュボード等の被吸着面35に吸着する。このとき高分子ゲルシート33は被吸着面35に粘着して吸盤30による吸着力を保持して該吸着状態を長期間にわたり維持する働きをする。
高分子ゲルシート33の面内の内周側寄りの位置には周方向に異なる複数位置および径方向に異なる複数位置に複数個の空気抜き穴33aが形成されている。この空気抜き穴33aの存在により、高分子ゲルシート33を吸盤30の吸着面32に貼り付けるときに、吸着面32と高分子ゲルシート33の間の空気をこの空気抜き穴33aを通して抜くことができ、これにより高分子ゲルシート33による十分な吸着力保持効果を得ることができる。また長年の使用等により高分子ゲルシート33が劣化して高分子ゲルシート33を新品に交換するときにも、吸着面32と新しい高分子ゲルシート33との間の空気をこの空気抜き穴33aを通して容易に抜くことができるので、交換後も高分子ゲルシート33による十分な吸着力保持効果を得ることができる。また高分子ゲルシート33の面内の外周側寄りの位置には周方向に均等の間隔で4個の位置ズレ防止穴33bが形成されている。この位置ズレ防止穴33bには吸盤30の吸着面32に形成された位置ズレ防止凸部30aが嵌め込まれる。これにより支持具10を被吸着面35に装着するときあるいは装着後の通常使用時等に高分子ゲルシート33が吸着面32に対してずれるのが防止される。
高分子ゲルシート33における空気抜き穴33aと位置ズレ防止穴33bの配置パターン例を図4に示す。高分子ゲルシート33は吸盤30と同等の外形を有する。この実施の形態の吸盤30は円形であり、高分子ゲルシート33は吸盤30と同一外径の円形に構成されている。空気抜き穴33aは2つの径方向位置に同心円状に配置されている。このうち内周側の空気抜き穴33aは周方向に均等間隔で4個配置されている。また外周側の空気抜き穴33aは周方向に均等間隔で8個配置されている。内周側の4個の空気抜き穴33aと外周側の8個の空気抜き穴33aの一部は同一周方向位置で放射状に配列されている。位置ズレ防止穴33bは空気抜き穴33aよりも外周側の1つの径方向位置に周方向に均等間隔で4個配置されている。
図1において、吸盤30の周縁部上面30bはその全周がカバー26の周縁部下面26aに当接支持される。カバー26の最外周部には吸盤30の外周縁部を包囲して隠す縁部26bが下方に向けて全周にわたり突出形成されている。カバー26の外周部にはベース部12を被吸着面35から外すときに指をかけるための隆起部26cが2箇所に形成されている。吸盤30の中央部には硬質合成樹脂、金属等で構成された円盤40が埋め込まれている。円盤40の中央部上面には円盤40と一体に、扁平な横断面形状を有する引き棒42が上方に突出して形成されている。引き棒42はカバー26の上面中央部に形成された穴44に通されてカバー26の上方に突出している。引き棒42はカバー26に対し上下方向に移動可能とされている。引き棒42の上部には蓋部46が軸棒48で回動自在に連結され、これにより蓋部46は軸棒48の中心を通る回動軸50を中心に回動自在とされている。回動軸50は回動軸18,20と平行に配置されている。蓋部46はカバー26上に露出する押さえ板54およびねじ56の頭部を隠す機能と、蓋部46の基端部に構成されているカム部57(図5、図6、図7)とカバー26の上面との当接により引き棒42をカバー26に対し引き上げる機能を有する。カバー26の上面には回動部14の基端部側軸棒62の下側半分を収容して支持する凹部52が形成されている。カバー26の上面には基端部側軸棒62の上側半分を収容する押さえ板54が4本のねじ56により固定されている。4本のねじ56はカバー26を貫通してカバー26の凹所28内でナット(図示せず)にねじ込まれて固定される。これにより基端部側軸棒62はその中心軸を通る回動軸18を中心に回動自在にベース部12に支持される。押さえ板54と4本のねじ56は、蓋部46を閉位置に回動させることにより外部から隠されて見えなくなる。
カバー26の上面中央部には金属板59が埋め込まれている。金属板59の中央部にはカバー26に形成された穴44に連通する穴59aが形成され、この穴59aには引き棒42が通されている。蓋部46の基端部に構成されているカム部57(図5、図6、図7)は、蓋部46を閉位置方向に回動させることにより金属板59の表面に当接して引き棒42を吸盤30の中央部を伴って引き上げる。
回動部14は図3に明確に示されているように、互いに間隙を隔てて配置された左右のアーム58,60と、アーム58,60の基端部間を相互に連結する基端部側軸棒62と、アーム58,60の自由端部間を相互に連結する自由端部側軸棒64を具え、全体として矩形の枠状に構成されている。この実施の形態ではアーム58,60と基端部側軸棒62は硬質合成樹脂で一体に構成されている。基端部側軸棒62の軸方向中央部には球状に膨出した大径部66が形成されている。大径部66は基端部側軸棒62の一部を大径にすることにより、基端部側軸棒62とカバー26および押さえ板54との間に生じる摩擦力を大きくする働きをするものである。この摩擦力により回動部14はモニタ装置25の荷重により下方に回動するのが防止される。基端部側軸棒62とカバー26および押さえ板54との間に生じる摩擦力は、押さえ板54をカバー26に装着する4本のねじ56を前記ナットにねじ込むねじ込み量により調整することができる。したがってこのねじ込み量によりこの摩擦力を適度な大きさに予め設定しておくことにより、運転者等はモニタ装置25に手で力を加えてベース部12に対する回動部14の回動位置(つまりモニタ装置25の高さ位置)を調整することができ、この調整した回動位置は保持される。
回動部14の自由端部側軸棒64はこの実施の形態では、少なくとも先端部にねじ部が形成された金属製のねじ棒で構成されている。このねじ棒64はアーム60の自由端部側面に形成された穴70から第二回動部22に形成された穴72を経てアーム58の自由端部側面に形成された穴68に通される。ねじ棒64の先端部はアーム58の穴68から突出し、この突出したねじ部をナット74にねじ込むことによりねじ棒64はアーム58,60間に取り付けられる。このとき第二回動部22はアーム58,60間に挟み込まれた状態となる。この状態でナット74に対するねじ棒64のねじ込み量を加減することにより、アーム58,60が第二回動部22を挟み込む力が変化し、これによりアーム58,60と第二回動部22との当接面の摩擦力が変化する。したがってナット74に対するねじ棒64のねじ込み量によりこの摩擦力を適度な大きさに予め設定しておくことにより、運転者等はモニタ装置25に手で力を加えて回動部14に対する第二回動部22の回動位置を調整することができ、この調整した回動位置は保持される。
モニタ取付部16の第二回動部22は硬質合成樹脂、金属等で構成される。第二回動部22の中央部上面には図1に明確に示されているように球状のピボット23が第二回動部22と一体に形成されている。ピボット23は据付部24の下面に形成された球形凹状のピボット受け76に上側半分が収容される。ピボット23の基部78には金属製のピボット押さえリング80が緩く嵌められている。ピボット押さえリング80は据付部24の下面に形成された凹所24cに収容されて、据付部24に下側から差し込まれる2本のねじ82(図3)により据付部24の下面に装着される。2本のねじ82は据付部24の上面でナット84(図3)にそれぞれねじ込まれて留められる。このようにして据付部24はピボット23により各方向に傾動自在に第二回動部22に連結される。この状態でナット84に対するねじ82のねじ込み量を加減することによりピボット23に対するピボット押さえリング80の押圧力が変化し、これによりピボット23とピボット受け76およびピボット押さえリング80との間の摩擦力が変化する。したがってナット84に対するねじ82のねじ込み量によりこの摩擦力を適度な大きさに予め設定しておくことにより、運転者等はモニタ装置25に手で力を加えて第二回動部22に対する据付部24の傾動位置を調整することができ、この調整した傾動位置は保持される。モニタ装置25は据付部24に形成された穴24bに通されるねじ(図示せず)により据付部24の前面24aに着脱自在に装着される。
以上の構成の支持具10をダッシュボード等の被吸着面35に装着する手順について説明する。被吸着面35に装着する前は図5に示すように蓋部46を開位置にする。この状態で支持具10を被吸着面35の所望位置に載置する。次いで蓋部46の上方に向いて露出している内面部分46aを指で下方に強く押下して引き棒42を押し下げる。こうすることにより吸盤30の中央部が押し下げられて高分子ゲルシート33と被吸着面35との間の空間86(図1)の空気が排出されて高分子ゲルシート33が被吸着面35に広い面積で粘着する。このときの状態を図6に示す。この状態からさらに蓋部46を図1に示すように閉位置に回動させることにより、カム部57(図5、図6、図7)が金属板59の表面に当接して引き棒42が吸盤30の中央部を伴って引き上げられて高分子ゲルシート33と被吸着面35との間の空間86が負圧化されて吸着力が発生する。これにより支持具10は被吸着面35に強く装着された状態となる。この状態では図7に示すように、運転者等が手動操作で回動部14を回動軸18を中心に回動させることによりモニタ装置25の高さ位置を調整することができる。この場合回動部14は上方に突出した蓋部46を跨ぐように配置されているので、回動部14を回動させると回動部14の枠内に構成される空洞87に蓋部46が入り込む。したがって回動部14は蓋部46に当たることなく広い角度範囲で回動することができる。この実施の形態の設計では回動軸18を中心とした回動部14の回動範囲は、被吸着面35に平行な位置から上方に90°以上、下方に25°で、全体としては115°以上に設定されている。また回動軸20を中心としたモニタ取付部16の回動範囲は回動軸18を中心とした回動部14の回動範囲よりもさらに広く設定されている。したがって回動軸18を中心とした回動部14の回動と回動軸20を中心としたモニタ取付部16の回動との協働により、モニタ装置25を被吸着面35に対し直角の姿勢に維持したまま回動部14を115°以上回動させることができるので、モニタ装置25の高さ位置を広い範囲で調整することができる。また据付部24を第二回動部22のピボット23(図1)を中心に傾動させることによりモニタ装置25の傾きを調整することができる。すなわち据付部24の傾動動作により、モニタ装置25は少なくとも、支持具10の前後方向に延びる軸21(図1、図3)の軸回り方向に傾動自在となり、ダッシュボード等の被吸着面35が傾いていてもモニタ装置25を水平に保つことができる。支持具10を被吸着面35から外すときは、カバー26の外周位置に形成されている隆起部26cに指をかけてカバー26を持ち上げ、隆起部26cの側方の開口部26d(図7)から指を指し入れて吸盤30ごと高分子ゲルシート33を被吸着面35から引き剥がす。
《実施の形態2》
この発明の実施の形態2を図8から図12に示す。実施の形態1と共通する機能を有する部分には同一の符号を用いてその説明を省略する。この実施の形態による支持具89はモニタ取付部16を回動部14に対して傾動可能とするのに代えて、回動部14をベース部12に対して傾動可能としたものである。すなわち図10に示すように、カバー26と押さえ板54との対向面間には基端部側軸棒62を通す凹所88が形成されている。凹所88は軸方向の中央部に球状空間88aを有し、球状空間88aに連通してその左右に空洞88b、88cを有する。空洞88b、88cは球状空間88aから離れるに従い徐々に上下方向に拡開している。球状空間88aには基端部側軸棒62の軸方向中央部に形成された球状の大径部66が収容される。これにより基端部側軸棒62は基端部側軸棒62の中心を通る回動軸18を中心に回動自在に、かつ大径部66の中心点66aを中心に上下方向に揺動自在にベース部12に支持される。したがって回動部14はベース部12に対して回動軸18を中心に回動可能で、かつ中心点66aを中心に上下方向に傾動可能とされている。この回動部14の傾動動作によりモニタ装置25は少なくとも、大径部66の中心点66aを通り支持具89の前後方向に延びる軸91の軸回り方向に揺動自在となっている。この実施の形態の設計では回動部14の傾動角度範囲は図10に示すように30°(基準面すなわち被吸着面35に対して±15°)に設定されている。このため、ダッシュボード等の被吸着面35が傾いていてもこの傾動角度範囲内であればモニタ装置25を水平に保つことができる。自由端部側軸棒64にはモニタ取付部16が装着されている。モニタ取付部16は自由端部側軸棒64を据付部24と取り付け治具90で挟み込んで、据付部24と取り付け治具90を4本のねじ92で連結することにより構成される。これによりモニタ取付部16は自由端部側軸棒64の中心を通る回動軸20を中心に回動自在に自由端部側軸棒64に装着される。モニタ取付部16の据付部24にはモニタ装置25が載置される。モニタ装置25は据付部24に形成された穴24bに下から通されるねじ(図示せず)により据付部24に装着される。
この実施の形態の設計では回動軸18を中心とした回動部14の回動範囲は、被吸着面35に平行な位置から上方に90°以上、下方に40°で、全体としては130°以上に設定されている。また回動軸20を中心としたモニタ取付部16の回動範囲は回動軸18を中心とした回動部14の回動範囲よりもさらに広く設定されている。したがって回動軸18を中心とした回動部14の回動と回動軸20を中心としたモニタ取付部16の回動との協働により、モニタ装置25を被吸着面35に対し直角の姿勢に維持したまま回動部14を130°以上回動させることができるので、モニタ装置25の高さ位置を広い範囲で調整することができる。
なお前記各実施の形態では、ベース部12を吸盤30により被吸着面35に装着したが、吸盤30に代えて両面接着テープ等によりベース部12を被吸着面35に装着することもできる。また前記実施の形態ではこの発明を車載モニタ装置の支持具に適用した場合について説明したが、この発明は車載用以外のモニタ装置の支持具にも適用することができる。
この発明の支持具の実施の形態1を示す図で、図3のA−A矢視断面図である。 図1の支持具の斜視図である。 図1の支持具の平面図である。 図1の支持具の高分子ゲルシート33における空気抜き穴33aと位置ズレ防止穴33bの配置パターン例を示す図で、(a)は平面図、(b)は(a)のB−B矢視断面図である。 図1の支持具を蓋部46を開いた状態で示す斜視図である。 図1の支持具を被吸着面35に載置して引き棒42を押し下げたときの状態を示す断面図である。 図1の支持具の側面図である。 この発明の実施の形態2を示す図で、図9のC−C矢視断面図である。 図8の支持具の平面図である。 図9のD−D矢視断面図で、ベース部12に対する回動部14の傾動動作を示す図である。 図8の支持具を蓋部46を開いた状態で示す平面図である。 図8の支持具を蓋部46を開いた状態で示す側面図である。
符号の説明
10,89…支持具、12…ベース部、14…回動部、16…モニタ取付部、、21…支持具の前後方向に延びる軸22…第二回動部、24…据付部、25…モニタ装置、26…カバー、30…吸盤、32…吸着面、35…被吸着面、42…引き棒、46…蓋部、52,88…凹所、54…押さえ板、57…カム部、58,60…左右のアーム、62…基端部側軸棒、64…自由端部側軸棒、66…大径部、86…吸盤と被吸着面との間に形成されている空間、91…球の中心を通り支持具の前後方向に延びる軸

Claims (9)

  1. モニタ装置を設置しようとする箇所に装着されるベース部と、
    互いに間隙を隔てて配置される左右のアームの両端部間を互いに平行に配置される基端部側軸棒と自由端部側軸棒でそれぞれ繋いで全体として枠状に構成された回動部とを具備し、
    前記基端部側軸棒は前記ベース部に該基端部側軸棒の軸回り方向に回動自在に支持され、もって前記回動部は該ベース部に該基端部側軸棒の軸回り方向に回動自在に支持され、
    前記自由端部側軸棒は前記モニタ装置を該自由端部側軸棒の軸回り方向に回動自在に支持する
    モニタ装置の支持具。
  2. 前記基端部側軸棒は前記ベース部内に通されて、前記回動部は前記左右のアームで前記ベース部材の上部を跨ぎながら回動する請求項1記載のモニタ装置の支持具。
  3. 前記基端部側軸棒がその軸方向中間位置に大径部を有し、
    前記ベース部は該ベース部内で前記大径部を挟み込むことにより該挟み込みによる摩擦力で前記回動部を任意の回動角度に保持する請求項1または2記載のモニタ装置の支持具。
  4. 前記大径部が球状に形成され、前記基端部側軸棒が少なくとも、該球の中心を通り該支持具の前後方向に延びる軸の回り方向に揺動自在に前記ベース部に支持されている請求項3記載のモニタ装置の支持具。
  5. 前記自由端部側軸棒に該自由端部側軸棒の軸回り方向に回動自在に連結支持されたモニタ取付部をさらに具備し、
    前記モニタ装置が前記モニタ取付部を介して前記自由端部側軸棒に支持され、
    該モニタ取付部が前記モニタ装置を少なくとも、該支持具の前後方向に延びる軸の回り方向に傾動自在に支持する請求項1から3のいずれか1つに記載のモニタ装置の支持具。
  6. 前記モニタ取付部が前記自由端部側軸棒に該自由端部側軸棒の軸回り方向に回動自在に連結支持された第二回動部と、該第二回動部にピボットで傾動自在に連結支持された据付部とを具備し、前記モニタ装置は該据付部に装着される請求項5記載のモニタ装置の支持具。
  7. 前記ベース部の上面に前記基端部側軸棒を支持する凹所が形成され、該凹所に該基端部側軸棒を収容した状態で該基端部側軸棒に上方から被さるように該ベース部の上面に押さえ板が被せられ、該押さえ板は該ベース部の上面にねじ止めされ、もって該基端部側軸棒は該ベース部に該基端部側軸棒の軸回り方向に回動自在に支持される請求項1から6のいずれか1つに記載のモニタ装置の支持具。
  8. 前記ベース部は吸着面を下方に露出させた吸盤と該吸盤を上方から覆うカバーを有し、
    前記吸盤の上面中央部に引き棒が立設され、
    該引き棒は前記カバーを貫通して上方に突出し、
    該引き棒の該突出した部分には前記押さえ板に被さる蓋部が回動自在に連結され、
    該蓋部の基端部には前記カバーの上面に当接するカム部が形成され、
    前記吸盤を前記設置箇所の面に吸着させて前記蓋部を閉位置方向に回動させたときに、該蓋部の前記カム部と前記カバーの上面との当接により前記引き棒が引き上げられ、該引き上げに連動して前記吸盤の中央部が引き上げられて、該吸盤と被吸着面との間に形成されている空間が負圧化されて吸着力が発生する請求項7記載のモニタ装置の支持具。
  9. 前記自由端部側軸棒を中心とした前記モニタ装置の回動により該モニタ装置の上下方向の向きを所定状態に維持したまま、前記回動部が前記基端部側軸棒を中心として90°以上回動可能である請求項1から8のいずれか1つに記載のモニタ装置の支持具。
JP2008243442A 2008-09-23 2008-09-23 モニタ装置の支持具 Expired - Fee Related JP5156561B2 (ja)

Priority Applications (1)

Application Number Priority Date Filing Date Title
JP2008243442A JP5156561B2 (ja) 2008-09-23 2008-09-23 モニタ装置の支持具

Applications Claiming Priority (1)

Application Number Priority Date Filing Date Title
JP2008243442A JP5156561B2 (ja) 2008-09-23 2008-09-23 モニタ装置の支持具

Publications (2)

Publication Number Publication Date
JP2010076459A true JP2010076459A (ja) 2010-04-08
JP5156561B2 JP5156561B2 (ja) 2013-03-06

Family

ID=42207422

Family Applications (1)

Application Number Title Priority Date Filing Date
JP2008243442A Expired - Fee Related JP5156561B2 (ja) 2008-09-23 2008-09-23 モニタ装置の支持具

Country Status (1)

Country Link
JP (1) JP5156561B2 (ja)

Cited By (3)

* Cited by examiner, † Cited by third party
Publication number Priority date Publication date Assignee Title
WO2014175511A1 (en) * 2013-04-26 2014-10-30 Lg Electronics Inc. Calibrator
WO2014192533A1 (ja) * 2013-05-29 2014-12-04 Thk株式会社 ボールジョイント
CN111330219A (zh) * 2020-03-31 2020-06-26 淮阴工学院 一种健身平衡板底座

Citations (3)

* Cited by examiner, † Cited by third party
Publication number Priority date Publication date Assignee Title
JP2000330475A (ja) * 1999-05-24 2000-11-30 Mitsubishi Electric Corp 車載用表示装置の取付構造
JP2005199845A (ja) * 2004-01-15 2005-07-28 Yac Co Ltd 車載用ディスプレイ装置の取付け具
JP2006308025A (ja) * 2005-04-28 2006-11-09 Hokumei Kk 吸着盤と、吸着盤付きグリップ体

Patent Citations (3)

* Cited by examiner, † Cited by third party
Publication number Priority date Publication date Assignee Title
JP2000330475A (ja) * 1999-05-24 2000-11-30 Mitsubishi Electric Corp 車載用表示装置の取付構造
JP2005199845A (ja) * 2004-01-15 2005-07-28 Yac Co Ltd 車載用ディスプレイ装置の取付け具
JP2006308025A (ja) * 2005-04-28 2006-11-09 Hokumei Kk 吸着盤と、吸着盤付きグリップ体

Cited By (8)

* Cited by examiner, † Cited by third party
Publication number Priority date Publication date Assignee Title
WO2014175511A1 (en) * 2013-04-26 2014-10-30 Lg Electronics Inc. Calibrator
US9530340B2 (en) 2013-04-26 2016-12-27 Lg Electronics Inc. Calibrator for a display screen
WO2014192533A1 (ja) * 2013-05-29 2014-12-04 Thk株式会社 ボールジョイント
JP2014231873A (ja) * 2013-05-29 2014-12-11 Thk株式会社 ボールジョイント
CN105209771A (zh) * 2013-05-29 2015-12-30 Thk株式会社 球接头
US9422973B2 (en) 2013-05-29 2016-08-23 Thk Co., Ltd. Ball joint
CN105209771B (zh) * 2013-05-29 2017-03-08 Thk株式会社 球接头
CN111330219A (zh) * 2020-03-31 2020-06-26 淮阴工学院 一种健身平衡板底座

Also Published As

Publication number Publication date
JP5156561B2 (ja) 2013-03-06

Similar Documents

Publication Publication Date Title
US8091843B2 (en) Vacuum mount type support device
US8356781B2 (en) Suction device
EP2249074B1 (en) Holder
JP2007206684A (ja) フラットパネル型電子ディスプレー取付装置
JP2008546034A (ja) 摩擦調整を備えた自動平衡式調整可能マウント・システム
JP5156561B2 (ja) モニタ装置の支持具
JP4897974B2 (ja) 車載モニタ支持装置
CA2635552A1 (en) Mixer with pivotable bowl
JP3116100U (ja) モニタースタンド
JP2010077977A (ja) 吸盤装置
CN205482736U (zh) 轴类圆度检测装置
JP2013147197A (ja) 吸盤式車載用モニター取付具
JP4827914B2 (ja) モニタースタンド
JP2006118557A (ja) カーナビゲーションまたはテレビのモニターの取付支持具
JP2004161020A (ja) 自転車のフォーク固定装置
JP2008267564A (ja) 機器取付装置
CN214900949U (zh) 手机支架及其夹脚组件
KR200404248Y1 (ko) 차량용 거치대
JP3930683B2 (ja) スピーカ取付構造
CN102673588B (zh) 翻转折叠装置及列车
JP2011137508A (ja) スタンド装置
JP3828884B2 (ja) モニタースタンド
JP4586686B2 (ja) テレビジョン装置
CN221879967U (zh) 一种转动调节的吸盘装置
US10912207B1 (en) Display apparatus

Legal Events

Date Code Title Description
A621 Written request for application examination

Free format text: JAPANESE INTERMEDIATE CODE: A621

Effective date: 20100913

A977 Report on retrieval

Free format text: JAPANESE INTERMEDIATE CODE: A971007

Effective date: 20120322

A131 Notification of reasons for refusal

Free format text: JAPANESE INTERMEDIATE CODE: A131

Effective date: 20120710

A521 Written amendment

Free format text: JAPANESE INTERMEDIATE CODE: A523

Effective date: 20120823

TRDD Decision of grant or rejection written
A01 Written decision to grant a patent or to grant a registration (utility model)

Free format text: JAPANESE INTERMEDIATE CODE: A01

Effective date: 20121204

A61 First payment of annual fees (during grant procedure)

Free format text: JAPANESE INTERMEDIATE CODE: A61

Effective date: 20121210

FPAY Renewal fee payment (event date is renewal date of database)

Free format text: PAYMENT UNTIL: 20151214

Year of fee payment: 3

R150 Certificate of patent or registration of utility model

Free format text: JAPANESE INTERMEDIATE CODE: R150

LAPS Cancellation because of no payment of annual fees