JP2010076041A - バリカン型切断装置 - Google Patents

バリカン型切断装置 Download PDF

Info

Publication number
JP2010076041A
JP2010076041A JP2008246630A JP2008246630A JP2010076041A JP 2010076041 A JP2010076041 A JP 2010076041A JP 2008246630 A JP2008246630 A JP 2008246630A JP 2008246630 A JP2008246630 A JP 2008246630A JP 2010076041 A JP2010076041 A JP 2010076041A
Authority
JP
Japan
Prior art keywords
knife
guide plate
plate
slide
guide
Prior art date
Legal status (The legal status is an assumption and is not a legal conclusion. Google has not performed a legal analysis and makes no representation as to the accuracy of the status listed.)
Granted
Application number
JP2008246630A
Other languages
English (en)
Other versions
JP4897761B2 (ja
Inventor
Masami Nashimoto
正實 梨本
Current Assignee (The listed assignees may be inaccurate. Google has not performed a legal analysis and makes no representation or warranty as to the accuracy of the list.)
Nashimoto Industries Co Ltd
Original Assignee
Nashimoto Industries Co Ltd
Priority date (The priority date is an assumption and is not a legal conclusion. Google has not performed a legal analysis and makes no representation as to the accuracy of the date listed.)
Filing date
Publication date
Application filed by Nashimoto Industries Co Ltd filed Critical Nashimoto Industries Co Ltd
Priority to JP2008246630A priority Critical patent/JP4897761B2/ja
Publication of JP2010076041A publication Critical patent/JP2010076041A/ja
Application granted granted Critical
Publication of JP4897761B2 publication Critical patent/JP4897761B2/ja
Expired - Fee Related legal-status Critical Current
Anticipated expiration legal-status Critical

Links

Images

Landscapes

  • Harvester Elements (AREA)

Abstract

【課題】組み付け容易であってコスト高とならずに摩耗耐久性に優れ、ナイフの振動を抑えて切れ味の持続性を高めたバリカン型切断装置を提供する。
【解決手段】ロアーナイフプレート1に締め付け固定するリアガイドプレート8と、ナイフ4の上方に配設されて刃押えバーとなるフロントガイドプレート9と、両ガイドプレート8,9間に重合架設されるナイフクリップ10とから成るスライドガイド部材11を複数間隔を置いてロアーナイフプレート1に設け、リアガイドプレート8とフロントガイドプレート9とによって形成されたガイド間隙12でナイフバー3をスライドガイドするように構成し、各リアガイドプレート8とナイフクリップ10とフロントガイドプレート9とを、かしめ止めて組み付け一体化し、不動のガイド間隙12を形成したスライドガイド部材11をロアーナイフプレート1に設けた。また、ガイド間隙を長く設定して摩耗を抑えた。
【選択図】図3

Description

本発明は、並設したロアーナイフに重合するナイフをスライド往復させて各ロアーナイフとナイフとの間の被切断物(例えば農作物や草花あるいは切断処理したい廃棄物など用途によって様々なものが対象となる。)を切断するバリカン型切断装置に関するものである。
一般にこの種の切断装置は、例えば、図6〜図9に示すように、ロアーナイフプレート1上でナイフバー3をスライド往復してロアーナイフプレート1に多数並設した山形状のロアーナイフ2に対して、ナイフバー3に同じく多数並設した山形状のナイフ4を夫々が互いにすれ違う重合位置から互いに一致する重合位置へとスライド往復させて各ロアーナイフ2とナイフ4との間の被切断物5を切断する構成である。
このスライド往復させるナイフバー3は、クランク機構などを介して回転運動を左右スライド運動に変換してロアーナイフプレート1上でスライド往復させる構成とするが、このロアーナイフプレート1上の複数ヵ所にこのスライド往復をガイドするスライドガイド機構としてスライドガイド部材11を設けた構成としている。
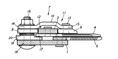
具体的には、このスライドガイド部材11は、ロアーナイフプレート1に重合締め付け固定するリアガイドプレート8と、これと離間配設するフロントガイドプレート9と、このガイドプレート8,9間に重合架設するナイフクリップ10とから成り、このリアガイドプレート8とフロントガイドプレート9との離間間隙をガイド間隙12としてこのガイド間隙12に前記ナイフバー3をスライド往復自在嵌入し、前記ナイフクリップ10は前記ナイフバー3の上方に配され、前記フロントガイドプレート9は刃押えバーとしてナイフ4の上方に配されるように構成し、前記リアガイドプレート8を前記ロアーナイフプレート1に締め付け固定することでこのスライドガイド部材11をロアーナイフプレート1上に固定する構成としている。
このロアーナイフプレート1上には更にロアーガイドプレート18上にスペーサー19を段違いに重合してナイフバー3の下面のナイフ4基部を支承し且つロアーナイフプレート1上のロアーナイフ2基部と同一高さとなる段差面17を形成し、また更に前記リアガイドプレート8とナイフクリップ10との間あるいはロアーガイドプレート18に前記段差面17を形成するスペーサー19とリアガイドプレート8との間にフロントガイドプレート9の高さ調整を行うシム20を複数枚重合し、これらに設けた止着孔14を介してロアーナイフプレート1上にロアーガイドプレート18,スペーサー19,リアガイドプレート8,シム20,ナイフクリップ10を二本の締付ボルト16により貫通螺着して締め付け固定する構成としている。
従来はこのように多数枚のプレートを重合して締め付け螺着しなければならないため組み付けが厄介であったが、更に図示したように前記リアガイドプレート8の止着孔を長孔として前記ナイフクリップ10に固定したフロントガイドプレート9に対してリアガイドプレート8を前後に出入り微調整して重合止着できるように構成しているため、ナイフバー3の前後幅に応じてリアガイドプレート8を前後に移動微調整しつつ締め付け固定しなければならず非常に組み付けが厄介であった。
即ち、ナイフバー3の幅の違いや、あるいはナイフバー3のクランク機構によるスライド往復であることなどからリアガイドプレート8とフロントガイドプレート9とのガイド間隙12間でスライド往復するナイフバー3が摩耗し、この摩耗によってナイフバー3の幅やガイド間隙12が経時変化するおそれがあるが、これに対応するためにリアガイドプレート8を微調整できるようにフロントガイドプレート9の止着孔14を長孔とし、このフロントガイドプレート9の締め付け固定位置を微調整できるようにしている。従って、このように摩耗にも対応してガイド間隙12を調整でき、これによりナイフバー3の前後のガタ付きを抑えてナイフ4の振動を抑え、切れ味の持続性を高めることができる点においては優れるが、この微調整は非常に厄介であり熟練を要する。
一方、スライドガイド部材11を一体成形したもの、即ちこのリアガイドプレート8とフロントガイドプレート9とナイフクリップ10とを一体成形した構成とし、これをロアーナイフプレート1上に締め付け固定する構成のものも提案されているが、このようなコ字形のスライドガイド部材11を型成形する場合、摩耗に耐える高硬度の材料で型成形する必要がありコスト高となってしまう。また、コスト高を避ければそれ程硬度を上げられず、むしろプレートを重合して形成する場合に比して摩耗が激しく頻繁に調整が必要となってしまったり取替えを要することになる。
本発明は、このような従来の問題点を解決したもので、プレートによって予め組み付け一体化してスライドガイド部材を形成する構成とすることで、組み付け容易であって摩耗耐久性に優れ、組み付け後は、微調整できないものの組み付けの容易性を高め、且つ硬度を高めても安価にして摩耗を抑え得る構成とすることができ、またスライドガイド部材のリアガイドプレートとフロントガイドプレートとによるガイド間隙を長く設定できる構成でこれにより摩耗を一層抑えることもできる構成となり、これらにより従来の積層部品で構成されていたスライドガイド機構に比してこのスライドガイド機構の強度を増すことが可能となり、バリカン型刃の課題である耐久性に影響を与えていたナイフバーの自重による長手方向の「たわみ」が解消され、スライドガイド部材のフロントガイドプレートに接触しているナイフなどの偏摩耗が改善されることとなり、これによってナイフの振動を抑えて切れ味の持続性を高めることができる画期的なバリカン型切断装置を提供することを目的としている。
特開2007−181424号公報
添付図面を参照して本発明の要旨を説明する。
ロアーナイフプレート1に並設したロアーナイフ2に対して、ナイフバー3に並設したナイフ4をスライド往復させて前記各ロアーナイフ2とナイフ4間の被切断物5を切断するバリカン型切断装置であって、前記ロアーナイフプレート1に並設したロアーナイフ2の並設方向に、スライド往復駆動機構6によってスライド往復する前記ナイフバー3のこのスライド往復をガイドするスライドガイド機構7を備え、このスライドガイド機構7は、ロアーナイフプレート1に締め付け固定するリアガイドプレート8と、前記ナイフ4の上方に配設されて刃押えバーとなるフロントガイドプレート9と、この両ガイドプレート8,9間に重合架設されるナイフクリップ10とから成るスライドガイド部材11を複数間隔を置いて前記ロアーナイフプレート1に設けた構成として、このリアガイドプレート8とフロントガイドプレート9との離間間隙によって形成されたガイド間隙12に前記ナイフバー3がスライド往復自在に嵌入され、且つ、このナイフバー3の上方には前記ナイフクリップ10が配されると共に前記ナイフ4の上方には前記フロントガイドプレート9が配されて前記ナイフバー3のスライド往復をガイドするように前記スライドガイド機構7を構成し、前記リアガイドプレート8と前記ナイフクリップ10と前記フロントガイドプレート9とを一体成形せず別部材とし、この夫々別部材としたリアガイドプレート8とナイフクリップ10とをリベット13によってかしめ止めると共に、ナイフクリップ10とフロントガイドプレート9とをリベット13によってかしめ止めて組み付け一体化して前記スライドガイド部材11を形成すると共に前記ガイド間隙12を調整不能に形成し、この不動のガイド間隙12を形成した前記スライドガイド部材11を、前記リアガイドプレート8を前記ロアーナイフプレート1に締め付け固定してロアーナイフプレート1に設けたことを特徴とするバリカン型切断装置に係るものである。
また、前記スライドガイド部材11の前記ナイフクリップ10の、前記ナイフバー3のスライド方向の長さよりも、前記フロントガイドプレート9のこのスライド方向の長さを長く設定すると共に、前記リアガイドプレート8も前記フロントガイドプレート9と同等に長く設定して前記ガイド間隙12を長く設定したことを特徴とする請求項1記載のバリカン型切断装置に係るものである。
また、前記リアガイドプレート8とフロントガイドプレート9とを離間配設すると共にこのリアガイドプレート8とフロントガイドプレート9とに重合状態に前記ナイフクリップ10を架設配設し、このリアガイドプレート8とナイフクリップ10との重合部を前記リベット13によってかしめ止め、前記フロントガイドプレート9とナイフクリップ10との重合部を前記リベット13によってかしめ止めて組み付け一体化し前記スライドガイド部材11を形成し、このスライドガイド部材11の前記リアガイドプレート8と前記ナイフクリップ10とに止着孔14を形成し、この止着孔14及び前記ロアーナイフプレート1に設けた止着孔14に締付ボルト16を貫通螺着したことを特徴とする請求項1,2のいずれか1項に記載のバリカン型切断装置に係るものである。
また、前記スライドガイド部材11の前記リアガイドプレート8と前記ナイフクリップ10との重合部に設けた前記締付ボルト16の螺着位置となる二箇所の前記止着孔14の間にかしめ孔15を設け、このかしめ孔15に前記リベット13を貫通してかしめ止め、前記フロントガイドプレート9と前記ナイフクリップ10との重合部に設けるかしめ孔15は、前記リアガイドプレート8と前記ナイフクリップ10との重合部に設けた前記かしめ孔15の対向位置の左右に設け、この左右の各かしめ孔15に前記リベット13を夫々貫通してかしめて止め組み付け一体化し前記スライドガイド部材11を構成したことを特徴とする請求項3記載のバリカン型切断装置に係るものである。
また、前記ロアーナイフプレート1と前記リアガイドプレート8との間に、前記ナイフバー3の下面の前記ナイフ4基部を支承し且つ前記ロアーナイフ2の基部と同一高さとなる上面若しくは段差面17を有するロアーガイドプレート18を配設し、更に前記ロアーナイフプレート1と前記リアガイドプレート8との間に前記ロアーガイドプレート18の上側若しくは下側に必要に応じてシム20を介在させ前記ロアーナイフプレート1にこれら前記ロアーガイドプレート18,前記シム20,前記リアガイドプレート8及び前記ナイフクリップ10の重合部を前記各止着孔14を介して前記締付ボルト16によって締め付け螺着して前記ロアーナイフプレート1上に前記スライドガイド部材11を締め付け固定したことを特徴とする請求項1〜4のいずれか1項に記載のバリカン型切断装置に係るものである。
本発明は上述のように構成したから、プレートによって予め組み付け一体化してスライドガイド部材を形成する構成とすることで、組み付け容易であって摩耗耐久性に優れ、組み付け後は、微調整できないものの組み付けの容易性を高め、且つ硬度を高めても安価にして摩耗を抑え得る構成とすることができ、またスライドガイド部材のリアガイドプレートとフロントガイドプレートとによるガイド間隙を長く設定できる構成でこれにより摩耗を一層抑えることもできる構成となり、これらにより従来の積層部品で構成されていたスライドガイド機構に比してこのスライドガイド機構の強度を増すことが可能となり、バリカン型刃の課題である耐久性に影響を与えていたナイフバーの自重による長手方向の「たわみ」が解消され、スライドガイド部材のフロントガイドプレートに接触しているナイフなどの偏摩耗が改善されることとなり、これによってナイフの振動を抑えて切れ味の持続性を高めることができる画期的なバリカン型切断装置となる。
また、請求項2記載の発明においては、一層前記作用・効果が良好に発揮される。即ち、ガイド間隙を長く設定でき、摩耗を一層抑えることができ、これによりナイフの振動を抑えて切れ味の持続性を高めることができる画期的なバリカン型切断装置となる。
また、請求項3記載の発明においては、一層簡易な構成で本発明を容易に実現でき、一層優れたバリカン型切断装置となる。
また、請求項4記載の発明においては、簡易な構成でありながらスライドガイド部材の組み付け強度は一層強くなり、ガイド間隙でのナイフバーのガイド支承強度が強くなりナイフの振動も生じにくく切れ味も良好となりその持続性も一層良好となる。
また、請求項5記載の発明においては、スライドガイド部材をロアーナイフプレートに締め付け固定する際に、従来通りスライドガイド部材を適切な高さに調整して締め付け固定でき、この調整も締め付け固定も必要最小限のプレートの重合によって行え、組み付け作業も容易となる極めて実用性に優れたバリカン型切断装置となる。
好適と考える本発明の実施形態(発明をどのように実施するか)を、図面に基づいて本発明の作用を示して簡単に説明する。
ロアーナイフ2を並設したロアーナイフプレート1上に設けたスライドガイド機構7により、ナイフ4を並設したナイフバー3のスライド往復がガイドされる。そしてこのロアーナイフプレート1上でナイフバー3がスライド往復することで、各ロアーナイフ2に対して各ナイフ4がスライド往復し、この間の被切断物5を切断する。
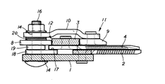
このスライドガイド機構7は、ロアーナイフプレート1に締め付け固定するリアガイドプレート8とこれと離間するフロントガイドプレート9と双方に重合するナイフクリップ10とにより構成し、このリアガイドプレート8とフロントガイドプレート9との間をガイド間隙12とし、このガイド間隙12にナイフバー3を嵌入し、このリアガイドプレート8とフロントガイドプレート9との内縁でナイフバー3をスライドガイドする。
このスライドガイド部材11は、ガイド間隙12を調整自在に組み付けず、また一体成形せず、予め各プレートをかしめ止めることでガイド間隙12を調整不能に組み付けて形成する。
即ち、本発明は、リアガイドプレート8とナイフクリップ10との重合部をかしめピン(リベット13)でかしめ止め、フロントガイドプレート9とナイフクリップ10との重合部をかしめピン(リベット13)でかしめ止めて組み付け一体化する。
従って、あくまでプレートの組み付けのため、摩耗の少ない硬度の高い材質のプレートで組み付け形成するためコスト高とならずに摩耗の少ないガイド間隙12を形成することができ、また取付固定用の締付ボルト16でこのスライドガイド部材11を組み付け形成したり長孔によってリアガイドプレート8を出入り調整自在とするような構成とせず、締付ボルト16でロアーナイフプレート1に固定するが、スライドガイド部材11の組み付けはかしめ止めによって予め一体化して、ガイド間隙12は調整不能に予め形成するため、ロアーナイフプレート1への組み付け作業は容易となり、ガイド間隙12も不動となる。
更に前述のようにプレートの組み付けによってスライドガイド部材11,即ちガイド間隙12を形成するため、摩耗しにくい耐久性のあるスライドガイド機構7とすることができ、また更にリアガイドプレート8もフロントガイドプレート9もナイフクリップ10に比して長く設定してガイド間隙12を長く形成することで摩耗を更に抑えることができ、この摩耗によるナイフバー3のガタ付きを更に抑えることができ、しかもこのようにリアガイドプレート8,フロントガイドプレート9を長く設定してガイド間隙12を長く形成してもプレートによる組み付けのためさほどのコスト高とはならない。
更にこのスライドガイド部材11をロアーナイフプレート1に締め付け固定し、更に例えばこの間に介在するロアーガイドプレート18に段差面17を一体形成するなどして締め付け固定すれば、このスライドガイド機構7の強度は従来例に比して増すこととなり、バリカン型刃の課題である耐久性に影響を与えていたナイフバー3の自重による長手方向の「たわみ」が解消され、スライドガイド部材11のフロントガイドプレート9に接触しているナイフ4などの偏摩耗が改善されることとなり、これによってナイフの振動を抑えて切れ味の持続性を高めることができる。
従って、組み付けが容易でコスト高ともなりにくい構成でありながら、摩耗も抑えることができ、スライドガイド機構7の強度が増すことによりナイフバー3の全長のたわみを防止し、これによりナイフバー3のスライド時の揺動を抑えることができるため、切れ味は良好となり、その持続性も極めて優れた画期的なバリカン型切断装置となる。
本発明の具体的な実施例について図面に基づいて説明する。
本実施例は、山形状のロアーナイフ2を並設したロアーナイフプレート1上で、同じく山形状のナイフ4を並設したナイフバー3をスライド往復駆動機構6によってスライド往復する構成とし、このナイフバー3のスライド往復をガイドするスライドガイド機構7をロアーナイフプレート1上に設けている。
本実施例のこのスライドガイド機構7は、ロアーナイフプレート1に締め付け固定するリアガイドプレート8と、前記ナイフ4の上方に配設されて刃押えバーとなるフロントガイドプレート9と、この両ガイドプレート8,9間に重合架設されるナイフクリップ10とから成るスライドガイド部材11を複数間隔を置いて前記ロアーナイフプレート1に設けた構成として、このリアガイドプレート8とフロントガイドプレート9との離間間隙によって形成されたガイド間隙12に前記ナイフバー3がスライド往復自在に嵌入されるように構成している。
即ち、このナイフバー3の上方には前記ナイフクリップ10が配されると共に前記ナイフ4の上方には前記フロントガイドプレート9が配されて前記ナイフバー3のスライド往復をガイドするように前記スライドガイド機構7を構成している。
本実施例は、このリアガイドプレート8とナイフクリップ10とフロントガイドプレート9とを一体成形せず別部材とし、この夫々別部材としたプレート、即ちリアガイドプレート8とナイフクリップ10との重合部をリベット13によってかしめ止めると共に、ナイフクリップ10とフロントガイドプレート9との重合部をリベット13によってかしめ止めて組み付け一体化して前記スライドガイド部材11を形成すると共に前記ガイド間隙12を調整不能に形成し、この不動のガイド間隙12を形成した前記スライドガイド部材11を、前記リアガイドプレート8を前記ロアーナイフプレート1に締め付け固定してロアーナイフプレート1に設けている。
更に具体的に説明すると、リアガイドプレート8とフロントガイドプレート9とを離間配設すると共にこのリアガイドプレート8とフロントガイドプレート9とに重合状態に前記ナイフクリップ10を架設配設し、このリアガイドプレート8とナイフクリップ10との重合部を前記リベット13によってかしめ止め、前記フロントガイドプレート9とナイフクリップ10との重合部を前記リベット13によってかしめ止めて組み付け一体化し前記スライドガイド部材11を形成し、このスライドガイド部材11の前記リアガイドプレート8と前記ナイフクリップ10とに止着孔14を形成し、この止着孔14及び前記ロアーナイフプレート1に設けた止着孔14に締付ボルト16を貫通螺着している。
更に本実施例では、スライドガイド部材11のリアガイドプレート8とナイフクリップ10との重合部に設けた締付ボルト16の螺着位置となる二箇所の前記止着孔14の間にかしめ孔15を設け、このかしめ孔15に前記リベット13を貫通してかしめ止め、前記フロントガイドプレート9と前記ナイフクリップ10との重合部に設けるかしめ孔15は、前記リアガイドプレート8と前記ナイフクリップ10との重合部に設けた前記かしめ孔15の対向位置の左右に設け、この左右の各かしめ孔15に前記リベット13を夫々貫通してかしめて止め組み付け一体化し前記スライドガイド部材11を構成している。
また更にロアーナイフプレート1とリアガイドプレート8との間に、前記ナイフバー3の下面の前記ナイフ4基部を支承し且つ前記ロアーナイフ2基部と同一高さとなる段差面17を有するロアーガイドプレート18を配設し、更に前記ロアーナイフプレート1と前記リアガイドプレート8との間にの前記ロアーガイドプレート18の上側に必要に応じてシム20を介在させ前記ロアーナイフプレート1にこれら前記ロアーガイドプレート18,前記シム20,前記リアガイドプレート8及び前記ナイフクリップ10の重合部を前記各止着孔14を介して前記締付ボルト16によって締め付け螺着して前記ロアーナイフプレート1上に前記スライドガイド部材11を締め付け固定している。
また、本実施例では、前記スライドガイド部材11の前記ナイフクリップ10の、前記ナイフバー3のスライド方向の長さよりも、前記フロントガイドプレート9のこのスライド方向の長さを長く設定すると共に、前記リアガイドプレート8も前記フロントガイドプレート9と同等に長く設定して、前記ガイド間隙12をナイフクリップ10の横幅より長く設定している。
従って、あくまで最小限のプレートの組み付けでスライドガイド機構7を構成し、特にそのスライドガイド部材11は、プレートの組み付けであって調整不能に組み付け一体化し、これをロアーナイフプレート1上に他のプレートと共に締め付け固定する構成としたため、摩耗の少ない硬度の高い材質のプレートで組み付け形成するためコスト高とならずに摩耗の少ないガイド間隙12を形成することができ、また取付固定用の締付ボルト16でこのスライドガイド部材11を組み付け形成したり長孔によってリアガイドプレート8を出入り調整自在とするような構成とせず、締付ボルト16でロアーナイフプレート1に固定するが、スライドガイド部材11の組み付けはかしめ止めによって予め一体化して、ガイド間隙12は調整不能に予め形成するため、ロアーナイフプレート1への組み付け作業は容易となり、ガイド間隙12も不動となる。
更にリアガイドプレート8もフロントガイドプレート9もナイフクリップ10に比して長く設定してガイド間隙12を長く形成することで摩耗を更に抑えることができ、この摩耗によるナイフバー3のガタ付きを更に抑えることができ、しかもこのようにリアガイドプレート8,フロントガイドプレート9を長く設定してガイド間隙12を長く形成してもプレートによる組み付けのためさほどのコスト高とはならない。
更にこのスライドガイド部材11をロアーナイフプレート1に締め付け固定するに際して、この間に前述のように調整用のシム20の他ナイフ4の基部を支承し且つロアーナイフ2の基部と同一高さとなる段差面17を有するロアーガイドプレート18を介在して締め付ける。
即ち、このロアーガイドプレート18は二枚構成でなく、段差面17を有する一枚の一体形とし、これをロアーガイドプレート18として介在し締付ボルト16で上部のスライドガイド部材11とロアーナイフプレート1とを締め付け固定するため、一層スライドガイド機構7の強度が増すことになる。そのため、バリカン型刃の課題である耐久性に影響を与えていたナイフバー3の自重による長手方向の「たわみ」が解消され、スライドガイド部材11のフロントガイドプレート9に接触しているナイフ4などの偏摩耗が改善されることとなり、これによってナイフの振動を抑えて切れ味の持続性を高めることができる。
従って、組み付けが容易でコスト高ともなりにくい構成でありながら、摩耗も抑えることができ、スライドガイド機構7の強度が増すことによりナイフバー3の全長のたわみを防止し、これによりナイフバー3のスライド時の揺動を抑えることができるため、切れ味は良好となり、その持続性も極めて優れた画期的なバリカン型切断装置となる。
尚、本発明は、本実施例に限られるものではなく、各構成要件の具体的構成は適宜設計し得るものである。
本実施例の概略構成を示す説明平面図である。 本実施例の要部の説明斜視図である。 本実施例の要部の説明分解斜視図である。 本実施例の要部の説明平面図である。 本実施例の要部の説明側断面図である。 従来例の要部の説明斜視図である。 従来例の要部の説明分解斜視図である。 従来例の要部の説明平面図である。 従来例の要部の説明側断面図である。
符号の説明
1 ロアーナイフプレート
2 ロアーナイフ
3 ナイフバー
4 ナイフ
5 被切断物
6 スライド往復駆動機構
7 スライドガイド機構
8 リアガイドプレート
9 フロントガイドプレート
10 ナイフクリップ
11 スライドガイド部材
12 ガイド間隙
13 リベット
14 止着孔
15 かしめ孔
16 締付ボルト
17 段差面
18 ロアーガイドプレート
20 シム

Claims (5)

  1. ロアーナイフプレートに並設したロアーナイフに対して、ナイフバーに並設したナイフをスライド往復させて前記各ロアーナイフとナイフ間の被切断物を切断するバリカン型切断装置であって、前記ロアーナイフプレートに並設したロアーナイフの並設方向に、スライド往復駆動機構によってスライド往復する前記ナイフバーのこのスライド往復をガイドするスライドガイド機構を備え、このスライドガイド機構は、ロアーナイフプレートに締め付け固定するリアガイドプレートと、前記ナイフの上方に配設されて刃押えバーとなるフロントガイドプレートと、この両ガイドプレート間に重合架設されるナイフクリップとから成るスライドガイド部材を複数間隔を置いて前記ロアーナイフプレートに設けた構成として、このリアガイドプレートとフロントガイドプレートとの離間間隙によって形成されたガイド間隙に前記ナイフバーがスライド往復自在に嵌入され、且つ、このナイフバーの上方には前記ナイフクリップが配されると共に前記ナイフの上方には前記フロントガイドプレートが配されて前記ナイフバーのスライド往復をガイドするように前記スライドガイド機構を構成し、前記リアガイドプレートと前記ナイフクリップと前記フロントガイドプレートとを一体成形せず別部材とし、この夫々別部材としたリアガイドプレートとナイフクリップとをリベットによってかしめ止めると共に、ナイフクリップとフロントガイドプレートとをリベットによってかしめ止めて組み付け一体化して前記スライドガイド部材を形成すると共に前記ガイド間隙を調整不能に形成し、この不動のガイド間隙12を形成した前記スライドガイド部材を、前記リアガイドプレートを前記ロアーナイフプレートに締め付け固定してロアーナイフプレートに設けたことを特徴とするバリカン型切断装置。
  2. 前記スライドガイド部材の前記ナイフクリップの、前記ナイフバーのスライド方向の長さよりも、前記フロントガイドプレートのこのスライド方向の長さを長く設定すると共に、前記リアガイドプレートも前記フロントガイドプレートと同等に長く設定して前記ガイド間隙を長く設定したことを特徴とする請求項1記載のバリカン型切断装置。
  3. 前記リアガイドプレートとフロントガイドプレートとを離間配設すると共にこのリアガイドプレートとフロントガイドプレートとに重合状態に前記ナイフクリップを架設配設し、このリアガイドプレートとナイフクリップとの重合部を前記リベットによってかしめ止め、前記フロントガイドプレートとナイフクリップとの重合部を前記リベットによってかしめ止めて組み付け一体化し前記スライドガイド部材を形成し、このスライドガイド部材の前記リアガイドプレートと前記ナイフクリップとに止着孔を形成し、この止着孔及び前記ロアーナイフプレートに設けた止着孔に締付ボルトを貫通螺着したことを特徴とする請求項1,2のいずれか1項に記載のバリカン型切断装置。
  4. 前記スライドガイド部材の前記リアガイドプレートと前記ナイフクリップとの重合部に設けた前記締付ボルトの螺着位置となる二箇所の前記止着孔の間にかしめ孔を設け、このかしめ孔に前記リベットを貫通してかしめ止め、前記フロントガイドプレートと前記ナイフクリップとの重合部に設けるかしめ孔は、前記リアガイドプレートと前記ナイフクリップとの重合部に設けた前記かしめ孔の対向位置の左右に設け、この左右の各かしめ孔に前記リベットを夫々貫通してかしめて止め組み付け一体化し前記スライドガイド部材を構成したことを特徴とする請求項3記載のバリカン型切断装置。
  5. 前記ロアーナイフプレートと前記リアガイドプレートとの間に、前記ナイフバーの下面の前記ナイフ基部を支承し且つ前記ロアーナイフの基部と同一高さとなる上面若しくは段差面を有するロアーガイドプレートを配設し、更に前記ロアーナイフプレートと前記リアガイドプレートとの間に前記ロアーガイドプレートの上側若しくは下側に必要に応じてシムを介在させ前記ロアーナイフプレートにこれら前記ロアーガイドプレート,前記シム,前記リアガイドプレート及び前記ナイフクリップの重合部を前記各止着孔を介して前記締付ボルトによって締め付け螺着して前記ロアーナイフプレート上に前記スライドガイド部材を締め付け固定したことを特徴とする請求項1〜4のいずれか1項に記載のバリカン型切断装置。
JP2008246630A 2008-09-25 2008-09-25 バリカン型切断装置 Expired - Fee Related JP4897761B2 (ja)

Priority Applications (1)

Application Number Priority Date Filing Date Title
JP2008246630A JP4897761B2 (ja) 2008-09-25 2008-09-25 バリカン型切断装置

Applications Claiming Priority (1)

Application Number Priority Date Filing Date Title
JP2008246630A JP4897761B2 (ja) 2008-09-25 2008-09-25 バリカン型切断装置

Publications (2)

Publication Number Publication Date
JP2010076041A true JP2010076041A (ja) 2010-04-08
JP4897761B2 JP4897761B2 (ja) 2012-03-14

Family

ID=42207077

Family Applications (1)

Application Number Title Priority Date Filing Date
JP2008246630A Expired - Fee Related JP4897761B2 (ja) 2008-09-25 2008-09-25 バリカン型切断装置

Country Status (1)

Country Link
JP (1) JP4897761B2 (ja)

Cited By (1)

* Cited by examiner, † Cited by third party
Publication number Priority date Publication date Assignee Title
CN112847456A (zh) * 2020-12-21 2021-05-28 安徽帝发发制品有限公司 一种定位便捷式假发切割装置

Citations (4)

* Cited by examiner, † Cited by third party
Publication number Priority date Publication date Assignee Title
JPS5610331A (en) * 1980-06-28 1981-02-02 Taikisha Ltd Activated charcoal adsorbent and adsorption/desorption device employing said adsorbent
JPH0367516A (ja) * 1989-08-07 1991-03-22 Iseki & Co Ltd 草刈機の刈草移送装置
JPH10276528A (ja) * 1997-04-04 1998-10-20 Kubota Corp 刈取装置
JP2007181424A (ja) * 2006-01-06 2007-07-19 Kubota Corp バリカン型刈取り装置

Patent Citations (4)

* Cited by examiner, † Cited by third party
Publication number Priority date Publication date Assignee Title
JPS5610331A (en) * 1980-06-28 1981-02-02 Taikisha Ltd Activated charcoal adsorbent and adsorption/desorption device employing said adsorbent
JPH0367516A (ja) * 1989-08-07 1991-03-22 Iseki & Co Ltd 草刈機の刈草移送装置
JPH10276528A (ja) * 1997-04-04 1998-10-20 Kubota Corp 刈取装置
JP2007181424A (ja) * 2006-01-06 2007-07-19 Kubota Corp バリカン型刈取り装置

Cited By (1)

* Cited by examiner, † Cited by third party
Publication number Priority date Publication date Assignee Title
CN112847456A (zh) * 2020-12-21 2021-05-28 安徽帝发发制品有限公司 一种定位便捷式假发切割装置

Also Published As

Publication number Publication date
JP4897761B2 (ja) 2012-03-14

Similar Documents

Publication Publication Date Title
EP2998085B1 (en) Blade assembly having entrapped spring
US9180535B2 (en) Multi tool saw
US8959780B2 (en) Cutting blade
US20200045889A1 (en) Hedge trimmer
JP5874129B2 (ja) 往復摺動刈刃構造
HUE031310T2 (en) Procedure and tool unit for setting a hole punch
JP4897761B2 (ja) バリカン型切断装置
KR102381613B1 (ko) 조정 가능한 안내 장치를 가진 웨지 구동부
US20160052158A1 (en) Guide bar retention systems and techniques
KR101461487B1 (ko) 고정형 조립 치구
CN103912573A (zh) 可更换的镶嵌式柔性铰链固定结构
KR101644243B1 (ko) 선반가공용 임펠러고정지그
US20100050846A1 (en) Band-sawing machine
KR101328754B1 (ko) 정밀 주파수 조정이 가능한 발전기세트 동흡진기 및 그 정밀 주파수 조정방법
JP6276082B2 (ja) バンドソー装置
CN208276289U (zh) 一种用于金属带锯床的夹紧机构
JP2011125238A (ja) バリカン型切断装置
JP4479489B2 (ja) 部品固定装置及び部品押圧部材
JP6317949B2 (ja) ワーク切断方法及び帯鋸刃
CN108747534B (zh) 一种具有整体式柔性铰链且刚度可调的快刀伺服装置
JP4742667B2 (ja) プレス切断装置及びプレス切断方法
JP6292567B2 (ja) 型取付装置
CN203730538U (zh) 一种可更换的镶嵌式柔性铰链固定结构
JP4293758B2 (ja) バリカン形刈込み装置
JP2020151831A (ja) 超音波切断装置

Legal Events

Date Code Title Description
TRDD Decision of grant or rejection written
A977 Report on retrieval

Free format text: JAPANESE INTERMEDIATE CODE: A971007

Effective date: 20111130

A01 Written decision to grant a patent or to grant a registration (utility model)

Free format text: JAPANESE INTERMEDIATE CODE: A01

Effective date: 20111201

A01 Written decision to grant a patent or to grant a registration (utility model)

Free format text: JAPANESE INTERMEDIATE CODE: A01

A61 First payment of annual fees (during grant procedure)

Free format text: JAPANESE INTERMEDIATE CODE: A61

Effective date: 20111222

R150 Certificate of patent or registration of utility model

Ref document number: 4897761

Country of ref document: JP

Free format text: JAPANESE INTERMEDIATE CODE: R150

Free format text: JAPANESE INTERMEDIATE CODE: R150

FPAY Renewal fee payment (event date is renewal date of database)

Free format text: PAYMENT UNTIL: 20150106

Year of fee payment: 3

R250 Receipt of annual fees

Free format text: JAPANESE INTERMEDIATE CODE: R250

R250 Receipt of annual fees

Free format text: JAPANESE INTERMEDIATE CODE: R250

R250 Receipt of annual fees

Free format text: JAPANESE INTERMEDIATE CODE: R250

R250 Receipt of annual fees

Free format text: JAPANESE INTERMEDIATE CODE: R250

R250 Receipt of annual fees

Free format text: JAPANESE INTERMEDIATE CODE: R250

R250 Receipt of annual fees

Free format text: JAPANESE INTERMEDIATE CODE: R250

R250 Receipt of annual fees

Free format text: JAPANESE INTERMEDIATE CODE: R250

R250 Receipt of annual fees

Free format text: JAPANESE INTERMEDIATE CODE: R250

LAPS Cancellation because of no payment of annual fees