JP2010075340A - 皮下脂肪厚測定装置 - Google Patents

皮下脂肪厚測定装置 Download PDF

Info

Publication number
JP2010075340A
JP2010075340A JP2008245701A JP2008245701A JP2010075340A JP 2010075340 A JP2010075340 A JP 2010075340A JP 2008245701 A JP2008245701 A JP 2008245701A JP 2008245701 A JP2008245701 A JP 2008245701A JP 2010075340 A JP2010075340 A JP 2010075340A
Authority
JP
Japan
Prior art keywords
measurement
pressing force
main body
pressing
subcutaneous fat
Prior art date
Legal status (The legal status is an assumption and is not a legal conclusion. Google has not performed a legal analysis and makes no representation as to the accuracy of the status listed.)
Granted
Application number
JP2008245701A
Other languages
English (en)
Other versions
JP5017224B2 (ja
Inventor
Takeshi Kojima
猛 児島
Kazuya Oguri
一也 小栗
Tadashi Kamibayashi
正 上林
Akihiro Mizuuchi
明広 水内
Takeshi Yuasa
毅 湯浅
Shinichi Fumuro
晋一 文室
Current Assignee (The listed assignees may be inaccurate. Google has not performed a legal analysis and makes no representation or warranty as to the accuracy of the list.)
Panasonic Electric Works Co Ltd
Original Assignee
Panasonic Electric Works Co Ltd
Priority date (The priority date is an assumption and is not a legal conclusion. Google has not performed a legal analysis and makes no representation as to the accuracy of the date listed.)
Filing date
Publication date
Application filed by Panasonic Electric Works Co Ltd filed Critical Panasonic Electric Works Co Ltd
Priority to JP2008245701A priority Critical patent/JP5017224B2/ja
Publication of JP2010075340A publication Critical patent/JP2010075340A/ja
Application granted granted Critical
Publication of JP5017224B2 publication Critical patent/JP5017224B2/ja
Expired - Fee Related legal-status Critical Current
Anticipated expiration legal-status Critical

Links

Images

Landscapes

  • Measurement Of The Respiration, Hearing Ability, Form, And Blood Characteristics Of Living Organisms (AREA)

Abstract

【課題】被測定者の脂肪硬さに適合する押圧力が得られるように、押圧力を調整することを可能とした皮下脂肪厚測定装置を提供する。
【解決手段】測定本体2と操作本体3とを操作方向に相対移動可能に連結する連結手段15a,16aと、測定本体2と操作本体3とを離反方向に押圧する押圧手段21とが設けられている。また、測定本体2と操作本体3とが押圧手段21の押圧力に抗して所定のストロークまで接近方向に移動したことを検出したときに、皮下脂肪厚の測定を開始する測定開始手段22と、押圧手段21の押圧力を調整可能な押圧力調整手段7とが設けられている。
【選択図】図3

Description

本発明は、皮下脂肪厚測定装置に関する。
従来、皮下脂肪厚測定装置としては、支持棒に固定した測定本体に取付けられたプローブを操作本体に押し当てながら、超音波を用いて皮下脂肪厚を測定するものがある(特許文献1参照)。
また、支柱部に取付けられた固定部と可動部(キャリパー)で皮膚と脂肪組織を挟んで、その先に設けたマイクロスイッチがオンした時にブザーを鳴らし、その合図を聞いて皮下脂肪厚の測定を開始するものがある(特許文献2参照)。
特開2003−235848号公報 特開2002−330944号公報
しかしながら、皮下脂肪厚を測定する場合、特許文献1では、プローブを操作本体に押し当てながら測定するため、その押圧力によって脂肪のつぶれ方が変わり、操作本体の皮下脂肪厚が変わることがある。すなわち、プローブを操作本体に押し当てる押圧力は、被測定者の力加減に左右されるために、測定毎に測定結果のバラツキが発生するようになる。
また、特許文献2のように、マイクロスイッチのオンでブザーを鳴らしても、マイクロスイッチの押圧力は一定であるために、被測定者の脂肪硬さのバラツキによる測定誤差が発生するようになる。
つまり、測定時の押圧力が被測定者の力加減に左右されたり、一定であったりする場合には、同じ皮下脂肪厚であっても、脂肪の硬い人と柔らかい人とでは、皮下脂肪厚の測定結果にバラツキが発生することがある。
本発明は、前記問題を解消するためになされたもので、被測定者の脂肪硬さに適合する押圧力が得られるように、押圧力を調整することを可能とした皮下脂肪厚測定装置を提供することを目的とするものである。
前記課題を解決するために、本発明は、皮下脂肪厚を測定する測定本体と、この測定本体を被測定者の測定部位に押し当てるように操作する操作本体とを備えた皮下脂肪厚測定装置であって、前記測定本体と操作本体とを操作方向に相対移動可能に連結する連結手段と、前記測定本体と操作本体とを離反方向に押圧する押圧手段と、前記測定本体と操作本体とが押圧手段の押圧力に抗して所定のストロークまで接近方向に移動したことを検出したときに、皮下脂肪厚の測定を開始する測定開始手段と、前記押圧手段の押圧力を調整可能な押圧力調整手段とが設けられていることを特徴とする皮下脂肪厚測定装置を提供するものである。
請求項2のように、請求項1において、前記押圧力と押圧ストロークとの関係から脂肪硬さを決定するデータが予め記憶された脂肪硬さ決定手段と、被測定者の押圧力を計測する押圧力計測手段と、被測定者の押圧ストロークを計測するストローク計測手段とが設けられ、被測定者が計測した押圧力と押圧ストロークとを脂肪硬さ決定手段のデータと比較することで、被測定者の脂肪硬さを決定する構成とすることができる。
請求項3のように、請求項2において、前記被測定者の脂肪硬さに適合する押圧力を記憶する記憶手段を設ける構成とすることができる。
請求項4のように、請求項1において、前記押圧手段は、測定本体と操作本体とを離反方向に付勢するばねであり、前記測定開始手段は、測定本体と操作本体の接近でオンするスイッチであり、前記押圧力調整手段は、ばね力の強弱を調整するねじ部材である構成とすることができる。
請求項5のように、請求項1において、前記押圧手段は、測定本体と操作本体とを離反方向に押圧するソレノイドとプランジャであり、前記測定開始手段は、測定本体と操作本体との間の距離計測器であり、前記押圧力調整手段は、ソレノイドの電流の強弱を調整する可変抵抗器である構成とすることができる。
本発明によれば、測定本体を被測定者の測定部位に当て、操作本体で測定本体を測定部位に押し当てるように操作する。そして、測定本体と操作本体とが押圧手段の押圧力に抗して所定のストロークまで接近方向に移動したことを検出したときに、測定開始手段で皮下脂肪厚の測定を開始する。このとき、被測定者の脂肪硬さに応じて、押圧力調整手段で押圧力を調整可能であるから、操作の前に、被測定者に適合する押圧力が得られるように、押圧力を調整しておくことができる。そして、その押圧力に達したときに、測定開始手段で皮下脂肪厚の測定を開始することができる。これにより、皮下脂肪厚の測定結果にバラツキが発生しないようになる。
請求項2によれば、被測定者が計測した押圧力と押圧ストロークとを脂肪硬さ決定手段のデータと比較することで、被測定者に適合する脂肪硬さが決定される。そして、操作の前に、その脂肪硬さに適合する押圧力が得られるように、押圧力を調整しておくことにより、脂肪硬さによって、皮下脂肪厚の測定結果にバラツキが発生しないようになる。
請求項3によれば、脂肪硬さ決定手段で決定された被測定者の脂肪硬さに適合する押圧力を記憶させておけば、被測定者は、その記憶された押圧力に設定操作し、または自動設定することで、簡単かつ迅速に被測定者に適合する押圧力に調整できるようになる。
請求項4によれば、押圧手段はばね、測定開始手段はスイッチ、押圧力調整手段はねじ部材であるから、機械部品で構成できてコスト安になる。
請求項5によれば、押圧手段はソレノイドとプランジャ、測定開始手段は距離計測器、押圧力調整手段は可変抵抗器であるから、電気部品で構成できて全て電気的に制御できるようになる。
以下、本発明を実施するための最良の形態について、図面を参照しながら詳細に説明する。
図1は、第1実施形態の皮下脂肪厚測定装置1Aの表側の斜視図である。皮下脂肪厚測定装置1Aは、裏側に、赤外線や超音波で皮下脂肪厚を測定する測定本体2を備え、表側に、測定本体2を測定部位(腹、二の腕、太もも等)に押し当てるように手で操作する操作本体3を備えている。
操作本体3には、左右の手で掴むためのグリップ4がそれぞれ形成され、このグリップ4を掴んだ状態で、測定本体2を測定部位に押し当てる。
操作本体2の左右のグリップ4の間には、入力値や測定値を表示する表示パネル5と、データ入力や表示切り替えを行う操作パネル6とが設けられ、操作パネル6には、皮下脂肪厚測定時の押圧力を調整する押圧力調整部7が設けられている。
操作パネル6の設定ボタン6aは、身長、体重、性別、年齢等のデータを、タッチパネル式の表示パネル5の操作で入力した後に、設定するためのものであり、変更ボタン6bは、これらのデータを変更するためのものである。
電源ボタン6cの両側で、1〜4の符号を付した4個のボタン6d〜6gは、4名の被測定者のデータをそれぞれ呼び出すためのボタンであり、例えば符号1のボタン6dを押すと、ある被測定者のデータのみが表示パネル5に表示されるようになる。
図2(a)は、皮下脂肪厚測定装置1Aの裏側の斜視図である。測定本体2には、被測定者の測定部位に接する四角形状(8cm程度)の略平面の測定面10が形成されている。この測定面10には、波長850nm付近の近赤外光を発するLEDを有する発光部11が設けられ、この発光部11から所定の距離を隔てて複数個(本例では2個)の受光部12A,12Bが設けられている。なお、赤外線の発光部11と受光部12A,12Bを、超音波の発信部と受信部に代えることも可能である。
発光部11と受光部12A,12Bの各距離は、日本人のおおよその範囲である皮下脂肪厚が0〜60mm程度の測定が行えるように、約15〜45mmとしている。また、複数個の受光部12A,12Bを設けて、各受光部12A,12Bの差を求めることにより、皮膚の色素の差を補正することができ、より精度の高い測定を行うことが可能となる。
測定本体2を被測定者の測定部位に押し当てたとき、その押圧力によって皮下脂肪層の圧縮度合いが変化し、脂肪層の厚みが変化する。そこで、測定面10を略平面にすることにより、測定本体2の付近の皮下脂肪層の厚みを略一定にすることができ、安定した測定を行うことができる。
また、測定面10の中央に凸条10aを形成し、この凸条10aに形成した穴内に発光部11と受光部12A,12Bをそれぞれ設けている。これにより、測定面10を被測定者の測定部位に押し当てると、この凸条10aが表皮に食い込み、皮下脂肪層が均一に圧縮された状態となる。このとき、発光部11と受光部12A,12Bが表皮等に食い込むため、外光の入り込む隙間が無くなり、外光の影響を受けにくくなる。また、測定面10の外側に四角枠状の凸部10bを設けることにより、外光を遮る壁ができ、外光の影響をほとんど無くすことが可能となる。同時に、この連続した凸部10bが測定部位の周囲に食い込んで押し広げるので、測定面10の付近の皮下脂肪層を均一に押し広げることができ、安定した状態で測定を行うことができる。
図2(b)は、皮下脂肪厚の測定原理図である。発光部11から照射された赤外光は、表皮M1に入射する。生体は、近赤外若しくは可視光にとって散乱体であるから、赤外光は散乱しながら皮下脂肪層M2に入射する。皮下脂肪層M2に入射した赤外光は、さらに散乱、拡散を続けながら広がり、一部は筋肉層M3に達する。この筋肉層M3は血液や水分が多いとともに筋繊維の影響で、赤外光が多く吸収される。この筋肉層M3に到達せずに皮下脂肪層M2を広がる赤外光は、ほとんど減衰することなく伝播する。
したがって、皮下脂肪層M2が厚い場合は、ほとんどの赤外光は、筋肉層M3の影響で減衰することなく伝播するが、皮下脂肪層M2が薄い場合は、多くの赤外光が筋肉層M3に到達して減衰するために、受光部12A,12Bに到達する光が減少する。
この結果、受光部12A,12Bで受光した赤外光の受光量を検出することで、皮下脂肪厚を知ることができる。なお、赤外線や超音波で皮下脂肪厚を測定する方法は、公知であるので、これ以上の説明は省略する。
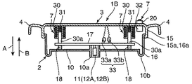
図3(a)は、皮下脂肪厚測定装置1Aの断面図である。操作本体3は、下向きに開口した箱体15を備え、測定本体2は、上向きに開口して、箱体15の内側に嵌合する箱体16を備えている。
操作本体3の箱体15の下端縁には内向きのフック部15aが形成され、測定本体2の箱体16の上端縁には外向きのフック部16aが形成されている。そして、両フック部15a,16aが係合することで、測定本体2と操作本体3とが操作方向(矢印A参照)に相対移動可能に連結されるようになる。このフック部15a,16aは、操作本体3と測定本体2の連結手段を構成する。
測定本体2の箱体16内の底部には、発光部11と受光部12A,12Bを実装した回路基板17がスペーサー18を介して固定されている。
操作本体3の操作パネル6の押圧力調整部7として、操作パネル6の左右位置に形成された雌ねじ穴に、操作方向Aにねじ込み、反操作方向にねじ緩め可能なねじ部材19がそれぞれ設けられている。各ねじ部材19には、手操作回動なダイヤル20がそれぞれ設けられている。各ねじ部材19は、例えば、1/2回転程度で、5〜10mm程度のねじ込み・ねじ緩めストロークが得られるように、そのリードが長く設定されている。
ダイヤル20の周囲の操作パネル6には、図6(a)に示すように、押圧力を表す目盛り(1)〜(7)が施されている。ダイヤル20を目盛り(4)の位置から目盛り(1)の方向に回すと、図3(b)のようにねじ部材19が緩められ、目盛り(7)の方向に回すと、図3(c)のようにねじ部材19がねじ込まれるようになる。
各ねじ部材19と回路基板17との間には、コイルばね21がそれぞれ設けられ、このコイルばね21の付勢力(押圧力)で、測定本体2と操作本体3とが離反方向Bに押圧されるようになる。コイルばね21は、操作本体3と測定本体2の押圧手段を構成する。
そして、例えば、ダイヤル20を目盛り(1)に合わせると、ねじ部材19が緩められるので、コイルばね21の押圧力は弱くなる。また、ダイヤル20を目盛り(7)に合わせると、ねじ部材19がねじ込まれるので、コイルばね21の押圧力は強くなる。ダイヤル20とねじ部材19は、コイルばね21の押圧力を調整可能な押圧力調整手段を構成する。
第1実施形態では、2個のダイヤル20で2個のコイルばね21の押圧力をそれぞれ調整しているが、1個のダイヤル20で2個のコイルばね21の押圧力を同時に調整できるように構成することも可能である。
測定本体2の回路基板17の上面には、測定開始スイッチ22が設けられ、操作本体3の箱体15の内面には、スイッチオン部材23が設けられている。そして、測定本体2と操作本体3とがコイルばね21の押圧力に抗して所定のストロークまで接近方向に移動したときに、スイッチオン部材23が測定開始スイッチ22をオンすることで、皮下脂肪厚の測定が開始されるようになる。測定開始スイッチ22は、測定開始手段を構成する。
第1実施形態の皮下脂肪厚測定装置1Aであれば、測定本体2を被測定者の測定部位に当て、操作本体3で測定本体2を測定部位に押し当てるように操作する。
そして、測定本体2と操作本体3とがコイルばね21の押圧力に抗して所定のストロークまで接近方向に移動したときに、測定開始スイッチ22がオンすることで、皮下脂肪厚の測定が開始される。
このとき、被測定者の脂肪硬さに応じて、ダイヤル20でコイルばね21の押圧力を調整可能であるから、操作の前に、被測定者に適合する押圧力が得られるように、押圧力を調整しておくことができる。
そして、その押圧力に達したときに、測定開始スイッチ22がオンすることで皮下脂肪厚の測定を開始することができる。これにより、皮下脂肪厚の測定結果にバラツキが発生しないようになる。
また、押圧手段はコイルばね21、測定開始手段は測定開始スイッチ22、押圧力調整手段はねじ部材19とダイヤル20であるから、機械部品で構成できてコスト安になる。
次に、第1実施形態の皮下脂肪厚測定装置1Aを用いて、被測定者の脂肪硬さを検出する方法を説明する。
図6(b)に示すように、回路基板17には、押圧力と押圧ストロークとの関係から脂肪硬さを決定するデータが予め記憶されている脂肪硬さ決定回路(脂肪硬さ決定手段)25が設けられている。すなわち、脂肪硬さ決定回路25には、身長、体重、性別、年齢等が異なる者から予め測定した押圧力と押圧ストロークと脂肪硬さとの関係の多数のデータが記憶されている。
また、ダイヤル20の目盛り位置をセンサーで検出することで、コイルばね21の押圧力を知ることができ、コイルばね21の伸縮量をセンサーで測定することで、押圧ストロークを知ることができる。したがって、ダイヤル20の目盛り位置を検出するセンサーが押圧力計測手段26となり、押圧ストロークを計測するセンサーがストローク計測手段27となる。
そして、被測定者は、先ず、ダイヤル20の目盛り(1)〜(7)の任意の位置で皮下脂肪厚を測定する。これにより、押圧力計測手段26で押圧力が計測され、ストローク計測手段27で押圧ストロークが計測される。そして、押圧力計測手段26で計測された押圧力と、ストローク計測手段27で計測された押圧ストロークとが脂肪硬さ決定回路25に入力される。
この脂肪硬さ決定回路25においては、記憶されたデータと、被測定者が計測した押圧力と押圧ストロークとが比較されて、記憶されたデータの中から選択された、被測定者に適合する脂肪硬さが決定される。
この脂肪硬さは、ダイヤル20の目盛りの数値として表示パネル5で表示することができる。そして、被測定者は、ダイヤル20の目盛りをこの数値に合わせるように設定操作することで、被測定者に適合する押圧力が得られるように、押圧力を調整できるようになる。なお、ダイヤル20の目盛り(1)〜(7)の1個だけの位置ではなく、複数個の位置で皮下脂肪厚を測定して、ダイヤル20の目盛りをその平均値の数値に合わせれば、被測定者により適合する押圧力に調整できるようになる。
また、ダイヤル20に代えて電動モータ等でねじ部材19をねじ込み・ねじ緩めを操作することもできる。この場合、脂肪硬さ決定回路25で決定された被測定者の脂肪硬さに適合する押圧力を記憶する記憶回路28を設けることができる。なお、操作パネル6に押圧力記憶ボタンを別に設けて、被測定者が押圧力記憶ボタンを押すことで、記憶回路28に被測定者の押圧力を記憶させることもできる。
そして、ボタン6d〜6g(図1参照)で、その被測定者のデータを呼び出す。このとき、記憶回路28に記憶された押圧力に相当する電動モータの電気的制御によって、脂肪硬さに適合する押圧力が得られるように、電動モータ等でねじ部材19をねじ込み・ねじ緩めを操作して押圧力を調整できるようになる。
このように、脂肪硬さ決定回路25で決定された被測定者の脂肪硬さに適合する押圧力を記憶回路28に記憶させておくことができる。そうすれば、被測定者は、その記憶された押圧力に設定操作し、または自動設定することで、簡単かつ迅速に被測定者に適合する押圧力に調整できるようになる。
図4は、第2実施形態の皮下脂肪厚測定装置1Bの表側の外観図、図5は、皮下脂肪厚測定装置1Bの断面図である。なお、第1実施形態と同一構成・作用の箇所は、同一番号を付して詳細な説明は省略する。
図5に示すように、押圧力調整部7として、操作本体3の箱体15の内面の左右位置に、ソレノイド30がそれぞれ取付けられている。各ソレノイド30のプランジャ30aは、ソレノイド30内に収納されたばね31で、回路基板17に軽く接触する程度に付勢されている。
操作本体3の操作パネル6の押圧力調整部7として、操作パネル6に手操作回動なダイヤル20が設けられ、このダイヤル20には操作本体3内の可変抵抗器32が連結されている。この可変抵抗器32は、ソレノイド30の電流供給回路に接続されている。
ダイヤル20の周囲の操作パネル6には、図6(a)に示すように、押圧力を表す目盛り(1)〜(7)が施されている。ダイヤル20を目盛り(4)の位置から目盛り(1)の方向に回すと、抵抗が強くなって電流が弱くなり、目盛り(7)の方向に回すと、抵抗が弱くなって電流が強くなる。
そして、例えば、ダイヤル20を目盛り(1)に合わせると、電流が弱くなるので、プランジャ30aの押圧力は弱くなる。また、ダイヤル20を目盛り(7)に合わせると、電流が強くなるので、プランジャ30aの押圧力は強くなる。ダイヤル20と可変抵抗器32は、プランジャ30aの押圧力を調整可能な押圧力調整手段を構成する。
また、ソレノイド30に電流を印加すると、プランジャ30aに突出する方向(矢印A参照)の押圧力が作用し、このプランジャ30aの押圧力で、測定本体2と操作本体3とが離反方向Bに押圧されるようになる。ソレノイド30とプランジャ30aは、押圧手段を構成する。
測定本体2側の回路基板17の上面には、送信部33aと受信部33bとでなる距離計測器33が設けられている。
そして、測定本体2と操作本体3とがソレノイド30のプランジャ30aの押圧力に抗して所定のストロークまで接近方向に移動したことを距離計測器33で計測したときに、皮下脂肪厚の測定を開始するようになる。距離計測器33は、測定開始手段を構成する。
第2実施形態の皮下脂肪厚測定装置1Bであれば、測定本体2を被測定者の測定部位に当て、操作本体3で測定本体2を測定部位に押し当てるように操作する。
そして、測定本体2と操作本体3とがソレノイド30のプランジャ30aの押圧力に抗して所定のストロークまで接近方向に移動したことを距離計測器33で計測したときに、皮下脂肪厚の測定が開始される。
このとき、被測定者の脂肪硬さに応じて、ソレノイド30の電流の強弱を可変抵抗器32で調整することで、プランジャ30aの押圧力を調整可能であるから、操作の前に、被測定者に適合する押圧力が得られるように、押圧力を調整しておくことができる。
そして、距離計測器33による移動距離の計測で、その押圧力に達したときに、皮下脂肪厚の測定を開始することができる。これにより、皮下脂肪厚の測定結果にバラツキが発生しないようになる。
また、押圧手段はソレノイド30とプランジャ30a、測定開始手段は距離計測器33、押圧力調整手段は可変抵抗器32であるから、電気部品で構成できて全て電気的に制御できるようになる。
次に、第2実施形態の皮下脂肪厚測定装置1Bを用いて、被測定者の脂肪硬さを検出する方法を説明する。
図6(b)に示すように、回路基板17には、押圧力と押圧ストロークとの関係から脂肪硬さを決定するデータが予め記憶されている脂肪硬さ決定回路(脂肪硬さ決定手段)25が設けられている。すなわち、脂肪硬さ決定回路25には、身長、体重、性別、年齢等が異なる者から予め測定した押圧力と押圧ストロークと脂肪硬さとの関係の多数のデータが記憶されている。
また、ダイヤル20の目盛り位置をセンサーで検出することで、プランジャ30aの押圧力を知ることができ、距離計測器33で、押圧ストロークを知ることができる。したがって、ダイヤル20の目盛り位置を検出するセンサーが押圧力計測手段26となり、押圧ストロークを計測する距離計測器33がストローク計測手段27となる。
そして、被測定者は、先ず、ダイヤル20の目盛り(1)〜(7)の任意の位置で皮下脂肪厚を測定する。これにより、押圧力計測手段26で押圧力が計測され、ストローク計測手段27で押圧ストロークが計測される。そして、押圧力計測手段26で計測された押圧力と、ストローク計測手段27で計測された押圧ストロークとが脂肪硬さ決定回路25に入力される。
この脂肪硬さ決定回路25においては、記憶されたデータと、被測定者が計測した押圧力と押圧ストロークとが比較されて、記憶されたデータの中から選択された、被測定者に適合する脂肪硬さが決定される。
この脂肪硬さは、ダイヤル20の目盛りの数値として表示パネル5で表示することができる。その後、被測定者は、ダイヤル20の目盛りをこの数値に合わせるように設定操作することで、被測定者に適合する押圧力が得られるように、押圧力を調整できるようになる。なお、ダイヤル20の目盛り(1)〜(7)の1個だけの位置ではなく、複数個の位置で皮下脂肪厚を測定して、ダイヤル20の目盛りをその平均値の数値に合わせれば、被測定者により適合する押圧力に調整できるようになる。
また、ダイヤル20に代えて電動モータ等で可変抵抗器32を回転操作できるようにすることもできる。この場合、脂肪硬さ決定回路25で決定された被測定者の脂肪硬さに適合する押圧力を記憶する記憶回路28を設けることができる。なお、操作パネル6に押圧力記憶ボタンを別に設けて、被測定者が押圧力記憶ボタンを押すことで、記憶回路28に被測定者の押圧力を記憶させることもできる。
そして、ボタン6d〜6g(図1参照)で、その被測定者のデータを呼び出す。このとき、記憶回路28に記憶された押圧力に相当する電動モータの電気的制御によって、脂肪硬さに適合する押圧力が得られるように、電動モータ等で可変抵抗器32を回転させて押圧力を調整できるようになる。
このように、脂肪硬さ決定回路25で決定された被測定者の脂肪硬さに適合する押圧力を記憶回路28に記憶させておくことができる。そうすれば、被測定者は、その記憶された押圧力に設定操作し、または自動設定することで、簡単かつ迅速に被測定者に適合する押圧力に調整できるようになる。
本発明の第1実施形態の皮下脂肪厚測定装置の表側の斜視図である。 (a)は、図1の皮下脂肪厚測定装置の裏側の斜視図、(b)は皮下脂肪厚の測定原理図である。 (a)は、皮下脂肪厚測定装置の断面図、(b)(c)は(a)の要部作動図である。 本発明の第2実施形態の皮下脂肪厚測定装置の表側の斜視図である。 図4の皮下脂肪厚測定装置の断面図である。 (a)はダイヤルの平面図、(b)は回路構成図である。
符号の説明
1A,1B 皮下脂肪厚測定装置
2 測定本体
3 操作本体
7 押圧力調整部
11 発光部
12A,12B 受光部
15a,16a フック部(連結手段)
19 ねじ部材(押圧力調整手段)
20 ダイヤル(押圧力調整手段)
21 コイルばね(押圧手段)
22 測定開始スイッチ(測定開始手段)
25 脂肪硬さ決定回路(脂肪硬さ決定手段)
26 押圧力計測手段
27 ストローク計測手段
28 記憶回路(記憶手段)
30 ソレノイド(押圧手段)
30a プランジャ(押圧手段)
32 可変抵抗器(押圧力調整手段)
33 距離計測器(測定開始手段)

Claims (5)

  1. 皮下脂肪厚を測定する測定本体と、この測定本体を被測定者の測定部位に押し当てるように操作する操作本体とを備えた皮下脂肪厚測定装置であって、
    前記測定本体と操作本体とを操作方向に相対移動可能に連結する連結手段と、
    前記測定本体と操作本体とを離反方向に押圧する押圧手段と、
    前記測定本体と操作本体とが押圧手段の押圧力に抗して所定のストロークまで接近方向に移動したことを検出したときに、皮下脂肪厚の測定を開始する測定開始手段と、
    前記押圧手段の押圧力を調整可能な押圧力調整手段とが設けられていることを特徴とする皮下脂肪厚測定装置。
  2. 前記押圧力と押圧ストロークとの関係から脂肪硬さを決定するデータが予め記憶された脂肪硬さ決定手段と、被測定者の押圧力を計測する押圧力計測手段と、被測定者の押圧ストロークを計測するストローク計測手段とが設けられ、被測定者が計測した押圧力と押圧ストロークとを脂肪硬さ決定手段のデータと比較することで、被測定者の脂肪硬さを決定することを特徴とする請求項1に記載の皮下脂肪厚測定装置。
  3. 前記被測定者の脂肪硬さに適合する押圧力を記憶する記憶手段を設けたことを特徴とする請求項2に記載の皮下脂肪厚測定装置。
  4. 前記押圧手段は、測定本体と操作本体とを離反方向に付勢するばねであり、
    前記測定開始手段は、測定本体と操作本体の接近でオンするスイッチであり、
    前記押圧力調整手段は、ばね力の強弱を調整するねじ部材であることを特徴とする請求項1に記載の皮下脂肪厚測定装置。
  5. 前記押圧手段は、測定本体と操作本体とを離反方向に押圧するソレノイドとプランジャであり、
    前記測定開始手段は、測定本体と操作本体との間の距離計測器であり、
    前記押圧力調整手段は、ソレノイドの電流の強弱を調整する可変抵抗器であることを特徴とする請求項1に記載の皮下脂肪厚測定装置。
JP2008245701A 2008-09-25 2008-09-25 皮下脂肪厚測定装置 Expired - Fee Related JP5017224B2 (ja)

Priority Applications (1)

Application Number Priority Date Filing Date Title
JP2008245701A JP5017224B2 (ja) 2008-09-25 2008-09-25 皮下脂肪厚測定装置

Applications Claiming Priority (1)

Application Number Priority Date Filing Date Title
JP2008245701A JP5017224B2 (ja) 2008-09-25 2008-09-25 皮下脂肪厚測定装置

Publications (2)

Publication Number Publication Date
JP2010075340A true JP2010075340A (ja) 2010-04-08
JP5017224B2 JP5017224B2 (ja) 2012-09-05

Family

ID=42206533

Family Applications (1)

Application Number Title Priority Date Filing Date
JP2008245701A Expired - Fee Related JP5017224B2 (ja) 2008-09-25 2008-09-25 皮下脂肪厚測定装置

Country Status (1)

Country Link
JP (1) JP5017224B2 (ja)

Citations (7)

* Cited by examiner, † Cited by third party
Publication number Priority date Publication date Assignee Title
JPH08320220A (ja) * 1995-05-25 1996-12-03 Omron Corp 同質固体の深さ測定器、及び皮下脂肪厚測定器
JPH1085191A (ja) * 1996-09-17 1998-04-07 Imoto Seisakusho:Kk 筋硬度計
JPH11299889A (ja) * 1998-02-20 1999-11-02 Matsumoto Seisakusho:Kk 点滴用警報装置及び尿溜用警報装置
JPH11309136A (ja) * 1998-04-28 1999-11-09 Yoshitoku Oyama 脚筋持久力測定装置
JP2005160621A (ja) * 2003-12-01 2005-06-23 Chunichi Denshi Co Ltd 圧脈波センサ及び圧脈波計測装置
JP2007330550A (ja) * 2006-06-15 2007-12-27 Matsushita Electric Works Ltd 皮下脂肪厚計
JP2009240374A (ja) * 2008-03-28 2009-10-22 Osaka Univ 皮膚特性測定装置および皮膚特性測定プログラム

Patent Citations (7)

* Cited by examiner, † Cited by third party
Publication number Priority date Publication date Assignee Title
JPH08320220A (ja) * 1995-05-25 1996-12-03 Omron Corp 同質固体の深さ測定器、及び皮下脂肪厚測定器
JPH1085191A (ja) * 1996-09-17 1998-04-07 Imoto Seisakusho:Kk 筋硬度計
JPH11299889A (ja) * 1998-02-20 1999-11-02 Matsumoto Seisakusho:Kk 点滴用警報装置及び尿溜用警報装置
JPH11309136A (ja) * 1998-04-28 1999-11-09 Yoshitoku Oyama 脚筋持久力測定装置
JP2005160621A (ja) * 2003-12-01 2005-06-23 Chunichi Denshi Co Ltd 圧脈波センサ及び圧脈波計測装置
JP2007330550A (ja) * 2006-06-15 2007-12-27 Matsushita Electric Works Ltd 皮下脂肪厚計
JP2009240374A (ja) * 2008-03-28 2009-10-22 Osaka Univ 皮膚特性測定装置および皮膚特性測定プログラム

Also Published As

Publication number Publication date
JP5017224B2 (ja) 2012-09-05

Similar Documents

Publication Publication Date Title
CN100409803C (zh) 光学式生物体信息测定装置、测定方法以及判定装置
RU2589543C1 (ru) Устройство и способ для оценки диабетической периферической нейропатии
US11419512B2 (en) Flow volume measuring device, flow volume measuring method, pressure measuring device, and pressure measuring method
US20130310659A1 (en) Blood pressure measuring device
KR100826187B1 (ko) 생체정보 측정 장치 및 생체정보 측정 기능을 구비한 이동단말기 및 생체정보 측정 기능을 구비한 원격 조종 장치 및이를 위한 방법
JP2005087226A (ja) 体組成情報取得装置
KR20080073988A (ko) 생체 신호 검출 방법 및 그 장치
KR101484026B1 (ko) 피부 탄성도 측정장치
JP2011200465A (ja) 肌水分測定装置
CN110191679B (zh) 皮肤感觉阈值的测定装置
JP5017224B2 (ja) 皮下脂肪厚測定装置
Sarvazyan et al. Acoustical method of whole-body hydration status monitoring
US20060213286A1 (en) Intelligent laminated pressure surface
KR20010099267A (ko) 휴대용 체지방 측정기
KR100621935B1 (ko) 피부 보습도 측정장치 및 그의 제어방법
EP3561462B1 (en) Body analyser
KR102636901B1 (ko) 압력을 반영하여 포도당을 측정하는 비침습 포도당 측정 장치 및 방법
CN114206210A (zh) 生物测量系统、生物测量程序以及计算机可读非暂时性存储介质
JP5236413B2 (ja) 皮下脂肪厚測定装置
JP4715930B2 (ja) 光学式皮下脂肪厚測定装置
JP2001012997A (ja) 体重計
JP4466162B2 (ja) 生体情報測定装置
JP2003290161A (ja) 脈波測定装置及び脈波測定方法
TWI855905B (zh) 血液測量裝置
CN221919674U (zh) 一种互联健康监测马桶

Legal Events

Date Code Title Description
A621 Written request for application examination

Free format text: JAPANESE INTERMEDIATE CODE: A621

Effective date: 20100913

A711 Notification of change in applicant

Free format text: JAPANESE INTERMEDIATE CODE: A712

Effective date: 20120111

A977 Report on retrieval

Free format text: JAPANESE INTERMEDIATE CODE: A971007

Effective date: 20120529

TRDD Decision of grant or rejection written
A01 Written decision to grant a patent or to grant a registration (utility model)

Free format text: JAPANESE INTERMEDIATE CODE: A01

Effective date: 20120605

A01 Written decision to grant a patent or to grant a registration (utility model)

Free format text: JAPANESE INTERMEDIATE CODE: A01

A61 First payment of annual fees (during grant procedure)

Free format text: JAPANESE INTERMEDIATE CODE: A61

Effective date: 20120611

FPAY Renewal fee payment (event date is renewal date of database)

Free format text: PAYMENT UNTIL: 20150615

Year of fee payment: 3

R150 Certificate of patent or registration of utility model

Free format text: JAPANESE INTERMEDIATE CODE: R150

LAPS Cancellation because of no payment of annual fees