JP2010074167A - コリメーション光学素子を持つled光源 - Google Patents
コリメーション光学素子を持つled光源 Download PDFInfo
- Publication number
- JP2010074167A JP2010074167A JP2009216627A JP2009216627A JP2010074167A JP 2010074167 A JP2010074167 A JP 2010074167A JP 2009216627 A JP2009216627 A JP 2009216627A JP 2009216627 A JP2009216627 A JP 2009216627A JP 2010074167 A JP2010074167 A JP 2010074167A
- Authority
- JP
- Japan
- Prior art keywords
- light source
- led light
- lens
- glass
- led
- Prior art date
- Legal status (The legal status is an assumption and is not a legal conclusion. Google has not performed a legal analysis and makes no representation as to the accuracy of the status listed.)
- Granted
Links
- 230000003287 optical effect Effects 0.000 title description 9
- 239000011521 glass Substances 0.000 claims abstract description 35
- 239000000463 material Substances 0.000 claims description 36
- 239000000758 substrate Substances 0.000 claims description 30
- 238000000034 method Methods 0.000 claims description 14
- 239000002241 glass-ceramic Substances 0.000 claims description 11
- 238000003825 pressing Methods 0.000 claims description 10
- 230000009466 transformation Effects 0.000 claims description 5
- 230000000694 effects Effects 0.000 description 11
- 238000003491 array Methods 0.000 description 6
- 230000004048 modification Effects 0.000 description 6
- 238000012986 modification Methods 0.000 description 6
- 238000004519 manufacturing process Methods 0.000 description 4
- 239000004033 plastic Substances 0.000 description 4
- 229920003023 plastic Polymers 0.000 description 4
- 230000001419 dependent effect Effects 0.000 description 3
- 238000007731 hot pressing Methods 0.000 description 3
- 239000010409 thin film Substances 0.000 description 3
- 239000003086 colorant Substances 0.000 description 2
- 238000010586 diagram Methods 0.000 description 2
- 238000005516 engineering process Methods 0.000 description 2
- 239000000835 fiber Substances 0.000 description 2
- 239000005304 optical glass Substances 0.000 description 2
- 239000004065 semiconductor Substances 0.000 description 2
- 235000006508 Nelumbo nucifera Nutrition 0.000 description 1
- 240000002853 Nelumbo nucifera Species 0.000 description 1
- 235000006510 Nelumbo pentapetala Nutrition 0.000 description 1
- 230000008859 change Effects 0.000 description 1
- 238000006243 chemical reaction Methods 0.000 description 1
- 230000006835 compression Effects 0.000 description 1
- 238000007906 compression Methods 0.000 description 1
- 230000002708 enhancing effect Effects 0.000 description 1
- 230000004907 flux Effects 0.000 description 1
- 230000009477 glass transition Effects 0.000 description 1
- 238000005286 illumination Methods 0.000 description 1
- 238000002844 melting Methods 0.000 description 1
- 230000008018 melting Effects 0.000 description 1
- 230000002093 peripheral effect Effects 0.000 description 1
- 230000010287 polarization Effects 0.000 description 1
- 238000009827 uniform distribution Methods 0.000 description 1
Images
Classifications
-
- G—PHYSICS
- G02—OPTICS
- G02B—OPTICAL ELEMENTS, SYSTEMS OR APPARATUS
- G02B3/00—Simple or compound lenses
- G02B3/0006—Arrays
- G02B3/0012—Arrays characterised by the manufacturing method
- G02B3/0031—Replication or moulding, e.g. hot embossing, UV-casting, injection moulding
-
- G—PHYSICS
- G02—OPTICS
- G02B—OPTICAL ELEMENTS, SYSTEMS OR APPARATUS
- G02B3/00—Simple or compound lenses
- G02B3/0006—Arrays
- G02B3/0037—Arrays characterized by the distribution or form of lenses
- G02B3/0056—Arrays characterized by the distribution or form of lenses arranged along two different directions in a plane, e.g. honeycomb arrangement of lenses
Landscapes
- Physics & Mathematics (AREA)
- General Physics & Mathematics (AREA)
- Optics & Photonics (AREA)
- Engineering & Computer Science (AREA)
- Manufacturing & Machinery (AREA)
- Led Device Packages (AREA)
- Lenses (AREA)
Abstract
【解決手段】本発明は、好ましくは0.1よりも大きいアスペクト比を有する非球面ガラス・レンズを含むLED光源に関する。
【選択図】図1
Description
2 LED
3 コリメーション・レンズ
4 平板
5 光線
6 レンズ・アレイ
7 球面
8 非球面
9 焦点移動
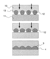
10 プレス金型上側部分
11 プレス金型下側部分
12 ブランク
13 凹部
14 基板平板
Claims (24)
- 複数のLEDと、ガラスまたはガラス・セラミックスでできた複数のコリメーション・レンズを含むアレイとを含み、前記コリメーション・レンズのアスペクト比は、0.1よりも大きい、LED光源。
- 前記コリメーション・レンズは、自由曲面を含むこと、特に前記コリメーション・レンズは、非球面形状を有することを特徴とする、請求項1に記載のLED光源。
- 前記コリメーション・レンズは、球面形状を有することを特徴とする、請求項1に記載のLED光源。
- 前記アスペクト比は、0.2よりも大きく、好ましくは0.3よりも大きく、最も好ましくは0.4よりも大きいことを特徴とする、請求項1乃至3のいずれか1項に記載のLED光源。
- 前記コリメーション・レンズは、前記LEDから1.5mm未満、好ましくは1.0mm未満、最も好ましくは0.5mm未満だけ間隔をあけられることを特徴とする、請求項1乃至4のいずれか1項に記載のLED光源。
- 前記LED光源は、少なくとも±30°、好ましくは±50°の角度内に前記LEDによって放出される光が、実質的に束の状態で前方方向に放出されるように、形成されることを特徴とする、請求項1乃至5のいずれか1項に記載のLED光源。
- 前記LED光源は、前記LEDの中心軸から±60°の放出角度内に前記LEDによって放出される光の光線の発散が、25cm、5cm未満、好ましくは2.5cm未満の距離内であるように、形成されることを特徴とする、請求項1乃至6のいずれか1項に記載のLED光源。
- 前記コリメーション・レンズは、1.4よりも大きく、好ましくは1.5よりも大きく、最も好ましくは1.7よりも大きい屈折率ndを有する材料から作られることを特徴とする、請求項1乃至7のいずれか1項に記載のLED光源。
- 前記コリメーション・レンズは、35よりも大きく、好ましくは40よりも大きく、最も好ましくは50よりも大きいアッベ係数νdを有する材料から作られることを特徴とする、請求項1乃至8のいずれか1項に記載のLED光源。
- 前記コリメーション・レンズは、透明平板上に配置されることを特徴とする、請求項1乃至9のいずれか1項に記載のLED光源。
- 前記コリメーション・レンズのクラウン高さは、0.1よりも大きく、好ましくは0.3よりも大きく、最も好ましくは0.5mmよりも大きいことを特徴とする、請求項1乃至10のいずれか1項に記載のLED光源。
- 前記コリメーション・レンズは、0.2から10mm、好ましくは1から5mmの直径を有することを特徴とする、請求項1乃至11のいずれか1項に記載のLED光源。
- 前記レンズは、ガラスまたはガラス・セラミックスでできた平板上に配置されること、および前記平板は、フィルタまたは変換器として機能することを特徴とする、請求項1乃至12のいずれか1項に記載のLED光源。
- 前記レンズは、ガラスまたはガラス・セラミックスでできた平板上に配置されること、および前記平板は、その面の1つまたは両方に光学的に活性な微細構造を有することを特徴とする、請求項1乃至13のいずれか1項に記載のLED光源。
- 前記平板は、少なくとも2つの層を含むことを特徴とする、請求項1乃至14のいずれか1項に記載のLED光源。
- 前記少なくとも2つの層の間の界面は、実質的に平坦であることを特徴とする、請求項15に記載のLED光源。
- 前記レンズは、それらの縁において互いに5未満、好ましくは2未満、最も好ましくは1mm未満だけ間隔をあけられること、特に、前記レンズは、互いに直接隣接していることを特徴とする、請求項16に記載のLED光源。
- 前記レンズ・アレイは、ワンピースで形成されることを特徴とする、請求項1乃至17のいずれか1項に記載のLED光源。
- レンズ・アレイ、特に請求項1乃至18のいずれか1項に記載のレンズ・アレイを製作するための方法であって、
ブランク、特にガラス・ブランクを、複数の凹部を有するプレス金型内に導入するステップと、
前記ブランクをレンズ、特にコリメーション・レンズにプレスし、それによって前記ブランクが少なくとも部分的に互いに結合するステップとを含む方法。 - 前記金型は、その側面の1つにおいて実質的に平坦であることを特徴とする、請求項19に記載のレンズ・アレイを製作するための方法。
- プレスの間、前記ブランクは、前記ブランクの材料が基板と混合するように、前記基板に対してプレスされることを特徴とする、請求項19乃至20のいずれか1項に記載のレンズ・アレイを製作するための方法。
- 少なくともプレス中は、前記ブランク材料は、前記基板材料よりも柔らかいことを特徴とする、請求項20乃至21のいずれか1項に記載のレンズ・アレイを製作するための方法。
- 前記プレス・ステップの後に、前記基板を薄くすることを特徴とする、請求項20乃至22のいずれか1項に記載のレンズ・アレイを製作するための方法。
- 前記ブランクを、異なる材料でできた基板上に、特に異なるガラス変態温度Tgを有するガラス基板上にプレスすることを特徴とする、請求項19乃至23のいずれか1項に記載のレンズ・アレイを製作するための方法。
Applications Claiming Priority (2)
| Application Number | Priority Date | Filing Date | Title |
|---|---|---|---|
| DE102008048379.6A DE102008048379B4 (de) | 2008-09-22 | 2008-09-22 | Verfahren zur Herstellung eines Linsen-Arrays |
| DE102008048379.6 | 2008-09-22 |
Publications (2)
| Publication Number | Publication Date |
|---|---|
| JP2010074167A true JP2010074167A (ja) | 2010-04-02 |
| JP5313821B2 JP5313821B2 (ja) | 2013-10-09 |
Family
ID=41566081
Family Applications (1)
| Application Number | Title | Priority Date | Filing Date |
|---|---|---|---|
| JP2009216627A Expired - Fee Related JP5313821B2 (ja) | 2008-09-22 | 2009-09-18 | コリメーション光学素子を持つled光源 |
Country Status (5)
| Country | Link |
|---|---|
| US (1) | US8531771B2 (ja) |
| JP (1) | JP5313821B2 (ja) |
| CN (1) | CN101713517B (ja) |
| DE (1) | DE102008048379B4 (ja) |
| NL (1) | NL2003523C2 (ja) |
Cited By (2)
| Publication number | Priority date | Publication date | Assignee | Title |
|---|---|---|---|---|
| WO2021201052A1 (ja) * | 2020-03-31 | 2021-10-07 | Scivax株式会社 | レンズおよび光学系装置 |
| JP2023538249A (ja) * | 2020-08-14 | 2023-09-07 | アジレント・テクノロジーズ・インク | 角度付けられたファセットレーザデバイスのための自由曲面コリメータレンズ |
Families Citing this family (12)
| Publication number | Priority date | Publication date | Assignee | Title |
|---|---|---|---|---|
| CN201568808U (zh) * | 2009-07-31 | 2010-09-01 | 深圳市光峰光电技术有限公司 | 高效合光的舞台灯光照明装置 |
| DE102010051597B4 (de) * | 2010-11-16 | 2017-05-11 | Automotive Lighting Reutlingen Gmbh | Optisches Linsenelement, Lichtmodul für einen Kraftfahrzeugscheinwerfer mit einem solchen Linsenelement und Kraftfahrzeugscheinwerfer mit einem solchen Lichtmodul |
| US20130235334A1 (en) * | 2011-08-31 | 2013-09-12 | Michael F. Widman | Ophthalmic lens forming optic |
| DE102011112285A1 (de) | 2011-09-05 | 2013-03-07 | Schott Ag | Lichtformung mittels LED-Lichtquelle |
| DE102012106481B4 (de) * | 2012-07-18 | 2022-09-15 | HELLA GmbH & Co. KGaA | Beleuchtungsvorrichtung für Fahrzeuge |
| CN103887401A (zh) * | 2012-12-24 | 2014-06-25 | 鸿富锦精密工业(深圳)有限公司 | Led晶粒、led车灯及led晶粒的制造方法 |
| CN104020574B (zh) * | 2014-05-07 | 2019-04-12 | 山东理工大学 | 一种用于led光源准直的光学系统 |
| CN105280789A (zh) * | 2015-09-18 | 2016-01-27 | 创维液晶器件(深圳)有限公司 | 一种量子点led |
| US10659701B2 (en) | 2016-11-10 | 2020-05-19 | Magic Leap, Inc. | Method and system for multiple f-number lens |
| GB2576291B (en) | 2018-05-15 | 2021-01-06 | Plessey Semiconductors Ltd | LED backlight |
| DE102018112453A1 (de) * | 2018-05-24 | 2019-11-28 | HELLA GmbH & Co. KGaA | Vorfeldlichtmodul |
| DE102018217215A1 (de) * | 2018-10-09 | 2020-04-09 | Fraunhofer-Gesellschaft zur Förderung der angewandten Forschung e.V. | Abblendlichtscheinwerfer |
Citations (11)
| Publication number | Priority date | Publication date | Assignee | Title |
|---|---|---|---|---|
| JPS61179003A (ja) * | 1985-02-04 | 1986-08-11 | スタンレー電気株式会社 | 車両用灯具の光源 |
| JPH0613161U (ja) * | 1992-07-22 | 1994-02-18 | スタンレー電気株式会社 | 集光ガラス付発光アレイ装置 |
| JPH11237850A (ja) * | 1998-02-23 | 1999-08-31 | Nokeg & G Opt Electronics Kk | Led表示装置 |
| JP2002283362A (ja) * | 2001-03-23 | 2002-10-03 | Seiko Epson Corp | マイクロレンズアレイ及びその製造方法並びに光学装置 |
| JP2003204083A (ja) * | 2001-12-28 | 2003-07-18 | Toshiba Corp | 集光レンズ、レンズ一体型発光素子及び灯火装置 |
| JP2005175417A (ja) * | 2003-07-28 | 2005-06-30 | Ricoh Co Ltd | 発光素子アレイ、光書込ユニットおよび画像形成装置 |
| JP2005276956A (ja) * | 2004-03-23 | 2005-10-06 | Neopt Kk | 照明ユニットおよびそれを用いた照明装置 |
| JP2006278567A (ja) * | 2005-03-28 | 2006-10-12 | Matsushita Electric Works Ltd | Ledユニット |
| JP2006317486A (ja) * | 2005-05-10 | 2006-11-24 | Seiko Epson Corp | マイクロレンズ、光学板、拡散板、導光板、バックライト、プロジェクション用スクリーン、プロジェクションシステム、電気光学装置および電子機器、並びにマイクロレンズの製造方法 |
| JP2008041546A (ja) * | 2006-08-09 | 2008-02-21 | Showa Denko Kk | 発光装置、表示装置、およびカバー取付部材 |
| JP2008509440A (ja) * | 2004-08-10 | 2008-03-27 | ショット アクチエンゲゼルシャフト | ハイブリッドレンズを作製する方法及び装置 |
Family Cites Families (7)
| Publication number | Priority date | Publication date | Assignee | Title |
|---|---|---|---|---|
| US4924356A (en) * | 1988-12-07 | 1990-05-08 | General Electric Company | Illumination system for a display device |
| JP2001283362A (ja) | 2000-03-29 | 2001-10-12 | Noriko Matsushita | 点検確認支援装置 |
| WO2005041632A2 (en) | 2003-10-31 | 2005-05-12 | Phoseon Technology, Inc. | Collection optics for led array with offset hemispherical or faceted surfaces |
| JPWO2007049515A1 (ja) * | 2005-10-26 | 2009-04-30 | 旭化成ケミカルズ株式会社 | 光透過性樹脂板 |
| US7537347B2 (en) * | 2005-11-29 | 2009-05-26 | Texas Instruments Incorporated | Method of combining dispersed light sources for projection display |
| DE102006001790B4 (de) * | 2006-01-12 | 2009-10-15 | Schott Ag | Verfahren und Vorrichtung zur Herstellung optischer Komponenten durch Heißformung |
| DE202006020378U1 (de) * | 2006-05-05 | 2008-05-15 | Zweibrüder Optoelectronics GmbH | LED-Beleuchtungsmodul |
-
2008
- 2008-09-22 DE DE102008048379.6A patent/DE102008048379B4/de not_active Expired - Fee Related
-
2009
- 2009-09-18 JP JP2009216627A patent/JP5313821B2/ja not_active Expired - Fee Related
- 2009-09-21 CN CN200910253032.1A patent/CN101713517B/zh not_active Expired - Fee Related
- 2009-09-22 US US12/564,371 patent/US8531771B2/en not_active Expired - Fee Related
- 2009-09-22 NL NL2003523A patent/NL2003523C2/en not_active IP Right Cessation
Patent Citations (11)
| Publication number | Priority date | Publication date | Assignee | Title |
|---|---|---|---|---|
| JPS61179003A (ja) * | 1985-02-04 | 1986-08-11 | スタンレー電気株式会社 | 車両用灯具の光源 |
| JPH0613161U (ja) * | 1992-07-22 | 1994-02-18 | スタンレー電気株式会社 | 集光ガラス付発光アレイ装置 |
| JPH11237850A (ja) * | 1998-02-23 | 1999-08-31 | Nokeg & G Opt Electronics Kk | Led表示装置 |
| JP2002283362A (ja) * | 2001-03-23 | 2002-10-03 | Seiko Epson Corp | マイクロレンズアレイ及びその製造方法並びに光学装置 |
| JP2003204083A (ja) * | 2001-12-28 | 2003-07-18 | Toshiba Corp | 集光レンズ、レンズ一体型発光素子及び灯火装置 |
| JP2005175417A (ja) * | 2003-07-28 | 2005-06-30 | Ricoh Co Ltd | 発光素子アレイ、光書込ユニットおよび画像形成装置 |
| JP2005276956A (ja) * | 2004-03-23 | 2005-10-06 | Neopt Kk | 照明ユニットおよびそれを用いた照明装置 |
| JP2008509440A (ja) * | 2004-08-10 | 2008-03-27 | ショット アクチエンゲゼルシャフト | ハイブリッドレンズを作製する方法及び装置 |
| JP2006278567A (ja) * | 2005-03-28 | 2006-10-12 | Matsushita Electric Works Ltd | Ledユニット |
| JP2006317486A (ja) * | 2005-05-10 | 2006-11-24 | Seiko Epson Corp | マイクロレンズ、光学板、拡散板、導光板、バックライト、プロジェクション用スクリーン、プロジェクションシステム、電気光学装置および電子機器、並びにマイクロレンズの製造方法 |
| JP2008041546A (ja) * | 2006-08-09 | 2008-02-21 | Showa Denko Kk | 発光装置、表示装置、およびカバー取付部材 |
Cited By (6)
| Publication number | Priority date | Publication date | Assignee | Title |
|---|---|---|---|---|
| WO2021201052A1 (ja) * | 2020-03-31 | 2021-10-07 | Scivax株式会社 | レンズおよび光学系装置 |
| JPWO2021201052A1 (ja) * | 2020-03-31 | 2021-10-07 | ||
| JP7641023B2 (ja) | 2020-03-31 | 2025-03-06 | Scivax株式会社 | レンズおよび光学系装置 |
| US12411322B2 (en) | 2020-03-31 | 2025-09-09 | Scivax Corporation | Lens and optical system device |
| JP2023538249A (ja) * | 2020-08-14 | 2023-09-07 | アジレント・テクノロジーズ・インク | 角度付けられたファセットレーザデバイスのための自由曲面コリメータレンズ |
| JP7801308B2 (ja) | 2020-08-14 | 2026-01-16 | アジレント・テクノロジーズ・インク | 角度付けられたファセットレーザデバイスのための自由曲面コリメータレンズ |
Also Published As
| Publication number | Publication date |
|---|---|
| CN101713517A (zh) | 2010-05-26 |
| DE102008048379A1 (de) | 2010-04-15 |
| JP5313821B2 (ja) | 2013-10-09 |
| DE102008048379B4 (de) | 2016-03-31 |
| US20100091490A1 (en) | 2010-04-15 |
| NL2003523C2 (en) | 2010-06-17 |
| NL2003523A (en) | 2010-03-23 |
| CN101713517B (zh) | 2015-01-14 |
| US8531771B2 (en) | 2013-09-10 |
Similar Documents
| Publication | Publication Date | Title |
|---|---|---|
| JP5313821B2 (ja) | コリメーション光学素子を持つled光源 | |
| JP4799341B2 (ja) | 照明装置 | |
| US8487519B2 (en) | Light emitting device | |
| US20060044806A1 (en) | Light emitting diode system packages | |
| US9534766B2 (en) | Lighting units having light-diffusing optical fiber | |
| JP4976218B2 (ja) | 発光ユニット | |
| CN102713688B (zh) | 经准直化的光源和用于制造该光源的方法 | |
| TW201235707A (en) | LED lens and light emitting device using the same | |
| JP6410964B2 (ja) | 光源装置、照明装置及び車両用灯具 | |
| US9759843B2 (en) | Optical beam shaping and polarization selection on LED with wavelength conversion | |
| CN114296298B (zh) | 一种用于辅助照明、测距的配光结构及其配光方法 | |
| KR20160056089A (ko) | 발광 장치 | |
| CN107923580A (zh) | Led 模块和照明模块 | |
| TW200522387A (en) | High-power LED planarization encapsulation structure | |
| CN104296068A (zh) | 用于照明装置的透镜和具有该透镜的照明装置 | |
| CN206145560U (zh) | 投射灯镜片装置 | |
| US20070291504A1 (en) | Fused fiber array optics for led | |
| TW201502582A (zh) | 透鏡及其光源模組 | |
| JP2024521071A (ja) | 改善されたμ-LED投影装置およびLED投影装置を製造するための方法 | |
| US20020001140A1 (en) | Collecting and organizing means for multiple light sources | |
| WO2015129761A1 (ja) | 配光制御部材及び照明装置 | |
| CN100395616C (zh) | 聚光片及采用该聚光片的背光模组 | |
| TWM405521U (en) | Light source unit and backlight module | |
| KR200433246Y1 (ko) | 엘이디용 융합형 광섬유 어레이 광학 장치 | |
| TWI298207B (en) | Illumination package |
Legal Events
| Date | Code | Title | Description |
|---|---|---|---|
| A131 | Notification of reasons for refusal |
Free format text: JAPANESE INTERMEDIATE CODE: A131 Effective date: 20111114 |
|
| A977 | Report on retrieval |
Free format text: JAPANESE INTERMEDIATE CODE: A971007 Effective date: 20111116 |
|
| A601 | Written request for extension of time |
Free format text: JAPANESE INTERMEDIATE CODE: A601 Effective date: 20120214 |
|
| A602 | Written permission of extension of time |
Free format text: JAPANESE INTERMEDIATE CODE: A602 Effective date: 20120217 |
|
| A521 | Request for written amendment filed |
Free format text: JAPANESE INTERMEDIATE CODE: A523 Effective date: 20120514 |
|
| RD04 | Notification of resignation of power of attorney |
Free format text: JAPANESE INTERMEDIATE CODE: A7424 Effective date: 20120710 |
|
| A131 | Notification of reasons for refusal |
Free format text: JAPANESE INTERMEDIATE CODE: A131 Effective date: 20121101 |
|
| A521 | Request for written amendment filed |
Free format text: JAPANESE INTERMEDIATE CODE: A523 Effective date: 20130201 |
|
| A131 | Notification of reasons for refusal |
Free format text: JAPANESE INTERMEDIATE CODE: A131 Effective date: 20130219 |
|
| A521 | Request for written amendment filed |
Free format text: JAPANESE INTERMEDIATE CODE: A523 Effective date: 20130517 |
|
| TRDD | Decision of grant or rejection written | ||
| A01 | Written decision to grant a patent or to grant a registration (utility model) |
Free format text: JAPANESE INTERMEDIATE CODE: A01 Effective date: 20130604 |
|
| A61 | First payment of annual fees (during grant procedure) |
Free format text: JAPANESE INTERMEDIATE CODE: A61 Effective date: 20130704 |
|
| R150 | Certificate of patent or registration of utility model |
Free format text: JAPANESE INTERMEDIATE CODE: R150 Ref document number: 5313821 Country of ref document: JP Free format text: JAPANESE INTERMEDIATE CODE: R150 |
|
| R250 | Receipt of annual fees |
Free format text: JAPANESE INTERMEDIATE CODE: R250 |
|
| R250 | Receipt of annual fees |
Free format text: JAPANESE INTERMEDIATE CODE: R250 |
|
| R250 | Receipt of annual fees |
Free format text: JAPANESE INTERMEDIATE CODE: R250 |
|
| LAPS | Cancellation because of no payment of annual fees |
