JP2010073640A - 封止構造を備えた放電ランプ - Google Patents

封止構造を備えた放電ランプ Download PDF

Info

Publication number
JP2010073640A
JP2010073640A JP2008242870A JP2008242870A JP2010073640A JP 2010073640 A JP2010073640 A JP 2010073640A JP 2008242870 A JP2008242870 A JP 2008242870A JP 2008242870 A JP2008242870 A JP 2008242870A JP 2010073640 A JP2010073640 A JP 2010073640A
Authority
JP
Japan
Prior art keywords
electrode
metal foil
foil
support rod
tube
Prior art date
Legal status (The legal status is an assumption and is not a legal conclusion. Google has not performed a legal analysis and makes no representation as to the accuracy of the status listed.)
Granted
Application number
JP2008242870A
Other languages
English (en)
Other versions
JP5258476B2 (ja
Inventor
Masaaki Ogawa
正明 小川
Minoru Okai
稔 岡井
Current Assignee (The listed assignees may be inaccurate. Google has not performed a legal analysis and makes no representation or warranty as to the accuracy of the list.)
Orc Manufacturing Co Ltd
Original Assignee
Orc Manufacturing Co Ltd
Priority date (The priority date is an assumption and is not a legal conclusion. Google has not performed a legal analysis and makes no representation as to the accuracy of the date listed.)
Filing date
Publication date
Application filed by Orc Manufacturing Co Ltd filed Critical Orc Manufacturing Co Ltd
Priority to JP2008242870A priority Critical patent/JP5258476B2/ja
Publication of JP2010073640A publication Critical patent/JP2010073640A/ja
Application granted granted Critical
Publication of JP5258476B2 publication Critical patent/JP5258476B2/ja
Active legal-status Critical Current
Anticipated expiration legal-status Critical

Links

Images

Landscapes

  • Vessels And Coating Films For Discharge Lamps (AREA)

Abstract

【課題】金属箔を介在させて電極支持棒を封止したランプの封止構造において、応力集中を生じさせず、クラックの発生を防止する。
【解決手段】電極支持棒22と内部ガラス管24との間に介在させる巻き箔30を、幅の狭い狭幅巻き箔30Bと幅の広い幅広巻き箔30Cとを重ねて巻き上げることによって構成する。そして、巻き箔30の封止管先端側を電極支持棒22と内部ガラス管24との間で圧着させて隙間を設けず、一方で巻き箔30の陽極側端部に隙間Sを設ける。
【選択図】図3

Description

本発明は、ショートアーク型放電ランプなど放電ランプの封止構造に関し、特に、封止管内の封止構造に関する。
放電ランプでは、電極を封じた発光管の両端に封止管が一体となって連設している。封止管内には、電極支持棒が筒状ガラス管によって保持されており、封止管をガスバーナーで加熱、収縮させる。これにより、封止管がガラス管と溶着し、封止管内部が封止される。
ガラス管と電極支持棒との間で熱膨張率が違うため、その接触面にクラックが発生しやすい。そのため、電極支持棒とガラス管との間に金属製の巻き箔を介在させ、クラック発生を防ぐ。巻き箔としては、凹凸のある金属箔を電極支持棒周りに巻いてガラス管と弾接せる巻き方や、あるいは、周面に空隙を有するように巻き箔を電極支持棒に緩く巻回させる巻き方もある(特許文献1、2参照)。
特開昭62−143358号公報 特開平1−151149号公報
特許文献1のように巻き箔が変形せずに一様に軸方向に沿って延びていると、金属箔の電極側端部付近と接触するガラス管内面部分に応力が集中する。ガラス管は巻き箔を介在して電極支持棒を保持し、その保持している部分(すなわち、巻き箔を介して電極支持棒に圧着している部分)で最も電極に近い部分が巻き箔の電極側端部となる。
そのため、放電ランプが振動すると、電極支持棒によって支えられた電極の径方向の動きにより、巻き箔の電極側端部、すなわちガラス管内面の接触部分に最も大きな力がかかる。これによって、ガラス管内面接触部分からクラックが発生する恐れがある。
また、特許文献2のように空隙を設けて巻き箔を緩く巻いた場合、ガラス管が電極支持棒をしっかりと保持することが出来ない。そのため、放電ランプに振動が生じると巻き箔自身も動き、巻き箔とガラス管との溶着部分からクラックの発生する恐れがある。
本発明の放電ランプは、応力集中を生じさせないように電極支持棒を封止管内で保持する放電ランプであり、発光管内の電極を支持し、封止管内に設けられた電極支持棒と、電極支持棒を軸通させた状態で保持する電極棒保持管(例えばガラス管)と、電極棒保持管と電極支持棒との間に設けられ、軸方向に沿って延在する金属箔とを備える。
本発明では、金属箔が、封止管の径方向断面に関し、電極側の反対側(以下、封止管先端側という)において電極側よりも相対的に密である(逆に言えば、金属箔の電極側端部が、相対的に疎である)ことを特徴とする。
ここで、「封止管の径方向断面に関し、密である」とは、電極支持棒と電極棒保持管との間に形成される空間において、金属箔の電極側端部ではその径方向断面に隙間が相対的に少ないことを示す。別の言い方をすれば、電極支持棒と電極棒保持管との間の領域で金属箔の占める割合が、電極側端部に比べて封止管先端側端部の方が大きいことを表す。
電極側端部は電極に近いため、電極の径方向の動きに対して金属箔の電極側部分が最も力を受ける。本発明では、この電極側端部が相対的に密ではなく、その反対側の封止管先端側端部が密になっている。そのため、電極側端部よりも封止管先端側でその力を受けることができる。よって、電極から離れた金属箔部分にも力がかかり、金属箔を介して内部ガラス管に伝わる応力が、金属箔の軸方向全体に渡って分散する。
金属リングなどを封止管内部に設ける場合、電極の径方向の動きに対して、金属リング付近の封止管や電極棒保持管からのクラックが生じやすい。そのため、金属箔の封止管先端側端部が電極支持棒外面と電極棒保持管内面との間を埋め、径方向に隙間を設けないように構成するのがよい。一方、金属箔の電極側端部には、内部空間内に隙間をもたせればよい。
特に、電極支持棒からの応力が金属箔にかかるため、電極に最も近い金属箔の電極側端部を電極から距離をもたせることが望ましい。そのため、金属箔の電極側端部と電極支持棒外面との間に隙間を形成するのがよい。
また、電極棒保持管内面と金属箔との接触部分で応力が集中するのを防ぐため、電極支持棒外面付近では金属箔の電極側端部を電極からできるだけ離す一方、金属箔の電極棒保持管との接触エリアを大きくするのがよい。したがって、金属箔の電極棒保持管内面付近の軸方向幅を、電極棒支持棒外面付近の軸方向幅に比べて広くするのが望ましい。例えば、電極棒保持管に近いほど(径方向外側ほど)幅が広くなるようにする。
上記構成をもつ金属箔を簡易に製造するため、金属箔を巻き箔で構成するのが好ましい。この場合、電極側端部に隙間を設けながら金属箔を電極支持棒に巻回すればよい。
巻き箔の構成としては、例えば、軸方向幅の異なる複数枚の金属箔を用意し、封止管先端側の端縁を揃えながら電極支持棒に巻回して巻き箔を構成することができる。
電極棒保持管に近いほど巻き箔の軸方向幅を広くする場合、複数枚の金属箔のうち電極支持棒外面と接する金属箔(以下、内側金属箔という)の軸方向幅が、電極棒保持管内面に接する金属箔(以下、外側金属箔という)に比べて狭くなるように構成すればよい。
あるいは、電極支持棒外面と接する内側金属箔と、電極棒保持管内面に接する外側金属箔との間に位置する金属箔(以下、中間金属箔という)の軸方向幅を、内側金属箔と外側金属箔に比べて狭くすればよい。
巻き箔の他の構成として、軸方向幅が揃っていない、すなわち一定でない一枚の金属箔を、電極支持棒に巻回して金属箔を構成することもできる。例えば、金属箔の電極側端縁が、階段状、波形、鋸型、もしくは一定勾配の傾斜型のいずれかによるものであればよい。
一方、金属箔の構成の代わりに、電極支持棒によって密な状態を構成してもよい。この場合、金属箔の軸方向幅、径方向厚さを一様にしたとき、金属箔の電極側端部付近における電極支持棒の径を、金属箔の封止管先端側端部における電極支持棒の径よりも小さくすることで可能となる。
あるいは、ガラス管などの電極棒保持管によって密な状態を構成してもよい。この場合、金属箔の電極側端部付近における電極棒保持管の内径を、金属箔の封止管先端側端部における電極棒保持管内径より大きくする。
本発明によれば、金属箔を介在させて電極支持棒を封止したランプの封止構造において、応力集中が生じず、クラックの発生を防止することができる。
以下では、図面を参照して本発明の実施形態について説明する。
図1は、本実施形態であるショートアーク型放電ランプの概略的断面図である。
ショートアーク型放電ランプ10は、石英ガラスの発光管12を備え、発光管12内には陽極14と陰極(図示せず)が対向配置されている。発光管12の陽極側には石英ガラスの封止管20が連設し、陰極側にも封止管(図示せず)が連設されている。ここでは、陰極側の封止管は図示していない。
封止管20内部には、陽極14を支持する電極支持棒22が同軸的に設けられている。電極支持棒22は、円筒状の肉厚ガラス管24(以下、内部ガラス管という)に設けられた軸穴24Eに挿通され、内部ガラス管24によって保持される。内部ガラス管24の陽極側端部には、封止管20との溶着を確実にするため、円筒状の凹部24Bが形成されている。
電極支持棒22は、封止管20内の途中まで延在し、所定間隔を置いて金属製のリード棒28が同軸的に対向配置されている。電極支持棒22およびリード棒28は、円柱状ガラス部材34の両端にそれぞれ軸挿され、ガラス部材34が電極支持棒22、リード棒28を保持する。リード棒28は、電源部(図示せず)と繋がった外部のリード線(図示せず)に接続されている。
ガラス部材34の両端には、金属リング26、32がそれぞれ密着配置され、電極支持棒22、リード棒28は軸穴26A、32Aに溶接されている。発光管側の金属リング(以下、内側金属リングという)26は、内部ガラス管24と当接し、反対側の金属リング(以下、外側金属リングという)32は、リード棒28を軸通させて保持する外部ガラス管29と当接する。
内側金属リング26、外側金属リング32の間には、複数の帯状金属箔36がガラス部材34の外表面に沿って軸方向に延び、その両端は、内側金属リング26、外側金属リング32の円周面に溶接されている。外側金属リング32は、リード棒28と金属箔36とを電気的に接続させ、内側金属リング26は、帯状金属箔36と電極支持棒22とを電気的に接続させる。これにより、電源部と接続するリード棒28から陽極14へ電力が供給される。
金属性の巻き箔30は、内部ガラス管24と電極支持棒22との間に介在し、電極支持棒22に巻回されている。巻き箔30は、内部ガラス管24と電極支持棒22との間を封止するように、金属リング側(以下、封止管先端側という)で密であり、隙間のないように圧接されている。一方、巻き箔30の陽極側は隙間を設けるように軸方向に沿って延在する。ただし、図1では巻き箔を模式的に図示している。
封止管20は、封止工程時にガスバーナーなどで熱せられることによって縮径し、内部ガラス管24、ガラス部材34、外部ガラス管29と溶着する。これにより、電極支持棒22が内部ガラス管24に封着し、封止管20内部が封止される。また、希ガスが封入されている発光管12内の放電空間11も密閉される。なお、図示しない陰極側の封止構造も、陽極側の封止構造と同じである。
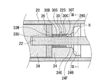
図2は、封止管20の断面図である。図3は、図2のIII−IIIに沿った断面図である。なお、凹部24Bと軸穴24Eとの間には、テーパー部分24Fが形成されている。
モリブデンなどの金属巻き箔30は、幅の狭い巻き箔30B(以下、狭幅巻き箔という)と、幅の広い巻き箔30C(以下、幅広巻き箔という)によって構成されており、狭幅巻き箔30Bを電極支持棒外面22Sに巻回し、その上から幅広巻き箔30Cを巻いている。ここでは、狭幅巻き箔30Bが一周分、幅広巻き箔30Bが2周分巻かれている。
狭幅巻き箔30B、幅広巻き箔30Cは、封止管先端側でその端縁30U、30Wが揃っている。そのため、巻き箔30の封止管先端側に隙間はなく、電極支持棒22と内部ガラス管24との間を巻き箔30が埋めている。すなわち、狭幅巻き箔30B、幅広巻き箔30Cは、互いに密になって層状に形成され、巻き箔30は電極支持棒22、内部ガラス管24との間で圧着されている。
一方、狭幅巻き箔30Bが幅広巻き箔30Cの陽極側端部30Tまで延出していないため、巻き箔30の陽極側端部付近には隙間Sが存在する。幅広巻き箔30Cの陽極側端部30Tは径方向に沿って互いに密接し、その一部(最外周面)は内部ガラス管内面24Gと密着している。以下では、封止管先端側端部のような巻き方を密な巻き方とし、陽極側端部のような隙間を設ける巻き方を疎な巻き方とする。
振動などによって陽極14の動きが径方向にあると、内部ガラス管24は巻き箔30を介して電極支持棒22から力を受ける。このとき、内部ガラス管24は、電極支持棒外面22Sと接する狭幅巻き箔30Bの端部30S付近から強い負荷を受ける。
ところで、狭幅巻き箔30Bの端部30Sは、軸方向に関し陽極14から離れた位置にあり、幅広巻き箔30Cの端部30Tは、狭幅巻き箔30Bの端部30Sより陽極側に延びている。狭幅巻き箔30Bの端部30S付近より陽極側での幅広巻き箔30Cと内部ガラス管内面24Gとの接触面が大きく、端部30S付近より封止管先端側の接触面とほぼ等しい。
また、上述したように、巻き箔30の封止管先端側は密に内部ガラス管24と電極支持棒22との間で圧接している。このように巻き箔30が電極支持棒22より内部ガラス管24の近くで軸方向幅が広いため、内部ガラス管24は、巻き箔30の封止管先端側で電極支持棒22を強く保持し、陽極に近づくほどその保持力は弱まる。
その結果、陽極14の動きに対しても、巻き箔30の陽極側端部付近に応力が集中せず、巻き箔30全体からガラス管24へ応力が伝わる。このような巻き箔30の構成、配置が、応力分散を生じさせ、クラック発生を防ぐ。薄い箔を用いた場合、その効果は顕著になる。
また、封止管先端側端部で金属箔30は密に巻かれているため、陽極22から離れた地点で電極支持棒22を確実に支持することができ、金属リング26付近で封止管にクラック発生を防ぐことができる。
図4は、巻き箔30の作製方法を示した図である。
まず、一枚のシート状になっている狭幅巻き箔30Bの端部を、スポット溶接などによって電極支持棒22に固定する。そして、幅狭巻き箔30Bを電極支持棒22周りに一周させて巻き付ける。狭幅巻き箔30Bの長さは、電極支持棒外面22Sの周長さに合わせて定められている。
狭幅巻き箔30Bを巻き付けた後、シート状の幅広巻き箔30Cを狭幅巻き箔30Bの上に置き、その端縁30Wを狭幅巻き箔30Bの端縁30Uに揃えながらスポット溶接などにより固定する。そして、幅広巻き箔30Cを電極支持棒22周りに2周分巻き付ける。幅広巻き箔30Cの長さは、2周分の長さに相当する。
なお、狭幅巻き箔30B、幅広巻き箔30Cの巻き数を必要に応じて変えてもよい。この場合、内部空間Sの陽極側端部に設けられる隙間の大きさを考慮して狭幅巻き箔30B、幅広巻き箔30Cの長さを調整すればよい。
狭幅巻き箔30Bと幅広巻き箔30Cとを重ねて巻き上げた巻き箔30が電極支持棒22周りに巻回されており、幅広巻き箔30Cの軸方向幅が狭幅巻き箔30Bの軸方向幅よりも広い。そのため、電極支持棒外面22Sと巻き箔30の電極側端部との間(幅広巻き箔30Cと電極支持棒外面22Sとの間)には、隙間Sが存在する。また、巻き箔30の封止管先端側端部では、電極支持棒22と内部ガラス管との間に隙間がないように巻き箔30が圧接している。
次に、図5、図6を用いて、第2の実施形態である放電ランプについて説明する。第2の実施形態では、一枚の金属箔によって巻き箔が構成されている。それ以外の構成については、第1の実施形態と同じである。
図5は、第2の実施形態における封止管の断面図である。図6は、第2の実施形態である巻き箔の巻回する前の外観図である。
図6に示すように、1枚のシート状金属箔から構成される巻き箔130は、電極側端縁の一部が一定勾配で傾斜した形状であり、軸方向に幅の狭い狭幅部130B、幅の広い幅広部130D、その間の傾斜部130Cから構成される。巻き箔130の封止管先端側端部では、その端縁が揃っている。狭幅部130Bの一端を電極支持棒22に固定し、巻き付けることによって巻き箔130が作製される。なお、切り込み、プレス加工などによって巻き箔を作製することができる。
図5に示すように、巻き箔130が傾斜部130Cをもつことにより、巻き箔130の軸方向の幅は径方向外側に行くほど広がっていく。そのため、巻き箔130の電極側端部では、電極支持棒外面22付近に隙間Sが形成される。狭幅部130Bの端部130Sが陽極14から離れた位置にあり、内部ガラス管24に近くなるほど幅が広がるため、巻き箔30が受ける応力を分散させることができる。また、1枚の金属箔で構成するため、作製作業が容易になる。
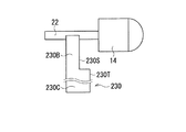
次に、図7を用いて、第3の実施形態である放電ランプについて説明する。第3の実施形態では、狭幅部と幅広部から成る巻き箔が構成される。それ以外については、第2の実施形態と同じである。
図7は、第3の実施形態における巻き箔の巻回前の外観図である。巻き箔230は、狭幅部230Bと、幅広部230Cから構成される1枚のシート状金属箔を巻回することによって構成される。このような巻き箔30の構成により、第1の実施形態と同様の巻き箔が得られ、容易に巻き箔を作製できる。
次に、図8、図9を用いて、第4の実施形態である放電ランプについて説明する。第4の実施形態では、幅の異なる3枚の金属箔によって巻き箔が構成されるとともに、電極支持棒と内部ガラス管との中間に隙間が形成される。
図8は、第4の実施形態における封止管の断面図である。図9は、第4の実施形態である巻き箔の巻回前の外観図である。
図9に示すように、巻き箔330は、狭幅巻き箔330C、幅広巻き箔330B、330Dから構成され、封止管先端側端部を揃えながら、幅広巻き箔330B、狭幅巻き箔330C、幅広巻き箔330Dの順に巻回することにより、巻き箔330が構成される。
幅広巻き箔330B、330Dの幅の長さは同じであり、陽極側の端縁330S、330Vは揃っている。一方、狭幅巻き箔330Cは、幅広巻き箔330B、330Dの端縁330S、330Vまで延びていない。したがって、陽極側端部の電極支持棒22と内部ガラス管24の中間付近に隙間Sが生じる(図8参照)。
このような巻き箔330の構成によって、巻き箔330の陽極側端部において内部ガラス管24の保持力は隙間Sの存在によって相対的に弱くなる。したがって、巻き箔330の陽極側端部付近に応力は集中しない。
図10は、第5の実施形態である金属箔の巻回前の外観図である。第5の実施形態では、巻き箔430は、陽極側端縁を波形形状にした1枚の金属箔430Bによって構成される。このような構成により、第1〜第3の実施形態と同様の巻き方になる。また、隙間の形成が周方向に関して分散される。これにより、応力がより一層分散される。
図11は、第6の実施形態である金属箔の巻回前の外観図である。第6の実施形態では、巻き箔530は、陽極側端縁を鋸型形状にした1枚の金属箔530Bによって構成される。このような構成により、第5の実施形態と同じような効果を得ることが出来る。
次に、図12、13を用いて、第7の実施形態である放電ランプについて説明する。第7の実施形態では、第1〜第6の実施形態のように金属箔の構成によって径方向に隙間を設けるのではなく、電極支持棒の径を軸方向に沿って変化させる。それ以外の構成については、第1の実施形態と同じである。
図12は、第7の実施形態における封止管の断面図である。図13は、第7の実施形態である巻き箔の巻回前の外観図である。
図12に示すように、電極支持棒222は、金属リング26近傍で相対的に径の大きな大径部222Aを有する。大径部222Aは、軸方向に沿って所定の幅を有し、その幅は巻き箔630の幅よりも短い。図13に示すように、巻き箔630は、幅一定である1枚の金属箔を大径部222Aにその端縁を揃えて固定し、巻回させることによって構成される。その結果、巻き箔330と電極支持棒222との間に隙間Sが形成される(図12参照)。
このような構成により、巻き箔630は陽極から離れた位置で電極支持棒222Aと接し、また、大径部222Aの長さに相当する巻き箔630と電極支持棒222との接触面よりも内部ガラス管24との接触面の方が大きい。そのため、応力を分散させることができる。また、幅一定の金属箔によって巻き箔630を構成するので、巻き箔の作製が容易になる。さらに、大径部222Aを、金属リング26に対する電極支持棒222の位置決めとして機能させることができる。
図14は、第8の実施形態である放電ランプの封止管断面図である。第8の実施形態では、第7の実施形態と同様に幅一定の巻き箔730が巻回されている。そして、電極支持棒322には、金属箔730の陽極側端部730S付近に小径部322Aが形成されている。これにより、第7の実施形態と同様の隙間が形成される。
次に、図15を用いて第9の実施形態である放電ランプについて説明する。第9の実施形態では、電極支持棒の径を変える代わりに、内部ガラス管の径を部分的に変えている。それ以外の構成については、第1の実施形態と同じである。
図15は、第9の実施形態における封止管の断面図である。幅一定の巻き箔730が電極支持棒22の周りに巻回されている。内部ガラス管224は、内径の小さい、すなわち厚さのある肉厚部224Gと、内径が大きい薄肉部224Iから構成され、巻き箔730の軸方向中間付近で段差が生じている。これにより、巻き箔730の陽極側端部付近で隙間Sが生じ、応力を分散させることができる。
図16は、第10の実施形態である放電ランプの封止管断面図である。第10の実施形態では、内部ガラス管334の内径が陽極に近づくほど大きくなり、内部ガラス管334の内面がテーパー状に形成されている。これにより、隙間Sが生じ、応力が分散される。
なお、第1〜第10の実施形態では、軸方向に沿った一定距離範囲に隙間を設けるように構成しているが、金属箔を封止管先端側できつく巻く一方、陽極側で緩く、粗く巻くことで径方向に空隙を設ける構成にしてもよい。
本実施形態であるショートアーク型放電ランプの概略的断面図である。 封止管の断面図である。 図2のIII−IIIに沿った断面図である。 巻き箔の作製方法を示した図である。 第2の実施形態における封止管の断面図である。 第2の実施形態である巻き箔の巻回前の外観図である。 第3の実施形態における巻き箔の巻回前の外観図である。 第4の実施形態における封止管の断面図である。 第4の実施形態である巻き箔の巻回前の外観図である。 第5の実施形態である金属箔の巻回前の外観図である。 第6の実施形態である金属箔の巻回前の外観図である。 第7の実施形態における封止管の断面図である。 第7の実施形態である巻き箔の巻回前の外観図である。 第8の実施形態である放電ランプの封止管断面図である。 第9の実施形態における封止管の断面図である。 第10の実施形態である放電ランプの封止管断面図である。
符号の説明
10 放電ランプ
12 発光管
20 封止管
22 電極支持棒
24 内部ガラス管(電極棒保持管)
26 金属リング
30 巻き箔

Claims (12)

  1. 発光管内の電極を支持し、封止管内に設けられた電極支持棒と、
    前記電極支持棒を軸通させた状態で保持する電極棒保持管と、
    前記電極棒保持管と前記電極支持棒との間に設けられ、軸方向に沿って延在する金属箔とを備え、
    前記金属箔が、径方向断面に関し、電極側よりも封止管先端側において相対的に密であることを特徴とする放電ランプ。
  2. 前記金属箔の封止管先端側端部が、電極支持棒外面と電極棒保持面内面との間を封止する一方、前記金属箔の電極側端部は、径方向に隙間をもつことを特徴とする請求項1に記載の放電ランプ。
  3. 前記金属箔の電極側端部において、前記金属箔と前記電極支持棒外面との間に隙間が形成されることを特徴とする請求項2に記載の放電ランプ。
  4. 前記金属箔の電極棒保持管内面付近の軸方向幅が、電極棒支持棒外面付近の軸方向幅に比べて広いことを特徴とする請求項1に記載の放電ランプ。
  5. 前記金属箔が巻き箔であり、電極側端部に隙間を設けながら前記電極支持棒に巻回されることを特徴とする請求項1に記載の放電ランプ。
  6. 軸方向幅の異なる複数枚の金属箔が、封止管先端側の端縁を揃えながら前記電極支持棒に巻回されることを特徴とする請求項5に記載の放電ランプ。
  7. 電極支持棒外面と接する内側金属箔の軸方向幅が、電極棒保持管内面に接する外側金属箔に比べて狭いことを特徴とする請求項6に記載の放電ランプ。
  8. 電極支持棒外面と接する内側金属箔と、電極棒保持管内面に接する外側金属箔との間に位置する中間金属箔の軸方向幅が、前記内側金属箔と前記外側金属箔に比べて狭いことを特徴とする請求項6に記載の放電ランプ。
  9. 軸方向幅が一定でない一枚の金属箔が、前記電極支持棒に巻回されることを特徴とする請求項5に記載の放電ランプ。
  10. 前記金属箔の電極側端縁が、階段状、波形状、鋸型、一定勾配の傾斜型のうちいずれかの形状であることを特徴とする請求項9に記載の放電ランプ。
  11. 前記金属箔の電極側端部付近における前記電極支持棒の径が、前記金属箔の封止管先端側端部付近における前記電極支持棒の径よりも小さいことを特徴とする請求項1に記載の放電ランプ。
  12. 前記金属箔の電極側端部付近における前記電極棒保持管の内径が、前記金属箔の封止管先端側端部付近における前記電極棒保持管の内径より大きいことを特徴とする請求項1に記載の放電ランプ。
JP2008242870A 2008-09-22 2008-09-22 封止構造を備えた放電ランプ Active JP5258476B2 (ja)

Priority Applications (1)

Application Number Priority Date Filing Date Title
JP2008242870A JP5258476B2 (ja) 2008-09-22 2008-09-22 封止構造を備えた放電ランプ

Applications Claiming Priority (1)

Application Number Priority Date Filing Date Title
JP2008242870A JP5258476B2 (ja) 2008-09-22 2008-09-22 封止構造を備えた放電ランプ

Publications (2)

Publication Number Publication Date
JP2010073640A true JP2010073640A (ja) 2010-04-02
JP5258476B2 JP5258476B2 (ja) 2013-08-07

Family

ID=42205217

Family Applications (1)

Application Number Title Priority Date Filing Date
JP2008242870A Active JP5258476B2 (ja) 2008-09-22 2008-09-22 封止構造を備えた放電ランプ

Country Status (1)

Country Link
JP (1) JP5258476B2 (ja)

Cited By (2)

* Cited by examiner, † Cited by third party
Publication number Priority date Publication date Assignee Title
JP2016126873A (ja) * 2014-12-26 2016-07-11 東芝ライテック株式会社 メタルハライドランプ
CN111755318A (zh) * 2019-03-27 2020-10-09 株式会社Orc制作所 放电灯及其制造方法

Citations (5)

* Cited by examiner, † Cited by third party
Publication number Priority date Publication date Assignee Title
JPH10188897A (ja) * 1996-12-26 1998-07-21 Ushio Inc 高圧放電ランプ
JPH10321135A (ja) * 1997-03-17 1998-12-04 Matsushita Electric Ind Co Ltd 高圧放電ランプおよびその製造方法
JP2004039349A (ja) * 2002-07-01 2004-02-05 Matsushita Electric Ind Co Ltd 高圧放電ランプ及び光源ユニット
JP2007052973A (ja) * 2005-08-17 2007-03-01 Iwasaki Electric Co Ltd セラミックランプ
JP2007115414A (ja) * 2005-10-18 2007-05-10 Orc Mfg Co Ltd 放電灯の封止構造

Patent Citations (5)

* Cited by examiner, † Cited by third party
Publication number Priority date Publication date Assignee Title
JPH10188897A (ja) * 1996-12-26 1998-07-21 Ushio Inc 高圧放電ランプ
JPH10321135A (ja) * 1997-03-17 1998-12-04 Matsushita Electric Ind Co Ltd 高圧放電ランプおよびその製造方法
JP2004039349A (ja) * 2002-07-01 2004-02-05 Matsushita Electric Ind Co Ltd 高圧放電ランプ及び光源ユニット
JP2007052973A (ja) * 2005-08-17 2007-03-01 Iwasaki Electric Co Ltd セラミックランプ
JP2007115414A (ja) * 2005-10-18 2007-05-10 Orc Mfg Co Ltd 放電灯の封止構造

Cited By (2)

* Cited by examiner, † Cited by third party
Publication number Priority date Publication date Assignee Title
JP2016126873A (ja) * 2014-12-26 2016-07-11 東芝ライテック株式会社 メタルハライドランプ
CN111755318A (zh) * 2019-03-27 2020-10-09 株式会社Orc制作所 放电灯及其制造方法

Also Published As

Publication number Publication date
JP5258476B2 (ja) 2013-08-07

Similar Documents

Publication Publication Date Title
JP5258476B2 (ja) 封止構造を備えた放電ランプ
JP5080327B2 (ja) 封止構造を備えた放電ランプ
JP5840432B2 (ja) 放電ランプ
JP4924664B2 (ja) 高圧放電ランプ
JP2019121564A (ja) プラズマ発生装置およびプラズマ発生方法
JP3379438B2 (ja) 箔シール構造をもつランプ
JP5397106B2 (ja) 電極及びその製造方法並びに高圧放電ランプ
JP4711243B1 (ja) 高圧放電ランプの電極及びその製造方法並びに高圧放電ランプ
US8274223B2 (en) High pressure discharge lamp with an electrode having alterating offset parallel grooves
JP7591621B2 (ja) 放電ランプおよび放電ランプの製造方法
JP4929961B2 (ja) 高圧水銀ランプ
JP6929763B2 (ja) 放電ランプおよび放電ランプの製造方法
KR102736321B1 (ko) 방전램프 및 그 제조방법
JP2007157513A (ja) ショートアーク型放電ランプの封止部構造とその製造方法
JP4375247B2 (ja) 放電ランプ
JP6580500B2 (ja) 放電ランプ
JP5898849B2 (ja) 放電ランプ
EP2555226A1 (en) Electrode for discharge lamp and manufacturing method for same
US20140117847A1 (en) Gas discharge lamp and an electrode for a gas discharge lamp
JP2009142762A (ja) 電気加熱触媒担体及びその製造方法
CN110473766B (zh) 放电灯及放电灯的制造方法
KR101115008B1 (ko) 글로우플러그 및 그 제조방법
CN104584187B (zh) 放电灯和放电灯的制造方法
WO2010010759A1 (ja) 高圧放電ランプ用電極、高圧放電ランプ及び高圧放電ランプ用電極の製造方法
JP3141912U (ja) セラミックメタルハライドランプ

Legal Events

Date Code Title Description
A621 Written request for application examination

Free format text: JAPANESE INTERMEDIATE CODE: A621

Effective date: 20110817

A977 Report on retrieval

Free format text: JAPANESE INTERMEDIATE CODE: A971007

Effective date: 20121220

A131 Notification of reasons for refusal

Free format text: JAPANESE INTERMEDIATE CODE: A131

Effective date: 20130108

A521 Request for written amendment filed

Free format text: JAPANESE INTERMEDIATE CODE: A523

Effective date: 20130311

TRDD Decision of grant or rejection written
A01 Written decision to grant a patent or to grant a registration (utility model)

Free format text: JAPANESE INTERMEDIATE CODE: A01

Effective date: 20130402

A61 First payment of annual fees (during grant procedure)

Free format text: JAPANESE INTERMEDIATE CODE: A61

Effective date: 20130423

FPAY Renewal fee payment (event date is renewal date of database)

Free format text: PAYMENT UNTIL: 20160502

Year of fee payment: 3

R150 Certificate of patent or registration of utility model

Ref document number: 5258476

Country of ref document: JP

Free format text: JAPANESE INTERMEDIATE CODE: R150

Free format text: JAPANESE INTERMEDIATE CODE: R150

R250 Receipt of annual fees

Free format text: JAPANESE INTERMEDIATE CODE: R250

R250 Receipt of annual fees

Free format text: JAPANESE INTERMEDIATE CODE: R250

R250 Receipt of annual fees

Free format text: JAPANESE INTERMEDIATE CODE: R250

R250 Receipt of annual fees

Free format text: JAPANESE INTERMEDIATE CODE: R250

R250 Receipt of annual fees

Free format text: JAPANESE INTERMEDIATE CODE: R250

R250 Receipt of annual fees

Free format text: JAPANESE INTERMEDIATE CODE: R250

R250 Receipt of annual fees

Free format text: JAPANESE INTERMEDIATE CODE: R250

R250 Receipt of annual fees

Free format text: JAPANESE INTERMEDIATE CODE: R250

R250 Receipt of annual fees

Free format text: JAPANESE INTERMEDIATE CODE: R250

R250 Receipt of annual fees

Free format text: JAPANESE INTERMEDIATE CODE: R250