JP2010071706A - 画像処理によるパンタグラフの鉛直加速度測定装置および測定方法 - Google Patents

画像処理によるパンタグラフの鉛直加速度測定装置および測定方法 Download PDF

Info

Publication number
JP2010071706A
JP2010071706A JP2008237357A JP2008237357A JP2010071706A JP 2010071706 A JP2010071706 A JP 2010071706A JP 2008237357 A JP2008237357 A JP 2008237357A JP 2008237357 A JP2008237357 A JP 2008237357A JP 2010071706 A JP2010071706 A JP 2010071706A
Authority
JP
Japan
Prior art keywords
pantograph
image
vertical acceleration
line sensor
image processing
Prior art date
Legal status (The legal status is an assumption and is not a legal conclusion. Google has not performed a legal analysis and makes no representation as to the accuracy of the status listed.)
Granted
Application number
JP2008237357A
Other languages
English (en)
Other versions
JP5151845B2 (ja
Inventor
Makoto Niwakawa
誠 庭川
Nobuyuki Fujiwara
伸行 藤原
Takamasa Hori
貴雅 堀
Current Assignee (The listed assignees may be inaccurate. Google has not performed a legal analysis and makes no representation or warranty as to the accuracy of the list.)
Meidensha Corp
Meidensha Electric Manufacturing Co Ltd
Original Assignee
Meidensha Corp
Meidensha Electric Manufacturing Co Ltd
Priority date (The priority date is an assumption and is not a legal conclusion. Google has not performed a legal analysis and makes no representation as to the accuracy of the date listed.)
Filing date
Publication date
Application filed by Meidensha Corp, Meidensha Electric Manufacturing Co Ltd filed Critical Meidensha Corp
Priority to JP2008237357A priority Critical patent/JP5151845B2/ja
Priority to EP09814540.2A priority patent/EP2325656B1/en
Priority to PCT/JP2009/065950 priority patent/WO2010032695A1/ja
Priority to CN2009801364657A priority patent/CN102159954B/zh
Priority to RU2011115064/28A priority patent/RU2459213C1/ru
Publication of JP2010071706A publication Critical patent/JP2010071706A/ja
Application granted granted Critical
Publication of JP5151845B2 publication Critical patent/JP5151845B2/ja
Expired - Fee Related legal-status Critical Current
Anticipated expiration legal-status Critical

Links

Images

Classifications

    • BPERFORMING OPERATIONS; TRANSPORTING
    • B60VEHICLES IN GENERAL
    • B60LPROPULSION OF ELECTRICALLY-PROPELLED VEHICLES; SUPPLYING ELECTRIC POWER FOR AUXILIARY EQUIPMENT OF ELECTRICALLY-PROPELLED VEHICLES; ELECTRODYNAMIC BRAKE SYSTEMS FOR VEHICLES IN GENERAL; MAGNETIC SUSPENSION OR LEVITATION FOR VEHICLES; MONITORING OPERATING VARIABLES OF ELECTRICALLY-PROPELLED VEHICLES; ELECTRIC SAFETY DEVICES FOR ELECTRICALLY-PROPELLED VEHICLES
    • B60L5/00Current collectors for power supply lines of electrically-propelled vehicles
    • B60L5/18Current collectors for power supply lines of electrically-propelled vehicles using bow-type collectors in contact with trolley wire
    • B60L5/22Supporting means for the contact bow
    • B60L5/26Half pantographs, e.g. using counter rocking beams
    • BPERFORMING OPERATIONS; TRANSPORTING
    • B60VEHICLES IN GENERAL
    • B60LPROPULSION OF ELECTRICALLY-PROPELLED VEHICLES; SUPPLYING ELECTRIC POWER FOR AUXILIARY EQUIPMENT OF ELECTRICALLY-PROPELLED VEHICLES; ELECTRODYNAMIC BRAKE SYSTEMS FOR VEHICLES IN GENERAL; MAGNETIC SUSPENSION OR LEVITATION FOR VEHICLES; MONITORING OPERATING VARIABLES OF ELECTRICALLY-PROPELLED VEHICLES; ELECTRIC SAFETY DEVICES FOR ELECTRICALLY-PROPELLED VEHICLES
    • B60L2200/00Type of vehicles
    • B60L2200/26Rail vehicles
    • BPERFORMING OPERATIONS; TRANSPORTING
    • B60VEHICLES IN GENERAL
    • B60MPOWER SUPPLY LINES, AND DEVICES ALONG RAILS, FOR ELECTRICALLY- PROPELLED VEHICLES
    • B60M1/00Power supply lines for contact with collector on vehicle
    • B60M1/12Trolley lines; Accessories therefor
    • B60M1/28Manufacturing or repairing trolley lines

Landscapes

  • Engineering & Computer Science (AREA)
  • Power Engineering (AREA)
  • Transportation (AREA)
  • Mechanical Engineering (AREA)
  • Current-Collector Devices For Electrically Propelled Vehicles (AREA)
  • Length Measuring Devices By Optical Means (AREA)

Abstract

【課題】小型の装置で高精度にパンタグラフの鉛直加速度を計測することが可能な画像処理によるパンタグラフの鉛直加速度測定装置および測定方法を提供する。
【解決手段】車両に取り付けたラインセンサカメラ1でパンタグラフを撮像し、画像処理部2により撮像された画像に基づいてパンタグラフの鉛直加速度を測定する装置において、画像処理部2に、ラインセンサカメラ1によって撮像したパンタグラフの測定点における画像を入力する画像入力部21と、入力された画像からなるラインセンサ画像に対して画像処理を施すことによってラインセンサ画像上のパンタグラフの位置を求めるパンタグラフ位置検出部23と、ラインセンサ画像上のパンタグラフの位置および予め設定する伝達関数およびパンタグラフの偏位位置に基づきパンタグラフのトロリ線との接触点における鉛直加速度を算出するパンタグラフ鉛直加速度算出部24とを設けるようにした。
【選択図】図2

Description

本発明は、画像処理によるパンタグラフの鉛直加速度測定装置および測定方法に関し、とくに一台のラインセンサで走行中の車両に設置されたパンタグラフの挙動を撮像し、画像処理によって検出した測定点のパンタグラフの鉛直加速度に基づいて、加振点におけるパンタグラフの鉛直加速度を測定する画像処理によるパンタグラフの鉛直加速度測定装置および測定方法に関する。
電気鉄道の車両の屋根上に設置されるパンタグラフに対して、地上に固定されるトロリ線が熱膨張や風圧によって下降すると、まれに走行中のパンタグラフを鉛直下方へ所定の高さよりも押し下げてトロリ線とパンタグラフが離線することがある。このようなトロリ線とパンタグラフとの離線はトロリ線の異常摩耗に繋がるため、パンタグラフの鉛直加速度が一定値になるようにトロリ線を架設するようにしてトロリ線の長寿命化が図られている。
そして従来、このようなパンタグラフの鉛直加速度を測定する方法として、複数の加速度センサをパンタグラフに取り付けてパンタグラフの鉛直加速度を測定する方法(例えば、下記非特許文献1、下記特許文献1参照)や、電車の屋根上に設置したラインセンサカメラでパンタグラフの上下挙動を撮像し、この画像を処理してパンタグラフの鉛直加速度を計測する方法(例えば、下記特許文献2、3参照)が公知となっている。
特開2003−156397号公報 特開2006−250774号公報 特開2003−341389号公報 岩井中、佐藤、出野、「パンタグラフ接触力測定システムの開発とデータの活用」、JR EAST Technical Review-No.10、p.68-72
しかしながら、上述した加速度センサを用いる方法では、特高圧2.5kVのパンタグラフに加速度センサを取り付けるため、加速度センサの出力をそのまま車内に取り込めず、加速度センサの出力をテレメータで伝送するか、光ケーブルで伝送する。テレメータで伝送する場合は電源電池の交換が必要になるという問題があった。また、光ケーブルで伝送する場合は安定度の問題や温度による出力値ドリフトの低減などの問題があった。
また、ラインセンサカメラを用いる方法では、非接触でパンタグラフの上下挙動値を計測できる利点があるが、パンタグラフとトロリ線との接触点(加振点)から離れた一箇所で計測するため、測定精度が悪いという問題があった。また精度を向上させるためにラインセンサカメラを複数個取り付けると、装置が大型になるという問題があった。
このようなことから本発明は、小型の装置で高精度にパンタグラフの鉛直加速度を計測することが可能な画像処理によるパンタグラフの鉛直加速度測定装置および測定方法を提供することを目的とする。
上記の課題を解決するための第1の発明に係る画像処理によるパンタグラフの鉛直加速度計測装置は、車両に取り付けたラインセンサカメラでパンタグラフを撮像し、画像処理部により撮像された画像に基づいてパンタグラフの鉛直加速度を測定する装置であって、画像処理部が、ラインセンサカメラによって撮像したパンタグラフの測定点における画像を入力する画像入力手段と、入力された画像からなるラインセンサ画像に対して画像処理を施すことによってラインセンサ画像上のパンタグラフの位置を求めるパンタグラフ位置検出手段と、ラインセンサ画像上のパンタグラフの位置および予め設定する伝達関数およびパンタグラフの偏位位置に基づきパンタグラフのトロリ線との接触点における鉛直加速度を算出するパンタグラフ鉛直加速度算出手段とを備えることを特徴とする。
第2の発明に係る画像処理によるパンタグラフ鉛直加速度測定装置は、第1の発明に係る画像処理によるパンタグラフ鉛直加速度測定装置において、画像処理部が、加振点においてパンタグラフに鉛直方向の振動を与えたときのラインセンサ画像上のパンタグラフの位置から導出した鉛直加速度と加振点におけるパンタグラフの鉛直加速度とに基づいて伝達関数を算出する伝達関数算出手段を備えることを特徴とする。
第3の発明に係る画像処理によるパンタグラフ鉛直加速度測定装置は、第1又は第2の発明に係る画像処理によるパンタグラフ鉛直加速度測定装置において、ラインセンサカメラが雲台上に設置されて向きを調整可能に構成されていることを特徴とする。
第4の発明に係る画像処理によるパンタグラフ鉛直加速度測定方法は、車両に取り付けたラインセンサカメラでパンタグラフを撮像し、画像処理部により撮像された画像に基づいてパンタグラフの鉛直加速度を測定する方法であって、ラインセンサカメラから画像データを入力し、入力された画像データからなるラインセンサ画像と予め登録しておいたパタンマッチ用モデルとを比較してラインセンサ画像上の測定点におけるパンタグラフの位置を検出し、検出されたパンタグラフのラインセンサ画像上の位置に基づいて求めた鉛直加速度と、予め求めた伝達関数と、パンタグラフの偏位位置とからパンタグラフのトロリ線との接触点における鉛直加速度を算出することを特徴とする。
第5の発明に係る画像処理によるパンタグラフ鉛直加速度測定方法は、第4の発明に係る画像処理によるパンタグラフ鉛直加速度測定方法において、パンタグラフに対して加振点に鉛直方向の振動を与えると同時に、ラインセンサカメラによってパンタグラフの測定点を撮像し、加振点におけるパンタグラフの鉛直加速度と撮像された画像からなるラインセンサ画像上の測定点におけるパンタグラフの鉛直加速度とから伝達関数を算出することを特徴とする。
第1の発明に係る画像処理によるパンタグラフの鉛直加速度計測装置によれば、車両に取り付けたラインセンサカメラでパンタグラフを撮像し、画像処理部により撮像された画像に基づいてパンタグラフの鉛直加速度を測定する装置であって、画像処理部が、ラインセンサカメラによって撮像したパンタグラフの測定点における画像を入力する画像入力手段と、入力された画像からなるラインセンサ画像に対して画像処理を施すことによってラインセンサ画像上のパンタグラフの位置を求めるパンタグラフ位置検出手段と、ラインセンサ画像上のパンタグラフの位置および予め設定する伝達関数およびパンタグラフの偏位位置に基づきパンタグラフのトロリ線との接触点における鉛直加速度を算出するパンタグラフ鉛直加速度算出手段とを備えるので、小型の装置で非接触かつ計測結果を蓄積しつつ、高精度にパンタグラフのトロリ線との接触点における鉛直加速度を測定することができる。
第2の発明に係る画像処理によるパンタグラフの鉛直加速度計測装置によれば、画像処理部が、加振点においてパンタグラフに鉛直方向の振動を与えたときのラインセンサ画像上のパンタグラフの位置から導出した鉛直加速度と加振点におけるパンタグラフの鉛直加速度とに基づいて伝達関数を算出する伝達関数算出手段を備えるので、ひとつの装置で伝達関数の算出とパンタグラフのトロリ線との接触点における鉛直加速度の測定とを行うことができ、利便性が向上する。
第3の発明に係る画像処理によるパンタグラフの鉛直加速度計測装置によれば、ラインセンサカメラが雲台上に設置されて向きを調整可能に構成されているので、測定点をパンタグラフの鮮明な画像を撮影することができる位置となるように調整することが可能となり、パンタグラフを誤検出する可能性を低減することができる。
第4の発明に係る画像処理によるパンタグラフの鉛直加速度計測方法によれば、車両に取り付けたラインセンサカメラでパンタグラフを撮像し、画像処理部により撮像された画像に基づいてパンタグラフの鉛直加速度を測定する方法であって、ラインセンサカメラから画像データを入力し、入力された画像データからなるラインセンサ画像と予め登録しておいたパタンマッチ用モデルとを比較してラインセンサ画像上の測定点におけるパンタグラフの位置を検出し、検出されたパンタグラフのラインセンサ画像上の位置に基づいて求めた鉛直加速度と、予め求めた伝達関数と、パンタグラフの偏位位置とからパンタグラフのトロリ線との接触点における鉛直加速度を算出するので、小型の装置で非接触かつ計測結果を蓄積しつつ、高精度にパンタグラフのトロリ線との接触点における鉛直加速度を測定することができる。
第5の発明に係る画像処理によるパンタグラフの鉛直加速度計測方法によれば、パンタグラフに対して加振点に鉛直方向の振動を与えると同時に、ラインセンサカメラによってパンタグラフの測定点を撮像し、加振点におけるパンタグラフの鉛直加速度と撮像された画像からなるラインセンサ画像上の測定点におけるパンタグラフの鉛直加速度とから伝達関数を算出するので、ひとつの装置で伝達関数の算出とパンタグラフのトロリ線との接触点における鉛直加速度の測定とを行うことができ、利便性が向上する。
本発明の実施形態を以下に示す実施例において詳細に説明する。
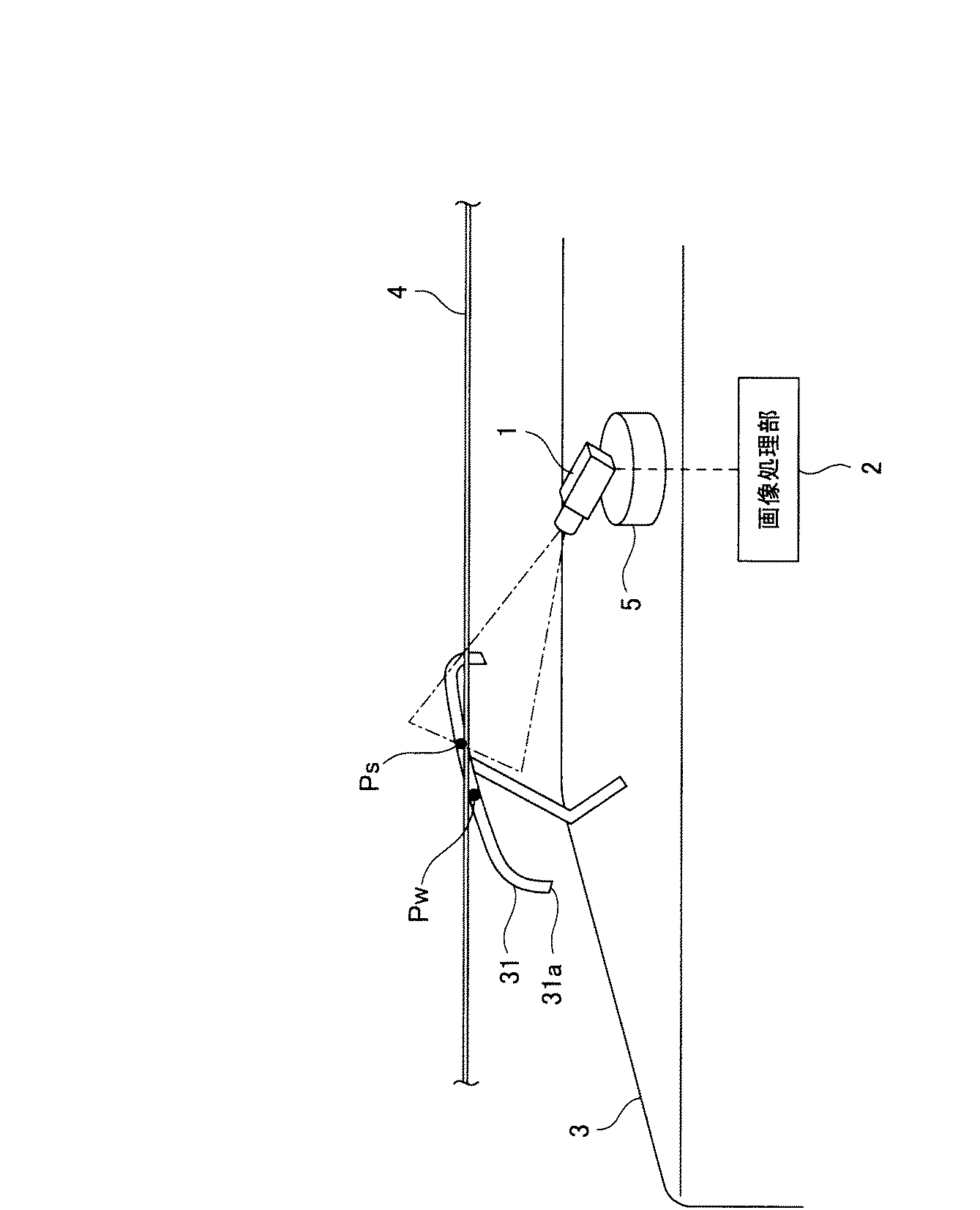
図1ないし図5に基づいて本発明の第1の実施例を詳細に説明する。図1は本実施例に係る画像処理によるパンタグラフの鉛直加速度測定装置を示す概略構造図、図2は本実施例に係る画像処理によるパンタグラフの鉛直加速度測定装置の構成を示すブロック図、図3は本実施例の画像処理部における処理の流れを示すフローチャート、図4はラインセンサ画像の一例を示す説明図、図5はパタンマッチ用モデルの一例を示す説明図である。
図1に示すように、本実施例において画像処理によるパンタグラフの鉛直加速度測定装置は、ラインセンサカメラ1と画像処理部2とから構成されている。
ラインセンサカメラ1は、パンタグラフ31を搭載した車両3の屋根上に設置されている。このラインセンサカメラ1は光軸が斜め上方を向くようにその仰角を設定され、測定点Psとしてパンタグラフ31の所定の位置を撮像するように構成されている。このラインセンサカメラ1の走査線方向はパンタグラフ31に直交するように設定される。
また、本実施例において画像処理部2は、主に、伝達関数算出処理と鉛直加速度算出処理とを行うものであり、図2に示すように、画像入力部21、画像記録部22、パンタグラフ位置検出部23、伝達関数算出部24、データ記録部25、及びパンタグラフ鉛直加速度算出部26とを備えている。
画像入力手段としての画像入力部21は、ラインセンサカメラ1によって撮像された画像を所定の一定時間間隔で入力する手段、画像記録部22は画像入力部21によって入力された画像データが保存される手段である。また、この画像記録部22には予め登録されるパタンマッチ用のモデルであるパタンマッチ用モデルが保存されているものとする。
パンタグラフ位置検出手段としてのパンタグラフ位置検出部23は、画像記録部22に保存された画像データを時系列的に並べてなるラインセンサ画像(図4参照)と上述したパタンマッチ用モデルとを比較してラインセンサ画像上のパンタグラフの軌跡11を背景12から抽出し、ラインセンサ画像上のパンタグラフ31の位置を求める手段である。
伝達関数算出手段としての伝達関数算出部24は、ラインセンサ画像上のパンタグラフの軌跡11の挙動と、ラインセンサカメラ1によって撮像されている測定点Psの位置をx=0としたときの加振点Pwの位置(x=xW)と、加振点Pwにおけるパンタグラフ31の鉛直加速度とを用いて、測定点Psにおけるパンタグラフ31の鉛直加速度から、加振点Pwにおけるパンタグラフ31の実際の鉛直加速度を導出するための伝達関数H(ω,x)を算出する手段である。
データ記録部25は、パンタグラフ位置検出部23において検出したラインセンサ画像上のパンタグラフの軌跡11の位置を二階微分して得た鉛直加速度y(t)、伝達関数算出部24において算出された伝達関数H(ω,x)、後述するパンタグラフ鉛直加速度算出部26によって求めたパンタグラフ31の鉛直加速度u(t)等が保存される手段である。
パンタグラフ鉛直加速度算出手段としてのパンタグラフ鉛直加速度算出部26は、伝達関数算出部23において算出した伝達関数H(ω,x)と、トロリ線4(加振点Pw)の偏位位置x(=xW)とに基づいてパンタグラフ31のトロリ線4との接触点における鉛直加速度U(ω,x)を算出する手段である。
以下、図3に基づいて本実施例に係る画像処理によるパンタグラフの鉛直加速度測定装置の画像処理部2によりパンタグラフ31の加振点Pwにおける鉛直加速度u(t)を求める処理の流れについて説明する。
図3に示すように、画像処理部2においては、まず図5に示すようなパタンマッチ用のモデルを登録し(ステップS1)、続いて伝達関数H(ω,x)を算出する処理を行う(ステップS2)。
伝達関数H(ω,x)の算出は、ラインセンサカメラ1によって測定点としてパンタグラフ31の所定の位置Psを撮像する一方、この測定点Psから既知の距離xWだけ離間した位置を加振点Pwとしてここに鉛直方向の振動を加え、このときのパンタグラフ31の加振点Pwにおける鉛直加速度u(t)を図示しない加速度センサで計測する。
このとき、ラインセンサカメラ1によって撮像した画像を画像処理部2の画像入力部21において所定の一定時間間隔で入力し、これを画像記録部22に保存する。続いて、パンタグラフ位置検出部23において画像記録部22から取り出したラインセンサ画像と予め登録しておいたパタンマッチ用モデルとを比較してラインセンサ画像上のパンタグラフの軌跡11を抽出し、ラインセンサ画像上のパンタグラフ31の位置を検出する。
そして、伝達関数算出部24において、パンタグラフ31の加振点Pwにおける鉛直加速度u(t)とパンタグラフ位置検出部23で求めたラインセンサ画像上のパンタグラフ31の位置を二階微分して得た鉛直加速度y(t)とを用いて、次式(1)により伝達関数H(ω,x)を算出する。
H(ω,x)=Y(ω)/U(ω,x) ・・・(1)
ただし、Y(ω)、H(ω,x)、U(ω,x)はラインセンサ画像上のパンタグラフ31の鉛直加速度y(t)、伝達関数h(t)、実際のパンタグラフ31の鉛直加速度u(t)のフーリエ変換を表す。
ここで、加振点Pwに振動を加えたときのラインセンサ画像上のパンタグラフ31の測定点Psにおける鉛直加速度y(t)、伝達関数h(t)、加振点Pwにおけるパンタグラフ31の鉛直加速度u(t)の関係は次式(2)で表される。
Figure 2010071706
そしてこの上式(2)から次式(3)が得られる。
Y(ω)=H(ω,x)・U(ω,x) ・・・(3)
この(3)式から上記(1)式が得られる。
なお、この伝達関数H(ω,x)はパンタグラフ31の所望の振動モードによって個数が異なり、一次モードを求めたい場合は例えばパンタグラフ31の中央(x=x0)を加振点として一個の伝達関数H0(ω,x)を求め、二次モードを求めたい場合は例えばパンタグラフ31の左右の二点を加振点(x=x1,x2)として二個の伝達関数H1(ω,x),H2(ω,x)を求める等とすればよい。算出した伝達関数H(ω,x)はデータ記憶部25に保存する。なお、ここでいう一次モード、二次モードは、例えば上記特許文献1の図3及びその説明に記載されている振動モード3(曲げ1次モード)、振動モード4(曲げ2次モード)に相当する。
つぎに、車両の走行中にラインセンサカメラ1でパンタグラフ31の測定点Psを撮像し、これを画像入力部21によって所定の一定時間間隔で入力し、画像記録部22に保存する(ステップS3)。
続いて、パンタグラフ位置検出部23において画像記録部22からラインセンサ画像と予め登録しておいたパタンマッチ用モデルとを取り出し、これらを比較してラインセンサ画像上のパンタグラフの軌跡11を抽出し(ステップS4)、ラインセンサ画像上のパンタグラフ31の位置を検出する(ステップS5)。
その後、パンタグラフ鉛直加速度算出部26において、既知の手法によりトロリ線4(加振点Pw)の偏位位置を別途求め、これに最も近い位置に対応する伝達関数Hn(ω,x)と、ラインセンサ画像上のパンタグラフ31の位置の変化から求めた位置Psにおける鉛直加速度y(t)とを用いて、次式(4)に基づく演算を行う。
U(ω,x)=Y(ω)/H(ω,x) ・・・(4)
これにより、トロリ線4(加振点Pw)の偏位位置における鉛直加速度u(t)が得られる(ステップS6)。
上述した本実施例に係る画像処理によるパンタグラフの鉛直加速度測定装置および測定方法によれば、伝達関数を用いて加振点の加速度を算出するようにしたので、ラインセンサカメラ1によって撮像したパンタグラフ31の測定点Psの挙動から、トロリ線4(加振点Pw)の偏位位置におけるパンタグラフ31の鉛直加速度を高精度に求めることができる。
なお、本実施例では伝達関数を求める際に画像上のパンタグラフ31の位置をパタンマッチ用モデルを用いて検出する例を示したが、画像上のパンタグラフの位置を検出する方法は上述した方法に限定されるものではなく、例えば、特開2006−250774号公報に記載されている方法を用いてもよい。また、本実施例では画像処理部2に画像記録部22を設ける例を示したが、ラインセンサカメラ1によって撮像した画像を即時に処理してパンタグラフの軌跡11を検出し、リアルタイムでパンタグラフ鉛直加速度を出力するようにするなど、本発明の趣旨を逸脱しない範囲で種々の変更が可能であることはいうまでもない。
図6に基づいて本発明の第2の実施例を説明する。図6は本実施例に係る画像処理によるパンタグラフの鉛直加速度測定装置を示す概略構造図である。
図6に示すように、本実施例は上述した実施例1のラインセンサカメラ1を図6に示す雲台5上に設置したものである。通常、パンタグラフ31の中心部はトロリ線が摺動することにより鉄粉などが付着して黒ずんだ状態となっている。そのため、とくに夜間に計測を行うような場合には背景とパンタグラフ31との区別がつきにくくなり、パンタグラフ31の軌跡を抽出する際に誤検出が生じるおそれがある。
そこで、本実施例では、ラインセンサカメラ1の実画像を閲覧しながら、ラインセンサカメラ1が例えばパンタグラフ31のホーン31aなどパンタグラフ31の鮮明な映像を撮像するように、ラインセンサカメラ1を雲台5上に設置してこのラインセンサカメラ1の向きを調整可能としている。その他の構成は図1ないし図3に示し上述した構成と概ね同様であり、同一の作用を奏する部材には同一の符合を付し、重複する説明は省略する。
本実施例に係る画像処理によるパンタグラフの鉛直加速度測定装置および測定方法によれば、確実にパンタグラフ31の軌跡を抽出することができるので、実施例1の効果に加えて、トロリ線4(加振点Pw)の偏位位置におけるパンタグラフ31の鉛直加速度をより高精度に計測することができる。
本発明は、画像処理によるパンタグラフの鉛直加速度測定装置および測定方法に適用可能である。
本発明の実施例1に係る画像処理によるパンタグラフの鉛直加速度測定装置を示す概略構成図である。 本発明の実施例1に係る画像処理によるパンタグラフの鉛直加速度測定装置の画像処理部の構成を示すブロック図である。 本発明の実施例1の画像処理部における処理の流れを示すフローチャートである。 本発明の実施例1のラインセンサカメラによって得られるラインセンサ画像の一例を示す説明図である。 本発明の実施例1のパタンマッチ用モデルの一例を示す説明図である。 本発明の実施例2に係る画像処理によるパンタグラフの鉛直加速度測定装置を示す概略構成図である。
符号の説明
1 ラインセンサカメラ
2 画像処理部
3 車両
4 トロリ線
21 画像入力部
22 画像記録部
23 パンタグラフ位置検出手段
24 伝達関数算出部
25 パンタグラフ鉛直加速度算出部
26 データ記録部
31 パンタグラフ

Claims (5)

  1. 車両に取り付けたラインセンサカメラでパンタグラフを撮像し、画像処理部により撮像された画像に基づいてパンタグラフの鉛直加速度を測定する装置であって、
    前記画像処理部が、前記ラインセンサカメラによって撮像した前記パンタグラフの測定点における画像を入力する画像入力手段と、入力された前記画像からなるラインセンサ画像に対して画像処理を施すことによって前記ラインセンサ画像上の前記パンタグラフの位置を求めるパンタグラフ位置検出手段と、前記ラインセンサ画像上のパンタグラフの位置および予め設定する伝達関数および前記パンタグラフの偏位位置に基づき前記パンタグラフのトロリ線との接触点における鉛直加速度を算出するパンタグラフ鉛直加速度算出手段とを備える
    ことを特徴とする画像処理によるパンタグラフ鉛直加速度測定装置。
  2. 前記画像処理部が、加振点において前記パンタグラフに鉛直方向の振動を与えたときの前記ラインセンサ画像上の前記パンタグラフの位置から導出した鉛直加速度と前記加振点における前記パンタグラフの鉛直加速度とに基づいて前記伝達関数を算出する伝達関数算出手段を備える
    ことを特徴とする請求項1記載の画像処理によるパンタグラフ鉛直加速度測定装置。
  3. 前記ラインセンサカメラが雲台上に設置されて向きを調整可能に構成されている
    ことを特徴とする請求項1または請求項2記載の画像処理によるパンタグラフ鉛直加速度測定装置。
  4. 車両に取り付けたラインセンサカメラでパンタグラフを撮像し、画像処理部により撮像された画像に基づいてパンタグラフの鉛直加速度を測定する方法であって、
    前記ラインセンサカメラから画像データを入力し、
    入力された前記画像データからなるラインセンサ画像と予め登録しておいたパタンマッチ用モデルとを比較してラインセンサ画像上の測定点におけるパンタグラフの位置を検出し、
    検出されたパンタグラフのラインセンサ画像上の位置に基づいて求めた鉛直加速度と、予め求めた伝達関数と、前記パンタグラフの偏位位置とから前記パンタグラフのトロリ線との接触点における鉛直加速度を算出する
    ことを特徴とする画像処理によるパンタグラフ鉛直加速度測定方法。
  5. 前記パンタグラフに対して加振点に鉛直方向の振動を与えると同時に、前記ラインセンサカメラによって前記パンタグラフの測定点を撮像し、
    前記加振点におけるパンタグラフの鉛直加速度と撮像された画像からなるラインセンサ画像上の前記測定点におけるパンタグラフの鉛直加速度とから前記伝達関数を算出する
    ことを特徴とする請求項4記載の画像処理によるパンタグラフ鉛直加速度測定方法。
JP2008237357A 2008-09-17 2008-09-17 画像処理によるパンタグラフの鉛直加速度測定装置および測定方法 Expired - Fee Related JP5151845B2 (ja)

Priority Applications (5)

Application Number Priority Date Filing Date Title
JP2008237357A JP5151845B2 (ja) 2008-09-17 2008-09-17 画像処理によるパンタグラフの鉛直加速度測定装置および測定方法
EP09814540.2A EP2325656B1 (en) 2008-09-17 2009-09-11 Device and method for measuring vertical acceleration of pantograph by image processing
PCT/JP2009/065950 WO2010032695A1 (ja) 2008-09-17 2009-09-11 画像処理によるパンタグラフの鉛直加速度測定装置および測定方法
CN2009801364657A CN102159954B (zh) 2008-09-17 2009-09-11 基于图像处理的比例绘图器的铅垂加速度测定装置以及测定方法
RU2011115064/28A RU2459213C1 (ru) 2008-09-17 2009-09-11 Устройство и способ для измерения вертикального ускорения пантографа посредством обработки изображения

Applications Claiming Priority (1)

Application Number Priority Date Filing Date Title
JP2008237357A JP5151845B2 (ja) 2008-09-17 2008-09-17 画像処理によるパンタグラフの鉛直加速度測定装置および測定方法

Publications (2)

Publication Number Publication Date
JP2010071706A true JP2010071706A (ja) 2010-04-02
JP5151845B2 JP5151845B2 (ja) 2013-02-27

Family

ID=42039519

Family Applications (1)

Application Number Title Priority Date Filing Date
JP2008237357A Expired - Fee Related JP5151845B2 (ja) 2008-09-17 2008-09-17 画像処理によるパンタグラフの鉛直加速度測定装置および測定方法

Country Status (5)

Country Link
EP (1) EP2325656B1 (ja)
JP (1) JP5151845B2 (ja)
CN (1) CN102159954B (ja)
RU (1) RU2459213C1 (ja)
WO (1) WO2010032695A1 (ja)

Cited By (2)

* Cited by examiner, † Cited by third party
Publication number Priority date Publication date Assignee Title
US20130282211A1 (en) * 2012-04-22 2013-10-24 Caterpillar, Inc. Trolley Driven Machine Record and Playback Automation
CN111681265A (zh) * 2020-06-08 2020-09-18 西南交通大学 一种铁路受电弓和接触网的接触点在线检测方法

Families Citing this family (6)

* Cited by examiner, † Cited by third party
Publication number Priority date Publication date Assignee Title
KR101787011B1 (ko) * 2016-01-20 2017-11-15 한국철도기술연구원 전기철도차량의 팬터그래프 진동 검측 방법 및 장치
ITUA20162698A1 (it) * 2016-04-19 2017-10-19 Mer Mec S P A Sistema ottico per la misura della forza di contatto tra il pantografo e la catenaria
RU183453U1 (ru) * 2018-02-08 2018-09-24 Федеральное государственное бюджетное образовательное учреждение высшего образования "Омский государственный университет путей сообщения" Устройство стабилизации контактного нажатия токоприемника
DE102018211175A1 (de) * 2018-07-06 2020-01-09 Aktiebolaget Skf Überwachungseinrichtung eines elektrischen Schienensystems und/oder eines Abnehmers des Schienensystems
DK3741606T3 (da) 2019-05-24 2022-05-23 Siemens Ag Indretning og fremgangsmåde til registrering af slitage på et transportsystem med glidekontakter
CN113624228B (zh) * 2021-07-26 2024-01-26 中国科学院上海微系统与信息技术研究所 一种图像传感器和加速度计的同步标定装置及方法

Citations (4)

* Cited by examiner, † Cited by third party
Publication number Priority date Publication date Assignee Title
JPH11194059A (ja) * 1997-12-28 1999-07-21 Railway Technical Res Inst 接触力測定装置
JP2003156397A (ja) * 2001-11-19 2003-05-30 Railway Technical Res Inst パンタグラフの接触力測定方法及び接触力測定装置
JP2003341389A (ja) * 2002-05-27 2003-12-03 Meidensha Corp トロリー線の位置計測装置
JP2006250774A (ja) * 2005-03-11 2006-09-21 Meidensha Corp 画像処理によるパンタグラフ動作測定装置

Family Cites Families (6)

* Cited by examiner, † Cited by third party
Publication number Priority date Publication date Assignee Title
RU2134203C1 (ru) * 1995-04-19 1999-08-10 Товарищество с ограниченной ответственностью "МАДЖЕСТИК" Способ контроля состояния контактного провода и устройство для его осуществления
RU2120866C1 (ru) * 1997-04-03 1998-10-27 Государственное предприятие "Научно-исследовательский институт электрофизической аппаратуры им.Д.В.Ефремова" Устройство для замера и регистрации износа контактного провода
JP4085588B2 (ja) * 2001-03-22 2008-05-14 株式会社明電舎 パンタグラフ測定装置
JP4635657B2 (ja) * 2005-03-11 2011-02-23 株式会社明電舎 画像処理によるトロリ線摩耗測定装置
JP4923942B2 (ja) * 2006-10-20 2012-04-25 株式会社明電舎 画像処理によるパンタグラフ測定装置
JP4954732B2 (ja) * 2007-01-30 2012-06-20 公益財団法人鉄道総合技術研究所 パンタグラフの接触力測定方法及び接触力測定装置

Patent Citations (4)

* Cited by examiner, † Cited by third party
Publication number Priority date Publication date Assignee Title
JPH11194059A (ja) * 1997-12-28 1999-07-21 Railway Technical Res Inst 接触力測定装置
JP2003156397A (ja) * 2001-11-19 2003-05-30 Railway Technical Res Inst パンタグラフの接触力測定方法及び接触力測定装置
JP2003341389A (ja) * 2002-05-27 2003-12-03 Meidensha Corp トロリー線の位置計測装置
JP2006250774A (ja) * 2005-03-11 2006-09-21 Meidensha Corp 画像処理によるパンタグラフ動作測定装置

Cited By (4)

* Cited by examiner, † Cited by third party
Publication number Priority date Publication date Assignee Title
US20130282211A1 (en) * 2012-04-22 2013-10-24 Caterpillar, Inc. Trolley Driven Machine Record and Playback Automation
US8818593B2 (en) * 2012-04-22 2014-08-26 Caterpillar Inc. Trolley driven machine record and playback automation
CN111681265A (zh) * 2020-06-08 2020-09-18 西南交通大学 一种铁路受电弓和接触网的接触点在线检测方法
CN111681265B (zh) * 2020-06-08 2023-02-28 西南交通大学 一种铁路受电弓和接触网的接触点在线检测方法

Also Published As

Publication number Publication date
EP2325656B1 (en) 2017-08-09
RU2459213C1 (ru) 2012-08-20
EP2325656A4 (en) 2014-02-26
CN102159954B (zh) 2012-11-07
EP2325656A1 (en) 2011-05-25
CN102159954A (zh) 2011-08-17
WO2010032695A1 (ja) 2010-03-25
JP5151845B2 (ja) 2013-02-27

Similar Documents

Publication Publication Date Title
JP5151845B2 (ja) 画像処理によるパンタグラフの鉛直加速度測定装置および測定方法
EP2565612B1 (en) Contact force measurement method and contact force measurement device
JP5861318B2 (ja) トロリ線データ比較装置
WO2010084919A1 (ja) 接触力測定装置及び接触力測定方法
JP5494286B2 (ja) 架線位置測定装置
JP6424362B2 (ja) 線条計測装置及びその方法
US12092551B2 (en) Structure deflection measurement apparatus
JP6277468B2 (ja) 車両前方電柱位置検査装置
CN107743577A (zh) 用于检测电动铁道车辆的振动信息的方法和装置
US20220136927A1 (en) Structure displacement amount measurement apparatus
JP6159177B2 (ja) 架線位置計測装置及び方法
JP2008185457A (ja) パンタグラフの接触力測定方法及び接触力測定装置
JP6699323B2 (ja) 電車設備の三次元計測装置及び三次元計測方法
JP4979306B2 (ja) 車両自動計測装置、車両自動計測システム及び車両自動計測方法
WO2018025329A1 (ja) 集電装置監視システム
WO2015068788A1 (ja) 電車の自己位置推定装置
CN100398982C (zh) 用于集电弓的运动测量装置
JP6638353B2 (ja) 重錘位置検出装置及び方法
JP2019011995A (ja) 剛性検出装置、剛性検出方法、及びプログラム
JP5629478B2 (ja) パンタグラフ監視装置
JP5343470B2 (ja) 画像処理によるパンタグラフの水平加速度測定装置および測定方法
JP2004042837A (ja) 架線検測装置
JP5455037B2 (ja) 画像から平面を検出する平面検出装置及び検出方法
Ji et al. Identification of structural dynamic behavior for continuous system based on videogrammetric technique
JP2004212077A (ja) 軌道変位測定方法及び軌道変位測定装置

Legal Events

Date Code Title Description
A621 Written request for application examination

Free format text: JAPANESE INTERMEDIATE CODE: A621

Effective date: 20110510

A131 Notification of reasons for refusal

Free format text: JAPANESE INTERMEDIATE CODE: A131

Effective date: 20120529

A521 Request for written amendment filed

Free format text: JAPANESE INTERMEDIATE CODE: A523

Effective date: 20120725

A131 Notification of reasons for refusal

Free format text: JAPANESE INTERMEDIATE CODE: A131

Effective date: 20120904

A521 Request for written amendment filed

Free format text: JAPANESE INTERMEDIATE CODE: A523

Effective date: 20121003

TRDD Decision of grant or rejection written
A01 Written decision to grant a patent or to grant a registration (utility model)

Free format text: JAPANESE INTERMEDIATE CODE: A01

Effective date: 20121106

A61 First payment of annual fees (during grant procedure)

Free format text: JAPANESE INTERMEDIATE CODE: A61

Effective date: 20121119

FPAY Renewal fee payment (event date is renewal date of database)

Free format text: PAYMENT UNTIL: 20151214

Year of fee payment: 3

R150 Certificate of patent or registration of utility model

Ref document number: 5151845

Country of ref document: JP

Free format text: JAPANESE INTERMEDIATE CODE: R150

Free format text: JAPANESE INTERMEDIATE CODE: R150

LAPS Cancellation because of no payment of annual fees