JP2010071689A - 回転鋸刃の刃欠け検出装置及び刃欠け検出方法、並びにこれを用いた包装材切開除去装置 - Google Patents

回転鋸刃の刃欠け検出装置及び刃欠け検出方法、並びにこれを用いた包装材切開除去装置 Download PDF

Info

Publication number
JP2010071689A
JP2010071689A JP2008237002A JP2008237002A JP2010071689A JP 2010071689 A JP2010071689 A JP 2010071689A JP 2008237002 A JP2008237002 A JP 2008237002A JP 2008237002 A JP2008237002 A JP 2008237002A JP 2010071689 A JP2010071689 A JP 2010071689A
Authority
JP
Japan
Prior art keywords
blade
detection
chip
detecting
saw blade
Prior art date
Legal status (The legal status is an assumption and is not a legal conclusion. Google has not performed a legal analysis and makes no representation as to the accuracy of the status listed.)
Granted
Application number
JP2008237002A
Other languages
English (en)
Other versions
JP5213603B2 (ja
Inventor
Yasuo Sugiyama
保雄 杉山
Manabu Oizumi
学 大泉
Current Assignee (The listed assignees may be inaccurate. Google has not performed a legal analysis and makes no representation or warranty as to the accuracy of the list.)
Kirin Brewery Co Ltd
Original Assignee
Kirin Brewery Co Ltd
Priority date (The priority date is an assumption and is not a legal conclusion. Google has not performed a legal analysis and makes no representation as to the accuracy of the date listed.)
Filing date
Publication date
Application filed by Kirin Brewery Co Ltd filed Critical Kirin Brewery Co Ltd
Priority to JP2008237002A priority Critical patent/JP5213603B2/ja
Publication of JP2010071689A publication Critical patent/JP2010071689A/ja
Application granted granted Critical
Publication of JP5213603B2 publication Critical patent/JP5213603B2/ja
Expired - Fee Related legal-status Critical Current
Anticipated expiration legal-status Critical

Links

Images

Landscapes

  • Geophysics And Detection Of Objects (AREA)
  • Sawing (AREA)

Abstract

【課題】高速で回転駆動される回転刃であっても、高精度に刃欠けを検出可能な刃欠け検出装置及びこれを用いた包装材切開除去装置を提供する。
【解決手段】周縁部に鋸刃12aが設けられた回転刃12の刃欠けを検出する刃欠け検出装置20であって、回転刃12の回転中に鋸刃12aの凹凸を検知する検知センサ21と、検知センサ21による鋸刃12aの凹部12bの検知に基づいて計時動作を開始し、一定時間が経過した後に鋸刃12aの凹部12bの検出信号を出力するように検知センサ21の出力を制御するセンサコントローラ25と、を備えた。
【選択図】図2

Description

本発明は、缶蓋群等の包装対象物を収容した包装材を切開するための回転鋸刃の刃欠けを検出する刃欠け検出装置及び刃欠け検出方法、並びにこれを用いた包装材切開除去装置に関する。
飲料缶等の缶製品の製造工程では、缶本体とは別工程で製造された多数枚の缶蓋が厚さ方向に並べられた状態で包装材にて包装された包装品の形態で供給される場合がある。この場合、回転刃で包装材を切開して缶蓋群を取り出しているが、回転刃で包装材を切開するときに刃欠けが発生すると、欠けた刃が混入して不良品の原因ともなる。刃欠け対策として、回転刃の刃欠けを検出する装置が知られている(例えば特許文献1又は2参照)。
特開平6−91427号公報 特開昭63−81204号公報
上述の装置では、回転刃に対して光学式距離計や光電センサを利用して刃欠けを検出しているが、回転刃の回転駆動中にセンサによる検出を行っているので、回転刃が高速で回転している場合、誤検出が増えるおそれがある。
そこで、本発明は高速で回転駆動される回転刃であっても、高精度に刃欠けを検出可能な刃欠け検出装置及び刃欠け検出方法、並びにこれを用いた包装材切開除去装置を提供することを目的とする。
本発明の回転鋸刃の刃欠け検出装置は、周縁部に鋸刃(12a)が設けられた回転刃(12)の刃欠けを検出する刃欠け検出装置(20)であって、前記回転刃の回転中に前記鋸刃の凹凸を検知する検知手段(21)と、前記検知手段による前記鋸刃の凹部(12b)の検知に基づいて計時動作を開始し、一定時間が経過した後に前記鋸刃の凹部の検出信号を出力するように前記検知手段の出力を制御する出力制御手段(25)と、を備えたことにより上記課題を解決する。
本発明の刃欠け検出装置によれば、検知手段が回転刃の鋸刃の凹凸を検知しているが、凹部を検知してから一定時間の経過の後に凹部の検出信号を出力するように制御することで、鋸刃の凹部と刃欠けとを区別する。つまり、刃欠けの発生していない通常の回転刃であれば、一定時間の経過の前に鋸刃の凸部が検知されるので、凹部の検出信号が出力されることはなく、一方、刃欠けが発生している回転刃であれば、刃欠けのため一定時間の経過の後も鋸刃の凸部が検知されないので、凹部の検出信号が出力されることになる。従って、鋸刃の凹部と刃欠けとを容易に区別することができ、高精度な刃欠け検出をすることができる。
本発明の刃欠け検出装置の一形態において、前記検知手段及び前記出力制御手段が前記回転刃を回転駆動する駆動手段(13)が停止してから一定時間の間動作するように制御する動作制御手段(24)を備えてもよい。出力制御手段の能力以上に回転刃が高速で回転駆動している場合には、刃欠けが発生している場合であっても凹部の検出信号が出力される前に次の凸部が検知されてしまい、刃欠けが検出できないことがある。この形態によれば、回転刃が高速で回転駆動している場合であっても、回転刃を回転駆動する駆動手段が停止してから一定時間の間で刃欠けの検出を行うことで、回転刃の回転速度が低下している間に刃欠けの検出がされる。これにより、高速で回転駆動される回転刃の刃欠けを確実に検出することができる。
本発明の刃欠け検出装置の一形態において、前記凹部の検出信号に基づいて、前記回転刃の刃欠けの発生を報知する報知手段(23)を備えてもよい。この形態によれば、報知手段により、刃欠けの発生がオペレータに知らされる。これにより、回転刃に刃欠けが発生した場合に早急に対処することができる。
本発明の刃欠け検出装置の一形態において、前記出力制御手段がオフディレイタイマ(25)であってもよい。この形態によれば、オフディレイタイマ又はオフディレイタイマ機能を有する機器を用いることで簡易な構成で刃欠けの検出をすることができる。
本発明の刃欠け検出方法は、周縁部に鋸刃(12a)が設けられた回転刃(12)の刃欠けを検出する刃欠け検出方法であって、前記回転刃の回転中に前記鋸刃の凹凸を検知する検知工程と、前記検知工程での前記鋸刃の凹部(12b)の検知に基づいて計時動作を開始し、一定時間が経過した後に前記鋸刃の凹部の検出信号を出力する検出信号出力工程と、を備えたことにより上記課題を解決する。
本発明の刃欠け検出方法によれば、回転刃の鋸刃の凹凸を検知して、凹部を検知してから一定時間の経過の後に凹部の検出信号を出力することで、鋸刃の凹部と刃欠けとを区別する。従って、上述した刃欠け検出装置に関する説明と同様の理由により、鋸刃の凹部と刃欠けとを容易に区別することができ、高精度な刃欠け検出をすることができる。
本発明の包装材切開除去装置は、包装対象物(101)を含む包装材(102)を切開し、切開された包装材を一対のローラ(10)で挟み込んで前記包装対象物の周囲から除去する包装材切開除去装置(1)であって、上述した刃欠け検出装置が、前記包装材を切開する回転刃(12)の刃欠け検出に適用されていることにより上記課題を解決する。
本発明の包装材切開除去装置によれば、上述した刃欠け検出装置が包装材切開除去装置に適用されることで、高精度に回転刃の刃欠けの検出ができる。これにより、回転刃の刃欠けが発生した場合に、欠けた刃が包装対象物に混入することを防ぐことができ、品質の確保が可能になる。
なお、以上の説明では本発明の理解を容易にするために添付図面の参照符号を括弧書きにて付記したが、それにより本発明が図示の形態に限定されるものではない。
以上、説明したように、本発明の回転鋸刃の刃欠け検出装置及び刃欠け検出方法においては、検知手段が回転刃の鋸刃の凹凸を検知しているが、凹部を検知してから一定時間の経過の後に凹部の検出信号を出力するように制御することで、鋸刃の凹部と刃欠けとを区別する。つまり、刃欠けの発生していない通常の回転刃であれば、一定時間の経過の前に鋸刃の凸部が検知されるので、凹部の検出信号が出力されることはなく、一方、刃欠けが発生している回転刃であれば、刃欠けのため一定時間の経過の後も鋸刃の凸部が検知されないので、凹部の検出信号が出力されることになる。従って、鋸刃の凹部と刃欠けとを容易に区別することができ、高精度な刃欠け検出をすることができる。また、これを用いた包装材切開除去装置においても、高精度に回転刃の刃欠けの検出ができるため、回転刃の刃欠けが発生した場合に、欠けた刃が包装対象物に混入することを防ぐことができ、品質の確保が可能になる。
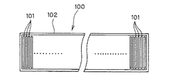
図1は本発明の一形態に係る刃欠け検出装置が適用された包装材切開除去装置の概略を示し、図8はその包装材切開除去装置にて処理される包装品の断面を示している。図8に示した包装品100は、厚さ方向に積み重ねるようにして並べられた多数枚の缶蓋101の群(包装対象物)を包装紙等からなる包装材102で包装して製造されたものであって、概略円柱状の形態を有している。包装材切開除去装置1は、刃欠け検出装置20が設けられている切開ユニット2と、切開された包装材102を除去する除去ユニット3と、切開ユニット2へ包装品100を適宜移送する移送ユニット4と、移送ユニット4へ包装品100を供給するインフィードコンベア5と、除去ユニット3にて包装材102が除去された缶蓋101を次工程へ搬送するディスチャージコンベア6とを有する。
移送ユニット4は、ストッパ7と、ドロッパ8と、プッシャ9とを有する。インフィードコンベア5により包装品100が移送ユニット4へ供給されると、ストッパ7にて適宜搬送を停止してタイミングを図りつつ、ドロッパ8にて押し出し位置へ供給された包装品100は、プッシャ9にて切開ユニット2へ押し出される。包装品100の軸線方向と押し出し方向、つまり搬送方向とは一致している。切開ユニット2は、包装材102を切開するユニットで、詳細については後述する。除去ユニット3は、一対の巻取りローラ10(図1では、紙面向かって手前側のローラのみ表示)と、巻取りローラ10の上方に配置された包装品押え11と、を備えている。巻取りローラ10は、包装品100の搬送方向に対して垂直方向に包装材102が通過できる程度の隙間を挟んで対向配置されている。包装材102が切開された包装品100が巻取りローラ10の上部に搬送されると、包装品押え11にて包装品100が押さえつけられると同時に、巻取りローラ10が互いに接近する方向に回転駆動することにより、包装材102が巻取りローラ10間に引き込まれて缶蓋102の群の周囲から剥ぎ取られるように除去される。缶蓋102の群は、不図示の取出し装置によりディスチャージコンベア6へと搬送される。除去ユニット3及び移送ユニット4の構成は公知の包装材切開除去装置と同様でよく、適宜の変更が可能である。
図2に切開ユニット2の概略図、図3にその側面図をそれぞれ示す。切開ユニット2は、搬送される包装品100の包装材102を切開する回転刃12と、回転刃12を回転駆動するモータ13と、回転刃12の上方に設けられたダクト14と、回転刃12の刃欠けを検出する刃欠け検出装置20とを備えている。回転刃12は、その周縁部全周に鋸刃12a(図5参照)が設けられた円形のカッターである。回転刃12の中心には回転軸13aが固定され、回転軸13aを介してモータ13から動力を得ることで回転刃12は回転する。モータ13には、周知の電動モータ等を利用してもよい。ダクト14は、図示しない真空ポンプ等と接続される。これにより、包装品100に対して上方から吸引力を作用させることができる。図4に包装材102の切開を説明する図を示す。吸引力により、缶蓋101の群の上端部と包装材102との間に弛みが生じる。この弛み部分に回転刃12を切り込んで包装材102を包装品100の軸線方向に切開する。
刃欠け検出装置20は、回転刃12の鋸刃12aの凹凸を検知する検知センサ21と、検知センサ21からの出力を処理する制御装置22と、刃欠けを検出した場合に報知する報知手段としてのアラーム23とを備えている。検知センサ21には、反射型の光電センサが用いられる。検知センサ21の光軸は回転刃12の回転面に対して垂直な方向に設定され、スポット光の大きさや投光位置は鋸刃12aの凹凸が検知できるように適宜調整して設定される。回転刃12付近での反射防止のため、反射防止部材をスポット光の周辺に設けてもよい。例えば、回転刃12の奥側に黒色等の暗色の板部材やテープ等を設けたり、回転刃12の手前側に暗色のテープを貼ったアクリル板や暗色の板部材を設置してスポット光が通過する貫通孔を設けたりしてもよい。
制御装置22には、シーケンサ24とセンサコントローラ25とが設けられている。シーケンサ24は、マイクロプロセッシングユニットを備えたコンピュータユニットの一種であり、記憶装置に記憶されたプログラムに従ってセンサコントローラ25や、モータ13、アラーム23をシーケンス制御する専用コントローラとして構成されている。センサコントローラ25は、検知センサ21の出力を制御する。特に、センサコントローラ25のタイマ機能を利用して、オフディレイタイマとして使用することで回転刃12の刃欠け検出を行っている。アラーム23には、周知技術を利用してよい。
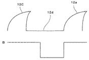
回転刃12の刃欠け検出処理を説明する。図5A及び図5Bに回転刃12の鋸刃12aの刃欠けの検出を説明する図を示す。図5A及び図5Bのそれぞれの上図は鋸刃12aを拡大した図、下図は上図の鋸刃12aに対応する検知センサ21とセンサコントローラ25による刃欠け検出の出力を示す図である。図5Aは、刃欠けの発生していない正常な刃での出力Aを示す。検知センサ21のみを設けた場合だと鋸刃12aの凹部12bを検知してしまう(出力Aの破線部分)ことになるが、センサコントローラ25のオフディレイタイマ機能を設定することにより、検知センサ21による凹部12bの検知に基づいてセンサコントローラ25が計時動作を開始し、一定時間が経過した後に鋸刃12aの凹部12bの検出信号を出力する。オフディレイタイマによる計時動作は、回転刃12の回転速度と鋸刃12aの凹凸のピッチ等に応じて適宜設定すればよい。従って、正常な刃の検出時には、凹部12bを検知してからセンサコントローラ25に設定された一定時間の経過の前に鋸刃12aの凸部12cが検知されるので、結果的に凹部12bは検知されることはなく、刃欠けの検出はされない。一方、図5Bは、刃欠けの発生した刃での出力Bを示す。刃欠け12dが発生している場合、センサコントローラ25に設定された一定時間の経過の後も凸部12cが検知されないのでオフディレイタイマが切れて凹部12aの検出信号が出力されることとなり、刃欠けの検出がされることになる。
刃欠け検出装置20の動作を説明する。包装材切開除去装置1ではモータ13が動作し回転刃12を回転駆動させて包装品100の包装材102を切開しているが、モータ13動作中の回転刃12は、高速で回転駆動しているので、図5Bのように凸部12cがひとつ欠けた程度ではオフディレイタイマが切れず刃欠けが検出されない。そこで、制御装置22はモータ13の動作が停止してから一定時間の間で、上述した刃欠け検出処理を行う。図6及び図7に刃欠け検出に関するタイムチャートを示す。図6は刃欠けの発生していない正常な刃の検出時を示し、図7は刃欠けが発生している刃の検出時を示す。時間T1でモータ13が停止してその出力C1がオフになると、制御装置22は刃欠け検出処理D1をオンして一定時間処理を実行する。なお、この一定時間は、制御装置22に予め記憶させておく。一定時間経過後、時間T2で刃欠け検出処理D1が終了する。一定時間は、回転刃12の回転速度や鋸刃12aのピッチにより適宜設定してよい。モータ13が停止しているので回転刃12の回転速度が徐々に低下するため、鋸刃12aに刃欠け12dが発生している場合には、オフディレイタイマの計時動作後に次の凸部12cが検知されず、オフディレイタイマが切れて刃欠けが検出される。刃欠けの発生していない場合は、刃欠けが検出されることはないので、凹部12bの検出信号の出力E1がオンすることはない。
一方、刃欠けが発生している場合、時間T3でモータ13の出力C2が停止して刃欠け検出処理D2がオンして、刃欠け検出処理D2が実行している間に刃欠けが検出される。制御装置22は凹部12bの検出信号の出力E2をオンする(時間T4)。この場合、制御装置22は、出力E2に基づいて、回転刃12の異常を知らせるアラーム23の出力Fをオンする。アラーム23が作動することにより、回転刃12の異常がオペレータに知らされる。刃欠けの検出が終了して凹部12bの検出信号の出力E2がオフすると、刃欠け検出処理D2も終了する(時間T5)。
本形態の刃欠け検出装置20では、検知センサ21が検知手段として、センサコントローラ25が出力制御手段として、シーケンサ24が動作制御手段としてそれぞれ機能する。
本発明は、上述した形態に限定されることなく、種々の形態にて実施することができる。例えば、本形態では、出力制御手段としてオフディレイタイマ機能を有するセンサコントローラ25を用いたがこれに限られない。例えば、単体のオフディレイタイマを利用してもよいし、オフディレイタイマ機能を有するその他公知の機器を利用してもよい。また、検知センサ21として、反射型の光電センサを利用した例で説明したが、これに限られず、例えば、透過型の光電センサやその他公知の各種センサを利用してもよい。本形態では、モータ13の駆動停止後に刃欠け検出処理を行ったが、回転刃12の回転速度が高速であってもセンサコントローラ25のオフディレイタイマ機能で刃欠けの検出が可能であれば、回転刃12の回転駆動時に刃欠け検出処理を実行してもよい。
本発明の一形態に係る刃欠け検出装置が適用された包装材切開除去装置の概略図。 切開ユニットの概略図。 切開ユニットの側面図。 包装材の切開を説明する図。 刃欠けが発生していないときの回転刃の刃欠けの検出を説明する図。 刃欠けが発生しているときの回転刃の刃欠けの検出を説明する図。 刃欠けが発生していないときの刃欠け検出に関するタイムチャート。 刃欠けが発生しているときの刃欠け検出に関するタイムチャート。 包装材切開除去装置にて処理される包装品の断面図。
符号の説明
1 包装材切開除去装置
12 回転刃
13 モータ(駆動手段)
20 刃欠け検出装置
21 検知センサ(検知手段)
22 制御装置
24 シーケンサ(動作制御手段)
25 センサコントローラ(出力制御手段)
100 包装品
101 缶蓋(包装対象物)
102 包装材

Claims (6)

  1. 周縁部に鋸刃が設けられた回転刃の刃欠けを検出する刃欠け検出装置であって、
    前記回転刃の回転中に前記鋸刃の凹凸を検知する検知手段と、
    前記検知手段による前記鋸刃の凹部の検知に基づいて計時動作を開始し、一定時間が経過した後に前記鋸刃の凹部の検出信号を出力するように前記検知手段の出力を制御する出力制御手段と、
    を備えたことを特徴とする回転鋸刃の刃欠け検出装置。
  2. 前記検知手段及び前記出力制御手段が前記回転刃を回転駆動する駆動手段が停止してから一定時間の間動作するように制御する動作制御手段を備えたことを特徴とする請求項1に記載の刃欠け検出装置。
  3. 前記凹部の検出信号に基づいて、前記回転刃の刃欠けの発生を報知する報知手段を備えたことを特徴とする請求項1又は2に記載の刃欠け検出装置。
  4. 前記出力制御手段がオフディレイタイマであることを特徴とする請求項1〜3のいずれか一項に記載の刃欠け検出装置。
  5. 周縁部に鋸刃が設けられた回転刃の刃欠けを検出する刃欠け検出方法であって、
    前記回転刃の回転中に前記鋸刃の凹凸を検知する検知工程と、
    前記検知工程での前記鋸刃の凹部の検知に基づいて計時動作を開始し、一定時間が経過した後に前記鋸刃の凹部の検出信号を出力する検出信号出力工程と、
    を備えたことを特徴とする回転鋸刃の刃欠け検出方法。
  6. 包装対象物を含む包装材を切開し、切開された包装材を一対のローラで挟み込んで前記包装対象物の周囲から除去する包装材切開除去装置であって、
    前記請求項1〜4のいずれか一項に記載の刃欠け検出装置が、前記包装材を切開する回転刃の刃欠け検出に適用されていることを特徴とする包装材切開除去装置。
JP2008237002A 2008-09-16 2008-09-16 包装材切開除去装置 Expired - Fee Related JP5213603B2 (ja)

Priority Applications (1)

Application Number Priority Date Filing Date Title
JP2008237002A JP5213603B2 (ja) 2008-09-16 2008-09-16 包装材切開除去装置

Applications Claiming Priority (1)

Application Number Priority Date Filing Date Title
JP2008237002A JP5213603B2 (ja) 2008-09-16 2008-09-16 包装材切開除去装置

Publications (2)

Publication Number Publication Date
JP2010071689A true JP2010071689A (ja) 2010-04-02
JP5213603B2 JP5213603B2 (ja) 2013-06-19

Family

ID=42203644

Family Applications (1)

Application Number Title Priority Date Filing Date
JP2008237002A Expired - Fee Related JP5213603B2 (ja) 2008-09-16 2008-09-16 包装材切開除去装置

Country Status (1)

Country Link
JP (1) JP5213603B2 (ja)

Cited By (1)

* Cited by examiner, † Cited by third party
Publication number Priority date Publication date Assignee Title
JP2013252572A (ja) * 2012-06-05 2013-12-19 Apic Yamada Corp 切削装置及び鋸刃ブレードの破損検出方法

Citations (9)

* Cited by examiner, † Cited by third party
Publication number Priority date Publication date Assignee Title
JPS6196389U (ja) * 1984-11-29 1986-06-20
JPS61252051A (ja) * 1985-04-30 1986-11-10 Mitsubishi Heavy Ind Ltd 切削機械の刃欠検出装置
JPS6381204A (ja) * 1986-09-25 1988-04-12 Nkk Corp トリマ剪断状態診断装置
JPH0691427A (ja) * 1992-09-09 1994-04-05 Nkk Corp 間欠歯状体の歯欠け検出装置
JPH0710140A (ja) * 1993-06-21 1995-01-13 Kirin Brewery Co Ltd 包装材除去装置
JPH07293314A (ja) * 1994-04-26 1995-11-07 Hitachi Ltd 内燃機関のノック制御方法
JPH1123320A (ja) * 1997-07-01 1999-01-29 Fujitsu Ten Ltd クランク角信号の処理回路
JP2000020878A (ja) * 1998-07-02 2000-01-21 Omron Corp 車両の検知方法およびこの方法を用いた車両検知装置
JP2004132895A (ja) * 2002-10-11 2004-04-30 Fuji Heavy Ind Ltd 車輪速センサのロータ歯欠け検出装置

Patent Citations (9)

* Cited by examiner, † Cited by third party
Publication number Priority date Publication date Assignee Title
JPS6196389U (ja) * 1984-11-29 1986-06-20
JPS61252051A (ja) * 1985-04-30 1986-11-10 Mitsubishi Heavy Ind Ltd 切削機械の刃欠検出装置
JPS6381204A (ja) * 1986-09-25 1988-04-12 Nkk Corp トリマ剪断状態診断装置
JPH0691427A (ja) * 1992-09-09 1994-04-05 Nkk Corp 間欠歯状体の歯欠け検出装置
JPH0710140A (ja) * 1993-06-21 1995-01-13 Kirin Brewery Co Ltd 包装材除去装置
JPH07293314A (ja) * 1994-04-26 1995-11-07 Hitachi Ltd 内燃機関のノック制御方法
JPH1123320A (ja) * 1997-07-01 1999-01-29 Fujitsu Ten Ltd クランク角信号の処理回路
JP2000020878A (ja) * 1998-07-02 2000-01-21 Omron Corp 車両の検知方法およびこの方法を用いた車両検知装置
JP2004132895A (ja) * 2002-10-11 2004-04-30 Fuji Heavy Ind Ltd 車輪速センサのロータ歯欠け検出装置

Cited By (1)

* Cited by examiner, † Cited by third party
Publication number Priority date Publication date Assignee Title
JP2013252572A (ja) * 2012-06-05 2013-12-19 Apic Yamada Corp 切削装置及び鋸刃ブレードの破損検出方法

Also Published As

Publication number Publication date
JP5213603B2 (ja) 2013-06-19

Similar Documents

Publication Publication Date Title
US12434874B2 (en) Unit for controlling or managing products
CA2271141C (en) Roll-fed labelling apparatus
MX2012005442A (es) Aparato y metodo de corte.
JP4982714B2 (ja) スリーブ状のフォイル材料の連続的なフラットストリップからスリーブ状のフォイル包装材料を形成するための装置
US7275469B2 (en) Planetary tubing cutter
CN106005644B (zh) 一种电子软标签自动撕贴标系统
CN102090713A (zh) 一种用于卷烟机的盘纸拼接方法
CN110355816A (zh) 一种不干胶制品切裁方法
RU2351459C2 (ru) Машина для продольной резки плоских заготовок для упаковок
JP5213603B2 (ja) 包装材切開除去装置
EP3898475B1 (en) Device for processing a continuous web
US11866221B2 (en) Label printing device
KR101466578B1 (ko) 약제 포장장치용 커터
CN102673021A (zh) 一种制作定位贴窗包装材料的方法及装置
CN101413844B (zh) 同步检测装置及方法以及使用该同步检测装置的切割设备
CN205969211U (zh) 一种网套切割机
JPH0546804Y2 (ja)
JPH1179112A (ja) 包装装置のノッチ形成装置
JPH0819996A (ja) 軟弱性製品のロータリーカッタ装置
JP2009126564A (ja) 包装物検査装置及び包装物検査方法
JPH074460U (ja) 封凾機のテープ貼り不良検出装置
CN113800061A (zh) 卷烟烟包包装纸切割装置和烟包彩膜透明纸切割装置
JP2015174667A (ja) 巻取紙情報管理装置および巻取紙情報管理方法
JPH10217364A (ja) 食品包装容器用ミシン目刻設装置
CA2034021A1 (en) Rotary die cutter

Legal Events

Date Code Title Description
A621 Written request for application examination

Free format text: JAPANESE INTERMEDIATE CODE: A621

Effective date: 20110406

A977 Report on retrieval

Free format text: JAPANESE INTERMEDIATE CODE: A971007

Effective date: 20120530

A131 Notification of reasons for refusal

Free format text: JAPANESE INTERMEDIATE CODE: A131

Effective date: 20120605

A521 Written amendment

Free format text: JAPANESE INTERMEDIATE CODE: A523

Effective date: 20120803

TRDD Decision of grant or rejection written
A01 Written decision to grant a patent or to grant a registration (utility model)

Free format text: JAPANESE INTERMEDIATE CODE: A01

Effective date: 20130212

A61 First payment of annual fees (during grant procedure)

Free format text: JAPANESE INTERMEDIATE CODE: A61

Effective date: 20130226

R150 Certificate of patent or registration of utility model

Free format text: JAPANESE INTERMEDIATE CODE: R150

FPAY Renewal fee payment (event date is renewal date of database)

Free format text: PAYMENT UNTIL: 20160308

Year of fee payment: 3

LAPS Cancellation because of no payment of annual fees