JP2010071658A - アンモニアセンサ - Google Patents
アンモニアセンサ Download PDFInfo
- Publication number
- JP2010071658A JP2010071658A JP2008236040A JP2008236040A JP2010071658A JP 2010071658 A JP2010071658 A JP 2010071658A JP 2008236040 A JP2008236040 A JP 2008236040A JP 2008236040 A JP2008236040 A JP 2008236040A JP 2010071658 A JP2010071658 A JP 2010071658A
- Authority
- JP
- Japan
- Prior art keywords
- ammonia
- oxide semiconductor
- sensor
- type oxide
- sensitive
- Prior art date
- Legal status (The legal status is an assumption and is not a legal conclusion. Google has not performed a legal analysis and makes no representation as to the accuracy of the status listed.)
- Granted
Links
Images
Landscapes
- Investigating Or Analyzing Materials By The Use Of Fluid Adsorption Or Reactions (AREA)
Abstract
【解決手段】一対の電極2Aと、該一対の電極に接して設けられ被検出ガス中のアンモニア成分に応じて電気的に変化する感応部4とを備え、感応部4は、固体超強酸物質とn型酸化物半導体の混合物とのみからなり、走査透過電子顕微鏡を用いて20点の感応部を観察したとき、全ての観察点における感応部4中の固体超強酸物質は、担体の表面に、これより微小で非晶質成分からなる複数の微粒を結合させてなるアンモニアセンサ200Aである。
【選択図】図4
Description
特許文献1には、ZrO2粉末にW溶液を加えて(含浸させて)焼成し、主成分であるZrO2に副成分となるWO3を含ませた固体超強酸物質(WO3/ZrO2)を形成し、このペーストを塗布して感ガス材料とすることが記載されている。担体であるZrO2(又はZrO2にYを添加したYSZ)に対し、これよりも微粒のWO3が化学結合しており、WO3が有する固体酸としての特性がアンモニアの選択検知に寄与すると考えられる。
又、特許文献2には、YSZ粉末とWO3粉末とを別々に作製した後、これらを混合し、ペーストを塗布して感ガス材料とすることが記載されている。YSZ粒子とWO3粒子との接触点近傍で化学結合が生じて固体超強酸物質(WO3/ZrO2)を形成し、特許文献1と同様にWO3が有する固体酸としての特性がアンモニアの選択検知に寄与すると考えられる。
しかしながら、上記した特許文献1記載の固体酸式アンモニアセンサは、固体酸へのアンモニアの吸着による電気抵抗の変化のみを利用したセンサであるため、高温になると感度が低下するという問題がある。この原因の1つとして、400℃よりも高温環境下では、アンモニアの吸着量が減少し、電気抵抗の変化が少なくなるためであると考える。
また、上記した特許文献2記載の固体酸アンモニアセンサは、YSZ粉末とWO3粉末とを単純に混合して作成しているため、感ガス材料には、担体であるYSZ粒子の表面にWO3粒子が化学結合して固体超強酸物質を形成したもの以外に、微粒のWO3粒子で覆われず固体超強酸物質にならない単体のYSZ粒子が存在する。
高温環境下において固体超強酸物質は、担体のYSZに微粒のWO3が存在しているので、担体の粒成長を防止できることが判明した。しかし、担体のYSZ粒子の表面に微粒のWO3が存在しない場合は、担体を構成するYSZ粒子が別個に凝集して、高温で粒成長が生じてしまい高温測定での感度や耐熱性に問題がある。
このような構成とすると、担体の表面に、これより微小で非晶質成分からなる複数の微粒を結合させた固体超強酸物質が確実に形成され、また、微粒が存在しない担体を含まないため高温での担体の粒成長を抑制する。そのため、400℃を越える温度でアンモニアの測定可能となり、耐熱安定性にも優れたアンモニアセンサが得られる。さらに、感応部が固体超強酸物質のみで形成される場合と比べ、固体超強酸物質とn型酸化物半導体とからなるので、400℃よりも高温下でアンモニアの吸着量が減少しても、電気抵抗の変化が低下することを抑制できる。これは、固体超強酸物質に吸着したアンモニアが隣接するn型酸化物半導体の電子伝導性を増加させる事を利用し、高温でアンモニア感度が低下するのを抑制することできる。
前記固体超強酸物質は、WO3/ZrO2、SO4/ZrO2、WO3/TiO2、及びWO3/Al2O3の群から選ばれる1種以上からなることが好ましい。
前記担体は、CaO、MgO、Y2O3、YbO3、Ga2O3の群から選ばれる1種以上の安定化剤を含有することが好ましい。
前記n型酸化物半導体材料は、WO3、SnO2、TiO2、及びMoO3の群から選ばれる1種以上からなることが好ましい。
A2(WO4)3は複合酸化物であるため、センサの耐熱安定性をさらに向上させる。
図1は、本発明の実施形態に係るアンモニアセンサ200Aの長手方向に沿う断面図を示す。アンモニアセンサ200Aは、アンモニアを検出するセンサ素子部50Aを組み付けたアッセンブリである。アンモニアセンサ200Aは、軸線方向に延びる板状のセンサ素子部50Aと、排気管に固定されるためのねじ部139が外表面に形成された筒状の主体金具138と、センサ素子部50Aの径方向周囲を取り囲むように配置される筒状のセラミックスリーブ106と、軸線方向に貫通するコンタクト挿通孔168の内壁面がセンサ素子部50Aの後端部の周囲を取り囲む状態で配置される絶縁コンタクト部材166と、センサ素子部50Aと絶縁コンタクト部166との間に配置される複数個(図1では2つのみ図示)の接続端子110とを備えている。
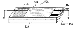
センサ素子部50Aは、アルミナ製の絶縁層24A、26Aを積層して本体部分とし、絶縁層24A表面左端に一対の櫛歯電極(請求項の「一対の電極」に相当)2Aが配置されている。一対の櫛歯電極2Aから絶縁層24Aの長手方向に沿ってそれぞれリード30A,31Aが延び、リード30A,31A上に絶縁層20Aが被覆され、絶縁層20Aがセンサ素子部の表面51Aを形成している。但し、リード30A,31Aの右端は絶縁層20Aで被覆されずに露出し、それぞれ電極端子部40A、41Aを形成している。
一対の櫛歯電極2Aは、例えば金を主成分とし、それぞれ櫛状の2つの電極が離間して配置されている。また、リード30A,31Aは、例えば白金を主成分とする材料で構成している。
櫛歯電極2A間に交流を印加することにより、電極2A間に埋設された感応部4のインピーダンス(Z)が変化するので、インピーダンス変化に基づいて排ガス中のアンモニア濃度を検出することができる。
なお、絶縁層20Aは電極2Aの側縁を被覆しているが、感応部4の上面は絶縁層20Aで被覆されずに露出し、排ガス雰囲気に曝されるようになっている。つまり、検知部10A(感応部4を含む)はセンサ素子部の表面51Aに露出している。
温度検出手段14A、ヒータ16A、リード32A,33A、35A、36Aは、それぞれ例えば白金を主成分とする。
このようにして、センサ素子部50Aにおける裏面52Aの最外層に薄い緻密絶縁層12Aが形成され、緻密絶縁層12Aの直下に温度検出手段14Aが配置される。
さらに、リード30A,31Aを覆うように絶縁層24A1上に絶縁材料(アルミナ等)、バインダ及び有機溶剤を含むペーストをスクリーン印刷して絶縁層20Aを形成する。そして、絶縁層24A1の下に絶縁層24A2を形成した後、絶縁層24A2と絶縁層26Aとを合わせて積層圧着し、さらに、所定形状に切断し、所定温度(例えば約400℃)で脱バインダ後、所定温度(例えば1520℃)で焼成する。なお、絶縁層24A2は、絶縁層24A1と絶縁層26Aとの密着性を高めるものであり、図3では、絶縁層24A1、24A2を合わせて絶縁層24Aと図示している。
まず、例えば特開2005−114355号公報(例えば段落0075〜0078)に記載されたA法に基づき、固体超強酸物質からなる粉末を作製する。固体酸酸物質材料としてWがZrO2に含有したもの(WO3/ZrO2)を例として説明する。
オキシ硝酸ジルコニウムをH2Oに溶解させ、アンモニア水を加えてpH8に調整する。得られた水酸化ジルコニウムを吸引濾過し、洗浄する。その後、乾燥機にて、110℃で24時間乾燥後、電気炉にて、400℃で24時間焼成し、表面積の大きなZrO2粉末を得る。
一方、タングステン酸アンモニウムをH2Oに溶解させ、アンモニア水を加えて、pH10〜11に調整された溶液(W溶液)を得る。
そして、前記の方法にて得られたZrO2粉末とW溶液とを用い、W量とZrO2量とを調整して、例えば、W量がWO3換算で(WO3量及びZrO2量の合計量を100重量%としたときに)2〜40重量%の範囲の所定値となるように調整して、るつぼに入れる。その後、乾燥機にて、120℃で24時間乾燥後、電気炉にて、800℃で5時間焼成する。これにより、担体のZrO2の表面に微粒で非晶質のWO3が複数個化学結合した固体超強酸物質を得る。
次に、得られた固体超強酸物質の粉末と、酸化タングステン粉末(n型酸化物半導体材料)を所定の割合で混合する。
なお、上記した微粒のWO3は、担体のZrO2の表面に結合していると考えられるが、担体が例えば10〜30nm程度と極めて微小である。従って、本発明においては、走査透過電子顕微鏡(STEM)を用いて20点の感応部4を観察したとき、全ての観察点における感応部において、担体(ZrO2等)の表面に、これより微小で非晶質成分からなる微粒(WO3)が付着していることが観察されれば、これを固体超強酸物質であるとみなし、具体的な酸度関数HOの測定等は必要としない。又、非晶質であることはラマン分光測定を用いて判別することができる。非晶質WO3であれば、800〜1000cm-1にブロードなピークが発生し、結晶質WO3の場合には、723、819cm-1にシャープなピークが発生する。
又、感応部4は、固体超強酸物質とn型酸化物半導体との混合物のみからなることが必要である。固体超強酸物質とn型酸化物半導体とが混合物であることの確認は、上記と同様にSTEMを用いて感応部4を観察して行うことができる。なお、STEM観察により、各粒子が単に混合した形態であり混合物であることがわかる。又、上記した担体に結合している微粒は、単なる混合物としては存在しないので(単体で存在する微粒は凝集して径が大きくなる)、上記混合物と区別できる。
前記固体超強酸物質は、WO3/ZrO2、SO4/ZrO2、WO3/TiO2、及びWO3/Al2O3の群から選ばれる1種以上からなることが好ましい。このうち、表記「WO3/ZrO2」は、WO3が微粒、ZrO2が担体を表す。主成分である担体は通常、固体超強酸物質の94.2mol%程度を占める。
担体は、CaO、MgO、Y2O3、YbO3、Ga2O3の群から選ばれる1種以上の安定化剤を含有してもよい。
上記n型酸化物半導体は、WO3、SnO2、TiO2、及びMoO3の群から選ばれる1種以上からなることが好ましく、A2(WO4)3(AはAl、In、Y、Nd、又はLaのいずれか1つ)からなることがより好ましい。なお、上記n型酸化物半導体は結晶質であり、通常、1μm程度以上の粒径を有する。
n型酸化物半導体がWO3である場合を例として説明する。
まず、担体の粉末として、オキシ硝酸ジルコニウムと硝酸イットリウムをH2Oに溶解させ、アンモニア水を加えpH8に調整する。得られた沈殿を、吸引濾過・洗浄し、乾燥し800℃で仮焼し、比表面積が約40m2/gのYSZを得る。
次に、WO3含有量がYSZに対して約20wt%となるようタングステン酸アンモニウム溶液(W溶液)を調製し、得られたYSZ粉末に含浸させ、蒸発乾固させた後、800℃で5時間本焼成する。
(1−1)実施例1〜5:上記実施形態(図1〜図3)に係るアンモニアセンサを作製した。感応部4は以下のようにして作製した。
(固体超強酸物質の粉末)
まず、オキシ硝酸ジルコニウムと硝酸イットリウムをH2Oに溶解させ、アンモニア水を加えpH8に調整した。このとき、硝酸イットリウムは、最終的なYSZ(ZrO2−Y2O3)粉末に対するYの含有量が、Y2O3換算で4mol%となる様に調合した。得られた沈殿を、吸引濾過・洗浄し、乾燥機にて110℃で24時間乾燥し、その後マッフル炉にて400℃で24時間の焼成を行い、(担体となる)比表面積の大きなYSZ粉末を得た。
次に、所定量のYSZに対して、最終的なWO3/YSZ粉末におけるWの含有量がWO3換算で10重量%となる様に、タングステン酸アンモニウムを計り取り、H2Oに溶解させ、アンモニア水を加え、pH10〜11に調整した。この溶液に前記所定量のYSZ粉末を加え、十分に攪拌し懸濁液としたものを、ロータリーエバポレーターにて蒸発乾固させた。得られた固体を、乾燥機にて120℃で24時間乾燥し、マッフル炉にて800℃で5時間の焼成を行った。
以上により、10重量%WO3/YSZ粉末(固体超強酸物質)を得た。この粉末の比表面積をBET法で測定したところ約50m2/gであり、平均一次粒子径は約30〜50nm、平均二次粒子径は約10μmであった。なお、一次粒子径はSTEM観察結果から得られ、二次粒子径は粒度分布測定(レーザ回折/散乱式粒度分布測定装置 HORIBA製LA−750)から得られた。
次に、n型酸化物半導体としてWO3(高純度化学製、99.9%、粒径=約1μm、非晶質)と、上記の固体超強酸物質(WO3/YSZ)の粉末とを所定の割合で混合し、混合粉末を得た。
比較例2:上記実施形態(図1〜図3)に係るアンモニアセンサにおいて、n型酸化物半導体とYSZ粉末との混合材料を用いて感応部を形成した。
走査透過電子顕微鏡(STEM;日立ハイテク社製HD−2000)を用い、実施例2及び比較例2のアンモニアセンサの感応部4表面から微量の感応部を採取し、異なる20点の視野を観察した。測定倍率500万倍、視野18nm×25nmで測定を行った。1視野がほぼ大きな粒1つに対応したため、大きな粒の20粒について観察を行ったこととなった。
実施例2について観察した各粒(WO3単体の粒を除く)の成分を同定したところ、すべての粒の表面に、1nm以下の成分が付着していることが判明した。そして、この付着物は微粒のWO3であることが同定された。又、各粒自体がYSZであることも同定された。これより、各粒に微粒が付着したものが固体超強酸物質であると判定した。
一方、比較例2の観察対象の成分を同定したところ、上記した固体超強酸物質(WO3/YSZ)も観察されたが、大きな粒のうち2個の粒の表面にはWO3がまったく付着せず、YSZ単体であることが判明した。
モデルガス発生装置を使用し、センサ特性の評価を行った。モデルガス発生装置のガス組成は、O2=10% CO2=5% H2O=5% N2=bal. NH3=0又は100ppm C3H6=0又は100ppmとした。そして、モデルガス発生装置のガス流中にセンサを配置し、ガス温度280℃, センサ素子部の制御温度550℃とし、400Hzの交流電圧をセンサに印加して、センサのインピーダンス値を測定した。NH3=0ppmで得られる抵抗をベースインピーダンス値とし、NH3ガスを100ppm混入したときのインピーダンス値の変化でNH3の検知を行った。ここで、センサ感度は、下記算出式を用いた。
センサ感度=
{Z(ガス中NH3=0ppm)−Z(ガス中NH3=100ppm)}/Z(ガス中NH3=0ppm)×100
但し、Zはセンサが示すインピーダンス値
但し、感応部中、n型酸化物半導体の割合が20wt%を超えた実施例5の場合、C3H6感度がアンモニア感度より大きくなり、他の実施例に比べてアンモニア選択性が劣化した。これは、n型酸化物半導体材料の含有量が20wt%を超えると、n型酸化物半導体材料の特性の影響が強くなり過ぎるためと考えられる。このようなことから、感応部中のn型酸化物半導体の割合が20wt%以下であることが好ましい。
又、n型酸化物半導体の粉末と担体(YSZ)の粉末とを単純に混合して感応部に用いた比較例2の場合、高温(550℃)にて感度50以上となった。但し、比較例2は後述するように耐熱性に劣る。
次に、実施例2と比較例2について初期段階のNH3感度と、机上ヒータに載置して700℃で50時間加熱した後のNH3感度について、それぞれ調査した。結果を図5、図6に示す。
それぞれ実施例2及び比較例2の感応部に用いた材料粉末のx線回折(XRD)及びラマン分光測定を行った結果を図7及び図8に示す。
図7より、実施例2の感応部材料は、結晶質WO3を含有することがわかる。また、図8より、実施例2の感応部材料において、結晶質WO3に由来する、723、819cm-1付近のピークと、非晶質WO3に由来する800〜1000cm-1のブロードなピークが確認された。
以上より、実施例2の感応部材料においてWO3は、結晶質WO3(n型酸化物半導体)と非晶質WO3(固体超強酸物質)の二つの形態からなっていることがわかる。実施例1〜3、実施例5についても同様な結果が得られた。
なお、各実施例において、高温(550℃)でもアンモニア感度が高い理由は明確ではないが、固体超強酸物質の固体酸点(非晶質WO3)と、固体超強酸物質表面のn型酸化物半導体材料領域(結晶質WO3)の界面近傍において、固体酸点に吸着したNH3により結晶質WO3が僅かに還元され、Wの価数変化に伴う電子伝導性を増加させ、固体超強酸物質の抵抗を減少させるものと考えられる。
n型酸化物半導体を複合酸化物化し、以下のようにセンサの耐熱安定性の向上効果を調査した。なお、複合酸化物であることは、蛍光X線分析等によりわかる。例えば、以下のAl2(WO4)3の場合、AとWの成分が検出される。
(複合酸化物の調製)
複合酸化物としてAl2(WO4)3を調製した。まず、Al(NO3)2・9H2Oを100mlの水に溶解し、必要量のタングステン酸アンモニウム溶液200mlを加えた。このものを蒸発乾固し、70℃で一晩真空乾燥した後、500℃で24時間仮焼して粉砕し、1000℃で本焼した。
(感応部4材料粉末の作成)
次に、実施例1〜5の上記の固体超強酸物質(WO3/YSZ)の粉末と、上記Al2(WO4)3粉末とを所定の割合で混合し、混合粉末を得た。
そして、この感応部を有する、上記実施形態(図1〜図3)と同様な構成のアンモニアセンサを作製し、実施例6とした。なお、感応部における固体超強酸物質の割合を77wt%とし、上記複合酸化物の割合を23wt%とした。
次に、このセンサを所定の机上ヒータに載置し、700℃で50時間加熱した後、上記と同様にセンサ特性の評価を行った。
図5と、図9を比較した場合、n型酸化物半導体として複合酸化物を用いた実施例6の場合、実施例2に比べて加熱試験後のアンモニア感度の低下が少なく、センサの耐熱安定性が向上することがわかる。
4 感応部(感応部)
6 固体電解質層
10A 検知部
50A センサ素子部
200A アンモニアセンサ
Claims (7)
- 一対の電極と、該一対の電極に接して設けられ被検出ガス中のアンモニア成分に応じて電気的に変化する感応部とを備え、前記感応部は、固体超強酸物質とn型酸化物半導体との混合物のみからなり、
走査透過電子顕微鏡を用いて20点の前記感応部を観察したとき、全ての観察点における前記感応部中の前記固体超強酸物質は、担体の表面に、これより微小で非晶質成分からなる複数の微粒を結合させてなるアンモニアセンサ。 - 前記固体超強酸物質の前記担体は、ZrO2、TiO2、Fe2O3、HfO2、SnO2、SiO2及びAl2O3の群から選ばれる1種以上からなり、前記固体超強酸物質の前記微粒は、WO3、MoO3、B2O3、SO4、PO4の群から選ばれる1種以上からなる請求項1記載のアンモニアセンサ。
- 前記固体超強酸物質は、WO3/ZrO2、SO4/ZrO2、WO3/TiO2、及びWO3/Al2O3の群から選ばれる1種以上からなる請求項1又は2記載のアンモニアセンサ。
- 前記担体は、CaO、MgO、Y2O3、YbO3、Ga2O3の群から選ばれる1種以上の安定化剤を含有する請求項1〜3のいずれかに記載のアンモニアセンサ。
- 前記n型酸化物半導体は、WO3、SnO2、TiO2、及びMoO3の群から選ばれる1種以上からなる請求項1〜4のいずれかに記載のアンモニアセンサ。
- 前記n型酸化物半導体は、A2(WO4)3(AはAl、In、Y、Nd、又はLaのいずれか1つ)からなる請求項5記載のアンモニアセンサ。
- 前記感応部全体に対し、前記n型酸化物半導体が合計で5〜20wt%含有されている請求項1〜6のいずれかに記載のアンモニアセンサ。
Priority Applications (1)
| Application Number | Priority Date | Filing Date | Title |
|---|---|---|---|
| JP2008236040A JP5107844B2 (ja) | 2008-09-16 | 2008-09-16 | アンモニアセンサ |
Applications Claiming Priority (1)
| Application Number | Priority Date | Filing Date | Title |
|---|---|---|---|
| JP2008236040A JP5107844B2 (ja) | 2008-09-16 | 2008-09-16 | アンモニアセンサ |
Publications (2)
| Publication Number | Publication Date |
|---|---|
| JP2010071658A true JP2010071658A (ja) | 2010-04-02 |
| JP5107844B2 JP5107844B2 (ja) | 2012-12-26 |
Family
ID=42203613
Family Applications (1)
| Application Number | Title | Priority Date | Filing Date |
|---|---|---|---|
| JP2008236040A Expired - Fee Related JP5107844B2 (ja) | 2008-09-16 | 2008-09-16 | アンモニアセンサ |
Country Status (1)
| Country | Link |
|---|---|
| JP (1) | JP5107844B2 (ja) |
Cited By (1)
| Publication number | Priority date | Publication date | Assignee | Title |
|---|---|---|---|---|
| WO2017154768A1 (ja) * | 2016-03-08 | 2017-09-14 | 株式会社フジクラ | 水素ガスセンサ |
Citations (8)
| Publication number | Priority date | Publication date | Assignee | Title |
|---|---|---|---|---|
| JPH0429049A (ja) * | 1990-05-25 | 1992-01-31 | Toto Ltd | アンモニアガスセンサ |
| JP2004325388A (ja) * | 2003-04-28 | 2004-11-18 | Ngk Spark Plug Co Ltd | ガスセンサ及びその製造方法 |
| JP2005083817A (ja) * | 2003-09-05 | 2005-03-31 | Ngk Spark Plug Co Ltd | アンモニアセンサ |
| JP2005114355A (ja) * | 2002-09-25 | 2005-04-28 | Ngk Spark Plug Co Ltd | アンモニアセンサ |
| JP2006071479A (ja) * | 2004-09-02 | 2006-03-16 | Ngk Spark Plug Co Ltd | アンモニアガス用感応材料の製造方法及びアンモニアガスセンサの製造方法 |
| JP2006071480A (ja) * | 2004-09-02 | 2006-03-16 | Ngk Spark Plug Co Ltd | アンモニアガスセンサ |
| JP2007155529A (ja) * | 2005-12-06 | 2007-06-21 | Ngk Spark Plug Co Ltd | アンモニアガスセンサ及びその製造方法 |
| JP2007218814A (ja) * | 2006-02-20 | 2007-08-30 | Ngk Spark Plug Co Ltd | 水素ガスセンサ |
-
2008
- 2008-09-16 JP JP2008236040A patent/JP5107844B2/ja not_active Expired - Fee Related
Patent Citations (8)
| Publication number | Priority date | Publication date | Assignee | Title |
|---|---|---|---|---|
| JPH0429049A (ja) * | 1990-05-25 | 1992-01-31 | Toto Ltd | アンモニアガスセンサ |
| JP2005114355A (ja) * | 2002-09-25 | 2005-04-28 | Ngk Spark Plug Co Ltd | アンモニアセンサ |
| JP2004325388A (ja) * | 2003-04-28 | 2004-11-18 | Ngk Spark Plug Co Ltd | ガスセンサ及びその製造方法 |
| JP2005083817A (ja) * | 2003-09-05 | 2005-03-31 | Ngk Spark Plug Co Ltd | アンモニアセンサ |
| JP2006071479A (ja) * | 2004-09-02 | 2006-03-16 | Ngk Spark Plug Co Ltd | アンモニアガス用感応材料の製造方法及びアンモニアガスセンサの製造方法 |
| JP2006071480A (ja) * | 2004-09-02 | 2006-03-16 | Ngk Spark Plug Co Ltd | アンモニアガスセンサ |
| JP2007155529A (ja) * | 2005-12-06 | 2007-06-21 | Ngk Spark Plug Co Ltd | アンモニアガスセンサ及びその製造方法 |
| JP2007218814A (ja) * | 2006-02-20 | 2007-08-30 | Ngk Spark Plug Co Ltd | 水素ガスセンサ |
Cited By (1)
| Publication number | Priority date | Publication date | Assignee | Title |
|---|---|---|---|---|
| WO2017154768A1 (ja) * | 2016-03-08 | 2017-09-14 | 株式会社フジクラ | 水素ガスセンサ |
Also Published As
| Publication number | Publication date |
|---|---|
| JP5107844B2 (ja) | 2012-12-26 |
Similar Documents
| Publication | Publication Date | Title |
|---|---|---|
| JP5119131B2 (ja) | アンモニアガスセンサ | |
| JP2514701B2 (ja) | 酸素センサ | |
| JP5182321B2 (ja) | ガスセンサ素子、及び、これを内蔵したガスセンサ | |
| JP5033042B2 (ja) | NOxセンサ | |
| JP3443962B2 (ja) | 酸素濃度検出器およびその製造方法 | |
| KR20010049489A (ko) | 가연성 가스 농도측정장치 및 이것을 이용한 가연성 가스농도측정방법, 및 탄화수소가스 농도측정장치 및 이것을이용한 탄화수소가스 농도측정방법 | |
| JP3950833B2 (ja) | アンモニアセンサ | |
| JP5033017B2 (ja) | アンモニアガスセンサ | |
| JP5194051B2 (ja) | ガスセンサ素子及びガスセンサ | |
| JP5187417B2 (ja) | ガスセンサ素子及びその製造方法 | |
| US9389212B2 (en) | NOx gas sensor including nickel oxide | |
| EP2565639A1 (en) | Ammonia gas sensor | |
| US20040132202A1 (en) | Ammonia sensor | |
| JP4405643B2 (ja) | 可燃性ガス濃度測定装置 | |
| JP5281988B2 (ja) | アンモニアガスセンサ | |
| JP2011047756A (ja) | アンモニアガスセンサ | |
| JP5107844B2 (ja) | アンモニアセンサ | |
| JP5479409B2 (ja) | アンモニアガスセンサ | |
| US20010040092A1 (en) | Gas sensor | |
| JP2005083817A (ja) | アンモニアセンサ | |
| JP2006071479A (ja) | アンモニアガス用感応材料の製造方法及びアンモニアガスセンサの製造方法 | |
| JP5070082B2 (ja) | アンモニアガスセンサ | |
| JP2006090898A (ja) | 窒素酸化物センサ | |
| JPH07107524B2 (ja) | 酸素ガス検出器 | |
| JP6204252B2 (ja) | アンモニアガスセンサ |
Legal Events
| Date | Code | Title | Description |
|---|---|---|---|
| A621 | Written request for application examination |
Free format text: JAPANESE INTERMEDIATE CODE: A621 Effective date: 20110705 |
|
| A977 | Report on retrieval |
Free format text: JAPANESE INTERMEDIATE CODE: A971007 Effective date: 20120726 |
|
| A131 | Notification of reasons for refusal |
Free format text: JAPANESE INTERMEDIATE CODE: A131 Effective date: 20120807 |
|
| A521 | Written amendment |
Free format text: JAPANESE INTERMEDIATE CODE: A523 Effective date: 20120817 |
|
| TRDD | Decision of grant or rejection written | ||
| A01 | Written decision to grant a patent or to grant a registration (utility model) |
Free format text: JAPANESE INTERMEDIATE CODE: A01 Effective date: 20120910 |
|
| A01 | Written decision to grant a patent or to grant a registration (utility model) |
Free format text: JAPANESE INTERMEDIATE CODE: A01 |
|
| A61 | First payment of annual fees (during grant procedure) |
Free format text: JAPANESE INTERMEDIATE CODE: A61 Effective date: 20121004 |
|
| R150 | Certificate of patent or registration of utility model |
Free format text: JAPANESE INTERMEDIATE CODE: R150 |
|
| FPAY | Renewal fee payment (event date is renewal date of database) |
Free format text: PAYMENT UNTIL: 20151012 Year of fee payment: 3 |
|
| R250 | Receipt of annual fees |
Free format text: JAPANESE INTERMEDIATE CODE: R250 |
|
| R250 | Receipt of annual fees |
Free format text: JAPANESE INTERMEDIATE CODE: R250 |
|
| LAPS | Cancellation because of no payment of annual fees |
