JP2010068352A - 位相情報を有する光コードを用いた光情報通信システム - Google Patents

位相情報を有する光コードを用いた光情報通信システム Download PDF

Info

Publication number
JP2010068352A
JP2010068352A JP2008233961A JP2008233961A JP2010068352A JP 2010068352 A JP2010068352 A JP 2010068352A JP 2008233961 A JP2008233961 A JP 2008233961A JP 2008233961 A JP2008233961 A JP 2008233961A JP 2010068352 A JP2010068352 A JP 2010068352A
Authority
JP
Japan
Prior art keywords
optical
modulation
wavelength
pulse
communication system
Prior art date
Legal status (The legal status is an assumption and is not a legal conclusion. Google has not performed a legal analysis and makes no representation as to the accuracy of the status listed.)
Granted
Application number
JP2008233961A
Other languages
English (en)
Other versions
JP5262481B2 (ja
Inventor
Hisaya Wada
尚也 和田
Akira O
旭 王
Current Assignee (The listed assignees may be inaccurate. Google has not performed a legal analysis and makes no representation or warranty as to the accuracy of the list.)
National Institute of Information and Communications Technology
Original Assignee
National Institute of Information and Communications Technology
Priority date (The priority date is an assumption and is not a legal conclusion. Google has not performed a legal analysis and makes no representation as to the accuracy of the date listed.)
Filing date
Publication date
Application filed by National Institute of Information and Communications Technology filed Critical National Institute of Information and Communications Technology
Priority to JP2008233961A priority Critical patent/JP5262481B2/ja
Publication of JP2010068352A publication Critical patent/JP2010068352A/ja
Application granted granted Critical
Publication of JP5262481B2 publication Critical patent/JP5262481B2/ja
Expired - Fee Related legal-status Critical Current
Anticipated expiration legal-status Critical

Links

Images

Landscapes

  • Optical Communication System (AREA)

Abstract

【課題】 本発明は,コードサイズを増加でき,相関特性を向上できる光情報通信システムを提供することを目的とする。
【解決手段】 上記課題は,パルス光源(23),コード部(27),及び変調部(31)を有する,光情報通信システム用送信機(21)であって,コード部が,各光チップパルスが位相変調情報と波長変調情報を持つパルス列(29)を得る光情報通信システム用送信機により解決される。すなわち,本発明によれば,従来位相変調情報しか持たなかったチップパルスに,波長変調情報をも持たせることができる。
【選択図】 図3

Description

本発明は,位相情報を有する光コードを用いた光情報通信システムなどに関する。より詳しく説明すると,本発明は,各チップパルスが位相変調情報のみならず,波長変調情報をも有する,2次元コヒーレントOCDMAシステムなどに関する。
特開2001−177565号公報には,パケットルーティング技術が開示されている。この技術は,パルス光源から出力される波長λのコヒーレントな光パルスを分波し,光チップパルス間に一定の遅延時間差を与える,チップ数N(但し、N≧2)の光チップパルスに分割する。そして,各光チップパルスのもつ光キャリア位相に“0”または“π”の位相シフトを与える。その後,全ての光チップパルスを再度合波することによって,特定の中心周波数λと位相の組み合わせを持つ光符号に相当する光チップパルス列を全光学的に生成する。
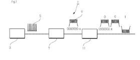
図1は,特開2001−177565号公報に開示された送信機を示すブロック図である。図1に示されるようにこの送信機1は,パルス光源3と,位相変調器などのコード部7と,強度変調器などの変調部9とを有する。そして,パルス光源3から出力されたコヒーレントなパルス光5が,コード部7によりチップ数N(図1では8)の光チップパルスに分割される。各チップパルスは,中心波長がλであり,“0”または“π”の位相情報が付加される。これによりアドレス情報が,光パルス列にマッピングされる。そして,変調部9は,パケット用データにしたがって光パルス列を変調する。これにより,データ情報が変調情報として付加される。
図2は,特開2001−177565号公報に開示されたパルス列を示す図である。図2に示されるように,この公報に開示された方法では,チップが“0”または“π”という位相情報により符号化されている。このためコードサイズが限られている。また,限られたコードサイズで符号化を行うため,相関特性に限界がある。さらに,符号化方式が固定され,容易に複号化できるため,傍受される恐れがある。
特開2007−096476号公報には,光符号分割多重アクセスシステムが開示されている。このシステムでは,ビットごとに位相変調を行い符号化する。しかしながら,ビットを構成するチップについては,位相変調を施していない。
特開2001−177565号公報 特開2007−096476号公報
本発明は,コードサイズを増加でき,相関特性を向上できる光情報通信システムを提供することを目的とする。
また,本発明は,安全性の高い光情報通信を行うことができる光情報通信システムを提供することを上記とは別の目的とする。
本発明は,コードを構成する複数の時間分割された光チップパルスが,それぞれ,波長及び位相によりマッピングされた情報を有する。これにより,コードサイズを大幅に増加でき,相関特性を向上できる。また迅速に符号化形式を変化させることができるので,ビットごとに符号化形式を変化させることができ,安全性の高い情報通信を行うことができる。
本発明は,コードを構成する複数の時間分割された光チップパルスが,それぞれ,波長及び位相によりマッピングされた情報を有する。これにより,コードサイズを大幅に増加でき,相関特性を向上できる。また迅速に符号化形式を変化させることができるので,ビットごとに符号化形式を変化させることができ,安全性の高い情報通信を行うことができる。
以下,図面を用いて,本発明の実施の形態を説明する。図3は,本発明の光情報通信システム用送信機のブロック図である。図3に示されるように,本発明の光情報通信システム用送信機21は,パルス光源23,コード部27,及び変調部31を有する。本発明は,光符号分割多重アクセス(OCDMA)における公知の構成を適宜修正して用いることができる。
パルス光源23は,コヒーレントなパルス光25を得るものである。パルス光源として,OCDMAにおいて用いられるパルス光源を用いることができる。
本発明の光情報通信システム用送信機では,パルス光源23からコヒーレントなパルス光25が出力される。
コード部は,アドレスに相当するコード情報を形成するための装置である。通常のOCDMA用符号器では,図2に示されるようにチップパルスごとに位相情報を付加する。よって,従来のOCDMA用符号器では,位相変調器が存在すれば十分であった。本発明では,コード情報に位相情報のみならず波長情報も持たせる。このため,本発明のコード部は,分波・波長変調部33,位相変調部35及び合波部37を含む。
分波・波長変調部33は,パルス光を分波し,チップ数N(ただし,Nは2以上の整数)の光チップパルスを得るものである。分波・波長変調部33は,N個の光チップパルスのそれぞれに,波長変調を施す。分波・波長変調部の例は,第1のファイバブラッググレーティング(FBG)があげられる。分波・波長変調部33は,パルス光を分波して所定の時間間隔を与えて,それぞれの分波された光の波長をシフトさせ,それらの光を合波することができるものであれば,FBGを用いないものであっても良い。
ファイバグレーティングとして,ユニフォームファイバグレーティング,チャープグレーティング,又はマルチセクショングレーティングを用いるものがあげられる。以下,FBGについて説明する。FBGは,たとえば,位相マスクを介して紫外線を照射し,そのコアの屈折率を所定のピッチで変化させることにより得ることができる。
ユニフォームFBGは,グレーティングの周期・屈折率などが均一なFBGである。ユニフォームFBGは,メインの反射帯域(メインフローブ)の他に,メインローブの周辺に不要な反射帯域(サイドローブ)が複数生ずる場合がある。
チャープグレーティングは,FBGの長手方向に屈折率周期やグレーティングの周期を変化させたチャープドFBGである。チャープグレーティングにより,入力信号の波長に応じて,反射する位置を異ならせることができる。そして,グレーティング部位を長くした長いチャープドグレーティングを用いれば,反射帯域が広くなるという利点がある。
マルチセクションFBGは,波長変化と反射点変化が離散的なFBGである。すなわち,ある範囲の波長成分の光信号は,ほぼ同じ反射点で反射するが,それと異なる範囲の波長成分は反射点が離散的に変化することとなる。
なお,FBGは,スーパーストラクチャードFBGを用いても良い。このSSFBGは,光ファイバの導波方向に沿って複数の単位FBGが配列されて構成されたSSFBGである。SSFBGは,たとえば,光ファイバ形式のものである。光ファイバは,コアと,クラッドとを含む。コアは,光ファイバの光導波路である。そして,SSFBGは,コアの導波方向に沿って直列に配置された複数の単位FBGを含む。
なお,グレーティングのピッチは,対象とする光の波長などに応じて適切な間隔のものを用いればよく,たとえば,100nm〜1000nmがあげられ,300nm〜800nmでもよい。また,グレーティングのコアに対する屈折率差として,1×10−6〜1×10−2があげられ,1×10-5〜5×10−3でもよく,1×10−4〜1×10−3でもよい。
コード部に,パルス光源23から出力されたコヒーレントなパルス光25が入力される。このパルス光25は,分波・波長変調部33により分波され,チップ数N(ただし,Nは2以上の整数)の光チップパルスとされる。さらに,分波・波長変調部33は,N個の光チップパルスのそれぞれに,波長変調を施す。たとえば,あるパルス光が6つのチップパルスに分波される。そして,それぞれのチップパルスは,所定間隔の遅延を有している。さらに,それぞれのチップパルスは,波長が異なっており,たとえば,λλλλλλのように波長変調情報を有する。なお,この例では,FBGを用いたので,多数の種類の波長情報を各パルスに載せることができた。しかし,たとえば,公知のFSK変調器を用いるなど,2種類の波長変調情報を載せるものであっても良い。
位相変調部35は,分波・波長変調部から出力された波長変調を施されたN個の光チップパルスのそれぞれに,位相変調を施す。通常のOCDMA符号器では,N個の光チップパルスに位相変調(“0”又は“π”)を施す。本発明においても,公知のOCDMA符号器における位相変調器を用いることができる。同様に位相変調を施せばよい。なお,本発明では,たとえば,チップパルスに含まれる位相変調情報と波長変調情報をコード情報(アドレス情報)として用いる。そこで,アドレスに応じた符号化を行うことができるように,FBG(分波・波長変調部)を調整するほか,位相変調器に変調指令を出力する。
コード部33から位相変調部35へ波長変調が施されたチップ列(例λλλλλλ)が入力される。このチップ列に含まれるそれぞれのパルスに位相変調を施す。図3の例では,“π00000”の位相変調を施す。なお,本発明においては,位相変調の例として,0又はπを用いた2値位相変調(BPSK)のほかに,4値位相変調(QPSK),8値位相変調(OPSK),16値位相変調,32値位相変調などさまざまな位相変調を採用できる。
合波部37は,位相変調部から出力されたN個の光チップパルスを合波する。合波部も公知のOCDMA符号器において用いられる装置を適宜採用することができる。分波・波長変調部がFBGを含むものであった場合,合波部もFBGを含むものが好ましい。具体的に説明すると,合波部は,第1のファイバブラッググレーティングに対応したグレーティングを有する第2のファイバブラッググレーティングを含むものが好ましい。
コード部で位相変調が施されたチップ列は,合波部に入力される。そして,合波部で合わさる。これにより,各光チップパルスが位相変調情報と波長変調情報を持つパルス列29が得られる。
変調器31は,送信すべきデータに関する情報を前記パルス列に載せるために,パルス列29ごとに,データに関する情報に基づいて所定の変調を施すための装置である。変調器31として,OCDMA符号器における公知の変調器を用いることができる。
図4は,実施例1で用いたセットアップのブロック図である。モード同期レーザーダイオード(MLLD)とニオブ酸リチウム基板上の強度変調器(LN−IM)を用いて,1.25GHzの繰り返しレートにて,約1550nmに中心波長を有する1.5psの光パルス列を生成した。この光パルス列は,8チップのチャープドFBG(CFBG)により分波され,20GHzのニオブ酸リチウム基板上の位相変調器(LN−PM)により変調が施された。変調は,繰り返し周期が1.25GHzで,チップごとに50psのバイナリー位相シフト変調(BPSK)であった。合波器は,別のCFBGを用いても良いが,本実施例では,位相変調器からの出力をCFBGの裏側から入力することで代用した。CFBGの分散スロープ(dispersion slope)は,約65ps/nmであった。
MLLD及びLN−IMで光パルスを得た。具体的には,MLLDで10GHzのパルス光を得て,パルス間隔をLN−IMで調整した。サーキュレータを経たパルス光を,2次元エンコーダとして機能するファーバーグレーティング(FBG)に導入した。FBGに入力されたパルス光は,複数の地点で折り返し,等間隔に時間遅延が与えられるとともに,異なる波長とされる。これにより,異なる波長を有する複数のチップパルスを得た。
次に,LN−PMにより位相変調を施した。この際,チップパルスの集合であるビットにいて位相変調が施されるほか,それぞれのチップパルスについても位相変調を施した。つまり,この例では位相変調器をひとつ用いて,チップに位相変調情報を載せるとともに,ビットについても位相変調を施した。
位相変調器を経たチップパルスを,サーキュレータを経てFGBに入力した。この際,先に入力したのとは逆側から入力した。FBGから戻ったチップパルスは,サーキュレータを経て出力される。なお,この実施例では,出力されたチップパルスをさらにLN−IMで強度変調した。このLN−IMは,フィルタとして機能するものである。
図5は,本実施例で用いた受信機(複号器)を示すブロック図である。複号部の信号制御部(図では,実験のためパルスパターン発生器が用いられている)には,符号部からの同期信号が送られる。このため,ビットごとに符号化様式(と複号化様式)を変えることができる。これにより,光信号を傍受された場合も容易に複号化できない。
本発明の光情報通信システムの性能評価
図6Aは,実施例2における2次元コードパターンを示す。この例では,時間が遅いチップパルスになるにしたがって,波長が大きくなるように変調を施した。すなわち,2次元コードパターンのうち波長によるパターンが(λλλλλ)となるように符号化した。図6B及び図6Cは,符号器による応答を示すグラフである。図6Bは,波長変調による符号パターンを示す。図6Bに示されるように1nmの波長間隔で変調した。図6Cは,この例における時間とチップパルスの波長との関係を示すグラフである。
図6Dは,符号化後の波形を示す。図6Dにおいて縦軸は強度,横軸は時間(1メモリ100ピコ秒)である。図6Eは,符号化後のスペクトルを示す。図6Eにおいて縦軸は強度,横軸は波長(nm)を示す。この例では,位相変調器(PM)をチップごとに10GHzで駆動し,1.25GHzの繰り返しレートの2次元スペクトル位相符号化パターンを用いた5チップのBPSK(2値位相シフト変調)を行うことで,コヒーレントな2次元スペクトル位相符号化(SPE:spectral phase coding)を得た。なお,この例では,簡単のため全てのSPEパターンの位相を“0”とした。
本発明の光情報通信システムの性能評価
図7Aは,実施例3における2次元コードパターンを示す。すなわち,2次元コードパターンのうち波長によるパターンが(λλλλλ)となるように符号化した。図7B及び図7Cは,符号器による応答を示すグラフである。図7Bは,波長変調による符号パターンを示す。図7Bに示されるように1nmの波長間隔で変調した。図7Cは,この例における時間とチップパルスの波長との関係を示すグラフである。
図7Dは,符号化後の波形を示す。図7Dにおいて縦軸は強度,横軸は時間(1メモリ100ピコ秒)である。図7Eは,符号化後のスペクトルを示す。図7Eにおいて縦軸は強度,横軸は波長(nm)を示す。この例では,位相変調器(PM)をチップごとに10GHzで駆動し,1.25GHzの繰り返しレートの2次元スペクトル位相符号化パターンを用いた5チップのBPSK(2値位相シフト変調)を行うことで,コヒーレントな2次元スペクトル位相符号化(SPE:spectral phase coding)を得た。なお,この例では,簡単のため全てのSPEパターンの位相を“0”とした。
本発明の光情報通信システムの性能評価
図8Aは,実施例4における2次元コードパターンを示す。すなわち,2次元コードパターンのうち波長によるパターンが(λλλλλ)となるように符号化した。図8B及び図8Cは,符号器による応答を示すグラフである。図8Bは,波長変調による符号パターンを示す。図8Bに示されるように1nmの波長間隔で変調した。図8Cは,この例における時間とチップパルスの波長との関係を示すグラフである。
図8Dは,符号化後の波形を示す。図8Dにおいて縦軸は強度,横軸は時間(1メモリ100ピコ秒)である。図8Eは,符号化後のスペクトルを示す。図8Eにおいて縦軸は強度,横軸は波長(nm)を示す。この例では,位相変調器(PM)をチップごとに10GHzで駆動し,1.25GHzの繰り返しレートの2次元スペクトル位相符号化パターンを用いた5チップのBPSK(2値位相シフト変調)を行うことで,コヒーレントな2次元スペクトル位相符号化(SPE:spectral phase coding)を得た。なお,この例では,簡単のため全てのSPEパターンの位相を“0”とした。
本発明の光情報通信システムの性能評価
図9は,自己相関スペクトルと,相互相関スペクトルを示す観測されたグラフである。自己相関スペクトル(すなわち,符号様式が一致した場合)は高いピークを有しており,相互相関スペクトル(すなわち,符号様式が一致しない場合)は高いピークが存在しない。よって,本発明の光情報通信システムを用いて,効果的に符号化及び複号化できることがわかる。
本発明は光情報通信などの分野で利用されうる。
図1は,特開2001−177565号公報に開示された送信機を示すブロック図である。 図2は,特開2001−177565号公報に開示されたパルス列を示す図である。 図3は,本発明の光情報通信システム用送信機のブロック図である。 図4は,実施例1で用いたセットアップのブロック図である。 図5は,本実施例で用いた受信機(複号器)を示すブロック図である。 図6Aは,実施例2における2次元コードパターンを示す。図6B及び図6Cは,符号器による応答を示すグラフである。図6Bは,波長変調による符号パターンを示す。図6Cは,この例における時間とチップパルスの波長との関係を示すグラフである。図6Dは,符号化後の波形を示す。図6Eは,符号化後のスペクトルを示す。 図7Aは,実施例3における2次元コードパターンを示す。図7B及び図7Cは,符号器による応答を示すグラフである。図7Bは,波長変調による符号パターンを示す。図7Cは,この例における時間とチップパルスの波長との関係を示すグラフである。図7Dは,符号化後の波形を示す。図7Eは,符号化後のスペクトルを示す。 図8Aは,実施例4における2次元コードパターンを示す。図8B及び図8Cは,符号器による応答を示すグラフである。図8Bは,波長変調による符号パターンを示す。図8Cは,この例における時間とチップパルスの波長との関係を示すグラフである。図8Dは,符号化後の波形を示す。図8Eは,符号化後のスペクトルを示す。 図9は,自己相関スペクトルと,相互相関スペクトルを示す観測されたグラフである。
符号の説明
1 送信機
3 パルス光源
5 パルス光
7 コード部
9 変調部
21 光情報通信システム用送信機
23 パルス光源
25 パルス光
27 コード部
29 パルス列
31 変調部
33 分波・波長変調部
35 位相変調部
37 合波部

Claims (5)

  1. パルス光源(23),コード部(27),及び変調部(31)を有する,光情報通信システム用送信機(21)であって,

    前記コード部には,
    前記パルス光源(23)から出力されたコヒーレントなパルス光(25)が入力され,

    前記コード部は,
    分波・波長変調部(33),位相変調部(35)及び合波部(37)を含み,

    前記分波・波長変調部(33)は,
    前記パルス光を分波し,チップ数N(ただし,Nは2以上の整数)の光チップパルスを得るものであって,
    前記N個の光チップパルスのそれぞれに,波長変調を施し,

    前記位相変調部(35)は,
    前記分波・波長変調部から出力された
    波長変調を施されたN個の光チップパルスのそれぞれに,位相変調を施し,

    前記合波部(37)は,
    前記位相変調部から出力されたN個の光チップパルスを合波し,これにより,各光チップパルスが位相変調情報と波長変調情報を持つパルス列(29)を得,

    前記変調器(31)は,
    送信すべきデータに関する情報を前記パルス列に載せるために,前記パルス列(29)ごとに,前記データに関する情報に基づいて所定の変調を施す,

    光情報通信システム用送信機。
  2. 前記位相変調部(35)及び前記変調器(31)は,
    ひとつの位相変調器である,
    請求項1に記載の光情報通信システム用送信機。
  3. 前記分波・波長変調部は,
    第1のファイバブラッググレーティングである,
    請求項1に記載の光情報通信システム用送信機。
  4. 前記合波部は,前記第1のファイバブラッググレーティングに対応したグレーティングを有する第2のファイバブラッググレーティングを含む,

    請求項3に記載の光情報通信システム用送信機。
  5. 請求項1〜4のいずれかに記載の光情報通信システム用送信機を含む光情報通信システム。
JP2008233961A 2008-09-11 2008-09-11 位相情報を有する光コードを用いた光情報通信システム Expired - Fee Related JP5262481B2 (ja)

Priority Applications (1)

Application Number Priority Date Filing Date Title
JP2008233961A JP5262481B2 (ja) 2008-09-11 2008-09-11 位相情報を有する光コードを用いた光情報通信システム

Applications Claiming Priority (1)

Application Number Priority Date Filing Date Title
JP2008233961A JP5262481B2 (ja) 2008-09-11 2008-09-11 位相情報を有する光コードを用いた光情報通信システム

Publications (2)

Publication Number Publication Date
JP2010068352A true JP2010068352A (ja) 2010-03-25
JP5262481B2 JP5262481B2 (ja) 2013-08-14

Family

ID=42193518

Family Applications (1)

Application Number Title Priority Date Filing Date
JP2008233961A Expired - Fee Related JP5262481B2 (ja) 2008-09-11 2008-09-11 位相情報を有する光コードを用いた光情報通信システム

Country Status (1)

Country Link
JP (1) JP5262481B2 (ja)

Citations (5)

* Cited by examiner, † Cited by third party
Publication number Priority date Publication date Assignee Title
JP2001177565A (ja) * 1999-12-15 2001-06-29 Communications Research Laboratory Mphpt フォトニックネットワークのパケットルーティング方法およびフォトニックネットワーク用パケットルータ
JP2005020459A (ja) * 2003-06-26 2005-01-20 Oki Electric Ind Co Ltd 光符号分割多重伝送方法及び光符号分割多重伝送装置
JP2006060658A (ja) * 2004-08-23 2006-03-02 Oki Electric Ind Co Ltd 光符号多重通信方法、光符号多重通信システム、符号化装置、及び復号装置
JP2006238118A (ja) * 2005-02-25 2006-09-07 Oki Electric Ind Co Ltd 光分割多重送受信方法及び光分割多重送受信装置
JP2007329541A (ja) * 2006-06-06 2007-12-20 Oki Electric Ind Co Ltd 光符号器、光復号器及び光符号分割多重送受信装置

Patent Citations (5)

* Cited by examiner, † Cited by third party
Publication number Priority date Publication date Assignee Title
JP2001177565A (ja) * 1999-12-15 2001-06-29 Communications Research Laboratory Mphpt フォトニックネットワークのパケットルーティング方法およびフォトニックネットワーク用パケットルータ
JP2005020459A (ja) * 2003-06-26 2005-01-20 Oki Electric Ind Co Ltd 光符号分割多重伝送方法及び光符号分割多重伝送装置
JP2006060658A (ja) * 2004-08-23 2006-03-02 Oki Electric Ind Co Ltd 光符号多重通信方法、光符号多重通信システム、符号化装置、及び復号装置
JP2006238118A (ja) * 2005-02-25 2006-09-07 Oki Electric Ind Co Ltd 光分割多重送受信方法及び光分割多重送受信装置
JP2007329541A (ja) * 2006-06-06 2007-12-20 Oki Electric Ind Co Ltd 光符号器、光復号器及び光符号分割多重送受信装置

Non-Patent Citations (2)

* Cited by examiner, † Cited by third party
Title
JPN6012059628; Nasaruddin, et al.: 'Design of Reconfigurable Multiweight Wavelength-Time Optical Codes for Secure Multimedia Optical CDM' IEEE International Conference on Communications, 2008. ICC '08. , 20080519, pages.5437-5442, IEEE *
JPN6012059629; Santiago Tainta, et al.: 'Spectrally Efficient Phase Encoded Optical CDMA System in Time Domain' Conference on Optical Fiber communication/National Fiber Optic Engineers Conference, 2008. OFC/NFOEC JThA30.pdf, 20080224, pages.1-3, IEEE *

Also Published As

Publication number Publication date
JP5262481B2 (ja) 2013-08-14

Similar Documents

Publication Publication Date Title
Teh et al. A comparative study of the performance of seven-and 63-chip optical code-division multiple-access encoders and decoders based on superstructured fiber Bragg gratings
Stok et al. The role of optical CDMA in access networks
US7702240B2 (en) Optical multiplex communication system and delay quantity adjustment method
JP4561403B2 (ja) 光分割多重送受信方法及び光分割多重送受信装置
JP2010114488A (ja) 光符号分割多重信号生成装置
JP2010200244A (ja) 符号復号化方法、光パルス時間拡散装置、光分岐挿入装置及び光通信システム
CA2376858C (en) Communication systems and apparatus with synchronous orthogonal coding
US7983561B2 (en) Optical pulse time spreading device
JP2000209186A (ja) 光符号分割多重通信方式
KR100831916B1 (ko) 광펄스 시간 확산 장치
JP5262481B2 (ja) 位相情報を有する光コードを用いた光情報通信システム
JP2010004418A (ja) 変調ビート光パルス信号生成方法及び光多重信号送受信方法、及びこれら方法を実現する装置及びシステム
Matsushima et al. Experimental demonstration of performance improvement of 127-chip SSFBG en/decoder using apodization technique
JP2009200733A (ja) 光符号分割多重アクセスシステム
US8200089B2 (en) Optical pulse time spreading apparatus and optical multiplex transmitting system with multiplexed channels and S/N ratio increased
EP2151706A1 (en) Electro-optical encoder, decoder and optical communication system
JP2004170734A (ja) 光符号分割多重通信装置
JP4140390B2 (ja) 光符号化信号生成装置及び光符号分割多重装置
JP4649582B2 (ja) 光符号分割多重パケット通信システム
Tian et al. A 16-channel reconfigurable OCDMA/DWDM system using continuous phase-shift SSFBGs
JP5228646B2 (ja) 光パルス時間拡散器
JP6036090B2 (ja) 分散補償型光パルス時間拡散器、光多重伝送システム、及び光通信ネットワークシステム
JP2004341307A (ja) 光符号器及び光復号器
JP4622785B2 (ja) 光符号分割多重送信装置
Galli et al. Novel results on the coexistence of spectrally phase-encoded OCDMA and DWDM

Legal Events

Date Code Title Description
A621 Written request for application examination

Free format text: JAPANESE INTERMEDIATE CODE: A621

Effective date: 20110902

A977 Report on retrieval

Free format text: JAPANESE INTERMEDIATE CODE: A971007

Effective date: 20121107

A131 Notification of reasons for refusal

Free format text: JAPANESE INTERMEDIATE CODE: A131

Effective date: 20121120

A521 Written amendment

Free format text: JAPANESE INTERMEDIATE CODE: A523

Effective date: 20130104

TRDD Decision of grant or rejection written
A01 Written decision to grant a patent or to grant a registration (utility model)

Free format text: JAPANESE INTERMEDIATE CODE: A01

Effective date: 20130409

A61 First payment of annual fees (during grant procedure)

Free format text: JAPANESE INTERMEDIATE CODE: A61

Effective date: 20130415

R150 Certificate of patent or registration of utility model

Free format text: JAPANESE INTERMEDIATE CODE: R150

Ref document number: 5262481

Country of ref document: JP

Free format text: JAPANESE INTERMEDIATE CODE: R150

S533 Written request for registration of change of name

Free format text: JAPANESE INTERMEDIATE CODE: R313533

R350 Written notification of registration of transfer

Free format text: JAPANESE INTERMEDIATE CODE: R350

R250 Receipt of annual fees

Free format text: JAPANESE INTERMEDIATE CODE: R250

R250 Receipt of annual fees

Free format text: JAPANESE INTERMEDIATE CODE: R250

R250 Receipt of annual fees

Free format text: JAPANESE INTERMEDIATE CODE: R250

LAPS Cancellation because of no payment of annual fees