JP2010067828A - 固体撮像素子及び撮像装置 - Google Patents
固体撮像素子及び撮像装置 Download PDFInfo
- Publication number
- JP2010067828A JP2010067828A JP2008233318A JP2008233318A JP2010067828A JP 2010067828 A JP2010067828 A JP 2010067828A JP 2008233318 A JP2008233318 A JP 2008233318A JP 2008233318 A JP2008233318 A JP 2008233318A JP 2010067828 A JP2010067828 A JP 2010067828A
- Authority
- JP
- Japan
- Prior art keywords
- solid
- imaging device
- photoelectric conversion
- color filter
- state imaging
- Prior art date
- Legal status (The legal status is an assumption and is not a legal conclusion. Google has not performed a legal analysis and makes no representation as to the accuracy of the status listed.)
- Granted
Links
Images
Classifications
-
- G—PHYSICS
- G02—OPTICS
- G02B—OPTICAL ELEMENTS, SYSTEMS OR APPARATUS
- G02B5/00—Optical elements other than lenses
- G02B5/20—Filters
- G02B5/201—Filters in the form of arrays
-
- H—ELECTRICITY
- H10—SEMICONDUCTOR DEVICES; ELECTRIC SOLID-STATE DEVICES NOT OTHERWISE PROVIDED FOR
- H10F—INORGANIC SEMICONDUCTOR DEVICES SENSITIVE TO INFRARED RADIATION, LIGHT, ELECTROMAGNETIC RADIATION OF SHORTER WAVELENGTH OR CORPUSCULAR RADIATION
- H10F39/00—Integrated devices, or assemblies of multiple devices, comprising at least one element covered by group H10F30/00, e.g. radiation detectors comprising photodiode arrays
- H10F39/011—Manufacture or treatment of image sensors covered by group H10F39/12
- H10F39/024—Manufacture or treatment of image sensors covered by group H10F39/12 of coatings or optical elements
-
- H—ELECTRICITY
- H10—SEMICONDUCTOR DEVICES; ELECTRIC SOLID-STATE DEVICES NOT OTHERWISE PROVIDED FOR
- H10F—INORGANIC SEMICONDUCTOR DEVICES SENSITIVE TO INFRARED RADIATION, LIGHT, ELECTROMAGNETIC RADIATION OF SHORTER WAVELENGTH OR CORPUSCULAR RADIATION
- H10F39/00—Integrated devices, or assemblies of multiple devices, comprising at least one element covered by group H10F30/00, e.g. radiation detectors comprising photodiode arrays
- H10F39/80—Constructional details of image sensors
- H10F39/805—Coatings
- H10F39/8053—Colour filters
-
- H—ELECTRICITY
- H10—SEMICONDUCTOR DEVICES; ELECTRIC SOLID-STATE DEVICES NOT OTHERWISE PROVIDED FOR
- H10F—INORGANIC SEMICONDUCTOR DEVICES SENSITIVE TO INFRARED RADIATION, LIGHT, ELECTROMAGNETIC RADIATION OF SHORTER WAVELENGTH OR CORPUSCULAR RADIATION
- H10F39/00—Integrated devices, or assemblies of multiple devices, comprising at least one element covered by group H10F30/00, e.g. radiation detectors comprising photodiode arrays
- H10F39/80—Constructional details of image sensors
- H10F39/806—Optical elements or arrangements associated with the image sensors
- H10F39/8067—Reflectors
-
- H—ELECTRICITY
- H10—SEMICONDUCTOR DEVICES; ELECTRIC SOLID-STATE DEVICES NOT OTHERWISE PROVIDED FOR
- H10F—INORGANIC SEMICONDUCTOR DEVICES SENSITIVE TO INFRARED RADIATION, LIGHT, ELECTROMAGNETIC RADIATION OF SHORTER WAVELENGTH OR CORPUSCULAR RADIATION
- H10F39/00—Integrated devices, or assemblies of multiple devices, comprising at least one element covered by group H10F30/00, e.g. radiation detectors comprising photodiode arrays
- H10F39/011—Manufacture or treatment of image sensors covered by group H10F39/12
- H10F39/026—Wafer-level processing
-
- H—ELECTRICITY
- H10—SEMICONDUCTOR DEVICES; ELECTRIC SOLID-STATE DEVICES NOT OTHERWISE PROVIDED FOR
- H10F—INORGANIC SEMICONDUCTOR DEVICES SENSITIVE TO INFRARED RADIATION, LIGHT, ELECTROMAGNETIC RADIATION OF SHORTER WAVELENGTH OR CORPUSCULAR RADIATION
- H10F39/00—Integrated devices, or assemblies of multiple devices, comprising at least one element covered by group H10F30/00, e.g. radiation detectors comprising photodiode arrays
- H10F39/80—Constructional details of image sensors
- H10F39/806—Optical elements or arrangements associated with the image sensors
- H10F39/8063—Microlenses
Landscapes
- Physics & Mathematics (AREA)
- General Physics & Mathematics (AREA)
- Optics & Photonics (AREA)
- Solid State Image Pick-Up Elements (AREA)
- Optical Filters (AREA)
- Color Television Image Signal Generators (AREA)
Abstract
【解決手段】p型シリコン基板1上方に配列された多数の画素部を有する固体撮像素子であって、該画素部が、p型シリコン基板1上方に設けられた光電変換部(下部電極6、光電変換層7、上部電極8)と、該光電変換部上方に設けられたカラーフィルタ10とを含み、隣接する画素部のカラーフィルタ10同士の間に、画素部のカラーフィルタ10に入射した光が隣の画素部に入射するのを防止するための隔壁11を備える。隔壁11は、隣接する画素部のカラーフィルタ10同士の間にカラーフィルタ10の側面を覆って設けられており、画素部が、カラーフィルタ10と上部電極8との間に設けられた光電変換部を保護するための保護層9を含み、保護層9の厚さが、0より大きく1.0μm以下である。
【選択図】図1
Description
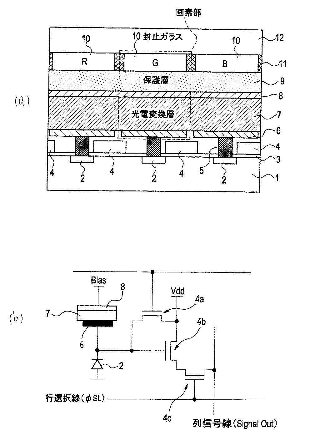
図1(b)に示すように、信号読み出し回路4は、電荷蓄積部2に蓄積された信号電荷をリセットするためのリセットトランジスタ4aと、電荷蓄積部2に蓄積された信号電荷を電圧信号に変換するための出力トランジスタ4bと、出力トランジスタ4bから出力された電圧信号を列信号線に出力するための選択トランジスタ4cとを備えた公知の3トランジスタ構成となっている。p型シリコン基板1上には、これらトランジスタのゲート酸化膜3が形成されている。ゲート酸化膜3は例えば酸化シリコンで構成されている。
“x3=−Tf・tanβ+x2”となる。
“x4=−(Tf+Tp+To/2)tanβ+x2”となる。
(PS−Pp/2+K/2,0)から(PS+Pp/2−K/2,0)の範囲
(PS−Pp/2+K/2,−Tf)から(PS+Pp/2−K/2,−Tf)の範囲
(PS−Pa/2,−Tf−Tp−To/2)から(PS+Pa/2,−Tf−Tp−To/2)の範囲
を満たす光線の本数を数える。
2次元光利用率Ql(θ)=Pl(θ)/TN
2次元混色率Qc(θ)=Pc(θ)/TN
となる。
光利用率Sl(θ)=Ql(θ)・Ql(0)
混色率Sc(θ)=Qc(θ)・Ql(0)
画素部サイズ:2μm、カラーフィルタ10厚さTf:1μm、保護層9厚さTp:可変として、隔壁11有無でのF値依存と入射角依存のシミュレーション結果を図5〜図12に示す。隔壁11なしとは、即ち、上記Kの値がゼロであることを意味する。
・隔壁11を用いることで光利用率には大差ないが混色率は大幅に低減される。
・混色率は、保護層9厚さTpに依存する。
・任意のF値と入射角で混色率が低くなる条件は、全てのF値と入射角で混色率が低くなる。
ことが分かった。次に、隔壁11ありについて、F値:5.6、入射角:25度における、光利用率及び混色率と、カラーフィルタ10厚さTf、保護層9厚さTp、画素部サイズPpの関係を考察した。その結果を以下に示す。
(a)保護層9厚さTp=1μmに固定し、カラーフィルタ10厚さTfを変化させた場合
図13は、図3の構成において保護層9厚さTp=1μmに固定し、カラーフィルタ10厚さTfを変化させた場合の光利用率のシミュレーション結果を示す図である。図14は、図3の構成において保護層9厚さTp=1μmに固定し、カラーフィルタ10厚さTfを変化させた場合の混色率のシミュレーション結果を示す図である。
図15は、図3の構成においてカラーフィルタ10厚さTf=1μmに固定し、保護層9厚さTpを変化させた場合の光利用率のシミュレーション結果を示す図である。図16は、図3の構成においてカラーフィルタ10厚さTf=1μmに固定し、保護層9厚さTpを変化させた場合の混色率のシミュレーション結果を示す図である。
図17は、図3の構成においてTf+Tp=2μmに固定し、保護層9厚さTpを変化させた場合の光利用率のシミュレーション結果を示す図である。図18は、図3の構成においてTf+Tp=2μmに固定し、保護層9厚さTpを変化させた場合の混色率のシミュレーション結果を示す図である。
図19は、図3の構成において保護層9厚さTp=0.4μmに固定してTf+Tpを変化させた場合の光利用率のシミュレーション結果を示す図である。図20は、図3の構成において保護層9厚さTp=0.4μmに固定してTf+Tpを変化させた場合の混色率のシミュレーション結果を示す図である。
・保護層9厚さTpが一定ならカラーフィルタ10厚さTfが変化しても混色率はあまり変化しない。
・Tf+Tpが一定なら保護層9厚さTpが変化しても光利用率はあまり変化しない。
ことが分かり、この結果、混色率の特性はTpで規定でき、光利用率の特性はTf+Tpで規定できることが分かった。
6 下部電極
7 光電変換層
8 上部電極
9 保護層
10 カラーフィルタ
11 隔壁
Claims (10)
- 基板上方に配列された多数の画素部を有する固体撮像素子であって、
前記画素部が、前記基板上方に設けられた光電変換部と、前記光電変換部上方に設けられたカラーフィルタとを含み、
前記画素部の前記カラーフィルタに入射した光が隣の前記画素部に入射するのを防止するための隔壁を備え、
前記隔壁が、隣接する前記画素部の前記カラーフィルタ同士の間に前記カラーフィルタの側面を覆って設けられており、
前記光電変換部が、前記基板上方に設けられた下部電極、前記下部電極上方に設けられた上部電極、及び前記下部電極と前記上部電極の間に設けられた光電変換層を含み、
前記画素部が、前記カラーフィルタと前記上部電極との間に設けられた、前記光電変換部を保護するための保護層を含み、
前記保護層の厚さが、0より大きく1.0μm以下である固体撮像素子。 - 請求項1記載の固体撮像素子であって、
前記隔壁の前記カラーフィルタ表面に平行な方向の幅が、0.05μm以上で且つ前記画素部のサイズの0.2倍以下であり、
前記カラーフィルタと前記保護層の厚みの合計が、0.2μmより大きく1.4μm以下である固体撮像素子。 - 請求項1又は2記載の固体撮像素子であって、
前記隔壁が、光を吸収又は反射する材料で構成されたもの、又は、光を全反射する空気層である固体撮像素子。 - 請求項1〜3のいずれか1項記載の固体撮像素子であって、
前記画素部の前記カラーフィルタに対する前記下部電極の位置が、前記固体撮像素子の中心から周辺に向かうにしたがって周辺側にずれている固体撮像素子。 - 請求項4記載の固体撮像素子であって、
前記画素部の前記下部電極が、前記固体撮像素子を搭載する撮像装置内の撮像レンズの射出瞳中心を出て前記画素部の前記カラーフィルタの中心を通る光線が前記画素部の前記下部電極及び前記上部電極で挟まれる前記光電変換層の領域の中心に到達するように周辺側にずらされている固体撮像素子。 - 請求項5記載の固体撮像素子であって、
前記画素部の前記光電変換層中心と前記下部電極中心とのずれ量が、前記撮像レンズの射出瞳位置と前記固体撮像素子との距離をL、前記カラーフィルタ中心と前記光電変換層中心との距離をTとすると、前記光電変換層の中心を通る前記光線と前記固体撮像素子表面との交点から前記撮像レンズの光軸までの距離の(0.303×T/L)倍以上、(0.909×T/L)倍以下となっている固体撮像素子。 - 請求項1〜6のいずれか1項記載の固体撮像素子であって、
前記光電変換層が、可視域の光を吸収し、吸収した光に応じた信号電荷を発生する光電変換材料で構成されており、
前記多数の画素部に含まれる前記カラーフィルタが、それぞれ異なる波長域の光を透過する3種類以上のカラーフィルタを含む固体撮像素子。 - 請求項1〜7のいずれか1項記載の固体撮像素子であって、
前記光電変換層が有機又は無機の光電変換材料で構成されている固体撮像素子。 - 請求項1〜8のいずれか1項記載の固体撮像素子であって、
前記画素部が、前記カラーフィルタ上に、前記光電変換部に光を集光するためのマイクロレンズを備える固体撮像素子。 - 請求項1〜9のいずれか1項記載の固体撮像素子を備える撮像装置。
Priority Applications (2)
| Application Number | Priority Date | Filing Date | Title |
|---|---|---|---|
| JP2008233318A JP5478043B2 (ja) | 2008-09-11 | 2008-09-11 | 固体撮像素子及び撮像装置 |
| US12/557,821 US8223234B2 (en) | 2008-09-11 | 2009-09-11 | Solid-state imaging device and imaging apparatus having pixels portions over a substrate |
Applications Claiming Priority (1)
| Application Number | Priority Date | Filing Date | Title |
|---|---|---|---|
| JP2008233318A JP5478043B2 (ja) | 2008-09-11 | 2008-09-11 | 固体撮像素子及び撮像装置 |
Publications (2)
| Publication Number | Publication Date |
|---|---|
| JP2010067828A true JP2010067828A (ja) | 2010-03-25 |
| JP5478043B2 JP5478043B2 (ja) | 2014-04-23 |
Family
ID=41798928
Family Applications (1)
| Application Number | Title | Priority Date | Filing Date |
|---|---|---|---|
| JP2008233318A Active JP5478043B2 (ja) | 2008-09-11 | 2008-09-11 | 固体撮像素子及び撮像装置 |
Country Status (2)
| Country | Link |
|---|---|
| US (1) | US8223234B2 (ja) |
| JP (1) | JP5478043B2 (ja) |
Cited By (9)
| Publication number | Priority date | Publication date | Assignee | Title |
|---|---|---|---|---|
| JP4872023B1 (ja) * | 2011-04-22 | 2012-02-08 | パナソニック株式会社 | 固体撮像装置およびその製造方法 |
| JP4872024B1 (ja) * | 2011-04-22 | 2012-02-08 | パナソニック株式会社 | 固体撮像装置およびその製造方法 |
| JP2013229528A (ja) * | 2012-04-27 | 2013-11-07 | Fujifilm Corp | 固体撮像素子 |
| WO2014027588A1 (ja) * | 2012-08-14 | 2014-02-20 | ソニー株式会社 | 固体撮像装置および電子機器 |
| JP2017063171A (ja) * | 2014-05-01 | 2017-03-30 | 采▲ぎょく▼科技股▲ふん▼有限公司VisEra Technologies Company Limited | 固体撮像装置 |
| US9634049B2 (en) | 2014-05-01 | 2017-04-25 | Visera Technologies Company Limited | Solid-state imaging devices with enhanced angular response |
| US9813651B2 (en) | 2012-06-27 | 2017-11-07 | Panasonic Intellectual Property Management Co., Ltd. | Solid-state imaging device |
| CN111868795A (zh) * | 2018-03-20 | 2020-10-30 | 松下知识产权经营株式会社 | 火焰检测系统、报告系统、火焰检测方法和程序 |
| JP2022008858A (ja) * | 2017-09-29 | 2022-01-14 | 富士フイルム株式会社 | 光学フィルタの製造方法 |
Families Citing this family (21)
| Publication number | Priority date | Publication date | Assignee | Title |
|---|---|---|---|---|
| JP2010034141A (ja) * | 2008-07-25 | 2010-02-12 | Panasonic Corp | 固体撮像装置とその製造方法 |
| US8736733B2 (en) | 2010-03-19 | 2014-05-27 | Invisage Technologies, Inc. | Dark current reduction in image sensors via dynamic electrical biasing |
| US20120019695A1 (en) * | 2010-07-26 | 2012-01-26 | Omnivision Technologies, Inc. | Image sensor having dark sidewalls between color filters to reduce optical crosstalk |
| US9093579B2 (en) * | 2011-04-28 | 2015-07-28 | Semiconductor Components Industries, Llc | Dielectric barriers for pixel arrays |
| JP2012238774A (ja) | 2011-05-13 | 2012-12-06 | Fujifilm Corp | 撮像装置 |
| JP2013005297A (ja) * | 2011-06-17 | 2013-01-07 | Sony Corp | 撮像素子および駆動方法、並びに電子機器 |
| CN104425519A (zh) * | 2013-08-27 | 2015-03-18 | 中芯国际集成电路制造(上海)有限公司 | 图像传感器及其形成方法 |
| US9064989B2 (en) * | 2013-08-30 | 2015-06-23 | Taiwan Semiconductor Manufacturing Company Limited | Photo diode and method of forming the same |
| US20150091115A1 (en) * | 2013-10-02 | 2015-04-02 | Visera Technologies Company Limited | Imaging devices with partitions in photoelectric conversion layer |
| KR102136852B1 (ko) | 2013-12-30 | 2020-07-22 | 삼성전자 주식회사 | Tfa 기반의 시모스 이미지 센서 및 그 동작방법 |
| US10104322B2 (en) | 2014-07-31 | 2018-10-16 | Invisage Technologies, Inc. | Image sensors with noise reduction |
| KR102313989B1 (ko) | 2014-09-30 | 2021-10-15 | 삼성전자주식회사 | 이미지 센서 및 이를 포함하는 전자 장치 |
| TWI700824B (zh) | 2015-02-09 | 2020-08-01 | 日商索尼半導體解決方案公司 | 攝像元件及電子裝置 |
| US10425601B1 (en) | 2017-05-05 | 2019-09-24 | Invisage Technologies, Inc. | Three-transistor active reset pixel |
| CN107608114A (zh) * | 2017-09-29 | 2018-01-19 | 京东方科技集团股份有限公司 | 显示基板、显示装置及驱动方法 |
| KR102632442B1 (ko) * | 2018-05-09 | 2024-01-31 | 삼성전자주식회사 | 이미지 센서 및 전자 장치 |
| JP2022002229A (ja) * | 2018-09-05 | 2022-01-06 | ソニーセミコンダクタソリューションズ株式会社 | 撮像装置、および撮像素子 |
| WO2020053974A1 (ja) * | 2018-09-11 | 2020-03-19 | シャープ株式会社 | 発光デバイス |
| JP2020113573A (ja) * | 2019-01-08 | 2020-07-27 | キヤノン株式会社 | 光電変換装置 |
| US12027563B2 (en) * | 2021-06-11 | 2024-07-02 | Visera Technologies Company Limited | Image sensor structure having filter layer and absorption wavelength tunable photoelectric layer and manufacturing method thereof |
| US12408460B2 (en) * | 2021-08-02 | 2025-09-02 | Visera Technologies Company Limited | Image sensor and method of forming the same |
Citations (3)
| Publication number | Priority date | Publication date | Assignee | Title |
|---|---|---|---|---|
| JP2006295125A (ja) * | 2005-01-18 | 2006-10-26 | Matsushita Electric Ind Co Ltd | 固体撮像装置及びその製造方法並びにカメラ |
| JP2007088440A (ja) * | 2005-08-23 | 2007-04-05 | Fujifilm Corp | 光電変換素子及び撮像素子 |
| JP2008085159A (ja) * | 2006-09-28 | 2008-04-10 | Fujifilm Corp | 撮像素子及び内視鏡装置 |
Family Cites Families (4)
| Publication number | Priority date | Publication date | Assignee | Title |
|---|---|---|---|---|
| JP2005347475A (ja) | 2004-06-02 | 2005-12-15 | Fuji Photo Film Co Ltd | 固体撮像素子、及び固体撮像システム |
| US20070045520A1 (en) * | 2005-08-23 | 2007-03-01 | Fuji Photo Film Co., Ltd. | Photoelectric conversion device and imaging device |
| KR100710210B1 (ko) * | 2005-09-28 | 2007-04-20 | 동부일렉트로닉스 주식회사 | 씨모스 이미지 센서 및 그 제조방법 |
| US8111286B2 (en) * | 2006-09-28 | 2012-02-07 | Fujifilm Corporation | Image processing apparatus, endoscope, and computer readable medium |
-
2008
- 2008-09-11 JP JP2008233318A patent/JP5478043B2/ja active Active
-
2009
- 2009-09-11 US US12/557,821 patent/US8223234B2/en active Active
Patent Citations (3)
| Publication number | Priority date | Publication date | Assignee | Title |
|---|---|---|---|---|
| JP2006295125A (ja) * | 2005-01-18 | 2006-10-26 | Matsushita Electric Ind Co Ltd | 固体撮像装置及びその製造方法並びにカメラ |
| JP2007088440A (ja) * | 2005-08-23 | 2007-04-05 | Fujifilm Corp | 光電変換素子及び撮像素子 |
| JP2008085159A (ja) * | 2006-09-28 | 2008-04-10 | Fujifilm Corp | 撮像素子及び内視鏡装置 |
Cited By (15)
| Publication number | Priority date | Publication date | Assignee | Title |
|---|---|---|---|---|
| US8711258B2 (en) | 2011-04-22 | 2014-04-29 | Panasonic Corporation | Solid-state imaging device and method for manufacturing the same |
| JP4872024B1 (ja) * | 2011-04-22 | 2012-02-08 | パナソニック株式会社 | 固体撮像装置およびその製造方法 |
| US8558338B2 (en) | 2011-04-22 | 2013-10-15 | Panasonic Corporation | Solid-state imaging device and method for manufacturing the same |
| JP4872023B1 (ja) * | 2011-04-22 | 2012-02-08 | パナソニック株式会社 | 固体撮像装置およびその製造方法 |
| JP2013229528A (ja) * | 2012-04-27 | 2013-11-07 | Fujifilm Corp | 固体撮像素子 |
| US9813651B2 (en) | 2012-06-27 | 2017-11-07 | Panasonic Intellectual Property Management Co., Ltd. | Solid-state imaging device |
| US9942506B2 (en) | 2012-06-27 | 2018-04-10 | Panasonic Intellectual Property Management Co., Ltd. | Solid-state imaging device |
| US9601547B2 (en) | 2012-08-14 | 2017-03-21 | Sony Corporation | Solid-state image pickup device and electronic apparatus |
| WO2014027588A1 (ja) * | 2012-08-14 | 2014-02-20 | ソニー株式会社 | 固体撮像装置および電子機器 |
| US10096657B2 (en) | 2012-08-14 | 2018-10-09 | Sony Semiconductor Solutions Corporation | Solid-state image pickup device and electronic apparatus |
| JP2017063171A (ja) * | 2014-05-01 | 2017-03-30 | 采▲ぎょく▼科技股▲ふん▼有限公司VisEra Technologies Company Limited | 固体撮像装置 |
| US9634049B2 (en) | 2014-05-01 | 2017-04-25 | Visera Technologies Company Limited | Solid-state imaging devices with enhanced angular response |
| JP2022008858A (ja) * | 2017-09-29 | 2022-01-14 | 富士フイルム株式会社 | 光学フィルタの製造方法 |
| JP7264965B2 (ja) | 2017-09-29 | 2023-04-25 | 富士フイルム株式会社 | 光学フィルタの製造方法 |
| CN111868795A (zh) * | 2018-03-20 | 2020-10-30 | 松下知识产权经营株式会社 | 火焰检测系统、报告系统、火焰检测方法和程序 |
Also Published As
| Publication number | Publication date |
|---|---|
| US8223234B2 (en) | 2012-07-17 |
| JP5478043B2 (ja) | 2014-04-23 |
| US20100060756A1 (en) | 2010-03-11 |
Similar Documents
| Publication | Publication Date | Title |
|---|---|---|
| JP5478043B2 (ja) | 固体撮像素子及び撮像装置 | |
| USRE50032E1 (en) | Solid-state imaging device, method of manufacturing a solid-state imaging device, and electronic apparatus | |
| US8237834B2 (en) | Solid-state imaging device and imaging apparatus having light-preventing partitions | |
| CN106068563B (zh) | 固态成像装置、固态成像装置的制造方法和电子设备 | |
| US10074682B2 (en) | Phase difference detection in pixels | |
| US10566365B2 (en) | Image sensor | |
| US8378400B2 (en) | Solid state imaging device | |
| KR101613346B1 (ko) | 촬상 장치 | |
| US10033949B2 (en) | Imaging systems with high dynamic range and phase detection pixels | |
| CN103137638B (zh) | 固态摄像器件及其制造方法、电子装置及用于固态摄像器件的合成物 | |
| JP5371339B2 (ja) | 固体撮像素子及び撮像装置 | |
| US20130208172A1 (en) | Imaging apparatus and imaging system | |
| CN101355093B (zh) | 彩色滤光阵列及其应用的图像传感装置 | |
| WO2015122300A1 (ja) | 撮像素子、製造装置、電子機器 | |
| US9525005B2 (en) | Image sensor device, CIS structure, and method for forming the same | |
| CN107077605A (zh) | 一种单元像素及包含其的指纹识别传感器 | |
| US9978789B2 (en) | Image-sensing device | |
| US8350349B2 (en) | Solid-state imaging device, method of manufacturing thereof, and electronic apparatus | |
| TWI397175B (zh) | 固體攝像裝置、攝相機、電子機器、及固體攝像裝置之製造方法 | |
| US7550797B2 (en) | Photoelectric conversion layer stack type color solid-state image sensing device | |
| TW201725711A (zh) | 影像感測器以及影像擷取裝置 | |
| US20150048468A1 (en) | Solid-state imaging device | |
| JP2016031993A (ja) | 固体撮像装置及びカメラ | |
| KR20230153368A (ko) | 광 검출 소자 | |
| US20240153974A1 (en) | Image sensor |
Legal Events
| Date | Code | Title | Description |
|---|---|---|---|
| A621 | Written request for application examination |
Free format text: JAPANESE INTERMEDIATE CODE: A621 Effective date: 20110208 |
|
| RD04 | Notification of resignation of power of attorney |
Free format text: JAPANESE INTERMEDIATE CODE: A7424 Effective date: 20111216 |
|
| RD03 | Notification of appointment of power of attorney |
Free format text: JAPANESE INTERMEDIATE CODE: A7423 Effective date: 20120914 |
|
| RD04 | Notification of resignation of power of attorney |
Free format text: JAPANESE INTERMEDIATE CODE: A7424 Effective date: 20121004 |
|
| A977 | Report on retrieval |
Free format text: JAPANESE INTERMEDIATE CODE: A971007 Effective date: 20121228 |
|
| A131 | Notification of reasons for refusal |
Free format text: JAPANESE INTERMEDIATE CODE: A131 Effective date: 20130108 |
|
| A521 | Request for written amendment filed |
Free format text: JAPANESE INTERMEDIATE CODE: A523 Effective date: 20130222 |
|
| A02 | Decision of refusal |
Free format text: JAPANESE INTERMEDIATE CODE: A02 Effective date: 20130820 |
|
| A521 | Request for written amendment filed |
Free format text: JAPANESE INTERMEDIATE CODE: A523 Effective date: 20131112 |
|
| A911 | Transfer to examiner for re-examination before appeal (zenchi) |
Free format text: JAPANESE INTERMEDIATE CODE: A911 Effective date: 20131119 |
|
| TRDD | Decision of grant or rejection written | ||
| A01 | Written decision to grant a patent or to grant a registration (utility model) |
Free format text: JAPANESE INTERMEDIATE CODE: A01 Effective date: 20140114 |
|
| A61 | First payment of annual fees (during grant procedure) |
Free format text: JAPANESE INTERMEDIATE CODE: A61 Effective date: 20140210 |
|
| R150 | Certificate of patent or registration of utility model |
Ref document number: 5478043 Country of ref document: JP Free format text: JAPANESE INTERMEDIATE CODE: R150 |
|
| R250 | Receipt of annual fees |
Free format text: JAPANESE INTERMEDIATE CODE: R250 |
|
| R250 | Receipt of annual fees |
Free format text: JAPANESE INTERMEDIATE CODE: R250 |
|
| R250 | Receipt of annual fees |
Free format text: JAPANESE INTERMEDIATE CODE: R250 |
|
| R250 | Receipt of annual fees |
Free format text: JAPANESE INTERMEDIATE CODE: R250 |
|
| R250 | Receipt of annual fees |
Free format text: JAPANESE INTERMEDIATE CODE: R250 |
|
| R250 | Receipt of annual fees |
Free format text: JAPANESE INTERMEDIATE CODE: R250 |
|
| R250 | Receipt of annual fees |
Free format text: JAPANESE INTERMEDIATE CODE: R250 |
|
| R250 | Receipt of annual fees |
Free format text: JAPANESE INTERMEDIATE CODE: R250 |
|
| R250 | Receipt of annual fees |
Free format text: JAPANESE INTERMEDIATE CODE: R250 |
|
| R250 | Receipt of annual fees |
Free format text: JAPANESE INTERMEDIATE CODE: R250 |
