JP2010065374A - オーバーラップ要素 - Google Patents

オーバーラップ要素 Download PDF

Info

Publication number
JP2010065374A
JP2010065374A JP2009258455A JP2009258455A JP2010065374A JP 2010065374 A JP2010065374 A JP 2010065374A JP 2009258455 A JP2009258455 A JP 2009258455A JP 2009258455 A JP2009258455 A JP 2009258455A JP 2010065374 A JP2010065374 A JP 2010065374A
Authority
JP
Japan
Prior art keywords
edge
section
dimensional material
region
article
Prior art date
Legal status (The legal status is an assumption and is not a legal conclusion. Google has not performed a legal analysis and makes no representation as to the accuracy of the status listed.)
Granted
Application number
JP2009258455A
Other languages
English (en)
Other versions
JP5190435B2 (ja
Inventor
Brenda K Funk-Danielson
ブレンダ ケイ. ファンク−ダニエルソン
Current Assignee (The listed assignees may be inaccurate. Google has not performed a legal analysis and makes no representation or warranty as to the accuracy of the list.)
Nike Inc
Original Assignee
Nike Inc
Priority date (The priority date is an assumption and is not a legal conclusion. Google has not performed a legal analysis and makes no representation as to the accuracy of the date listed.)
Filing date
Publication date
Application filed by Nike Inc filed Critical Nike Inc
Publication of JP2010065374A publication Critical patent/JP2010065374A/ja
Application granted granted Critical
Publication of JP5190435B2 publication Critical patent/JP5190435B2/ja
Anticipated expiration legal-status Critical
Expired - Fee Related legal-status Critical Current

Links

Images

Classifications

    • AHUMAN NECESSITIES
    • A45HAND OR TRAVELLING ARTICLES
    • A45CPURSES; LUGGAGE; HAND CARRIED BAGS
    • A45C13/00Details; Accessories
    • A45C13/10Arrangement of fasteners
    • AHUMAN NECESSITIES
    • A45HAND OR TRAVELLING ARTICLES
    • A45CPURSES; LUGGAGE; HAND CARRIED BAGS
    • A45C1/00Purses; Money-bags; Wallets
    • AHUMAN NECESSITIES
    • A45HAND OR TRAVELLING ARTICLES
    • A45CPURSES; LUGGAGE; HAND CARRIED BAGS
    • A45C3/00Flexible luggage; Handbags
    • AHUMAN NECESSITIES
    • A45HAND OR TRAVELLING ARTICLES
    • A45CPURSES; LUGGAGE; HAND CARRIED BAGS
    • A45C5/00Rigid or semi-rigid luggage
    • A45C5/06Rigid or semi-rigid luggage with outside compartments

Landscapes

  • Professional, Industrial, Or Sporting Protective Garments (AREA)
  • Details Of Garments (AREA)
  • Outer Garments And Coats (AREA)
  • Purses, Travelling Bags, Baskets, Or Suitcases (AREA)
  • Gloves (AREA)
  • Semiconductor Lasers (AREA)
  • Optical Integrated Circuits (AREA)
  • Glass Compositions (AREA)

Abstract

【課題】衣料品のフレキシブルジョイント、例えば肘領域または膝領域の接合部、あるいは、物体を収容し、固定するための入れ物中のポケットなどの開口部要素を提供する。
【解決手段】要素は、2次元材料の少なくとも1つのセクションから形成され、要素は第1の縁および第2の縁を含み、それらは各々凹状構造を示す。第1の縁および第2の縁に隣接する材料の部分はそれぞれ重なるように配列され、(a)第1の縁の一部が第2の縁の一部に重なり、(b)第2の縁の別の一部が第1の縁の別の一部に重なる。要素は、衣料品の接合部またはポケットとして使用されてもよく、要素は入れ物のポケットを形成してもよい。
【選択図】図4

Description

発明の背景
発明の分野
本発明は、一般に2次元材料から形成され、衣料品を含む様々な構造に組み入れてもよいオーバーラップ要素(overlapping element)に関する。より特定的には、本発明は、互いに重なり、例えば、衣料品におけるフレキシブルジョイントまたはポケットを形成する少なくとも2つの縁を有する要素に関する。
背景技術の説明
様々な従来の衣料品は、ヒトの身体の動きと共に曲がる、又は屈曲する領域を含む。例えば、シャツに関しては、腕の領域はしばしば、肘の曲げおよび肩の動きに適応することを目的としている。同様に、パンツの脚部領域もまた、歩行および膝の曲げを含む脚部の動きに適応することを目的としている。従来の衣料品は、ヒトの身体の動きと共に曲がる、そうでなければ屈曲することを目的としているにも関わらず、従来の衣料品の中には動きを制限するものがある。
本発明は、例えば、特定の領域の可撓性を向上させるために、衣料品に組み入れてもよい要素である。本発明の1つの局面では、要素は少なくとも1つの2次元材料から形成され、要素は第1の縁および第2の縁を含み、それらは各々、凹状構造を示す。第1および第2の縁に隣接する材料部分は、互いに重なるように配列され、そのため、第1の縁の一部は第2の縁の一部に重なり、第2の縁の別の一部は第1の別の一部に重なる。
本発明の1つの局面では、第1の縁および第2の縁は、材料の単一セクションの縁である。例えば、第1の縁および第2の縁は材料の単一セクションの対向する縁としてもよい。重なり構造を提供するために、材料の単一セクションを折り曲げ、第1の縁および第2の縁を互いに隣接するように配置する。第1の縁および第2の縁の他に、材料は一対の側縁を含んでもよく、これらは第1の縁と第2の縁との間を延び、第1の縁に隣接する各側縁の一部は、第2の縁に隣接する各側縁の一部と接合される。本発明の別の局面では、第1の縁および第2の縁は、それぞれが一対の側縁を含む材料の2つの異なるセクションで形成される。
要素は、衣料品の一部を形成してもよい。いくつかの態様では、要素は、衣料品のフレキシブルジョイント、例えば肘領域または膝領域の接合部である。要素はまた、衣料品のポケットまたは手収容(hand-receiving)部分としてもよい。衣料品の他に、要素は、物体を収容し、固定するための入れ物中のポケットなどの開口部を形成してもよい。
本発明を特徴付ける新規な利点および特徴は、添付の請求の範囲で詳細に指摘されている。しかしながら、新規な利点および特徴をよりよく理解するために、本発明に関連する様々な態様および概念を記述し、図示した下記の記述および添付の図面を参照してもよい。
図面の説明
前記発明の概要、ならびに下記発明の詳細な説明を、添付の図面と共に読むと、理解がより深まると思われる。
本発明による第1のオーバーラップ要素の平面図である。 図1の切断線2-2で規定される、第1のオーバーラップ要素の第1の断面図である。 第1のオーバーラップ要素の分解平面図である。 第1のオーバーラップ要素を組み入れた第1の衣料品の斜視図である。 第1の衣料品の背面図である。 本発明による第2のオーバーラップ要素の平面図である。 図6の切断線7-7により規定される、第2のオーバーラップ要素の第1の断面図である。 第2のオーバーラップ要素の分解平面図である。 第2のオーバーラップ要素を組み入れた第2の衣料品の斜視図である。 第2の衣料品の背面図である。 本発明による第3のオーバーラップ要素の平面図である。 第3のオーバーラップ要素の分解平面図である。 第3のオーバーラップ要素の斜視図である。 第3のオーバーラップ要素を組み入れた第3の衣料品の正面図である。 第3のオーバーラップ要素を組み入れた入れ物の側面図である。 本発明による第4のオーバーラップ要素の斜視図である。 図16の切断線17-17で規定される、第4のオーバーラップ要素の第1の断面図である。 第4のオーバーラップ要素の平面図である。 第4のオーバーラップ要素を形成する材料セクションの平面図である。 第4のオーバーラップ要素を組み入れた第4の衣料品の一部の平面図である。 第4の衣料品ならびに第4の衣料品および第4のオーバーラップ要素により収容された手の斜視図である。
発明の詳細な説明
下記説明および添付の図面は、衣料品に組み入れてもよい様々なオーバーラップ要素を開示する。一般に、オーバーラップ要素は少なくとも2つの縁を有し、これらの縁は互いに重なり、例えば、衣料品のフレキシブルジョイントまたはポケットを形成する。衣料品の他に、オーバーラップ要素は別の製品、例えば入れ物(すなわち、バックパック、ハンドバッグ、ダッフルバッグ)に組み入れてもよい。したがって、オーバーラップ要素は様々な製品に組み入れてもよい。
オーバーラップ要素は可撓性の、一般に二次元材料から形成される。本明細書に関して使用されるように、「二次元」という用語は、実質的に厚さよりも大きい長さおよび幅を示す概して平らな材料を含むものとする。したがって、オーバーラップ要素のために適した材料としては、例えば、様々な織物およびポリマーシートが挙げられる。織物は一般に、例えば、(a)不織布またはフェルトを構築するためのボンディング、融合、またはインターロックにより繊維のウエブから直接製造された、または(b)織物を製造するための糸の機械的操作により形成された、のいずれかである繊維、フィラメント、または糸から製造される。織物は、一方向伸縮性および多方向伸縮性を付与するように配列された繊維を組み入れてもよい。ポリマーシートは、ポリマー材料から押出成形、圧延成形、または別の方法で形成されてもよく、概して平たい局面を示す。織物およびポリマーシートの他に、別の2次元材料をオーバーラップ要素に組み入れてもよい。
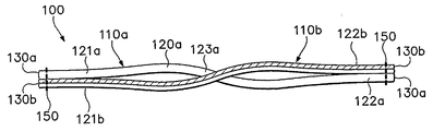
第1のオーバーラップ要素構造
第1のオーバーラップ要素100を図1〜3に示す。この要素は第1のセクション110aおよび第2のセクション110bを含み、それらはそれぞれ、1つの2次元材料、または2つの異なる2次元材料から形成される。第1のセクション110aは凹縁(concave edge)120aおよび一対の側縁130aを含む。凹縁120aの少なくとも一部が、第1のセクション110aにおいて事実上窪みを形成する凹状構造を示す。図に示されるように、凹縁120aは概曲線形状を有するが、本発明の範囲内にある角張った形状を有してもよい。そのため、凹縁120aは、例えば、第1のセクション110aにおいて三角形または長方形の窪みを形成してもよい。したがって、凹縁120aの特異的な形状は著しく変動する可能性があり、曲線であろうと、角張っていようと、様々な概凹状構造を含む。凹縁120aは、端領域121a、端領域121aの反対に位置する別の端領域122a、および端領域121aと122aとの間に位置する中心領域123aを含む。端領域121aおよび122aはそれぞれ、側縁130aの1つに隣接して配置されるが、側縁130aから内側に向かって離してもよい。側縁130aは凹縁120aから離れて延び、事実上第1のセクション110aの両側が形成される。
第2のセクション110bは、第1のセクション110aと実質的に同じ構造を示す。したがって、第2のセクション110bは凹縁120bおよび一対の側縁130bを含む。凹縁120bの少なくとも一部は凹状構造を示し、第2のセクション110bにおいて事実上窪みを形成する。凹縁120bの特定の形状は凹縁120aと同じであってもよく、形状は異なってもよい。凹縁120bは端領域121b、端領域121bの反対に位置する別の端領域122b、および端領域121bと122bとの間に位置する中心領域123bを含む。端領域121bおよび122bはそれぞれ、側縁130bの1つに隣接して配置されるが、側縁130bから内側に向かって離してもよい。側縁130bは凹縁120bから離れて延び、事実上第2のセクション110bの両側が形成される。
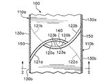
オーバーラップ要素100は、第1のセクション110aおよび第2のセクション110bが互いに重なるように形成される。より特定的には、第1のセクション110aの一部が第2のセクション110bの一部に重なり、第2のセクション110bの別の一部が第1のセクション110aの別の一部に重なる。例えば、図1〜3について説明すると、凹縁120aおよび凹縁120bに隣接する二次元材料の部分は、互いに接触し、重なるように配列され、そのため、凹縁120aの一部(すなわち、端領域121a)は、凹縁120bの一部(すなわち、端領域121b)に重なり、凹縁120bの別の一部(すなわち、端領域122b)は凹縁120aの別の一部(すなわち、端領域122a)に重なる。すなわち、端領域121aは端領域121bに重なり、端領域122bは端領域122aに重なる。そのため、セクション110aおよび110bは各々、露出領域および重なり領域を含む。したがって、第1のセクション110aおよび第2のセクション110bは、凹縁120aおよび120bの領域で互いに重なる。
第1のセクション110aおよび第2のセクション110bが上記のように互いに重なる構造で配置される場合、中心領域123aおよび123bは、第1のセクション110aおよび第2のセクション110bの各々の間で開口140を形成してもよい。開口140の寸法(すなわち、第1のセクション110aおよび第2のセクション110bにより形成される開口のサイズ)は主に、中心領域123aおよび123bの相対的な位置に依存し、開口140の寸法は、重なり要素100の特定の目的または用途により著しく変動する可能性がある。いくつかの態様では、中心領域123aおよび123bは、互いに接触してもよく、そのため、開口140はかなり小さく、または存在しない。
第1のセクション110aおよび第2のセクション110bは、側縁130aおよび130bの部分に沿って延びる複数の縫い目150により互いに結合される。より特定的には、縫い目150の1つは、一方の側縁130aを一方の側縁130bと結合させ、別の縫い目150は他方の側縁130aを他方の側縁130bと結合させる。したがって、縫い目150は側縁130aおよび130bの部分に沿って延び、第1のセクション110aおよび第2のセクション110bを互いに結合させ、凹縁120aおよび120bの部分を互いに固定する。縫い目150の代わりに、第1のセクション110aおよび第2のセクション110bを、例えば、接着ボンドまたはヒートボンドにより共に結合させてもよい。さらに、縫い目150、接着ボンド、またはヒートボンドは、内に向かって延び、第1のセクション110aおよび第2のセクション110bの内側部分を結合させてもよい。いくつかの態様では、縫い目150は凹縁120aに沿って延び、凹縁120aの部分を第2のセクション110bと結合させてもよく、縫い目150は凹縁120bに沿って延び、凹縁120bの部分を第1のセクション110aと結合させてもよい。したがって、第1のセクション110aおよび第2のセクション110bを結合させるには様々な手順を使用してもよい。
オーバーラップ要素100の一般的な形態を有する構造を、様々な衣料品および入れ物を含む様々な製品に組み入れてもよい。図4および5では、オーバーラップ要素100を衣料品160、特にシャツに使用してもよい1つの様式を開示する。衣料品160は、胴体領域161および一対の袖162を含む。袖162の各々が肘領域163を含む。一般に、肘領域163は肘の位置に対応し、肘と共に曲がり、またはそうでなければ屈曲することを目的としている。したがって、肘領域163はそれぞれ、肘領域163においてフレキシブルジョイントを提供するオーバーラップ要素100を含む。言い換えれば、オーバーラップ要素100を衣料品に組み入れる1つの目的は可撓性接合部を提供することである。
オーバーラップ要素100は、肘領域163のフレキシブルジョイントのみを形成してもよく、またはオーバーラップ要素100は、各袖162のかなり広い部分を形成してもよい。図4および5に示されるように、第1のセクション110aは衣料品160の肩領域から肘領域163まで延び、第2のセクション110bは衣料品160の手首領域から肘領域163まで延びる。したがって、オーバーラップ要素100は、各袖162のフレキシブルジョイントを形成する他に、各袖の162のかなり大きな部分を形成してもよい。
第2のオーバーラップ要素構造
第2のオーバーラップ要素200を図6〜8に示すが、この要素はオーバーラップ要素100と同様の一般構造を有する。したがって、オーバーラップ要素200は第1のセクション210aおよび第2のセクション210bを含み、これらはそれぞれ、互いに重なる構造で配置された2次元材料から形成される。オーバーラップ要素100と同様に、第1のセクション210aと第2のセクション210bとの間(すなわち、凹縁220aと220bとの間)に開口240が形成される。しかしながら、オーバーラップ要素100とは対照的に、オーバーラップ要素200はまた、開口240にわたる挿入セクション210cを含む。
第1のセクション210aは、凹縁220aおよび一対の側縁230aを含む。凹縁220aの少なくとも一部は、第1のセクション210aにおいて窪みを事実上形成する凹状構造を示す。凹縁220aは、端領域221a、端領域221aの反対に位置する別の端領域222a、および端領域221aと222aとの間に位置する中心領域223aを含む。側縁230aは凹縁220aから離れて延び、事実上第1のセクション210aの両側が形成される。第2のセクション210bは第1のセクション210aと実質的に同様の構造を示す。したがって、第2のセクション210bは凹縁220bおよび一対の側縁230bを含む。凹縁220bは端領域221b、端領域221bの反対に位置する別の端領域222b、および端領域221bと222bとの間に位置する中心領域223bを含む。側縁230bは凹縁220bから離れて延び、事実上第2のセクション210bの両側が形成される。
オーバーラップ要素100と同様に、オーバーラップ要素200は、第1のセクション210aおよび第2のセクション210bが互いに重なるように形成される。図6〜8について説明すると、第1のセクション210aの一部が第2のセクション210bの一部と重なり、第2のセクション210bの別の一部が第1のセクション210aの別の一部に重なる。より特定的には、端領域221aは端領域221bに重なり、端領域222bは端領域222aに重なる。したがって、第1のセクション210aおよび第2のセクション210bは、凹縁220aおよび220bの領域で互いに重なる。
第1のセクション210aおよび第2のセクション210bを上記のように互いに重なる構造で配置する場合、中心領域223aおよび223bは、第1のセクション210aおよび第2のセクション210bの各々の間で開口240を形成する。挿入セクション210cは開口240にわたり、第1のセクション210aおよび第2のセクション210bの各々に固定される。挿入セクション210cは概円形形状を有するが、本発明の範囲内であれば任意の他の特別な形状を有してもよい。しかしながら、一般に、挿入セクション210cは、開口240全体にわたるような形状とされる。いくかの態様では、挿入セクション210cは第1のセクション210aおよび第2のセクション210bの後に配置されてもよく、挿入セクション210cの一部のみが開口240から視認される。別の態様では、挿入セクション210cは、第1のセクション210aおよび第2のセクション210bの前に配置されてもよく、または第1のセクション210aと第2のセクション210bとの間に配置されてもよい。
第1のセクション210aおよび第2のセクション210bは、側縁230aおよび230bの部分に沿って延びる複数の縫い目250により互いに結合される。より特定的には、縫い目250の1つは、一方の側縁230aを一方の側縁230bと結合させ、別の縫い目250は他方の側縁230aを他方の側縁230bと結合させる。したがって、縫い目250は側縁230aおよび230bの部分に沿って延び、第1のセクション210aおよび第2のセクション210bを互いに結合させ、凹縁220aおよび220bの部分を互いに固定する。縫い目250の代わりに、第1のセクション210aおよび第2のセクション210bを、例えば、接着ボンドまたはヒートボンドにより共に結合させてもよい。図に示したように、挿入部分210cは概円形形状を有しており、側縁230aおよび230bまで延び、縫い目250は挿入セクション210cをオーバーラップ要素200に結合させる。しかしながら、いくつかの態様では、複数の縫い目は挿入セクション210cの周囲に延びてもよく、挿入セクション210cは、第1のセクション210aおよび第2のセクション210bの各々に結合される。
図9および10では、オーバーラップ要素200を衣料品260、特にシャツに使用してもよい1つの様式を開示する。衣料品260は衣料品160の一般構造を有し、胴体領域261および一対の袖262を含む。袖262の各々が肘領域263を含み、肘領域263はそれぞれ、肘領域263においてフレキシブルジョイントを提供するオーバーラップ要素200を含む。オーバーラップ要素100の開口140は衣料品160で開口を形成した。衣料品160とは対照的に、挿入セクション210cは開口240にわたり、開口を被覆する。したがって、挿入セクション210cは事実上、開口140により形成される穴を被覆する。
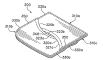
第3のオーバーラップ要素構造
衣料品または入れ物のいずれかのポケットを形成するのに適した第3のオーバーラップ要素300を図11〜13に示す。オーバーラップ要素300は、第1のセクション310aおよび第2のセクション310bを含み、これらはそれぞれ、互いに重なる構造で配置された2次元材料から形成される。第1のセクション310aは、凹縁320aおよび一対の側縁330aを含む。凹縁320aの少なくとも一部は、第1のセクション310aにおいて窪みを事実上形成する凹状構造を示す。凹縁320aは、端領域321a、端領域321aの反対に位置する別の端領域322a、および端領域321aと322aとの間に位置する中心領域323aを含む。側縁330aは凹縁320aから離れて延び、事実上第1のセクション310aの両側を形成する。第2のセクション310bは第1のセクション310aと実質的に同様の構造を示す。したがって、第2のセクション310bは凹縁320bおよび一対の側縁330bを含む。凹縁320bは端領域321b、端領域321bの反対に位置する別の端領域322b、および端領域321bと322bとの間に位置する中心領域323bを含む。側縁330bは凹縁320bから離れて延び、事実上第2のセクション310bの両側を形成する。
オーバーラップ要素100および200と同様に、オーバーラップ要素300は、第1のセクション310aおよび第2のセクション310bが互いに重なるように形成される。図11〜13について説明すると、第1のセクション310aの一部が第2のセクション310bの一部と重なり、第2のセクション310bの別の一部が第1のセクション310aの別の一部に重なる。より特定的には、端領域321aは端領域321bに重なり、端領域322bは端領域322aに重なる。したがって、第1のセクション310aおよび第2のセクション310bは、凹縁320aおよび320bの領域で互いに重なる。
第1のセクション310aおよび第2のセクション310bの他に、オーバーラップ要素300はオーバーラップ要素300と同じ全体寸法を有する裏当てセクション310cを含む。第1のセクション310aおよび第2のセクション310bは、側縁330aおよび330bの部分に沿って延び、かつオーバーラップ要素300の周囲に延びる複数の縫い目350により互いに結合される。縫い目350はまた、裏当てセクション310cを、オーバーラップ要素300の周囲で第1のセクション310aおよび第2のセクション310bに結合させる。縫い目350はオーバーラップ要素300の周囲に延びるのであって、縫い目350はオーバーラップ要素300の内側には存在しない。したがって、裏当てセクション310cは、オーバーラップ要素300の内側では、第1のセクション310aおよび第2のセクション310bのいずれにも固定されていない。そのため、裏当てセクション310cと、第1のセクション310aまたは第2のセクション310bの両方との間には空間または空き領域が形成され、中心領域323aと323bとの間に形成された開口340から空間を利用してもよい。開口340は利用可能な開口部を形成し、開口340を通して物体をオーバーラップ要素300内に配置してもよい。開口140および240はかなり大きくてもよいが、開口340は、物体が、オーバーラップ要素300からうっかり除去される(すなわち、そこから落ちる)ことがないようにかなり小さくしてもよい。
図14について説明すると、オーバーラップ要素300を衣料品360、特にズボンにおいて使用してもよい1つの様式を開示する。衣料品360は、骨盤領域361および一対の脚部領域362を有する。オーバーラップ要素300は従来のポケットの位置に対応する位置で骨盤領域361に組み入れられる。したがって、オーバーラップ要素300を衣料品に組み入れて、衣料品内にポケットを形成させてもよい。
オーバーラップ要素100および200は、上記で、シャツの肘領域の接合部に適しているものとして開示した。さらに、オーバーラップ要素100および200のいずれかは、衣料品360の膝領域で接合部を形成してもよい。図14では、一対のオーバーラップ要素100を脚部領域362に組み入れ、膝の位置に対応する脚部領域362の部分の可撓性を向上させている。
図15では、ダッフルバッグの構造を有する入れ物370を開示する。ダッフルバッグの従来のポケットは、例えば、チャック式開口により形成される。従来のダッフルバッグとは対照的に、オーバーラップ要素300は入れ物370の側面に組み入れられており、物体を収容するためのポケットが形成される。オーバーラップ要素300はまた、例えば、バックパックまたはハンドバッグなどの様々な他の型の入れ物に組み入れてもよい。
第4のオーバーラップ要素構造
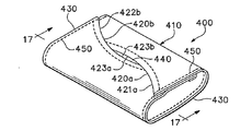
オーバーラップ要素100、200および300の各々は、少なくとも2つの材料セクションから形成される。例えば、オーバーラップ要素100は第1のセクション110aおよび第2のセクション110bを含む。図16〜19では、2次元材料から形成された単一セクション410を含むオーバーラップ要素400が図示されている。セクション410は一対の対向する凹縁420aおよび420b、ならびに一対の対向する側縁430を含む。凹縁420aは概して曲線形状を有するが、本発明の範囲内にある角張った形状を有してもよい。そのため、凹縁420aは、例えば、セクション410において三角形または長方形の窪みを形成してもよい。したがって、凹縁420aの特定の形状は著しく変動してもよく、曲線であろうと、角張っていようと、様々な概凹状構造を含む。凹縁420aは、端領域421a、端領域421aの反対に位置する別の端領域422a、および端領域421aと422aとの間に位置する中心領域423aを含む。端領域421aおよび422aはそれぞれ、側縁430の1つに隣接して配置されるが、側縁430aから内側に向かって離してもよい。側縁430は凹縁420aから離れて延び、事実上セクション410の両側を形成し、側縁は凹縁420aと420bとの間に延びる。
凹縁420bは、セクション410で事実上別の窪みを形成する凹状構造を示す。凹縁420bの特定の形状は凹縁420aと同じであってもよく、または形状は異なってもよい。凹縁420bは端領域421b、端領域421bの反対に位置する別の端領域422b、および端領域421bと422bとの間に位置する中心領域423bを含む。端領域421bおよび422bはそれぞれ、側縁430の1つに隣接して配置されるが、側縁430から内側に向かって離してもよい。
オーバーラップ要素400は、凹縁420aおよび420bを形成するセクション410の領域が互いに重なるように形成される。凹縁420aおよび420bを重ねるために、セクション410をそれ自体の上に折り返し、概円筒形構造を形成させる。より特定的には、セクション410を折り返し、凹縁420aおよび凹縁420bに隣接する二次元材料の部分が、互いに接触し、重なるように配列させる。すなわち、セクション410を折り返し、凹縁420aの一部(すなわち、端領域421a)が凹縁420bの一部(すなわち、端領域421b)と重なり、凹縁420bの別の一部(すなわち、端領域422b)が凹縁420aの別の一部(すなわち、端領域422a)に重なる。したがって、端領域421aは端領域421bに重なり、端領域422bは端領域422aに重なる。凹縁420aおよび420bを形成するセクションの領域410が互いに重なる場合、中心領域423aおよび423bは、凹縁420aおよび420bの各々の間で開口440を形成してもよい。
概円筒形構造のオーバーラップ要素400を固定するために、側縁430を縫い合わせてもよく、またはそうでなければ、それ自体に固定してもよい。側縁430の各々は、凹縁420aに隣接する部分および凹縁420bに隣接する反対部分を含む。セクション410をそれ自体の上に折り返すと、凹縁420aに隣接する部分は、凹縁420bに隣接する部分の隣に位置する。側縁430の各々については、これらの部分は、その後、複数の縫い目450により一緒に結合してもよい。縫い目450の代わりに、例えば、接着ボンドまたはヒートボンドを使用してもよい。
一般構造のオーバーラップ要素400を有する構造は、様々な衣料品を含む様々な製品に組み入れてもよい。衣料品460、特にジャケットの腕部分を図20および21で開示する。オーバーラップ要素400をアーム部分の端に固定し、手が、オーバーラップ要素400により形成された概円筒形構造を通して延長可能なようにする。より特定的には、手の第1の指(すなわち、親指)は開口440を通って延びてもよく、第2〜5の指(すなわち、人差し指、中指、薬指および小指)は一端を通って延びてもよく、および手首は衣料品460に固定された反対の端を通して延びる。この構造の利点は、オーバーラップ要素400が手のひらを隔離し、腕部分から衣料品460に入ってくる可能性のある外部空気の量を制限する。衣料品460およびオーバーラップ要素400と組み合わせて手袋を着用する場合、オーバーラップ要素400を使用して、事実上、例えば、雪または水が腕部分を通して衣料品460に入ってくるのを阻止してもよい。
結論
上記記述および添付の図面は、例えば、衣料品または入れ物に組み入れてもよい様々なオーバーラップ要素構造を開示する。一般に、オーバーラップ要素は少なくとも2つの凹縁を有し、それらは互いに重なり、例えば、衣料品のフレキシブルジョイントまたはポケットを形成する。さらに、オーバーラップ要素を入れ物(すなわち、バックパック、ハンドバック、またはダッフルバッグ)に組み入れ、ポケットを形成させてもよい。したがって、オーバーラップ要素は、様々な製品に組み入れてもよい。
本発明を上記および添付の図面で、様々な態様を参照して開示している。しかしながら、開示により提供される目的は、本発明に関連する様々な特徴および概念の例を提供することであり、本発明の範囲を制限するものではない。関連分野の当業者であれば、添付の請求の範囲により規定される、本発明の範囲から逸脱せずに、上記態様に対し、多くの改変および変更が可能であることは理解されると思われる。

Claims (60)

  1. 少なくとも1つの2次元材料から形成され、各々が凹状構造を示す第1の縁および第2の縁を含む、要素であって、第1の縁の一部が第2の縁の一部に重なり、第2の縁の別の一部が第1の縁の別の一部に重なるよう、第1の縁および第2縁に隣接する材料の部分は互いに重なるように配列される、要素。
  2. 第1の縁および第2の縁は材料の単一セクションの縁である、請求項1記載の要素。
  3. 第1の縁および第2の縁は材料の単一セクションの対向する縁である、請求項2記載の要素。
  4. 材料の単一セクションを折り畳み、第1の縁および第2の縁を互いに接触して配置させた、請求項3記載の要素。
  5. 材料の単一セクションは第1の縁と第2の縁との間を延びる一対の側縁を含み、第1の縁に隣接する各側縁の一部は、第2の縁に隣接する各側縁の一部と結合される、請求項3記載の要素。
  6. 第1の縁は少なくとも1つの2次元材料の第1のセクション中に形成され、第2の縁は少なくとも1つの2次元材料の第2のセクション中に形成され、第1のセクションおよび第2のセクションは互いに離れている、請求項1記載の要素。
  7. 一対の第1の側縁が第1の縁から延び、一対の第2の側縁が第2の縁から延び、第1の側縁は第2の側縁と結合される、請求項6記載の要素。
  8. 開口が第1の縁と第2の縁の間に形成され、挿入セクションが開口にわたる、請求項1記載の要素。
  9. 挿入セクションが2次元材料に結合される、請求項8記載の要素。
  10. 要素が衣料品の一部を形成する、請求項1記載の要素。
  11. 衣料品の一部がフレキシブルジョイントである、請求項10記載の要素。
  12. フレキシブルジョイントが、肘領域および膝領域の1つである、請求項11記載の要素。
  13. 衣料品の一部がポケットである、請求項10記載の要素。
  14. 衣料品の一部が手の収容領域である、請求項10記載の要素。
  15. 要素が入れ物の開口を形成する、請求項1記載の要素。
  16. 少なくとも1つの2次元材料がポリマーシートである、請求項1記載の要素。
  17. 少なくとも1つの2次元材料が織物である、請求項1記載の要素。
  18. 織物が一方向伸縮性を示す、請求項17記載の要素。
  19. 織物が多方向伸縮性を示す、請求項17記載の要素。
  20. 第1の縁および第2の縁の凹状構造は、第1の縁および第2の縁を形成する少なくとも1つの2次元材料における曲線状の窪みである、請求項1記載の要素。
  21. 第1の縁および第2の縁の凹状構造は、第1の縁および第2の縁を形成する少なくとも1つの2次元材料における角張った窪みである、請求項1記載の要素。
  22. 少なくとも1つの2次元材料から形成された要素を組み入れた衣料品であって、
    要素が、
    凹状構造を有し、第1の露出端領域および反対の第1の重なり端領域を含む一対の端領域を有する第1の縁と、
    凹状構造を有し、第2の露出端領域および反対の第2の重なり端領域を含む一対の端領域を有する第2の縁とを含み、
    第1の縁の第1の露出端領域が第2の縁の第2の重なり端領域に重なり、第2の縁の第2の露出端領域が第1の縁の第1の重なり端領域に重なるよう、第1の縁および第2の縁に隣接する該材料の部分が、互いに重なるように配列される、衣料品。
  23. 要素がフレキシブルジョイントを形成する、請求項22記載の衣料品。
  24. フレキシブルジョイントが、衣料品の肘領域および膝領域の1つである、請求項23記載の衣料品。
  25. 要素が衣料品のポケットを形成する、請求項22記載の衣料品。
  26. 要素が衣料品の手の収容領域である、請求項22記載の衣料品。
  27. 少なくとも1つの2次元材料がポリマーシートである、請求項22記載の衣料品。
  28. 少なくとも1つの2次元材料が織物である、請求項22記載の衣料品。
  29. 織物が一方向伸縮性を示す、請求項28記載の衣料品。
  30. 織物が多方向伸縮性を示す、請求項28記載の衣料品。
  31. 第1の縁および第2の縁が材料の単一セクションの縁である、請求項22記載の衣料品。
  32. 第1の縁および第2の縁が材料の単一セクションの対向する縁である、請求項31記載の衣料品。
  33. 材料の単一セクションを折り畳み、第1の縁および第2の縁を互いに接触して配置させた、、請求項32記載の衣料品。
  34. 材料の単一セクションは第1の縁と第2の縁との間に延びる一対の側縁を含み、第1の縁に隣接する各側縁の一部は、第2の縁に隣接する各側縁の一部と結合される、請求項32記載の衣料品。
  35. 第1の縁は少なくとも1つの2次元材料の第1のセクション中に形成され、第2の縁は少なくとも1つの2次元材料の第2のセクション中に形成され、第1のセクションおよび第2のセクションは互いに離れている、請求項22記載の衣料品。
  36. 一対の第1の側縁が第1の縁から延び、一対の第2の側縁が第2の縁から延び、第1の側縁は第2の側縁と結合される、請求項35記載の衣料品。
  37. 開口が第1の縁と第2の縁の間に形成され、挿入セクションが開口にわたる、請求項22記載の衣料品。
  38. 挿入セクションが2次元材料に結合される、請求項37記載の衣料品。
  39. 第1の縁および第2の縁の凹状構造が、第1の縁および第2の縁を形成する少なくとも1つの2次元材料における曲線状の窪みである、請求項22記載の衣料品。
  40. 第1の縁および第2の縁の凹状構造が、第1の縁および第2の縁を形成する少なくとも1つの2次元材料における角張った窪みである、請求項22記載の衣料品。
  41. 第1の露出領域および反対の第1の重なり領域を有する、凹状構造の第1の縁を有する第1の織物セクションと、
    第2の露出領域および反対の第2の重なり領域を有する、凹状構造の第2の縁を有する第2の織物セクションと、
    第1の縁と第2の縁との間に形成された開口にわたり、第1の織物セクションおよび第2の織物セクションの少なくとも1つに結合されている、挿入セクションとを含むフレキシブルジョイントを組み入れた衣料品であって、
    第1の縁の第1の露出領域は、第2の縁の第2の重なり領域に重なり、第2の縁の第2の露出領域は、第1の縁の第1の重なり領域に重なるよう、第1の織物セクションおよび第2の織物セクションは、互いに重なるように配列される、衣料品。
  42. フレキシブルジョイントが、衣料品の肘領域および膝領域の1つである、請求項41記載の衣料品。
  43. 第1の織物セクションおよび第2の織物セクションの少なくとも1つが、一方向伸縮性を示す、請求項41記載の衣料品。
  44. 第1の織物セクションおよび第2の織物セクションの少なくとも1つが、多方向伸縮性を示す、請求項41記載の衣料品。
  45. 一対の第1の側縁が第1の縁から延び、一対の第2の側縁が第2の縁から延び、第1の側縁は第2の側縁と結合される、請求項41記載の衣料品。
  46. 第1の露出領域および反対の第1の重なり領域を有する、凹状構造の第1の縁を有する第1のセクションと、
    第2の露出領域および反対の第2の重なり領域を有する、凹状構造の第2の縁を有する第2のセクションと、
    第1の織物要素および第2の織物要素に隣接し、第1の織物要素および第2の織物要素の少なくとも一部と同一の広がりをもつ裏当てセクションと、
    裏当てセクションと第1の織物セクションおよび第2の織物セクションの両方との間に位置し、第1の縁と第2の縁との間に形成された開口により供給される、少なくとも1つの物体を収容するため空所とを含む、ポケットであって、
    第1の縁の第1の露出領域は、第2の縁の第2の重なり領域に重なり、第2の縁の第2の露出領域は、第1の縁の第1の重なり領域に重なるよう、第1のセクションおよび第2のセクションは、互いに重なるように配列される、ポケット。
  47. 一対の第1の側縁が第1の縁から延び、一対の第2の側縁が第2の縁から延び、第1の側縁は第2の側縁と結合される、請求項46記載のポケット。
  48. 一対の第1の側縁が第1の縁から延び、一対の第2の側縁が第2の縁から延び、裏当てセクションの縁が第1の側縁および第2の側縁の両方と結合される、請求項46記載のポケット。
  49. 第1のセクション、第2のセクション、および裏当てセクションがそれぞれ、少なくとも1つの2次元材料から形成される、請求項46記載のポケット。
  50. 少なくとも1つの2次元材料がポリマーシートである、請求項46記載のポケット。
  51. 少なくとも1つの2次元材料が織物である、請求項46記載のポケット。
  52. 織物が一方向伸縮性を示す、請求項51記載のポケット。
  53. 織物が多方向伸縮性を示す、請求項51記載のポケット。
  54. ポケットが衣料品に組み入れられる、請求項46記載のポケット。
  55. ポケットが入れ物に組み入れられる、請求項46記載のポケット。
  56. 二次元材料の単一セクションから形成された手収容要素を有する衣料品であって、手収容要素が、
    第1の露出端領域および反対の第1の重なり端領域を含む一対の端領域を有する、凹状構造の第1の縁と、
    第2の露出端領域および反対の第2の重なり端領域を含む一対の端領域を有する、凹状構造の第2の縁と、
    第1の縁と第2の縁との間を延びる一対の側縁とを、含み、
    二次元材料の単一セクションが、折り畳まれて、第1の縁および第2の縁を互いに接触して配置し、手の第1の指を収容するため第1の縁および第2の縁の間に第1の開口を規定し、そして、一対の端開口を有する概円筒形構造を形成し、
    第1の縁の第1の露出端領域が第2の縁の第2の重なり端領域に重なり、第2の縁の第2の露出端領域が第1の縁の第1の重なり端領域に重なるよう、第1の縁および第2の縁が互いに重なるように配列され、
    端開口の1つは、第2〜第5の指を収容するように適合され、端開口のもう1つは手首を収容し、衣料品の腕領域と結合するように適合されている、衣料品。
  57. 2次元材料がポリマーシートである、請求項56記載の衣料品。
  58. 2次元材料が織物である、請求項56記載の衣料品。
  59. 織物が一方向伸縮性を示す、請求項58記載の衣料品。
  60. 織物が多方向伸縮性を示す、請求項58記載の衣料品。
JP2009258455A 2004-05-14 2009-11-12 オーバーラップ要素 Expired - Fee Related JP5190435B2 (ja)

Applications Claiming Priority (2)

Application Number Priority Date Filing Date Title
US10/845,479 2004-05-14
US10/845,479 US8601612B2 (en) 2004-05-14 2004-05-14 Overlapping element

Related Parent Applications (1)

Application Number Title Priority Date Filing Date
JP2007513348A Division JP5067941B2 (ja) 2004-05-14 2005-05-12 オーバーラップ要素

Publications (2)

Publication Number Publication Date
JP2010065374A true JP2010065374A (ja) 2010-03-25
JP5190435B2 JP5190435B2 (ja) 2013-04-24

Family

ID=34969811

Family Applications (2)

Application Number Title Priority Date Filing Date
JP2007513348A Expired - Fee Related JP5067941B2 (ja) 2004-05-14 2005-05-12 オーバーラップ要素
JP2009258455A Expired - Fee Related JP5190435B2 (ja) 2004-05-14 2009-11-12 オーバーラップ要素

Family Applications Before (1)

Application Number Title Priority Date Filing Date
JP2007513348A Expired - Fee Related JP5067941B2 (ja) 2004-05-14 2005-05-12 オーバーラップ要素

Country Status (10)

Country Link
US (1) US8601612B2 (ja)
EP (3) EP1746908B1 (ja)
JP (2) JP5067941B2 (ja)
CN (2) CN102356934A (ja)
AT (2) ATE484971T1 (ja)
AU (2) AU2005244825B2 (ja)
CA (3) CA2830000C (ja)
DE (1) DE602005024253D1 (ja)
TW (1) TWI282726B (ja)
WO (1) WO2005112677A2 (ja)

Cited By (1)

* Cited by examiner, † Cited by third party
Publication number Priority date Publication date Assignee Title
KR101833119B1 (ko) * 2016-01-22 2018-04-13 연세대학교 산학협력단 인체 동작 시의 형태 변형을 최소화하는 스마트 의복 및 생체 신호 감지 시스템

Families Citing this family (19)

* Cited by examiner, † Cited by third party
Publication number Priority date Publication date Assignee Title
US7512996B2 (en) * 2007-01-31 2009-04-07 Nike, Inc. Protective knee covering
US7832017B2 (en) * 2007-01-31 2010-11-16 Nike, Inc. Leg guard
US8906275B2 (en) 2012-05-29 2014-12-09 Nike, Inc. Textured elements incorporating non-woven textile materials and methods for manufacturing the textured elements
US8850719B2 (en) 2009-02-06 2014-10-07 Nike, Inc. Layered thermoplastic non-woven textile elements
US20100199406A1 (en) 2009-02-06 2010-08-12 Nike, Inc. Thermoplastic Non-Woven Textile Elements
US9682512B2 (en) 2009-02-06 2017-06-20 Nike, Inc. Methods of joining textiles and other elements incorporating a thermoplastic polymer material
US20130255103A1 (en) 2012-04-03 2013-10-03 Nike, Inc. Apparel And Other Products Incorporating A Thermoplastic Polymer Material
CN105307528B (zh) * 2014-03-01 2016-12-07 彪马欧洲公司 服装
US11540571B2 (en) 2015-02-19 2023-01-03 Nike, Inc. Layered thumbhole structure
US9681689B2 (en) 2015-02-19 2017-06-20 Nike, Inc. Layered thumbhole structure
US10349687B2 (en) 2015-02-19 2019-07-16 Nike, Inc. Cold-weather apparel item
US10660387B2 (en) 2015-02-19 2020-05-26 Nike, Inc. Layered thumbhole structure
US10391740B2 (en) 2015-02-19 2019-08-27 Nike, Inc. Adaptive material article system
US10362819B2 (en) * 2015-12-22 2019-07-30 Nike, Inc. Low-profile edge pocket
US10413005B2 (en) * 2016-04-07 2019-09-17 Nike, Inc. Sleeve construction for an article of apparel
US20180213860A1 (en) * 2016-06-13 2018-08-02 Accent Sunwear Sun garment
US11425947B2 (en) * 2017-11-17 2022-08-30 Lululemon Athletica Canada Inc. Sleeve for a garment
US20190274382A1 (en) * 2018-03-07 2019-09-12 Clothing Gadgets, Inc. Hidden outseam pocket for garments, kit and method
DE102018214910B4 (de) * 2018-09-03 2020-10-01 Adidas Ag Haltestruktur

Citations (5)

* Cited by examiner, † Cited by third party
Publication number Priority date Publication date Assignee Title
FR1009973A (fr) * 1948-07-16 1952-06-05 Wilhelm Blank Mieder Fabrik Fa Soutien-gorge
JPS59129817U (ja) * 1983-02-22 1984-08-31 加藤 徹 関節部を曲げ易くした被服
JP3029685U (ja) * 1996-04-02 1996-10-01 ブルーミング中西株式会社 ポケットティッシュ用カバー
JP2002088534A (ja) * 2000-09-14 2002-03-27 Ashi To Aruki No Kenkyusho:Kk 膝用サポーター
JP2004332125A (ja) * 2003-04-30 2004-11-25 Kyoto Seni Kogyo:Kk 膝サポータ

Family Cites Families (27)

* Cited by examiner, † Cited by third party
Publication number Priority date Publication date Assignee Title
US176185A (en) * 1876-04-18 Improvement in cuff-holders
GB583547A (en) 1944-07-17 1946-12-20 Atlas Underwear Co Improvements in nether undergarments
US2447989A (en) * 1947-01-15 1948-08-24 William T Previdi Zipped-in underarm gusset
US2758310A (en) * 1953-10-05 1956-08-14 Arthur R Lewis Foundation garment
US2736900A (en) * 1954-10-25 1956-03-06 Koren Rose Garment
US3122306A (en) * 1963-05-14 1964-02-25 Hazel W Davey Receptacle
US3462764A (en) * 1967-11-08 1969-08-26 Eldred E Caster Auxiliary pocket for garments
US4353362A (en) * 1981-05-04 1982-10-12 Demarco Alexander H Knee braces
JPS57188804U (ja) 1981-05-22 1982-11-30
EP0188410A1 (en) 1984-07-06 1986-07-30 KNUDSEN, Philip E. Bag and closure therefor
NL8502535A (nl) * 1985-09-17 1987-04-16 Macintosh Nv Steunverband voor een kniegewricht.
US4773100A (en) * 1987-07-30 1988-09-27 Kuo Ming Tsen Well-shielded rain clothes
CH678597A5 (en) 1988-11-24 1991-10-15 Flawa Schweiz Verband Wattefab Sec. medical dressing preventing seepage of prim. dressing - made of shaped foam material, pref. polyethylene foam
US5090058A (en) * 1989-03-06 1992-02-25 Ashley Worldwide, Inc. Jacket or similar garment
GB8909978D0 (en) * 1989-05-02 1989-06-21 Klein Benjamino P L Decorative or display device
FR2662361A1 (fr) 1990-05-23 1991-11-29 Schlee Serge Pansement de type humide ssj1.
US5093934A (en) * 1990-06-04 1992-03-10 Johnson & Johnson Medical, Inc. Raglan sleeve surgical gown
US5046662A (en) * 1990-11-02 1991-09-10 Inland Container Corporation Self-locking container
US5083315A (en) * 1990-12-13 1992-01-28 Johnson & Johnson Medical, Inc. Unisex scrub shirt and methods for making same
US5289960A (en) * 1992-09-04 1994-03-01 Kelly Nancy A Ball belt
US5784720A (en) * 1995-05-19 1998-07-28 Handcuffs, Inc. Garment cuff with a thumb opening
US5504944A (en) * 1995-05-19 1996-04-09 Bromer; Nicholas Coat sleeve cuff extension
DE29709220U1 (de) 1997-05-21 1997-08-21 Zenz, Rainer, 12045 Berlin Behälterverschluß und dazu ausgewählte Behälter
US5988468A (en) * 1998-01-14 1999-11-23 Daymen Photo Marketing Ltd Exposed film container
US6405379B1 (en) * 1998-07-14 2002-06-18 Jim E. Kelly Shirt cuff and fastener
JP2001020111A (ja) 1999-07-07 2001-01-23 Harue Kono 上 衣
JP2002180312A (ja) 2000-12-15 2002-06-26 Komu T & A Kk 手 袋

Patent Citations (5)

* Cited by examiner, † Cited by third party
Publication number Priority date Publication date Assignee Title
FR1009973A (fr) * 1948-07-16 1952-06-05 Wilhelm Blank Mieder Fabrik Fa Soutien-gorge
JPS59129817U (ja) * 1983-02-22 1984-08-31 加藤 徹 関節部を曲げ易くした被服
JP3029685U (ja) * 1996-04-02 1996-10-01 ブルーミング中西株式会社 ポケットティッシュ用カバー
JP2002088534A (ja) * 2000-09-14 2002-03-27 Ashi To Aruki No Kenkyusho:Kk 膝用サポーター
JP2004332125A (ja) * 2003-04-30 2004-11-25 Kyoto Seni Kogyo:Kk 膝サポータ

Cited By (1)

* Cited by examiner, † Cited by third party
Publication number Priority date Publication date Assignee Title
KR101833119B1 (ko) * 2016-01-22 2018-04-13 연세대학교 산학협력단 인체 동작 시의 형태 변형을 최소화하는 스마트 의복 및 생체 신호 감지 시스템

Also Published As

Publication number Publication date
JP5067941B2 (ja) 2012-11-07
WO2005112677A3 (en) 2006-03-02
EP2255684B1 (en) 2012-06-13
WO2005112677A2 (en) 2005-12-01
EP2236049A1 (en) 2010-10-06
CA2830000C (en) 2015-10-06
US8601612B2 (en) 2013-12-10
CA2563050C (en) 2010-03-16
CA2688913C (en) 2013-12-31
CN102356934A (zh) 2012-02-22
JP5190435B2 (ja) 2013-04-24
AU2005244825B2 (en) 2009-12-24
JP2007537372A (ja) 2007-12-20
EP1746908B1 (en) 2010-10-20
CA2563050A1 (en) 2005-12-01
AU2010201116B2 (en) 2012-11-15
TWI282726B (en) 2007-06-21
EP2255684A1 (en) 2010-12-01
CN1949989B (zh) 2012-03-21
TW200600023A (en) 2006-01-01
ATE484971T1 (de) 2010-11-15
EP1746908A2 (en) 2007-01-31
CA2830000A1 (en) 2005-12-01
AU2010201116A1 (en) 2010-04-15
AU2005244825A1 (en) 2005-12-01
DE602005024253D1 (de) 2010-12-02
CN1949989A (zh) 2007-04-18
EP2236049B1 (en) 2011-11-02
US20050252119A1 (en) 2005-11-17
CA2688913A1 (en) 2005-12-01
ATE531285T1 (de) 2011-11-15

Similar Documents

Publication Publication Date Title
JP5190435B2 (ja) オーバーラップ要素
US20180110275A1 (en) Garment waistband
KR102113676B1 (ko) 보안 포켓
US6691323B2 (en) Versatile garment pocket
US7036190B2 (en) Closure mechanism for apparel
CN105188434B (zh) 防护服及制造方法
JP2000037580A (ja) 伸縮性布地を用いた布地の縫製方法及び伸縮性布地
US20060162050A1 (en) Article of apparel incorporating a pleated structure
JP6530476B1 (ja) 股下寸法を調整可能な衣服
JP6545917B1 (ja) リバーシブルアパレル製品およびボタンベルト
EP4454508A1 (en) Garment with holding arrangement
JPS62542Y2 (ja)
US20240407471A1 (en) Deformable frames for clothing and personal items
JP3061091U (ja) 幼児被服
JP3001800U (ja) 手袋用インナークッションと手袋
WO2003003863A1 (en) Removable pocket structure
JP2025172977A (ja) リバーシブル衣服のポケット構造
KR200486460Y1 (ko) 가방으로 변환 가능한 의류
JP2000045117A (ja) 内ポケット用の開口縁部の補強体

Legal Events

Date Code Title Description
A711 Notification of change in applicant

Free format text: JAPANESE INTERMEDIATE CODE: A711

Effective date: 20110914

A521 Request for written amendment filed

Free format text: JAPANESE INTERMEDIATE CODE: A523

Effective date: 20111028

A977 Report on retrieval

Free format text: JAPANESE INTERMEDIATE CODE: A971007

Effective date: 20111221

A131 Notification of reasons for refusal

Free format text: JAPANESE INTERMEDIATE CODE: A131

Effective date: 20111226

A601 Written request for extension of time

Free format text: JAPANESE INTERMEDIATE CODE: A601

Effective date: 20120323

A602 Written permission of extension of time

Free format text: JAPANESE INTERMEDIATE CODE: A602

Effective date: 20120328

A521 Request for written amendment filed

Free format text: JAPANESE INTERMEDIATE CODE: A523

Effective date: 20120620

A131 Notification of reasons for refusal

Free format text: JAPANESE INTERMEDIATE CODE: A131

Effective date: 20120823

A521 Request for written amendment filed

Free format text: JAPANESE INTERMEDIATE CODE: A523

Effective date: 20121115

TRDD Decision of grant or rejection written
A01 Written decision to grant a patent or to grant a registration (utility model)

Free format text: JAPANESE INTERMEDIATE CODE: A01

Effective date: 20130121

A61 First payment of annual fees (during grant procedure)

Free format text: JAPANESE INTERMEDIATE CODE: A61

Effective date: 20130128

FPAY Renewal fee payment (event date is renewal date of database)

Free format text: PAYMENT UNTIL: 20160201

Year of fee payment: 3

R150 Certificate of patent or registration of utility model

Ref document number: 5190435

Country of ref document: JP

Free format text: JAPANESE INTERMEDIATE CODE: R150

Free format text: JAPANESE INTERMEDIATE CODE: R150

S111 Request for change of ownership or part of ownership

Free format text: JAPANESE INTERMEDIATE CODE: R313113

R360 Written notification for declining of transfer of rights

Free format text: JAPANESE INTERMEDIATE CODE: R360

R360 Written notification for declining of transfer of rights

Free format text: JAPANESE INTERMEDIATE CODE: R360

R371 Transfer withdrawn

Free format text: JAPANESE INTERMEDIATE CODE: R371

S111 Request for change of ownership or part of ownership

Free format text: JAPANESE INTERMEDIATE CODE: R313113

R350 Written notification of registration of transfer

Free format text: JAPANESE INTERMEDIATE CODE: R350

R250 Receipt of annual fees

Free format text: JAPANESE INTERMEDIATE CODE: R250

R250 Receipt of annual fees

Free format text: JAPANESE INTERMEDIATE CODE: R250

R250 Receipt of annual fees

Free format text: JAPANESE INTERMEDIATE CODE: R250

R250 Receipt of annual fees

Free format text: JAPANESE INTERMEDIATE CODE: R250

R250 Receipt of annual fees

Free format text: JAPANESE INTERMEDIATE CODE: R250

R250 Receipt of annual fees

Free format text: JAPANESE INTERMEDIATE CODE: R250

R250 Receipt of annual fees

Free format text: JAPANESE INTERMEDIATE CODE: R250

LAPS Cancellation because of no payment of annual fees