JP2010064248A - 把持装置および把持冶具 - Google Patents

把持装置および把持冶具 Download PDF

Info

Publication number
JP2010064248A
JP2010064248A JP2009295713A JP2009295713A JP2010064248A JP 2010064248 A JP2010064248 A JP 2010064248A JP 2009295713 A JP2009295713 A JP 2009295713A JP 2009295713 A JP2009295713 A JP 2009295713A JP 2010064248 A JP2010064248 A JP 2010064248A
Authority
JP
Japan
Prior art keywords
gripping
jig
workpiece
slit
work
Prior art date
Legal status (The legal status is an assumption and is not a legal conclusion. Google has not performed a legal analysis and makes no representation as to the accuracy of the status listed.)
Granted
Application number
JP2009295713A
Other languages
English (en)
Other versions
JP4942810B2 (ja
Inventor
Kazunori Koike
和權 小池
Yutaka Yamamoto
裕 山本
Koji Suehiro
幸治 末廣
Current Assignee (The listed assignees may be inaccurate. Google has not performed a legal analysis and makes no representation or warranty as to the accuracy of the list.)
Mitsubishi Chemical Corp
Original Assignee
Mitsubishi Rayon Co Ltd
Priority date (The priority date is an assumption and is not a legal conclusion. Google has not performed a legal analysis and makes no representation as to the accuracy of the date listed.)
Filing date
Publication date
Application filed by Mitsubishi Rayon Co Ltd filed Critical Mitsubishi Rayon Co Ltd
Priority to JP2009295713A priority Critical patent/JP4942810B2/ja
Publication of JP2010064248A publication Critical patent/JP2010064248A/ja
Application granted granted Critical
Publication of JP4942810B2 publication Critical patent/JP4942810B2/ja
Anticipated expiration legal-status Critical
Expired - Lifetime legal-status Critical Current

Links

Images

Landscapes

  • Jigs For Machine Tools (AREA)

Abstract

【課題】厚み斑のあるワークを均一な力で把持することができる、簡単な構造の把持冶具を提供する。
【解決手段】ワークを把持部15により把持する把持冶具1であって、把持部15は、把持面11とこの把持面11に平行な複数のスリット12を破線状に形成した二列のスリット列13及び14を有し、これらの二列のスリット列は、一方のスリット列のスリットが他方のスリット列のスリットと少なくともその一部が重なるように千鳥状にずらして形成され、把持面がワークを把持するとき、スリット列のスリットが潰れることにより、把持部が弾性変形できるように構成されている。
【選択図】図1

Description

本発明は、把持装置及びその把持冶具に係り、特に、長手方向に微少な厚み斑のあるワークを固定するのに用いて好適な把持冶具及びそれを備えた把持装置に関する。
一般に、ワークを切削加工する際には、ワークに切削負荷がかかるため、ワークを一対の把持冶具で固定する必要がある。特に、鏡面切削加工を行う場合には、高い切削精度が要求されるため、ワークを強固に固定する必要がある。このような鏡面切削加工をされるワークの一例として、二枚の樹脂基板間に複数の棒状レンズを配列した、細長い短冊形状の光伝送体アレイが挙げられる。
自動切削加工機において、光伝送体アレイは、切削される面を投入冶具の平坦面で押されて、一対の把持冶具間に移動される。一対の把持冶具間まで移動した光伝送体アレイは、投入冶具の平坦面と平行なバックアップ冶具によって背後から支持される。その結果、光伝送体アレイは、投入冶具とバックアップ冶具の2つの平坦面に挟まれて整列される。
そのようにして整列された光伝送体アレイは、従来、一定の幅で直線状に延びた平坦な把持面を備えた一体型の把持冶具(固定クランプ)で把持されていた(例えば、特許文献1)。
しかしながら、切削加工前のワークの形状はいびつであることが多く、また、ワークの切削される面は、一般に平坦ではない。例えば、光伝送体アレイが、切削面に垂直な面内、即ち把持面内で元々湾曲している場合がある。また、例えば、光伝送体アレイの切削される面に、棒状レンズ間からはみ出した接着剤等によって突起が形成されている場合がある。これらの場合に、従来の投入プレッシャー冶具とバックアップ冶具の平坦面によって、光伝送体アレイを挟んで整列させると、光伝送体アレイが把持面に平行な面内で撓んでしまう。その場合、光伝送体アレイは、応力がかかったまま把持され、切削されてしまう。このため、切削後に光伝送体アレイを把持冶具から外すと、応力が解放されて、光伝送体アレイが反対側に反ってしまう。その結果、直線に切削された切削面が湾曲して、光伝送対アレイの光学特性が劣化する。
さらに、光伝送体アレイには、その長手方向に沿って微少な厚み斑がある。特に、生産効率を向上させるために光伝送体アレイを数段重ねて加工する場合に、ここの光伝送アレイの厚み斑が加算され、全体としての厚み斑が更に大きくなる。このため、平坦な把持面を有する一体型の把持冶具では、光伝送体アレイを、長手方向方の全長に亘って均一な力で把持することが困難である。そして、厚みの薄い部分で把持力が不足すると、その部分が切削応力によりずれて、鏡面切削加工等の高精度の切削加工を行うことが困難となる。
そこで、一体型の把持冶具の代わりに、ワークの長手方向に沿って複数の部分に分割した把持冶具が利用されている。このような把持冶具を用いれば、把持力をワークの部分ごとに厚み斑に合わせて調整することができる(例えば、特許文献2)。
しかしながら、把持冶具を分割した場合、把持冶具ごとに、把持力を供給する把持力供給手段を設ける必要がある。例えば、分割した把持冶具ごとに、リニアレールを立ててエアシリンダを設ける必要がある。その結果、把持冶具を取り付けた把持装置全体の構造が複雑となり、重量が大きくなり、装置の製造コストが高くなる。その上、把持冶具ごとの平行性を調整して維持する必要がある。
特開平9−152518(図1) 特開平11−156628(図1)
そこで、本発明は、厚み斑のあるワークを均一な力で把持することができる、簡単な構造の把持冶具及びそれを備えた把持装置を提供することを目的としている。
上記の目的を達成するため、本発明の把持装置は、ワークを対向した把持部により把持する一対の把持冶具と、一対の把持冶具の間に把持力を供給する把持力供給手段とを備えた把持装置であって、一対の把持冶具の少なくとも一方の把持部は、把持面とこの把持面に平行な複数のスリットを破線状に形成した複数のスリット列を有し、これらの複数のスリット列は、一方のスリット列のスリットが他方のスリット列のスリットと少なくともその一部が重なるように形成され、把持面がワークを把持するとき、スリット列のスリットが潰れることにより、把持部が弾性変形できるように構成されていることを特徴としている。
このように、本発明の把持装置によれば、把持部にスリット列を形成して可撓性を与えた把持冶具を用いる。把持冶具では、把持面と平行に複数のスリット列を設けることにより、把持冶具の把持部に可撓性を与えている。その結果、ワークを把持する際に、ワークの厚みが厚い部分に対応する把持部が、スリットが潰れることにより弾性変形する。このため、把持面が局所的に凹んでワークの厚み斑を吸収することができる。これにより、把持対象物の厚み斑を吸収して、ワークを均一な力で把持することができる。
さらに、本発明では、一方のスリット列のスリットを、他方のスリット列のスリットと少なくともその一部が重なるように形成することにより、把持冶具の把持面に、実質的に均一な可撓性を与えている。これにより、本発明によれば、厚み斑のあるワークであっても、ワーク全体を均一な力で把持することができる。
また、本発明において、好ましくは、把持面は、一定の幅で直線状に延びた形状を有する。
これにより、細長いワークであっても、そのワークの長手方向の全長にわたって、均一な力で保持することができる。
また、本発明の把持冶具は、ワークを把持部により把持する把持冶具であって、把持部は、把持面とこの把持面に平行な複数のスリットを破線状に形成した複数のスリット列を有し、これらの複数のスリット列は、一方のスリット列のスリットが他方のスリット列のスリットと少なくともその一部が重なるように形成され、把持面がワークを把持するとき、スリット列のスリットが潰れることにより、把持部が弾性変形できるように構成されていることを特徴としている。
このように、本発明によれば、把持面と平行に複数のスリット列を設けることにより、把持冶具の把持部に可撓性を与えている。その結果、ワークを把持する際に、ワークの厚みが厚い部分に対応する把持部が、スリットが潰れることにより弾性変形する。このため、把持面が局所的に凹んでワークの厚み斑を吸収することができる。
本発明によれば、簡単な構造で、厚み斑のあるワークを均一な力で把持することができる。
本発明によれば、ワークに応力をかけずにワークを把持させることができる。
本発明に係わるワーク投入装置の実施形態を示す概略斜視図である。 (A)及び(B)は、本発明の実施形態による投入冶具の形状及び動作を示す上面図である。 (A)〜(D)は、本発明の実施形態によるワーク投入装置の動作例を示す概略断面図である。 実施形態に係る把持装置を用いた切削加工を説明する斜視図である。 実施形態に係る把持装置の側面図である。 (A)は、実施形態に係る把持冶具の側面図であり、(B)は、把持冶具を把持面側から見た図である。 (A)は、実施形態に係る把持冶具の端面図であり、(B)は、側面の拡大図である。
以下、添付の図面を参照して、本発明の実施形態を説明する。
まず、図1及び図2を参照して、本実施形態のワーク投入装置の構成について、光伝送体アレイをワークとした投入装置の例について説明する。図1は、本発明に係わるワーク投入装置の実施形態を示す概略斜視図である。なお、図1では、各構成部分の支持部材の図示を省略している。
また、図2(A)及び(B)は、本実施形態のワーク投入装置を構成する投入冶具の形状及び動作を示す上面図である。また、図2(A)は、図1に示したワーク1、下側の把持冶具3、投入冶具5及びバックアップ冶具6の上面図に相当する。
本実施形態のワーク投入装置は、ワークとしてのプラスチック光伝送体アレイを一対の把持冶具間に強固に固定して鏡面切削加工する自動加工装置において、一対の把持冶具間に、ワークを数枚ずつ重ねて投入する。
そのために、本実施形態のワーク投入装置は、図1に示すように、短冊形状のワーク1を把持するための一対の把持冶具2及び3と、ワーク1を積み重ねた状態で収容し、かつ、収容したワーク1を移動面4上に供給するワークマガジン7と、ワークマガジン7から供給されたワーク1を、数枚重ねたまま、一対の把持冶具2及び3の間の把持位置まで移動面4上を押して移動させる投入冶具5と、一対の把持冶具2及び3の間まで移動したワーク1を、投入冶具5の反対側で支持するバックアップ冶具6とを備えている。
さらに、このワーク投入装置は、図1には示さないが、ワークマガジン7の直下の位置に、支持冶具8を備えている。支持冶具8は、移動面4から迫り上がって、ワークマガジン7に収容されているワーク1を支持し、かつ、ワーク1を支持したまま移動面4まで下りてくる。
また、投入冶具5の厚さは、一対の把持冶具2及び3間に一度に投入される枚数分より薄い必要があるが、余り薄すぎると投入動作が不安定になる。よって、投入冶具5の厚さは、投入枚数のトータル厚さよりもワーク1枚分の半分程度の厚みを引いた程度の厚さとするのが望ましい。例えば、投入するべきワークが10枚でトータル厚さが10mmの場合、投入冶具5の厚さは9.5mm〜9.9mm程度とするのが望ましい。
また、バックアップ冶具6の厚さは、投入冶具5の厚さと同程度以上あるのがよく、開放した一対の把持ジグの中を通過できる厚さであれば投入ワーク全体の厚みより厚くても構わない。また、ワークマガジン7の先端の、移動面4からの隙間は、投入するワークの全体の厚みよりもワーク1枚分の半分程度広い隙間であるのがよい。
そして、図1に示すように、本実施形態の投入冶具5は、ワーク1を押す方向に突出した三本爪からなるホーク形状部を有している。そして、図2(A)に示すように、ホーク形状部の中央の爪51の先端は、両側の爪52及び53の先端よりも所定距離dだけ突出している。この所定距離dは、ワーク1の切削代の幅の半分以下であるのが好ましい。例えば、切削代の幅が0.6mmの場合、所定距離dは、0.2〜0.3mmであるのが好ましい。
さらに、図1及び図2に示すように、バックアップ冶具6も、投入冶具5と向かい合った三本爪からなるホーク形状部を有している。このホーク形状部の中央の爪61は、投入冶具5の中央の爪51の正面に位置している。
そして、図2(A)に示すように、バックアップ冶具6の爪61の先端も、その両側の爪62及び63の先端よりも所定距離dだけ突出している。バックアップ冶具6における所定距離dも、ワーク1の切削代の幅の半分以下であるのが好ましい。例えば、切削代の幅が0.6mmの場合、所定距離dは、0.2〜0.3mmであるのが好ましい。
そして、投入冶具5は、実質的に、ホーク形状部の中央の爪51で、図2(A)に示すようにワーク1の中央部分を押して、一対の把持冶具2及び3間にワーク1を投入する。そして、図2(B)に示すように、ワーク1の長手方向の中央部分を投入冶具5の中央の爪51とバックアップ冶具6の中央の爪61とに挟まれて、ワーク1は把持位置で整列される。
したがって、ワーク1は、実質的に、その長手方向の中央部の一箇所で挟まれて整列される。これにより、ワークが湾曲していても、応力をかけることなく、そのままワークを把持することができる。このため、切削後のワークを把持冶具2及び3間から外したときに、ワークの直線状の切削面が反ることを防ぐことができる。
さらに、中央の爪に加えて両側に爪を設けたことにより、ワークが切削線に対して大きく傾いたまま把持されることを防ぐことができる。また、上述したように、所定距離dを切削代の幅の半分以下としているので、ワークが把持面内で傾いて把持された場合においても、傾きによるずれ量を切削代に含めることができるので、未切削部分、即ち未鏡面部の発現を防止することができる。
次に、図3を参照して、本実施形態によるワーク投入装置の動作例を説明する。以下に説明するワーク投入装置の一連の動作は、シーケンスプログラムを実行するシーケンスコントローラー(図示せず)によって自動的に制御される。
図3(A)に、初期状態の断面図を示す。図3(A)は、図2の(A)のA−Aに沿った断面に相当する。初期状態において、投入冶具5は、ワークマガジン7の直下よりも手前(図3において紙面右側)に位置している。また、ワークマガジン7の下には、ワークマガジン7から供給されたワーク1が、移動面4上に積み重なっている。
次に、図3の(B)に示すように、投入冶具5を、エアシリンダ(図示せず)により把持冶具2及び3側へ駆動する。その結果、投入冶具5が、ワーク1を数枚重ねたまま押して、一対の把持冶具2及び3間の把持位置まで移動面4上を移動させる。
なお、投入冶具5が、ワークマガジン7の下を通過して移動している間、投入冶具5のホーク形状部の上面が、ワークマガジン7内に収容されているワーク1を支えている。
その後、ワーク1が把持冶具2及び3間の把持一まで移動したとき、バックアップ冶具6が、一対の把持冶具2及び3間の把持位置まで移動したワークを、投入冶具5の反対側で支持する。
そして、図2の(B)に示したように、一対の把持冶具2及び3の間で、ワーク1の長手方向の中央部分を投入冶具5の中央の爪51とバックアップ冶具6の中央の爪61とに挟んで、ワーク1を整列させる。
また、このとき、バックアップ冶具6も、エアシリンダ(図示せず)により、把持冶具を通り越して、ワークマガジン7に収容されているワーク1の場所まで移動して、図2の(B)に示したように、投入冶具5の反対側から、投入冶具5と協働してワーク1を挟み、かつ、その状態で、ワーク1を一対の把持冶具2及び3間の把持位置まで搬送するようにしてもよい。これにより、ワーク1の投入の際に、積み重なった個々のワーク1が飛び出すことを抑制することができる。
続いて、図3の(C)に示すように、整列されたワーク1を、一対の把持冶具2及び3で把持する。本実施形態では、上側の把持冶具2が下りてきて、ワーク1を把持する。
そして、本実施形態では、ワーク1が把持された後、投入冶具5が初期状態の位置に戻る前に、支持冶具8が、ワークマガジン7の直下の位置であって、かつ、投入冶具5の三本爪の間の位置で、移動面4から迫り上がって、ワークマガジン7に収容されているワーク1を支持する。
続いて、図3の(D)に示すように、投入冶具5及びバックアップ冶具6を、それぞれのエアシリンダにより駆動して、初期状態の位置へ戻す。そして、ワーク1を把持した一対の把持冶具2及び3を、高精度リニアレールに沿って切削機の前へ、図3の紙面に垂直な方向へ移動させる。このため、図3の(D)では、把持冶具2及び3を図示していない。
投入冶具5が、初期状態の位置まで戻っても、投入冶具5の上面で支えられていたワーク1は、支持冶具8によって支持されている。そして、支持冶具8は、ワーク1を支持したまま移動面4まで下りてくる。これにより、積み重なったワーク1が、移動面4上で崩れることを防ぐことができる。
そして、図3の(A)に示した初期状態に戻り、上述した一連の動作を自動的に繰り返すことができる。これにより、プラスチック光伝送体アレイの長手方向の端面を鏡面切削加工する装置において、無人で連続的な加工を行うことが可能となる。
ここで、図4に、整列されたワーク1を一対の把持冶具2及び3で把持した把持装置10が、高精度リニアレール70上を切削機の前へ移動する様子を示す。切削機は、ダイヤモンド切削刃31が取り付けられた回転ヘッド30を備え、回転ヘッド30はモータ32によって回転する。把持装置10が切削機の前を通過すると、光伝送体アレイ1の長手方向の端面がダイヤモンド切削刃31によって鏡面研磨される。
なお、図4では、光伝送体アレイ1の一方の端面側にのみダイヤモンド切削刃31が取り付けられた回転ヘッド30を備えた切削装置が設置されているが、通常は、光伝送体アレイ1の他方の端面も同時に切削を行うため、切削装置は光伝送体アレイ1を挟んで反対側にも設置される。
次に、図5を参照して、本実施形態の把持装置の構成について説明する。
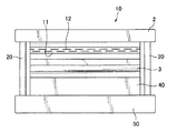
図5は、本実施形態の把持装置の側面図である。図5に示すように、本実施形態の把持装置10は、加工台50上に、把持部を対向させてワークを把持する一対の把持冶具2及び3と、一対の把持冶具2及び3の間に把持力を供給する把持力供給手段40とを備えている。ここでは、上側の把持冶具2の両端部は、支柱20で加工台50に固定されている。そして、把持力供給手段40は、下側の把持冶具3を持ち上げることによって、上側の把持冶具2と下側の把持冶具3との間に把持力を供給する。
そして、本実施形態では、上側の把持冶具2を、把持部15にスリット列13及び14を設けた一体型の把持冶具2としている。このため、簡単な一体型の構造の把持冶具2を用いて、ワーク全体をほぼ一様な力で把持することができる。その結果、把持冶具をワークの長手方向に沿って分割し、分割した把持冶具ごとに把持力供給手段を個別に設ける必要がない。したがって、把持冶具を分割した場合に比べて、把持装置を小型化、軽量化することができ、把持装置の製造コストを低減することができる。
また、本実施形態では、分割した把持冶具を設けた把持装置に比べて、把持装置10を軽量化したので、把持装置10を高精度リニアレール70上でより高速度で移動させることができる。その結果、鏡面切削加工のサイクルタイムの短縮を図ることができる。
ここで、図6及び図7を参照して、本実施形態の把持冶具について説明する。図6(A)は、本実施形態の把持冶具の側面図であり、図6(B)は、図6(A)に示した把持冶具を、把持面側から見た下面図である。なお、図6(B)では、断面部分ではないが、把持面にハッチングを付して示している。また、図7(A)は、図6に示した把持冶具の端面図である。そして、図7(B)は、図6(B)に示した把持冶具の側面部分の拡大図である。
本実施形態では、ワークとして光伝送体アレイ(図示せず)を把持部で把持する把持冶具の例について説明する。光伝送体アレイは、細長い短冊状の形状を有し、その長手方向に沿った端面を鏡面切削加工される。このため、本実施形態の把持冶具2は、金属製であり、図6(A)及び(B)に示すように、細長い一体型の形状を有している。
ワークを把持する把持部15の把持面11は、図6(B)に示すように、一定の幅で直線状に延びた形状をしている。把持面11の長手方向の長さLは、ワークの長手方向の長さよりも長いことが好ましい。また、把持面11の幅(長手方向に直交する方向の厚さ)Dは、光伝送体の幅(鏡面切削加工される端面に垂直な方向の長さ)よりも短いことが好ましい。ここでは、把持面の長手方向の長さLは数百mmであり、把持面11の幅Dは数mm程度である。
また、図7の(A)に示すように、把持冶具2の把持面11に沿った把持部15は、切削時に切削刃に当たらないように、把持面の幅Dと同じ厚さで、支持部16よりも薄く作られている。
そして、図6(A)に示すように、本実施形態では、把持部15の側面に、把持面11に平行な複数のスリット12を破線状にそれぞれ形成した第一及び第二スリット列13及び14が設けられている。これらのスリット列13及び14の各スリット12は、把持部15を貫通している。また、第一及び第二スリット列13及び14は、ワークの長手方向よりも長いことが好ましく、本実施形態では、把持面11の長手方向の実質的に全長にわたって設けられている。また、スリットの形状としては、スリットの両端にスリット幅よりも直径の大きい丸穴格好を施したものでもよい。
このように、把持面11と平行に二列のスリット列13及び14を設けることにより、把持冶具2の把持部15に可撓性を与えることができる。その結果、ワークを把持する際に、ワークの厚みが厚い部分に対応する把持部15が、スリット12が潰れることにより弾性変形する。このため、把持面11が局所的に凹んでワークの厚み斑を吸収することができる。
さらに、第一スリット列13の各スリット12と第二スリット列14の各スリット12は、スリット12の両端12aが他のスリット列のスリット12と重なるように、スリット列ごとにずらして千鳥状に形成されている。
このように、スリット12を千鳥状に形成することにより、把持冶具2の把持面11に、長手方向に沿って実質的に均一な可撓性を与えることができる。これにより、厚み斑のあるワークであっても、ワークの長手方向の全長にわたってほぼ一様な力で把持することができる。
また、把持部15は、金属製であるのが好ましく、硬く粘性の高い高速度鋼(SKH)、又は、弾性限及び疲労限の高いばね鋼(SUP)で作るのがより好ましい。これらの金属を使用すれば、スリット列を設けることにより、容易に可撓性を与えることができる。
次に、図7(B)を参照して、把持冶具2全体をSKH又はSUPで作った場合に、弾性限界内の変形でワークの厚み斑を吸収するのに十分な可撓性を与えるのに好適な、各スリット12等の配置及び寸法形状の例について説明する。図7(B)は、図6(A)に示した第一及び第二スリット列13及び14の部分拡大図である。
把持面11と第一スリット列13との間隔H1、即ち層状部分17の厚さは、把持面11の幅Dの0.5〜2倍の範囲内であるのがよい。例えば、D=3.5mmの場合、H1=5mmである。
なお、層状部分17の厚さH1が薄いほど、層状部分17の可撓性が高くなる。また、把持面11の幅(把持部15厚み)Dが狭い程、層状部分17の可撓性が高くなる。このため、把持面11と第一スリット列13との間の好適な間隔H1は、把持面11の幅D及び把持部材の材質に応じて決まる。
また、第一スリット列13と第二スリット列14との間隔H2、即ち層状部分18の厚さも、把持面11の幅Dの0.5〜2倍の範囲内であるのがよい。例えば、D=3.5mmの場合、H2=4mmである。
なお、層状部分18の厚さH2が薄いほど、層状部分18の可撓性が高くなる。また、把持面11の幅(把持部15厚み)Dが狭い程、層状部分18の可撓性が高くなる。このため、第一スリット列13と第二スリット列14との間の好適な間隔H2も、把持面11の幅D及び把持部材の材質に応じて決まる。
さらに、本実施形態では、スリットの長さSは、把持面11の幅の3〜5倍の範囲内であるのがよい。
なお、スリット長Sが長いほど、スリット12に沿った層状部分17及び18の可撓性が高くなる。しかし、スリット12が極端に長いと、スリットに沿った把持面11での把持力が不十分となるおそれがある。
そして、本実施形態では、いずれのスリット列13及び14においても、スリット12の長さSが均一であり、かつ、スリット間の間隔Tが均一である。例えば、S=20mm、T=10mmである。
なお、各スリット12の両端12aを他の列のスリット12と重ねるため、スリット間の間隔Tはスリット長Sよりも短い。
また、各スリット12の幅Uは、0.1〜0.5mmの範囲内であるのがよい。例えば、U=0.2mmである。
なお、把持冶具の把持面が、厚み斑を吸収して凹む際、最大、スリットが完全に潰れるまで変形する。このため、スリット幅が大きすぎると、把持冶具が弾性限界を超えて変形してしまうおそれがある。なお、把持する力をエアーシリンダーやコイルバネ等を使用して発生させる場合は、その力を弾性変形以内に抑制することによりスリットの幅を広くしても構わない。一方、スリット幅が小さすぎると、厚み斑を十分に変形することが困難となる。
上述したような寸法のスリット12を上述したように配置することによって、把持部材1の把持部15に、弾性限界内の変形でワークの厚み斑を吸収するのに十分な可撓性を与えることができる。
ところで、ワークの厚み斑を吸収するために、把持面11にゴム層を設けることも考えられる。しかし、ゴム層は、把持面11に沿った方向にも変形する。このため、ゴム層を設けると、切削時にワークが切削応力によりずれてしまう。したがって、ゴム層を設けることは、ワークを強固に把持する上で適当ではない。
これに対して、本実施形態のスリット12を設けた把持冶具2では、把持部15の層状部分17及び18は、板ばねのように、把持面11に実質的に垂直な方向にのみ変形し、把持面11に沿った方向には実質的に変形しない。したがって、本実施形態の把持冶具2によれば、ワークの長手方向に沿って均一な力で把持しつつ、ワークを強固に固定することができる。
上述した各実施形態においては、本発明を特定の条件で構成した例について説明したが、本発明は種々の変更及び組み合わせを行うことができ、これに限定されるものではない。
例えば、上述した実施形態においては、数枚積み重ねたワークを一度に投入する例について説明したが、本発明では、一段だけのワークを投入してもよい。
また、例えば、上述した実施形態においては、ワークが把持された後で、支持冶具が迫り上がった例について説明したが、支持冶具が迫り上がるタイミングはこれに限定されない。例えば、ワークが投入される前であっても、ワークマガジンに収容されたワークが投入冶具の上面で支えられている間に、支持冶具が迫り上がってもよい。
また、例えば、上述した実施形態では、把持部にスリット列を二列設けた例について説明したが、本発明ではスリット列の数は二列に限定されない。例えば、スリット列を三列又は四列以上設けてもよい。
また、例えば、上述した実施形態では、細長い形状の把持面を備えた把持冶具の例について説明したが、把持面の形状はこれに限定されない。
また、例えば、上述した実施形態では、金属製の把持冶具の例について説明したが、本発明では、把持冶具は金属製のものに限定されない。
また、例えば、上述した実施形態では、把持装置を構成する一対の把持冶具のうち、上側の把持冶具だけにスリット列を設けたが、本発明では、例えば、下側だけ又は上下両方の把持冶具にスリット列を設けてもよい。
また、例えば、上述した実施形態の把持装置においては、下側の把持冶具の下側に把持力供給手段を設けた例について説明したが、本発明の把持力供給手段の配置及び機構はこれに限定されない。例えば、把持力供給手段として、エアシリンダを上側の把持冶具の上に設けてもよい。
1 ワーク
2、3 把持冶具
4 移動面
5 投入冶具
51、52、53 爪
6 バックアップ冶具
61、62、63 爪
7 ワークマガジン
8 支持冶具
10 把持装置
11 把持面
12 スリット
12a 端
13 第一スリット列
14 第二スリット列
15 把持部
16 支持部
17 層状部分
18 層状部分
20 支柱
30 回転ヘッド
31 切削刃
32 モータ
40 ワーク
40 把持力供給手段
50 加工台
70 高精度リニアレール

Claims (2)

  1. ワークを対向した把持部により把持する一対の把持冶具と、上記一対の把持冶具の間に把持力を供給する把持力供給手段とを備えた把持装置であって、
    上記一対の把持冶具の少なくとも一方の上記把持部は、把持面とこの把持面に平行な複数のスリットを破線状に形成した複数のスリット列を有し、
    これらの複数のスリット列は、一方のスリット列のスリットが他方のスリット列のスリットと少なくともその一部が重なるように形成され、
    上記把持面がワークを把持するとき、上記スリット列のスリットが潰れることにより、上記把持部が弾性変形できるように構成されている
    ことを特徴とする把持装置。
  2. ワークを把持部により把持する把持冶具であって、
    上記把持部は、把持面とこの把持面に平行な複数のスリットを破線状に形成した複数のスリット列を有し、
    これらの複数のスリット列は、一方のスリット列のスリットが他方のスリット列のスリットと少なくともその一部が重なるように形成され、
    上記把持面がワークを把持するとき、上記スリット列のスリットが潰れることにより、上記把持部が弾性変形できるように構成されている
    ことを特徴とする把持冶具。
JP2009295713A 2003-01-29 2009-12-25 把持装置および把持冶具 Expired - Lifetime JP4942810B2 (ja)

Priority Applications (1)

Application Number Priority Date Filing Date Title
JP2009295713A JP4942810B2 (ja) 2003-01-29 2009-12-25 把持装置および把持冶具

Applications Claiming Priority (5)

Application Number Priority Date Filing Date Title
JP2003020578 2003-01-29
JP2003020578 2003-01-29
JP2003044438 2003-02-21
JP2003044438 2003-02-21
JP2009295713A JP4942810B2 (ja) 2003-01-29 2009-12-25 把持装置および把持冶具

Related Parent Applications (1)

Application Number Title Priority Date Filing Date
JP2003411885A Division JP4486354B2 (ja) 2003-01-29 2003-12-10 ワーク投入装置

Publications (2)

Publication Number Publication Date
JP2010064248A true JP2010064248A (ja) 2010-03-25
JP4942810B2 JP4942810B2 (ja) 2012-05-30

Family

ID=42190276

Family Applications (1)

Application Number Title Priority Date Filing Date
JP2009295713A Expired - Lifetime JP4942810B2 (ja) 2003-01-29 2009-12-25 把持装置および把持冶具

Country Status (1)

Country Link
JP (1) JP4942810B2 (ja)

Cited By (1)

* Cited by examiner, † Cited by third party
Publication number Priority date Publication date Assignee Title
CN110621453A (zh) * 2017-05-18 2019-12-27 Smc株式会社 工件夹持装置

Citations (2)

* Cited by examiner, † Cited by third party
Publication number Priority date Publication date Assignee Title
JPH10337657A (ja) * 1997-06-04 1998-12-22 Sanyo Electric Co Ltd ヘッドブロック研磨用治具
JPH11156628A (ja) * 1997-12-02 1999-06-15 Mitsubishi Rayon Co Ltd 棒状光伝送体の光伝送面処理法

Patent Citations (2)

* Cited by examiner, † Cited by third party
Publication number Priority date Publication date Assignee Title
JPH10337657A (ja) * 1997-06-04 1998-12-22 Sanyo Electric Co Ltd ヘッドブロック研磨用治具
JPH11156628A (ja) * 1997-12-02 1999-06-15 Mitsubishi Rayon Co Ltd 棒状光伝送体の光伝送面処理法

Cited By (2)

* Cited by examiner, † Cited by third party
Publication number Priority date Publication date Assignee Title
CN110621453A (zh) * 2017-05-18 2019-12-27 Smc株式会社 工件夹持装置
CN110621453B (zh) * 2017-05-18 2023-01-03 Smc株式会社 工件夹持装置

Also Published As

Publication number Publication date
JP4942810B2 (ja) 2012-05-30

Similar Documents

Publication Publication Date Title
JP2681189B2 (ja) 自動機械加工ライン用工作物支持アセンブリ
US2784405A (en) Nailing strip
EP2708338B1 (en) Apparatus for clinching nails into workpieces
CN106794594B (zh) 加工装置
JP2009131345A (ja) 医療用ステイプル及びマガジン
EP0630298B1 (en) Combined cutting and welding process for manufacturing structural products, apparatus implementing such a process, and products manufactured thereby
JP4486354B2 (ja) ワーク投入装置
JP4942810B2 (ja) 把持装置および把持冶具
US4125136A (en) Cut and clinch mechanism
AU2019201097B2 (en) Fastener pusher with an improved workpiece-contact element
WO2012147824A1 (ja) ファスナー打ち込み装置
US20040187548A1 (en) Method and apparatus for incremental forming
JP6718583B2 (ja) ワーク把持装置
CN100471620C (zh) 把持装置与把持夹具
JP2001032871A5 (ja)
JPH05138272A (ja) 金属板の支持及び送り装置
JP2007000985A (ja) 治具、被加工物の製造方法及びミシンヘッドの製造方法
JP3162259U (ja) 薄板固定治具
US2909780A (en) Magazine construction
JP2004268248A5 (ja)
KR102298742B1 (ko) 외경 미세 절삭용 완충 식 인서트 팁 홀더
JP6069668B1 (ja) 溝加工装置
CN223772236U (zh) 一种用于裂片的工装
JP2006239819A (ja) 厚紙加工装置
KR200414991Y1 (ko) 브이 컷팅기용 바이트부재 및 그 결합장치

Legal Events

Date Code Title Description
A621 Written request for application examination

Free format text: JAPANESE INTERMEDIATE CODE: A621

Effective date: 20091225

A977 Report on retrieval

Free format text: JAPANESE INTERMEDIATE CODE: A971007

Effective date: 20111130

A131 Notification of reasons for refusal

Free format text: JAPANESE INTERMEDIATE CODE: A131

Effective date: 20111205

A521 Request for written amendment filed

Free format text: JAPANESE INTERMEDIATE CODE: A523

Effective date: 20120127

TRDD Decision of grant or rejection written
A01 Written decision to grant a patent or to grant a registration (utility model)

Free format text: JAPANESE INTERMEDIATE CODE: A01

Effective date: 20120220

A01 Written decision to grant a patent or to grant a registration (utility model)

Free format text: JAPANESE INTERMEDIATE CODE: A01

A61 First payment of annual fees (during grant procedure)

Free format text: JAPANESE INTERMEDIATE CODE: A61

Effective date: 20120228

R151 Written notification of patent or utility model registration

Ref document number: 4942810

Country of ref document: JP

Free format text: JAPANESE INTERMEDIATE CODE: R151

FPAY Renewal fee payment (event date is renewal date of database)

Free format text: PAYMENT UNTIL: 20150309

Year of fee payment: 3

FPAY Renewal fee payment (event date is renewal date of database)

Free format text: PAYMENT UNTIL: 20150309

Year of fee payment: 3

S531 Written request for registration of change of domicile

Free format text: JAPANESE INTERMEDIATE CODE: R313531

FPAY Renewal fee payment (event date is renewal date of database)

Free format text: PAYMENT UNTIL: 20150309

Year of fee payment: 3

R371 Transfer withdrawn

Free format text: JAPANESE INTERMEDIATE CODE: R371

S531 Written request for registration of change of domicile

Free format text: JAPANESE INTERMEDIATE CODE: R313531

FPAY Renewal fee payment (event date is renewal date of database)

Free format text: PAYMENT UNTIL: 20150309

Year of fee payment: 3

R350 Written notification of registration of transfer

Free format text: JAPANESE INTERMEDIATE CODE: R350

S531 Written request for registration of change of domicile

Free format text: JAPANESE INTERMEDIATE CODE: R313531

FPAY Renewal fee payment (event date is renewal date of database)

Free format text: PAYMENT UNTIL: 20150309

Year of fee payment: 3

R371 Transfer withdrawn

Free format text: JAPANESE INTERMEDIATE CODE: R371

R250 Receipt of annual fees

Free format text: JAPANESE INTERMEDIATE CODE: R250

R250 Receipt of annual fees

Free format text: JAPANESE INTERMEDIATE CODE: R250

R250 Receipt of annual fees

Free format text: JAPANESE INTERMEDIATE CODE: R250

S533 Written request for registration of change of name

Free format text: JAPANESE INTERMEDIATE CODE: R313533

R350 Written notification of registration of transfer

Free format text: JAPANESE INTERMEDIATE CODE: R350

R250 Receipt of annual fees

Free format text: JAPANESE INTERMEDIATE CODE: R250

R250 Receipt of annual fees

Free format text: JAPANESE INTERMEDIATE CODE: R250

EXPY Cancellation because of completion of term