JP2010063712A - 瀉血バッグシステム及び瀉血療法用キット - Google Patents

瀉血バッグシステム及び瀉血療法用キット Download PDF

Info

Publication number
JP2010063712A
JP2010063712A JP2008233782A JP2008233782A JP2010063712A JP 2010063712 A JP2010063712 A JP 2010063712A JP 2008233782 A JP2008233782 A JP 2008233782A JP 2008233782 A JP2008233782 A JP 2008233782A JP 2010063712 A JP2010063712 A JP 2010063712A
Authority
JP
Japan
Prior art keywords
blood collection
bag
connection port
way stopcock
blood
Prior art date
Legal status (The legal status is an assumption and is not a legal conclusion. Google has not performed a legal analysis and makes no representation as to the accuracy of the status listed.)
Granted
Application number
JP2008233782A
Other languages
English (en)
Other versions
JP5767769B2 (ja
Inventor
Fumiaki Kimura
文昭 木村
Current Assignee (The listed assignees may be inaccurate. Google has not performed a legal analysis and makes no representation or warranty as to the accuracy of the list.)
Nipro Corp
Original Assignee
Nipro Corp
Priority date (The priority date is an assumption and is not a legal conclusion. Google has not performed a legal analysis and makes no representation as to the accuracy of the date listed.)
Filing date
Publication date
Application filed by Nipro Corp filed Critical Nipro Corp
Priority to JP2008233782A priority Critical patent/JP5767769B2/ja
Publication of JP2010063712A publication Critical patent/JP2010063712A/ja
Application granted granted Critical
Publication of JP5767769B2 publication Critical patent/JP5767769B2/ja
Active legal-status Critical Current
Anticipated expiration legal-status Critical

Links

Images

Landscapes

  • Medical Preparation Storing Or Oral Administration Devices (AREA)
  • External Artificial Organs (AREA)

Abstract

【課題】
当面瀉血療法に使用されてきた血液バッグは、瀉血療法を実施する際に並行して行われている採血や静脈注射、補液等に対するアクセスポイントを有さず、また針刺し事故や血液汚染などの危険から実施者を保護する安全機構も不十分である。勿論、病的患者の安全の確保に配慮した機能もない。
【解決手段】
本発明は、ヒトに瀉血療法を実施するためのバッグシステムであって、採血針と、第一、第二及び第三の接続口を具備する三方活栓と、採血バッグを備え、前記採血針は、第一のチューブを介して前記三方活栓の第一の接続口と接続され、前記採血バッグは、第二のチューブを介して前記三方活栓の第二の接続口と接続され、前記三方活栓の第三の接続口に、シリンジ、採血デバイス又は輸液ラインの接続手段と接続可能な被接続手段を有することを特徴とする瀉血バッグシステムを提供する。
【選択図】 図1

Description

本発明は、主として瀉血療法に用いる瀉血バッグシステムに関する。
1994年に慢性C型肝炎に対する瀉血療法の有効性が報告された。瀉血療法とは、患者から採血し、これを廃棄する手技を適正に繰り返すことにより、肝臓に蓄積した鉄分を除去し、肝炎の沈静化を図る治療法である(非特許文献1参照)。日本には本疾患患者が200万人前後存在し、本療法の適応患者がそのかなりの部分を占めているといわれている。従って瀉血療法の需要が急速に高まっている。
瀉血療法は、従来の一般臨床の現場においては、唯一の保険適応疾患であった多血症患者に対して極めて数少ない頻度で実施されて来たに過ぎない。そのため、瀉血療法に特化した医療器具の生まれる需要も必然性もなく、その際に利用された器具はもっぱら献血のために使用されてきた血液バッグであった。
すなわち、従来、1回に100mL以上の人の血液を相当量扱う場としては献血現場がある。手術時の出血に備えるために前もって患者自身の血液を保存しておく自己血貯血の現場も同様の場であるが、献血の頻度に比べると少ない。これら両現場で利用されてきた器具は血液バッグであった。
従って、上記の如く慢性C型肝炎に対する瀉血療法の有効性が報告されても、その療法の際に利用された医療器具は、血液バッグとなった。血液バッグの流用は、C型肝炎ウイルスで汚染された血液を扱う上でも当面は妥当な選択であった。しかし、血液バッグには、針とバッグとその両者を繋ぐチューブしかない。
本疾患患者に対する実際の瀉血療法の臨床現場では、瀉血と並行して、本療法の進行状況や効果判定のための検査用採血、静脈注射や補液療法等が実施されることが多い。しかしながら、慢性C型肝炎患者の血液はウイルスに汚染されているために、瀉血療法や、それと並行して行われる採血、静脈注射、補液等を実施する際に、針刺しや処置中の血液汚染による感染事故が実施者側に発生する危険性が高いという問題がある。
さらに、瀉血療法に流用されて来た血液バッグは、献血現場で利用されてきたものが標準であり、そもそもの対象者は健康な体の持ち主の若い人が中心である。それに対して、瀉血療法の対象者は肝癌や肝硬変といった重篤な疾患へ進展する可能性の高い慢性C型肝炎ウイルス感染症患者であり、高齢者や病弱な人たちも多く、対象者として、両者の性格は全く異なっている。従って、瀉血療法を実施する場合でも、実施に際して配慮すべき点は、全く異なるのである。
J. Gastroenterol 2004; 39: p.570−574
このように、瀉血療法に流用されてきた血液バッグは、瀉血療法を実施する際に並行して行われている採血や静脈注射、補液等に対するアクセスポイントを有さず、また針刺し事故や血液汚染などの危険から実施者を保護する安全機構も不十分であった。勿論、病的患者の安全の確保に配慮した機能もない。こういった問題点を解決するために、感染症を有する患者に対して容易に、安全で、効率良く、スムーズ、かつ、副作用等の不測の事態にも対応でき、さらに実施者の安全も考慮した瀉血療法に特化した医療器具の開発の意義は大きい。本発明は、かかる実情に鑑み、瀉血療法に好適な器具の提供を課題とするものである。
前記所期の課題解決を図るため、本発明では、ヒトに瀉血療法を実施するためのバッグシステムとして、採血針と、第一、第二及び第三の接続口を具備する三方活栓と、採血バッグからなり、前記採血針が第一のチューブを介して前記三方活栓の第一の接続口と接続され、前記採血バッグが第二のチューブを介して前記三方活栓の第二の接続口と接続されて、前記三方活栓の第三の接続口に、シリンジ、採血デバイス又は輸液ラインの接続手段と接続可能な被接続手段が設けられた瀉血バッグシステムとした。針とバッグを繋ぐチューブの途中に、アクセスポイントとなる三方活栓を設けたのである。
また、前記瀉血バッグシステムにおける採血バッグは、互いに仕切られた二室以上の部屋を具備し、三方活栓から接続された第二のチューブが当該採血バッグの各部屋に接続されるよう分岐されたものとすることができる。
また、本発明は、第一、第二及び第三の接続口を具備する第二の三方活栓と、第二の採血バッグを備えた追加バッグシステムをさらに含む態様とすることもできる。
さらに、本発明は、前記瀉血バッグシステムに、接続手段を具備するシリンジ、採血デバイス又は輸液ラインと組み合わせたキットの態様とすることもできる。
本発明の瀉血バッグシステムは、三方活栓がアクセスポイントとして機能し、その第三の接続口に有する被接続手段がシリンジ、採血デバイス又は輸液ラインにおける接続手段と接続可能であることによって、作業者による針刺し事故が起こりにくくなり、瀉血療法を実施する作業者のC型肝炎感染のリスクが低減する。また、三方活栓の第三の接続口に有する被接続手段がシリンジ、採血デバイス又は輸液ラインにおける接続手段と接続可能であることにより、患者に対する穿刺回数を低減することができるため、瀉血療法を受ける患者のQOLを向上することができる。
また、本発明の採血バッグを互いに仕切られた二室以上の部屋を具備するものを採用することにより、安定して秤量することができる。日本人の瀉血療法において基本単位とされている200mLの瀉血を行った場合、約100mgの除鉄が認められるので、仕切られた二室をそれぞれ200mL容量とすることにより、100mg単位毎の除鉄を見た目で判断することもできる。
また、本発明は、第一、第二及び第三の接続口を具備する第二の三方活栓と、第二の採血バッグを備えた追加バッグシステムをさらに含む態様とすることにより、必要に応じてさらなる瀉血療法を施すことができる。
以下、本発明について図面を用いて説明する。但し、図面に係る態様は、本発明の一実施態様にすぎない。このため、本発明は図面における実施態様に限定されるものではない。
図1は、本発明の瀉血バッグシステムの一実施態様を示す図である。図1における本発明の瀉血バッグシステムは、採血針1と、第一の接続口21、第二の接続口22及び第三の接続口23を具備する三方活栓2と、抗凝固剤が充填されていない採血バッグ3を備え、前記採血針1は、第一のチューブ41を介して前記三方活栓2の第一の接続口21と接続され、前記採血バッグ3は、第二のチューブ42を介して前記三方活栓2の第二の接続口22と接続され、前記三方活栓2の第三の接続口23に、シリンジ、採血デバイス又は輸液ラインの接続手段と接続可能な被接続手段5を有する。
本発明において「瀉血バッグシステム」とは、主として慢性C型肝炎患者に対する瀉血療法に用いるためのバッグシステムをいう。瀉血療法とは、上述の通り、慢性C型肝炎における治療分野においては、患者から採血し、これを廃棄する手技を適正に繰り返すことにより、肝臓に蓄積した鉄分を除去し、肝炎の沈静化を図る治療法をいう。そのメカニズムを考える時、本発明において、ヒトとは、主として慢性C型肝炎患者をいうが、必ずしも慢性C型肝炎患者に限定されるものではない。すなわち、貧血の無い鉄過剰状態が疾病の増悪因子として重要な役割を演じている疾患(現段階では、保険収載されていないが)もその対象となり得る。
そして、本発明の瀉血バッグシステムは、主として、ヒトから瀉血することにより主に慢性C型肝炎を治療することを目的としたバッグシステムである。このため、本発明の瀉血バッグシステムは、いわゆる輸血のために利用することはできない。
本発明の瀉血バッグシステムは、まず、採血針1を備える。採血針1は、望ましくは、採血針収納機構11を具備する。これにより、患者に穿刺した採血針が外界に露呈することがないので、作業者による針刺し事故が起こりにくくなり、瀉血療法を実施する作業者のC型肝炎感染のリスクを低減することができる。
本発明において「採血針」とは、ヒトの皮膚から血管を穿刺し、血管から当該採血針における針管を通じて採血を行うための器具をいう。採血針1の材料は、主として鉄である。肝臓に蓄積した鉄分を除去することを治療目的とする瀉血療法において、そのためのバッグシステムの器具の材料として鉄を用いることは決して好ましいとは言えない。しかし、ヒトの皮膚を穿刺するための針の材料として、適切な製造コスト及び強度を有する材料が鉄しかないのが現状である以上、さすがにこれはやむを得ないところである。
一方、「採血針収納機構」とは、採血後の採血針が外界に露呈されないように、当該採血針を保護する部材(以下、採血針保護部材という)に収納し、望ましくは一度採血針保護部材に収納された採血針は、二度と外界に露呈されない機構をいう。当該採血針収納機構は、採血後の採血針が外界に露呈されない作用を有する機構であれば特に限定されるものではない。採血針保護部材は、いわゆるシースと称する部材が主に用いられるが、本発明はこれに限定されるものではない。尚、採血針収納機構11は、採血針1が採血針保護部材内に摺動する態様であっても、採血針保護部材が当該部材内に採血針を収納するように摺動する態様であってもよい。また、採血針収納機構11における摺動は、手動によるものであっても、自動によるものであってもよい。このような採血針1としては、例えば、特開平01−317453号公報、特開平10−085333号公報及び特開平11−319086号公報などに開示されている器具が挙げられる。図1に示す採血針収納機構11は、特開平10−085333号公報に準ずるものであるため、詳細は省略する。
また、採血針1には、採血時には当該採血針を安定して固定する固定部材12をさらに具備することが好ましい。当該部材を備えた採血針1は、いわゆる翼状針(組立体)と称する器具であり、上述の公開公報に記載されている通りである。
また、本発明の瀉血バッグシステムは、三方活栓2を備える。当該三方活栓2には、第一の接続口21、第二の接続口22及び第三の接続口23を具備する。
本発明において「三方活栓」とは、第一、第二及び第三の、3つの接続口を具備し、そのうち2つ又は3つの接続口が相互に連通する手段を具備した、主として血液バッグシステム、輸液ライン若しくは人工腎臓等における血液ラインの流路を切替えるための器具をいう。このうち、第一の接続口21は、上記採血針1に第一のチューブ41を介して接続され、第二の接続口22は、後述の採血バッグ3に第二のチューブ42を介して接続される。ここで、第一のチューブ41及び第二のチューブ42は、医療用のチューブであればよい。当該第一及び第二のチューブ41,42の材料としては、例えば、ポリエチレン、ポリ塩化ビニル、ポリ酢酸ビニル、ポリ(エチレン−酢酸ビニル)コポリマー及びポリ(エチレン−テトラフルオロエチレン)コポリマーなどが挙げられるが、本発明はこれらチューブの材料に限定されるものではない。
第三の接続口23は、シリンジ、採血デバイス又は輸液ラインの接続手段5’と接続可能な被接続手段5を有する。被接続手段5の具体的な態様に関しては後述する。
本発明の瀉血バッグシステムの三方活栓2の第三の接続口23における被接続手段5に、シリンジの接続手段5’が接続された使用態様を説明する。
本発明において「シリンジ」とは、少なくとも先端に上記被接続手段と対をなす接続手段を有し、かつ後端が開放したバレルと、当該バレル内を液密に摺動するガスケットと、前記ガスケットに接続又は接続し得るプランジャロッドとを具備する器具をいう。当該シリンジは、例えば、本発明の瀉血バッグシステムを用いて瀉血療法を実施する際に、患者の血液をサンプリングするために用いることができる。
具体的には、まず、シリンジの接続手段5’を上記三方活栓2の第三の接続口23における被接続手段5に接続した後、採血針1を患者に穿刺する。または、採血針1を患者に穿刺した後、シリンジの接続手段5’を上記三方活栓2の第三の接続口23における被接続手段5に接続してもよい。但し、採血針1を患者に穿刺することを先に行う場合は、三方活栓2の第三の接続口23は閉鎖している状態にしなければならない。三方活栓2の第三の接続口23から、患者の血液が漏洩しないためである。このことから、シリンジを上記三方活栓2の第三の接続口23に接続することを先に行う方が好ましい。次いで、プランジャロッドを引き、患者の血液をサンプリングする。サンプリングのタイミングは、採血療法の実施前後のいずれであってもよく、また、瀉血療法を実施している最中であってもよい。もちろん、サンプリング中は、少なくとも三方活栓2の第一の接続口21及び第三の接続口23は開放した状態にしなければならない。
ところで、シリンジという概念は、患者に穿刺するための注入針をさらに具備する態様も含まれると解釈されることもある。しかしながら、本発明の瀉血バッグシステムを利用したシリンジによるサンプリングは、上述のとおり、シリンジの接続手段5’を上記三方活栓2の第三の接続口23における被接続手段5に接続することにより、容易に実施することができる。このため、本発明におけるシリンジの概念としては、少なくとも先端に上記被接続手段5と対をなす接続手段5’を有し、かつ後端が開放したバレルと、当該バレル内を液密に摺動するガスケットと、前記ガスケットに接続又は接続し得るプランジャロッドとを具備する器具であれば十分であり、必ずしも患者に穿刺するための注入針を具備しなくてもよいのである。
尚、図示はしないが、上記サンプリングにおいては、シリンジの代わりに採血デバイスを用いてもよい。本発明において、「採血デバイス」とは、採血管及び採血管ホルダの組み合わせをいう。ここで、本願請求項における文言で「接続手段を具備する採血デバイス」としているが、実際的には、接続手段は、採血管ホルダに具備されている。
サンプリングについて具体的に説明する。まず、採血管ホルダの接続手段5’を上記三方活栓2の第三の接続口23における被接続手段5に接続した後、採血針1を患者に穿刺する。または、採血針1を患者に穿刺した後、採血管ホルダの接続手段5’を上記三方活栓2の第三の接続口23における被接続手段5に接続してもよい。但し、採血針1を患者に穿刺することを先に行う場合は、三方活栓2の第三の接続口23は閉鎖している状態にしなければならない。三方活栓2の第三の接続口23から、患者の血液が漏洩しないためである。このことから、採血管ホルダを上記三方活栓2の第三の接続口23に接続することを先に行う方が好ましい。次いで、採血管ホルダに採血管を装着し、患者の血液をサンプリングする。サンプリングのタイミングは、瀉血療法の実施前後のいずれであってもよく、また、瀉血療法を実施している最中であってもよい。もちろん、サンプリング中は、少なくとも三方活栓2の第一の接続口21及び第三の接続口23は開放した状態にしなければならない。
一方、本発明の瀉血バッグシステムの三方活栓2の第三の接続口23における被接続手段5に、輸液ラインの接続手段5’が接続された使用態様を説明する(図示せず)。
本発明において「輸液ライン」とは、少なくとも輸液を充填する輸液バッグ、チューブ及び上記被接続手段と対をなす接続手段を具備する輸液セットをいう。当該輸液ラインは、主に本発明の瀉血バッグシステムを用いて瀉血療法を実施する前後に、患者に輸液をするために用いることができる。
具体的には、まず、採血針1を患者に穿刺する。そして、瀉血療法を行う。瀉血療法が終了した後は、輸液ラインの接続手段5’を上記三方活栓2の第三の接続口23における被接続手段5に接続する。但し、この時点では、三方活栓2の第三の接続口23は閉鎖している状態にしなければならない。三方活栓2の第三の接続口23から、患者の血液が漏洩しないためである。そして、輸液を開始する。もちろん、輸液中は、少なくとも三方活栓2の第一の接続口21及び第三の接続口23は開放した状態にしなければならない。
瀉血療法後に行われる輸液は、患者の栄養又は水分補給のための薬剤を投与するための輸液である。当該輸液に用いる薬剤としては、例えば、生理食塩水、ブドウ糖輸液及びアミノ酸輸液などが挙げられるが、特に限定されるものではない。但し、瀉血療法の治療目的が、肝臓に蓄積した鉄分を除去することである以上、瀉血療法後に行われる輸液に用いる薬剤として、鉄又は鉄イオンを多く含むものは、あまり好ましくないことは言うまでもない。
ところで、上述のシリンジと同様、輸液ラインの概念としては、患者に穿刺するための注入針をさらに具備する態様も含まれると解釈されることもある。しかしながら、本発明の瀉血バッグシステムを利用した輸液は、輸液ラインを上記三方活栓2の第三の接続口23に接続することにより、容易に実施ことができる。このため、本発明における輸液ラインの概念としては、少なくとも輸液を充填する輸液バッグ、チューブ及び上記被接続手段5と対をなす接続手段5’を具備するだけで十分であり、必ずしも患者に穿刺するための注入針を具備しなくてもよいのである。
本発明において「被接続手段」とは、シリンジ、採血デバイス(採血管ホルダ)又は輸液ラインに具備されてなる接続手段と接続可能であり、かつ当該接続手段とは対をなす構造である器具をいう。被接続手段5及び接続手段5’の態様としては、例えば、被接続手段5としてオスルアーコネクターを、接続手段としてメスルアーコネクターを選択することができる。もちろん、オスルアーコネクターとメスルアーコネクターは、逆転してもよい。また、他の被接続手段5及び接続手段5’の態様としては、例えば、被接続手段5としてゴム混注器具を、接続手段として上記ゴム混注器具のゴム栓を刺通する針を選択することもできる。
また、被接続手段5及び接続手段5’の材料が、樹脂のみからなることが望ましい。これは、瀉血療法の治療目的が、肝臓に蓄積した鉄分を除去することにあるため、このことから上記採血針1における針管以外の部材は、鉄以外の材料を用いることが望ましいのである。このような態様としては、上述の被接続手段5としてオスルアーコネクターを、接続手段としてメスルアーコネクターを選択する態様であればよい。また、被接続手段5としてゴム混注器具を、接続手段として上記ゴム混注器具のゴム栓を刺通する針を選択する態様であったとしても、接続手段としての上記ゴム混注器具のゴム栓を刺通する針は、いわゆるプラスチック針が好ましい。尚、本発明における「樹脂」には、ポリエチレン、ポリプロピレン、ポリエチレンテレフタレート、ポリスチレン及びポリカーボネートなどの医療用の高分子だけでなく、シリコン樹脂なども含まれる。
さらに、上述の態様の中でも、前記接続手段5’及び被接続手段5は、ルアーテーパー構造を有することが望ましい。つまり、上述の被接続手段5としてオスルアーコネクターを、接続手段5’としてメスルアーコネクターを選択する態様が最も望ましいのである。これは、接続手段5’と被接続手段5との結合をより強固とするためである。接続手段5’と被接続手段5の結合が強固であるが故に、患者の血液が漏洩することによる、作業者のC型肝炎ウイルスへの感染リスクを低減することができる。
このように、本発明の瀉血バッグシステムは、三方活栓3の第三の接続口33に被接続手段5を有するので、一度穿刺した上記採血針を患者から引き抜き、さらにはサンプリング又は輸液を行うための新たな穿刺を行うことがない。よって、本発明の瀉血バッグシステムは、患者のQOLを維持することができるのである。
そして、本発明の瀉血バッグシステムは、抗凝固剤が充填されていない採血バッグ3を備える。
本発明において「採血バッグ」とは、ヒトから採血した血液を収納するための容器をいう。採血バッグ3は、いわゆる輸血に用いる血液バッグと同様の態様のものを使用することができる。つまり、採血バッグ3の材料としては、例えば、ポリエチレン及びポリ塩化ビニル等が挙げられるが、本発明の採血バッグ3の材料は、これらの材料に限定されるものではない。また、採血バッグ3の容量は、瀉血療法における採血量を参考に、当業者が適宜設定できるので、特に限定されるものではない。例えば、好適な採血バッグ3の容量は、20〜1,000mLである。特に、作業者が普段使い慣れている大きさである、いわゆる輸血に用いる血液バッグに準じた200mL及び400mLのものが好適な一態様と言える。ちなみに、実際は、過剰採血を想定しているため、これらの血液バッグの容量は、200mL又は400mLよりも若干大きめの容量に成形されてなる。例えば、400mLの輸血に用いる血液バッグの容量は、最大で485mLのものが存在する。この容量であれば、医療機器メーカーは、本発明の瀉血バッグシステムを製造する上で、従来の輸血に用いる血液バッグの製造ラインを利用することができるため、製造コストを低く抑えることができる。尚、200mLという容量は、日本人の瀉血療法において基本単位とされていることからも、採血バッグの容量は200mL又はその倍である400mLとすることが望ましい。
上述したように200mL及び400mLの輸血に用いる血液バッグは、若干大きめの容量に成形されてなるものである。採血療法における規定量の採血量の確認は、主に秤量により行うことができる。但し、より容易に採血量を確認するために、上記採血バッグ3の壁面に採血量を示すメモリ31を具備することが好ましい。当該メモリ31による採血量を正確に確認できるよう、上記採血バッグ3の上端シール部には、吊下穴32をさらに具備する。
上述したように、本発明の瀉血バッグシステムの採血バッグに収容される血液は、主に慢性C型肝炎患者の血液である。このため、採血バッグから当該血液が逆流しないようにすることが望ましい。作業者が上記三方活栓の操作を誤らなければ、つまり、採血後は、上記三方活栓の第二の接続口を常に閉鎖した状態にしておけば、採血バッグに収容した血液が逆流することがない。しかしながら、上述したように、本発明の瀉血バッグシステムは、瀉血療法後に、輸液ラインと接続し、輸液を行う。このため、作業者の操作ミスに伴うC型肝炎ウイルスの感染のリスクをさらに低減することが望ましいのである。
以下、本発明の瀉血バッグシステムにおける望ましい態様を説明する。これら望ましい態様は、必ずしも実施しなくてよい態様ではあるものの、瀉血療法を実施する作業者がC型肝炎ウイルスに感染するリスクをより低減し、瀉血療法を受ける患者のQOLをより向上することができる観点から、特段の事情がない限り実施すべき態様である。
まず、本発明の採血バッグ3には、抗凝固剤が充填されていないことが望ましい。本発明の採血バッグシステムは、そもそも輸血には用いられないからである。むしろ、本発明の採血バッグ3に収容された血液は、主に慢性C型肝炎患者の血液であるので、輸血に利用するべきではない。そして、抗凝固剤が充填されていないことにより、C型肝炎患者の血液を凝固させることができる。よって、本発明の採血バッグ3に収容したC型肝炎患者の血液を誤って他者に輸血し、C型肝炎ウイルスに感染させてしまうという医療事故を防止することもできるのである。
また、第二のチューブ42に逆流防止手段6を備えることが望ましい。
本発明において「逆流防止手段」とは、採血バッグ3に収容したヒト血液の気泡の逆流を防止するための器具をいう。逆流防止手段6は、上述の輸液を行う際などに、ヒトの血管内に空気が入ることを防止する目的で備える。逆流防止手段6としては、例えば、鉗子(チューブを狭持して、流路を閉鎖する器具をいう)及び逆流防止弁(弁により流路を閉鎖する器具をいう)などが挙げられる。逆流防止手段6は、採血バッグに収容したヒト血液の逆流を防止することが可能であれば、必ずしも限定されるものではないが、逆流防止弁であることが望ましい。逆流防止弁は、輸液を同時に行うという事情がないことから、輸血に用いる血液バッグに用いるものではない。つまり、上記第二のチューブに逆流防止弁を備えることは、当業者が容易に思いつくものではない。
さらに、本発明は、上記瀉血バッグシステム及び上述した接続手段を具備するシリンジを含むキット態様としてもよく、また、上記瀉血バッグシステム及び上述した接続手段を具備する輸液ラインを含むキット態様としてもよい。
[変形例1]
以下、変形例について説明する。瀉血療法における採血量は、医師が適宜設定できるものである。このため、採血バッグ3は、広範囲の量の採血を可能とする態様であることが好ましい。このような採血バッグ3の態様としては、互いに仕切られた二室以上の部屋を具備する態様が挙げられる。図2は、採血バッグ3’の変形例を示す図である。この採血バッグ3’は、まず、第一室33及び第二室34を具備する。第一室33は、第二室34と完全に仕切られている。本態様における部屋の数は、2以上であれば特に限定されるものではない。第一室33及び第二室34のそれぞれは、分岐された第二のチューブ421,422により接続される。この採血バッグ3’は、第一室33及び第二室34が一体となっているために、医療現場における採血バッグの取り扱いが容易になる。また、この構造の採血バッグによれば、作業者は、例えば、容量200mLの第一室33に血液が満たされたことを確認することにより、200mLの採血が完了したことを容易に確認することができる。第二室34への採血は、分岐された第二のチューブ421における鉗子61で、第二のチューブ421を狭持することにより開始される。
[変形例2]
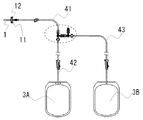
また、広範囲の量の採血を可能とする別態様を図3に示す。図4に示すように、第一の三方活栓2Aの第三の接続口2A3における第一の被接続手段5A(図には符号は付せず)に、新たに第二の採血バッグを具備する追加バッグシステムを接続する態様も挙げられる。本態様においては、第一の採血バッグ3Aを備えるバッグシステムを基本バッグシステムとし、当該基本バッグシステムに追加して接続される追加バッグシステムということにする。図4は、図3における破線領域の拡大図を示したものである。この態様においては、三方活栓2Aの第三の接続口2A3における第一の被接続手段5Aが、第二の採血バッグ3Bの接続のために使用される。このため、上述のサンプリング及び/又は輸液を行うためには、新たに接続する第二の採血バッグ3Bに第二の三方活栓2Bを具備する。この第二の三方活栓2Bの第一の接続口2B1は、第一の三方活栓2Aの第三の接続口2A3における被接続手段5A?に接続するための追加接続手段7を有する。また、第二の三方活栓2Bの第二の接続口2B2は、第三のチューブ43を介して、第二の採血バッグ3Bに接続している。そして、第二の三方活栓2Bの第三の接続口2B3は、シリンジ、採血デバイス又は輸液ラインの接続手段5’と接続可能な第二の被接続手段5Bを有する。この態様においては、第一の採血バッグ3Aの採血が不十分である場合は、適宜、第二の採血バッグ3Bを具備する追加採血ラインXを接続することができる。
本発明の瀉血バッグシステムにより、慢性C型肝炎患者に対する瀉血療法がさらに普及するであろう。
本発明の瀉血バッグシステムの一実施態様を示す図である。 本発明の瀉血バッグシステムの変形例を示す図である。 本発明の瀉血バッグシステムの図4とは異なる変形例を示す図である。 図5における破線領域の拡大図を示したものである。
符号の説明
1 採血針
11 採血針収納機構
12 固定部材
2,2A,2B 三方活栓
21,2A1,2B1 第一の接続口
22,2A2,2B2 第二の接続口
23,2A3,2B3 第三の接続口
3,3’,3A,3B 採血バッグ
31 メモリ
32 吊下穴
33 第1室
34 第2室
41 第一のチューブ
42,421,422 第二のチューブ
43 第三のチューブ
5,5A,5B 被接続手段(メスルアーコネクター)
6 逆流防止手段
5” 追加接続手段(オスルアーコネクター)

Claims (6)

  1. ヒトに瀉血療法を実施するためのバッグシステムであって、
    採血針と、
    第一、第二及び第三の接続口を具備する三方活栓と、
    採血バッグを備え、
    前記採血針は、第一のチューブを介して前記三方活栓の第一の接続口と接続され、
    前記採血バッグは、第二のチューブを介して前記三方活栓の第二の接続口と接続され、
    前記三方活栓の第三の接続口に、シリンジ、採血デバイス又は輸液ラインの接続手段と接続可能な被接続手段を有することを特徴とする瀉血バッグシステム。
  2. 前記採血バッグが、互いに仕切られた二室以上の部屋を具備し、前記第二のチューブが当該採血バッグの各部屋に接続されるよう分岐されてなる請求項1に記載の瀉血バッグシステム。
  3. ヒトに瀉血療法を実施するためのバッグシステムであって、
    前記バッグシステムは、基本バッグシステム及び追加接続手段を具備する追加バッグシステムを含むものであり、
    前記基本バッグシステムは、
    採血針と、
    第一、第二及び第三の接続口を具備する第一の三方活栓と、
    第一の採血バッグを備え、
    前記採血針は、第一のチューブを介して前記第一の三方活栓の第一の接続口と接続され、
    前記第一の採血バッグは、第二のチューブを介して前記第一の三方活栓の第二の接続口と接続され、
    前記第一の三方活栓の第三の接続口に第一の被接続手段を有し、
    前記追加バッグシステムは、
    第一、第二及び第三の接続口を具備する第二の三方活栓と、
    第二の採血バッグを備え、
    前記第二の三方活栓の第一の接続口に、前記第一の三方活栓の第三の接続口に第一の被接続手段と接続可能な追加接続手段を有し、
    前記第二の採血バッグは、第三のチューブを介して前記第二の三方活栓の第二の接続口と接続され、
    前記第二の三方活栓の第三の接続口に、前記追加採血ラインの接続手段と接続可能な第二の被接続手段を有する
    ことを特徴とする瀉血バッグシステム。
  4. 瀉血療法を行うためのキットであって、
    前記キットは、瀉血バッグシステム及び接続手段を具備するシリンジを含むものであり、
    前記瀉血バッグシステムは、
    採血針と、
    第一、第二及び第三の接続口を具備する三方活栓と、
    採血バッグを備え、
    前記採血針は、第一のチューブを介して前記三方活栓の第一の接続口と接続され、
    前記採血バッグは、第二のチューブを介して前記三方活栓の第二の接続口と接続され、
    前記三方活栓の第三の接続口に、前記シリンジの接続手段と接続可能な被接続手段を有することを特徴とする瀉血療法用キット。
  5. 瀉血療法を行うためのキットであって、
    前記キットは、瀉血バッグシステム及び接続手段を具備する採血デバイスを含むものであり、
    前記瀉血バッグシステムは、
    採血針と、
    第一、第二及び第三の接続口を具備する三方活栓と、
    採血バッグを備え、
    前記採血針は、第一のチューブを介して前記三方活栓の第一の接続口と接続され、
    前記採血バッグは、第二のチューブを介して前記三方活栓の第二の接続口と接続され、
    前記三方活栓の第三の接続口に、前記採血デバイスの接続手段と接続可能な被接続手段を有することを特徴とする瀉血療法用キット。
  6. 瀉血療法を行うためのキットであって、
    前記キットは、瀉血バッグシステム及び接続手段を具備する輸液ラインを含むものであり、
    前記瀉血バッグシステムは、
    採血針と、
    第一、第二及び第三の接続口を具備する三方活栓と、
    採血バッグを備え、
    前記採血針は、第一のチューブを介して前記三方活栓の第一の接続口と接続され、
    前記採血バッグは、第二のチューブを介して前記三方活栓の第二の接続口と接続され、
    前記三方活栓の第三の接続口に、前記輸液ラインの接続手段と接続可能な被接続手段を有することを特徴とする瀉血療法用キット。
JP2008233782A 2008-09-11 2008-09-11 瀉血バッグシステム及び瀉血療法用キット Active JP5767769B2 (ja)

Priority Applications (1)

Application Number Priority Date Filing Date Title
JP2008233782A JP5767769B2 (ja) 2008-09-11 2008-09-11 瀉血バッグシステム及び瀉血療法用キット

Applications Claiming Priority (1)

Application Number Priority Date Filing Date Title
JP2008233782A JP5767769B2 (ja) 2008-09-11 2008-09-11 瀉血バッグシステム及び瀉血療法用キット

Publications (2)

Publication Number Publication Date
JP2010063712A true JP2010063712A (ja) 2010-03-25
JP5767769B2 JP5767769B2 (ja) 2015-08-19

Family

ID=42189837

Family Applications (1)

Application Number Title Priority Date Filing Date
JP2008233782A Active JP5767769B2 (ja) 2008-09-11 2008-09-11 瀉血バッグシステム及び瀉血療法用キット

Country Status (1)

Country Link
JP (1) JP5767769B2 (ja)

Cited By (2)

* Cited by examiner, † Cited by third party
Publication number Priority date Publication date Assignee Title
WO2015141429A1 (ja) * 2014-03-19 2015-09-24 テルモ株式会社 赤血球瀉血用回路および赤血球瀉血装置
JP2015181811A (ja) * 2014-03-25 2015-10-22 テルモ株式会社 赤血球瀉血用具

Citations (7)

* Cited by examiner, † Cited by third party
Publication number Priority date Publication date Assignee Title
US4219021A (en) * 1978-02-27 1980-08-26 Fink Joseph L Multi-position stop-cock valve for intravenous administration of multiple medications
JPH03112562A (ja) * 1989-09-27 1991-05-14 Terumo Corp 血液バッグ
JPH1084942A (ja) * 1996-09-19 1998-04-07 Terumo Corp 容器連結体および細菌培養方法
JP2000042105A (ja) * 1998-07-30 2000-02-15 Top:Kk 翼付針
JP2002516727A (ja) * 1998-06-01 2002-06-11 ハーベスト・テクノロジーズ・コーポレイション 血液を引出すための装置
JP2004275588A (ja) * 2003-03-18 2004-10-07 Terumo Corp 血液成分採取回路および血液バッグ
JP2006246985A (ja) * 2005-03-09 2006-09-21 Nipro Corp 臍帯血用バッグシステム、臍帯血採取方法および臍帯血処理方法

Patent Citations (7)

* Cited by examiner, † Cited by third party
Publication number Priority date Publication date Assignee Title
US4219021A (en) * 1978-02-27 1980-08-26 Fink Joseph L Multi-position stop-cock valve for intravenous administration of multiple medications
JPH03112562A (ja) * 1989-09-27 1991-05-14 Terumo Corp 血液バッグ
JPH1084942A (ja) * 1996-09-19 1998-04-07 Terumo Corp 容器連結体および細菌培養方法
JP2002516727A (ja) * 1998-06-01 2002-06-11 ハーベスト・テクノロジーズ・コーポレイション 血液を引出すための装置
JP2000042105A (ja) * 1998-07-30 2000-02-15 Top:Kk 翼付針
JP2004275588A (ja) * 2003-03-18 2004-10-07 Terumo Corp 血液成分採取回路および血液バッグ
JP2006246985A (ja) * 2005-03-09 2006-09-21 Nipro Corp 臍帯血用バッグシステム、臍帯血採取方法および臍帯血処理方法

Cited By (2)

* Cited by examiner, † Cited by third party
Publication number Priority date Publication date Assignee Title
WO2015141429A1 (ja) * 2014-03-19 2015-09-24 テルモ株式会社 赤血球瀉血用回路および赤血球瀉血装置
JP2015181811A (ja) * 2014-03-25 2015-10-22 テルモ株式会社 赤血球瀉血用具

Also Published As

Publication number Publication date
JP5767769B2 (ja) 2015-08-19

Similar Documents

Publication Publication Date Title
US20250161548A1 (en) Medication infusion devices, systems, and methods
EP1793737B1 (en) Apparatus for blood sampling
CA2669281C (en) Syringe for sequential expression of different liquids and method of using same
US6387086B2 (en) Blood processing set including an integrated blood sampling system
US5876366A (en) Kidney dialysis method and device
US20250099666A1 (en) Medication infusion devices, systems, and methods
JP2003516819A (ja) 閉鎖式アクセス装置
JP7068497B2 (ja) 吸引アセンブリ付きシリンジアダプタ
JPH05501071A (ja) 動脈/静脈への液体移送システム
JPH10500030A (ja) 逐次薬用流体吸入・注射装置および方法
KR20160001372U (ko) 주입 액체 용기와 함께 사용하기 위한 액체 전달 장치
WO2014209686A1 (en) Integrated closed iv line draw system
JP6711818B2 (ja) 穴あけ可能なバイアルを容器又は流体ラインに連結してバイアルの内容物を容器または流体ライン中に移送する器具およびこのような連結・移送を行う方法、並びにこのような器具の使用
JP2016533860A (ja) 医療用輸液装置及びその使用法
JP5767769B2 (ja) 瀉血バッグシステム及び瀉血療法用キット
KR102226362B1 (ko) 주사액 안전주입용 커넥터
JP2004503336A (ja) 液体をカテーテル内へ注入するための装置及び方法
RU2271834C1 (ru) Устройство для проведения безаппаратного мембранного плазмафереза по одноигольной схеме
JP4967183B2 (ja) 動脈または静脈ライン採血システム用採血デバイス、および該採血デバイスを使用した動脈または静脈ライン採血システム。
JP2546731B2 (ja) 血液バッグ
EA046563B1 (ru) Устройство, система и способ инфузии лекарственных средств
WO2013087962A1 (es) Dispositivo cerrado para el rellenado de cámaras de goteo en equipos de administración de citostáticos, equipo de seguridad y sistema de rellenado que los integra.

Legal Events

Date Code Title Description
A621 Written request for application examination

Free format text: JAPANESE INTERMEDIATE CODE: A621

Effective date: 20110414

A977 Report on retrieval

Free format text: JAPANESE INTERMEDIATE CODE: A971007

Effective date: 20121213

A131 Notification of reasons for refusal

Free format text: JAPANESE INTERMEDIATE CODE: A131

Effective date: 20130108

RD03 Notification of appointment of power of attorney

Free format text: JAPANESE INTERMEDIATE CODE: A7423

Effective date: 20130227

A521 Request for written amendment filed

Free format text: JAPANESE INTERMEDIATE CODE: A523

Effective date: 20130311

A521 Request for written amendment filed

Free format text: JAPANESE INTERMEDIATE CODE: A821

Effective date: 20130227

A131 Notification of reasons for refusal

Free format text: JAPANESE INTERMEDIATE CODE: A131

Effective date: 20130924

A02 Decision of refusal

Free format text: JAPANESE INTERMEDIATE CODE: A02

Effective date: 20140318

A521 Request for written amendment filed

Free format text: JAPANESE INTERMEDIATE CODE: A523

Effective date: 20140618

A911 Transfer to examiner for re-examination before appeal (zenchi)

Free format text: JAPANESE INTERMEDIATE CODE: A911

Effective date: 20140627

A912 Re-examination (zenchi) completed and case transferred to appeal board

Free format text: JAPANESE INTERMEDIATE CODE: A912

Effective date: 20140829

A61 First payment of annual fees (during grant procedure)

Free format text: JAPANESE INTERMEDIATE CODE: A61

Effective date: 20150622

R150 Certificate of patent or registration of utility model

Ref document number: 5767769

Country of ref document: JP

Free format text: JAPANESE INTERMEDIATE CODE: R150

R250 Receipt of annual fees

Free format text: JAPANESE INTERMEDIATE CODE: R250

R250 Receipt of annual fees

Free format text: JAPANESE INTERMEDIATE CODE: R250

R250 Receipt of annual fees

Free format text: JAPANESE INTERMEDIATE CODE: R250