JP2010063565A - コンパクト容器 - Google Patents

コンパクト容器 Download PDF

Info

Publication number
JP2010063565A
JP2010063565A JP2008231681A JP2008231681A JP2010063565A JP 2010063565 A JP2010063565 A JP 2010063565A JP 2008231681 A JP2008231681 A JP 2008231681A JP 2008231681 A JP2008231681 A JP 2008231681A JP 2010063565 A JP2010063565 A JP 2010063565A
Authority
JP
Japan
Prior art keywords
cosmetic dish
wall
container body
lid
pressing
Prior art date
Legal status (The legal status is an assumption and is not a legal conclusion. Google has not performed a legal analysis and makes no representation as to the accuracy of the status listed.)
Granted
Application number
JP2008231681A
Other languages
English (en)
Other versions
JP5241390B2 (ja
Inventor
Yuzo Yoshida
雄三 吉田
Yasuko Nakajima
靖子 中島
Current Assignee (The listed assignees may be inaccurate. Google has not performed a legal analysis and makes no representation or warranty as to the accuracy of the list.)
Yoshida Industry Co Ltd
Original Assignee
Yoshida Industry Co Ltd
Priority date (The priority date is an assumption and is not a legal conclusion. Google has not performed a legal analysis and makes no representation as to the accuracy of the date listed.)
Filing date
Publication date
Application filed by Yoshida Industry Co Ltd filed Critical Yoshida Industry Co Ltd
Priority to JP2008231681A priority Critical patent/JP5241390B2/ja
Publication of JP2010063565A publication Critical patent/JP2010063565A/ja
Application granted granted Critical
Publication of JP5241390B2 publication Critical patent/JP5241390B2/ja
Expired - Fee Related legal-status Critical Current
Anticipated expiration legal-status Critical

Links

Images

Landscapes

  • Closures For Containers (AREA)

Abstract

【課題】左開閉時の操作性を安定させることができ、組み付け性を良好にし、生産性も良好にすることができるコンパクト容器を提供する。
【解決手段】蓋体3が後壁21に回動自在に連結された容器本体2と、容器本体の左右側壁23、24に沿って、底壁25に形成される一対の短尺スリット27と、短尺スリットに面して、左右側壁に弾性変形可能に形成される一対の押圧壁29と、左右側壁の間で前後方向スライド自在に嵌着される化粧料皿4と、化粧料皿と蓋体とを係脱自在に係合して閉蓋状態を保持し、化粧料皿のスライド移動によって、その係合を解除するフック部と、化粧料皿に一体形成され、一対の押圧壁に向かって弓形に形成される、弾性変形自在な一対のアーム42とを有し、アームは、一端が化粧料皿に接合され、他端が容器本体に形成された支持部80に係合されるとともに、押圧壁の押圧操作により弾性変形されて、化粧料皿をスライド移動させる。
【選択図】図3

Description

本発明は、左右側壁を外方から押圧操作することで、容器本体と蓋体との係合状態を解除可能なコンパクト容器に関する。
従来、容器本体の両側壁の外方からの押圧操作で、蓋体を開放するコンパクト容器として、例えば特許文献1が知られている。
特許文献1のコンパクト容器は、容器本体の底壁部に、側壁部の長さ方向に沿って形成されるスリットにより、側壁部が容器本体内方へ押圧操作可能に弾性変形される。他方、容器本体には、その内部に中皿が収納され、中皿で覆われた底壁部には溝部が形成され、溝部には薄板状のスライドピースが設けられる。スライドピースは、弾性変形された側壁部によって押圧操作されることで、溝部内でスライド移動される。そして、スライドピースの前端側に形成され、スライドピースのスライド移動に応じて前後方向に移動する係合部が、蓋体に設けられる突起に係脱自在に係合されて、容器本体と蓋体とを係合する。
特開2007−289290号公報
ところで、背景技術にあっては、蓋体と容器本体とを係脱自在に係合するために、容器本体と中皿としての化粧料皿との間に、その前端部に係合部を形成したスライドピースが、別部品として組みこまれている。これにより、コンパクト容器の部品点数が多くなり、操作の際に安定感がないという課題があった。また、製造が繁雑になるという課題もあった。
本発明は上記従来の課題に鑑みて創案されたものであって、左右側壁を押圧操作することで、容器本体と蓋体との係合状態を解除可能なコンパクト容器において、開閉時の操作性を安定させ、組み付け性を良好にし、生産性も良好なコンパクト容器を提供することを目的とする。
蓋体が後壁に回動自在に連結された容器本体と、該容器本体の左右側壁に沿って、その前方部若しくは後方部の底壁に形成される一対の短尺スリットと、これら一対の短尺スリットに面して、該左右側壁に弾性変形可能に形成される一対の押圧壁と、該容器本体内に、左右側壁の間で前後方向スライド自在に嵌着される化粧料皿と、該化粧料皿と該蓋体の間に、これら化粧料皿と蓋体とを係脱自在に係合して該容器本体の閉蓋状態を保持し、該化粧料皿のスライド移動によって、その係合を解除するフック部と、該化粧料皿に一体形成され、該一対の押圧壁に向かって弓形に形成される、弾性変形自在な一対のアームとを有し、上記アームは、一端が上記化粧料皿に接合され、他端が上記容器本体に形成された支持部に係合されるとともに、上記押圧壁の押圧操作により弾性変形されて、該化粧料皿を前方若しくは後方のいずれか一方にスライド移動させることを特徴とする。
前記化粧料皿と、前記容器本体の前記後壁および前記前壁のいずれかとの間には隙間が形成され、該隙間内には、前方若しくは後方へスライド移動した該化粧料皿により弾性変形され、その弾性復原力によって該化粧料皿を元の位置へ押し戻す弾性変形部材が設けられることを特徴とする。
前記蓋体には、その前端に前記容器本体の前記前壁全体をその前方から覆う垂下前壁部が形成されることを特徴とする。
本発明にかかるコンパクト容器にあっては、左右側壁を押圧操作することで、容器本体と蓋体との係合状態を解除可能なコンパクト容器において、組み付け性を良好にし、生産性も良好にすることができる。また、開閉時の操作性を安定させることができるとともに、軽い力で蓋体を開閉でき、使用性を良好にすることができる。
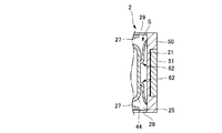
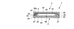
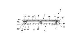
以下に、本発明にかかるコンパクト容器の好適な一実施形態を、添付図面を参照して詳細に説明する。本実施形態にかかるコンパクト容器1は基本的には、図1〜図5に示すように、蓋体3が後壁21に回動自在に連結された容器本体2と、容器本体2の左右側壁23、24に沿って、その前方部若しくは後方部の底壁25に形成される一対の短尺スリット27と、これら一対の短尺スリット27に面して、左右側壁23、24に弾性変形可能に形成される一対の押圧壁29と、容器本体2内に、左右側壁23、24の間で前後方向スライド自在に嵌着される化粧料皿4と、化粧料皿4と蓋体3の間に、これら化粧料皿4と蓋体3とを係脱自在に係合して容器本体2の閉蓋状態を保持し、化粧料皿4のスライド移動によって、その係合を解除するフック部と、化粧料皿4に一体形成され、一対の押圧壁29に向かって弓形に形成される、弾性変形自在な一対のアーム42とを有し、アーム42は、一端が42a上記化粧料皿4に接合され、他端42bが上記容器本体2に形成された支持部80に係合されるとともに、押圧壁29の押圧操作により弾性変形されて、化粧料皿4を前方若しくは後方のいずれか一方にスライド移動させる。
化粧料皿4と、容器本体2の後壁21および前壁22のいずれかとの間には隙間Sが形成され、隙間S内には、前方若しくは後方へスライド移動した化粧料皿4により弾性変形され、その弾性復原力によって化粧料皿4を元の位置へ押し戻す弾性変形部材が設けられる。
コンパクト容器1は主に、容器本体2と、蓋体3と、容器本体2内部に収納される化粧料皿4とからなる。容器本体2は合成樹脂材で形成される。容器本体2には、底壁25の周縁にその周方向に沿って、前壁22、後壁21、および左右の側壁23、24としての周側壁20が立設される。図示例にあっては、容器本体2は、前壁22および後壁21に対して、左右の側壁23、24の長さが長く、その平面外形輪郭が縦長の長方形状に形成される。容器本体2は縦長の長方形状に限られず、正方形などその他の形状であっても良い。
容器本体2には、蓋体3が回動自在に連結される。蓋体3は合成樹脂材で形成され、天板32の周縁にその周方向に沿って環状周壁部30が立設されて、容器本体2に合致する平面外形輪郭で皿状に形成される。蓋体3もまた縦長の長方形状に限られず、正方形などその他の形状であっても良い。天板32の裏面には、板状の鏡33が取り付けられる。環状周壁部30の前端部には、その一部として前壁部34が形成される。前壁部34は、閉蓋状態では、容器本体2の前壁部22の外面とほぼ段差なく形成される。
容器本体2の後壁21には、左右方向両端からそれぞれ後方へ突出させて、一対のヒンジ片50が形成される。ヒンジ片50の間には凹所53が形成される。また蓋体3の環状周壁部30には、これより凹所53内に垂下させて、ヒンジブロック51が形成される。そしてこれらヒンジブロック51とヒンジ片50との間には、それぞれヒンジピン54が挿入される。これによりヒンジ片50にヒンジブロック51が回動自在に連結されて、容器本体2を開閉すべく蓋体3が回動されるようになっている。
容器本体2には、周側壁20に取り囲まれて化粧料皿収納部5が形成される。化粧料皿収納部5には化粧料皿4が収納される。化粧料皿4は合成樹脂材で形成される。化粧料皿4には、前後方向2ヶ所に化粧料やパフなどの化粧具を収納するための前皿部43、および後皿部44が凹設される。他方、化粧料皿4には、前皿部43および後皿部44の周縁から、これらを取り囲むような形状の枠部45が形成される。枠部45は、その周縁部が容器本体2の周側壁20の周端縁よりも小さく、かつ、周側壁20の上面に重ねあわされる程度の大きさに形成される。これにより、化粧料皿4を化粧料皿収納部5に収納した状態で、枠部45の周縁部の下面が、容器本体2の周側壁20の上面に当接するようになっている。
また、化粧料皿4は、皿部43、44の前後方向の長さが、化粧料皿収納部5の前後方向の長さよりも短く形成されている。これにより、化粧料皿4は、化粧料皿収納部5内を前後方向にスライド自在に移動可能となる。
化粧料皿収納部5には、底壁25より立ち上げて嵌合部28が形成される。嵌合部28は、左側壁23および右側壁24にそれぞれ近接させて前後2ヶ所ずつに形成される。嵌合部28には、その上端より内方に突出させて嵌合片28aが形成される。底壁25の左右方向中央には、前後方向に沿って適宜な長さの案内片26が突出形成される。
前皿部43および後皿部44には、それぞれの左右両側壁の外面に、これより外方へむけて、嵌合部28に係止される係止部47が突設される。化粧料皿4は、係止部47が嵌合部28の嵌合片28aを乗り越えてこれに係止されることによって、左右側壁23、24間の化粧料皿収納部5内に前後方向スライド自在に嵌着される。
化粧料皿4には、その底面に、前皿部43の適宜位置から後皿部44全長に亘って、案内片26に嵌め合わされて、化粧料皿4の前後移動を案内する案内溝46が刻設される。
蓋体3には、これより化粧料収納部5内に垂下させて爪部70aが形成される。爪部70aには、その下端に、これより後方へ向けて突出させたフック70bが形成される。他方、化粧料皿4の枠部45前端には、フック70bに係合される係合部70cが垂下形成される。これらフック70bと係合部70cにより、フック部が構成される。化粧料皿4が後方へスライド移動すると、これに伴い、係合部70cも後方へ移動する。これにより、係合部70cとフック70bとの係合が解除される。
容器本体2の底壁25には、左右側壁23、24に沿って一対の短尺スリット27が形成される。短尺スリット27は、容器本体2の後方部の底壁25に形成される。ここで容器本体2の後方部とは、容器本体2の前後方向略中央位置から後端までをいい、前方部もまた、容器本体2の前後方向略中央位置から前端にかけてをいう。図示例にあっては、短尺スリット27は、底壁25に、左右それぞれの側壁23、24よりもわずかに内側に位置させて形成される。短尺スリット27は、容器本体2の後方部に、その底壁25を上下方向に真っ直ぐ貫通させた孔状に形成されている。これにより、短尺スリット27に対面する左右の側壁23、24には、弾性変形可能な押圧壁29が形成されることとなる。
容器本体2には、その前後方向略中央に支持部80が形成される。図示例にあっては、支持部80は、容器本体2の側壁23、24の内面より、これと一体的に化粧料皿4側に向けて延設される。支持部80は、短尺スリット27の直前に位置して形成される。支持部80の先端には、後方へ向けて突出したかぎ針状の留め部80aが形成される。容器本体2に化粧料皿4を収納した状態では、支持部80で化粧料皿4を係止し、化粧料皿4の前方移動を抑制している。
化粧料皿4には、容器本体2の左右の押圧壁29それぞれに面して、一対のアーム42が形成される。アーム42は、その一端42aが後皿部44の後壁外面に接合されて、化粧料皿4に一体形成される。アーム42は弾性変形可能に形成される。図示例にあっては、アーム42は、後皿部44の後壁外面より押圧壁29に沿って、後皿部44の側壁全体を覆うような長さに延設されており、かつ、押圧壁29に向かって弓形に形成されている。
アーム42の他端42bは、支持部80に係合される。図示例にあっては、アーム42の他端42bは、支持部80の後面に当接されており、これによって前方への移動が抑制されている。押圧壁29を押圧操作すると、アーム42に内側への押圧力かかり、他端42bが留め部80aにむけて、支持部80の後面をスライド移動する。そして、スライド移動した他端42bが留め部80bに支持されることで支点となり、弓形のアーム42が弾性変形して後方へ延び、化粧料皿4全体を後方へスライド移動させる。
化粧料皿4と、後壁21および前壁22のいずれかとの間には、適宜な間隔の隙間Sが形成される。隙間S内には、後方へスライド移動した化粧料皿4により弾性変形し、その弾性復原力によって、化粧料皿4を押圧操作前の元の位置へ押し戻す弾性変形部材が設けられる。
図示例にあっては、後皿部44の後壁と、容器本体2の後壁21との間に隙間Sが形成されており、隙間S内に弾性変形部材としてゴム状バネ60が配設されている。ゴム状バネ60は、容器本体2の後壁21内面から突出させた突起に嵌合させて配設されている。ゴム状バネ60前端は、後皿部44の後壁に当接されている。押圧壁29の押圧操作により、化粧料皿4が後方へスライド移動して隙間Sの領域が狭まると、ゴム状バネ60は、隙間S内で圧縮される。そして、側壁23、24の押圧操作を解除すると、その復原力によって、化粧料皿4を元の位置まで前方へスライド移動させる。
次に、本実施形態にかかるコンパクト容器1の作用を説明する。コンパクト容器1を製作するにあっては、係止部47を嵌合部28の嵌合片28aに係止させて、化粧料皿収納部5内に化粧料皿4を前後方向スライド自在に嵌着する。この際、支持部80にアーム42の他端部42bを係合させつつ後皿部44を係止する。そして、ヒンジブロック51とヒンジ片50にヒンジピン54を連通して、容器本体2に蓋体3を回動自在に連結する。
蓋体3を開放するにあっては、コンパクト容器1を下から支えるように片手で持ち、押圧壁29を手指などで押圧する。すると、アーム42が弾性変形し、化粧料皿4が後方へスライド移動する。具体的には、アーム42の他端42bが、支持部80の後面を留め部80aまで移動し、留め部80aを支点にアーム42が弾性変形して化粧料皿4が後方へスライド移動する。これに伴い、係合部70cも後方へスライド移動し、これとフック70bとの係合が解除される。係合が解除された後、手指などで蓋体3を開放する。
他方、押圧壁29を押圧操作すると、化粧料皿4が後方へスライド移動したことによって、隙間S内の領域が狭まりゴム状バネ60が圧縮する。押圧壁29の押圧操作を解除すると、隙間S内のゴム状バネ60が復原する。これに伴って、押圧操作する前の元の位置まで、化粧料皿4が前方へスライド移動する。
蓋体3を閉止するにあっては、手指などで蓋体3を上方から押圧する。すると、係合部70cが、フック70bに押圧されて化粧料皿4とともに後方へ移動し、フック70bが、係合部70cを乗り越えてこれに係合される。
上記コンパクト容器1は、背景技術のように、フック機能を有し、前後方向にスライド移動するスライドピースを別部品として設けたコンパクト容器に比べて、化粧料皿4自体に、係合部70cとアーム42を形成したことによって、押圧壁29を押圧操作すれば、その押圧力が押圧壁29から、アーム42を介して化粧料皿4へ直接作用するため、開蓋などの操作性を安定することができる。
これに加えて、係合部70cとアーム42とを化粧料皿4に一体成形したことによって、容器本体2、蓋体3および化粧料皿4という、コンパクト容器1の基本構成部品のみで開蓋操作を行うことができるため、上述のスライドピースなどの構成部品が必要なく、部品点数を少なくでき、組み付け性を良くすることができるとともに、製造コストを削減できることで生産性を良くすることもできる。
短尺スリット27が、容器本体2の後方部にのみ形成されていることで、後方部の側壁23、24のみに押圧壁29が形成されている。これによって、使用者が、操作に必要な場所を的確に押圧操作することができ使用性が良好となる。加えて、この押圧壁29のほぼ全長に亘ってアーム42が形成されているため、軽い力で操作ができるなど、使用性がさらに良好となる。
本実施形態では、短尺スリット27は底壁25の後方部側に形成されていたがこれに限られず、前方部側の底壁25に形成してもよい。この場合は、押圧壁29は、容器本体2の前方側の側壁23、24に形成されることなり、これに対応させて、アーム42及び支持部80を形成することとなる。
弾性変形部材を、化粧料皿4と容器本体2の後壁21の間に設けたことによって、押圧壁29への押圧操作を解除すれば、化粧料皿4を元の位置へ押し戻すことができ、確実な閉蓋操作が可能となる。
本実施形態では、化粧料皿4は、2つの皿部43、44を有するものであった。しかし、化粧料皿4の形状はこれに限られず、例えば、1つの皿部を有するものであっても良い。この場合、アーム42の他端は、化粧料皿4の側壁に接合される。
本実施形態では、隙間Sに配設される弾性変形部材はゴム状バネ60であった。しかしながら、弾性変形部材の形状や材質については上記実施形態に限られず、例えば図6に示すように、金属製や合成樹脂製の板状バネ61を隙間S内に配設してもよい。また、図7に示すように、一対の合成樹脂製の弓形状バネ62を化粧料皿4に一体成形してもよい。このように、化粧料皿4一体成形することで、操作の安定性を確保でき、部品点数を少なくして、組み付け性、生産性を向上させることができる。
次に本実施形態にかかるコンパクト容器1のフック部の変形例を説明する。本変形例にあっては、図8に示すように前壁部34に代えて、蓋体3前端に、容器本体2の前壁22全体をその前方から覆う、垂下前壁部31が形成される。容器本体2には、その前壁22に、これを前後方向に貫通する孔部22aが形成される。化粧料皿4の前端部40には、前皿部43の前壁の外面から前方へ突出させて、孔部22aに挿抜自在に挿入される平板状のフック41が延設される。他方、蓋体3の垂下前壁部31には、容器本体2の前壁22に面する裏面に、孔部22aから突出したフック41と係脱自在に係合する凹溝状の係合部31aが形成される。化粧料皿収納部5内で化粧料皿4が前方へスライド移動すると、フック41が前壁22の孔部22aを介して係合部31aと係合する。フック41と係合部31aによりフック部が構成される。フック部が化粧料皿4と蓋体3との係合状態を維持することによって容器本体2の閉蓋状態が保持される。
本変形例では、蓋体3に垂下前壁部31を設けるようにしている。これによって閉蓋時には、垂下前壁部31が容器本体2の前壁22全体を覆うこととなり、コンパクト容器1全体の外観を良好にすることができる。これに加えて、フック41を化粧料皿4の前端部40に形成し、容器本体2の前壁22の孔部22aから突出させたことで、化粧時などに、周囲に飛散する化粧料が、孔部22aやフック41の周囲に付着しにくいため、操作不良などの不具合を起こりにくくすることができる。
次に、本発明にかかるコンパクト容器の第2実施形態を詳細に説明する。本実施形態にあっては、第1実施形態との差異のみを説明する。
本実施形態にかかるコンパクト容器1は、押圧壁29の押圧操作によって化粧料皿4が前方へスライド移動する形態である。アーム42は、その一端42aが後皿部44の前壁外面に接合された状態で、化粧料皿4に一体形成される。具体的には、図9〜図11に示されるように、アーム42は、後皿部44の前壁外面より押圧壁29に沿って、後皿部44の側壁全体を覆う程度の長さに延設されており、かつ、押圧壁29に向かって弓形に形成されている。
他方、アーム42の他端42bを係合する支持部80は、左右側壁23、24の後方部側の適宜位置に形成される。図示例にあっては、支持部80は、後壁21の直前位置であって、左右側壁23、24から内側に向かって真っ直ぐに延設された板状に形成される。アーム42の他端42bは、支持部80の前面80cに当接されることで係合されている。押圧壁29を押圧操作すると、他端42bが支持部80の前面80cに支持されて支点となり、アーム42に押圧力がかかることで、アーム42が弾性変形し、化粧料皿4全体を後方へスライド移動させる。
隙間Sは、化粧料皿4と容器本体2の前壁22との間に設けられ、隙間S内には弾性変形部材としてゴム状バネ60が設けられる。化粧料皿4が前方へスライド移動して隙間Sの領域が狭まると、ゴム状バネ60は、化粧料皿4に押圧されて隙間S内で圧縮される。押圧壁29の押圧操作を解除すると、ゴム状バネ60が弾性復原されて、化粧料皿4を元の位置まで後方へスライド移動させる。
本実施形態にかかるコンパクト容器1のフック部形状を図12に示す。蓋体3と化粧料皿4との間にはフック部が形成される。フック部は、化粧料皿4の枠部45前端に形成される孔状の係合部75と、蓋体3の天板32前方より垂下形成されて係合部75に挿入し、かつ、その先端が前方に突出していることで係合部75に係脱自在に係合するフック76とから構成される。
また、枠部45の前端に第1傾斜部45aが形成され、蓋体3の前壁部34の内側に第1傾斜部45aに対応させた第2傾斜部34aが形成される。
開蓋時には、係合部75が、化粧料皿4とともに前方にスライド移動し、フック76から逸脱してフック部の係合が解除される。この後、第1傾斜部45aが第2傾斜部34aに当接してこれを押し上げ、蓋体3を浮き上がらせる。そしてこの蓋体3を手指などで完全に解放する。
さらに、フック76前端と係合部75の前端とに、互いに対面する一対の傾斜面78が形成されており、使用後は、蓋体3を手指で容器本体2方向に押し込むと、これら傾斜面78が互いに摺動することによって、化粧料皿4を前方へスライド移動させ、スムースに係合部75にフック76が係合される。
本実施形態では、支持部80は、側壁23、24の後方から延設されて形成されていた。しかしながら、例えば、容器本体2の後壁21自体を、アーム42の他端42bを固定する支持部80とすることもできる。このようにすれば、部品点数を削減することができる。
次に第2実施形態にかかるフック部の第1変形例を説明する。本変形例にあっては、先に図12を用いて説明したフック部との差異のみを説明する。
本変形例にあっては、図13に示すように、化粧料皿4の前皿部43の前壁外面には、これより前方へ突設され、その上面に前方から後方にかけて上昇する傾斜面77aを有する突片77が形成される。開蓋時には、化粧料皿4の前方へのスライド移動に伴い、突片77がの傾斜面77aがフック76の後端に当接しながらこれを押し上げつつスライドし、係合部75との係合が解除されたフック76上方へ押し上げて蓋体3を浮き上がらせる。
次に第2実施形態にかかるフック部の第2変形例を図14を用いて説明する。この図では、開蓋過程のフック部形状を示している。蓋体3に垂下前壁部31が形成された形態である。化粧料皿4には、前皿部43の前壁外面から前方へ突出させて押し上げフック71が形成される。押し上げフック71は、前皿部43の前壁外面から前方へ突出させた突出部71aと、突出部71aの前端に設けられ、上下方向へ可撓変形可能な可撓部71bと、可撓部71bの前端にほぼ断面三角形状に形成される押し上げ部72とから構成される。押し上げ部72には、その下面に化粧料皿4の前方へのスライド移動に従い、順次上昇する上向き傾斜面72aが形成され、また、上面に化粧料皿4の前方へのスライド移動に従い、係合部31aを押し上げる押し上げ面72bが形成される。また、容器本体2には、その前壁22に、押し上げフック71を前後方向に貫通する孔部22aが形成され、孔部22aには、押し上げ部72のスライド方向に順次上昇させて形成され、上向き傾斜面72aを摺接するガイド斜面22bが形成される。
容器本体2の前壁22上方には、蓋体3に係止される第1係止部73が突出形成され、蓋体3の垂下前壁部31には、第1係止部73に面して、第1係止部73を係脱自在に係止させる凹状の第2係止部74が形成される。第1係止部73および第2係止部74が互いに係止されて閉蓋状態が保持される。
開蓋操作の際は、押圧壁29を内側へ押圧して化粧料皿4が前方へスライド移動すると、これに伴って押し上げフック71が前方へ押し込まれる。押し上げ部72は、その上向き傾斜面72aがガイド斜面22bに摺接されることにより、可撓部71bが上方へ可撓変形しながら順次上昇し、押し上げ面72が蓋体3の係合部31aに当接されてこれを押し上げる。蓋体3が押し上げられたことによって、第1係止部73および第2係止部74の係止状態が解除される。
コンパクト容器1の使用後は、蓋体3を容器本体2側に押し込み操作をすると、押し上げ部72を乗り越えてこれに係合部31aが係合されるとともに、第1係止部73を乗り越えて第2係止部74がこれに係止されることで閉蓋される。
本発明にかかるコンパクト容器の好適な第1実施形態を示す、上方から見た分解斜視図である。 図1に示したコンパクト容器を、下方から見た分解斜視図である。 図1に示したコンパクト容器の平断面図である。 図3に示したコンパクト容器のA−A断面図である。 図1に示したコンパクト容器の側断面図である。 図1のコンパクト容器の隙間内に弾性変形部材として板状バネ配設した状態を示す要部拡大平断面図である。 図1のコンパクト容器の隙間内に弾性変形部材として弓形状バネを配設した状態を示す要部拡大平断面図である。 第1実施形態にかかるコンパクト容器において、フック部の変形例を示す要部拡大側断面図である。 本発明にかかるコンパクト容器の第2実施形態示す、上方から見た分解斜視図である。 図9に示したコンパクト容器を、下方から見た分解斜視図である。 図9のコンパクト容器を押圧した状態を示す、平断面図である。 第2実施形態にかかるコンパクト容器において、フック部の形状を示す要部拡大側断面図である。 第2実施形態にかかるコンパクト容器において、フック部の第1変形例を示すフック部の要部拡大側断面図である。 第2実施形態にかかるコンパクト容器において、フック部の第2変形例を示す開蓋過程の要部拡大側断面図である。
符号の説明
1 コンパクト容器
2 容器本体
3 蓋体
4 化粧料皿
21 後壁
22 前壁
23 左側壁
24 右側壁
25 底壁
27 短尺スリット
29 押圧壁
31 垂下前壁部
40 前端部
42 操作片
60 ゴム状バネ
75 係合部
76 フック
80 支持部
S 隙間

Claims (3)

  1. 蓋体が後壁に回動自在に連結された容器本体と、
    該容器本体の左右側壁に沿って、その前方部若しくは後方部の底壁に形成される一対の短尺スリットと、
    これら一対の短尺スリットに面して、該左右側壁に弾性変形可能に形成される一対の押圧壁と、
    該容器本体内に、左右側壁の間で前後方向スライド自在に嵌着される化粧料皿と、
    該化粧料皿と該蓋体の間に、これら化粧料皿と蓋体とを係脱自在に係合して該容器本体の閉蓋状態を保持し、該化粧料皿のスライド移動によって、その係合を解除するフック部と、
    該化粧料皿に一体形成され、該一対の押圧壁に向かって弓形に形成される、弾性変形自在な一対のアームとを有し、
    上記アームは、一端が上記化粧料皿に接合され、他端が上記容器本体に形成された支持部に係合されるとともに、上記押圧壁の押圧操作により弾性変形されて、該化粧料皿を前方若しくは後方のいずれか一方にスライド移動させることを特徴とするコンパクト容器。
  2. 前記化粧料皿と、前記容器本体の前記後壁および前記前壁のいずれかとの間には隙間が形成され、該隙間内には、前方若しくは後方へスライド移動した該化粧料皿により弾性変形され、その弾性復原力によって該化粧料皿を元の位置へ押し戻す弾性変形部材が設けられることを特徴とする請求項1に記載のコンパクト容器。
  3. 前記蓋体には、その前端に前記容器本体の前記前壁全体をその前方から覆う垂下前壁部が形成されることを特徴とする請求項1または2に記載のコンパクト容器。
JP2008231681A 2008-09-10 2008-09-10 コンパクト容器 Expired - Fee Related JP5241390B2 (ja)

Priority Applications (1)

Application Number Priority Date Filing Date Title
JP2008231681A JP5241390B2 (ja) 2008-09-10 2008-09-10 コンパクト容器

Applications Claiming Priority (1)

Application Number Priority Date Filing Date Title
JP2008231681A JP5241390B2 (ja) 2008-09-10 2008-09-10 コンパクト容器

Publications (2)

Publication Number Publication Date
JP2010063565A true JP2010063565A (ja) 2010-03-25
JP5241390B2 JP5241390B2 (ja) 2013-07-17

Family

ID=42189709

Family Applications (1)

Application Number Title Priority Date Filing Date
JP2008231681A Expired - Fee Related JP5241390B2 (ja) 2008-09-10 2008-09-10 コンパクト容器

Country Status (1)

Country Link
JP (1) JP5241390B2 (ja)

Cited By (1)

* Cited by examiner, † Cited by third party
Publication number Priority date Publication date Assignee Title
CN109952045A (zh) * 2016-09-07 2019-06-28 罗伯茨肯特拿公司 用于容纳化妆品的化妆盒和装置

Families Citing this family (1)

* Cited by examiner, † Cited by third party
Publication number Priority date Publication date Assignee Title
JP2010139619A (ja) 2008-12-10 2010-06-24 Konica Minolta Business Technologies Inc 画像形成装置

Citations (3)

* Cited by examiner, † Cited by third party
Publication number Priority date Publication date Assignee Title
JPS5973213U (ja) * 1982-11-09 1984-05-18 吉田工業株式会社 サイドプツシユ式コンパクト容器
JPH07227312A (ja) * 1994-02-18 1995-08-29 Yoshida Kogyo Kk <Ykk> 化粧料容器
JP2007289290A (ja) * 2006-04-21 2007-11-08 Yoshida Industry Co Ltd コンパクト容器

Patent Citations (3)

* Cited by examiner, † Cited by third party
Publication number Priority date Publication date Assignee Title
JPS5973213U (ja) * 1982-11-09 1984-05-18 吉田工業株式会社 サイドプツシユ式コンパクト容器
JPH07227312A (ja) * 1994-02-18 1995-08-29 Yoshida Kogyo Kk <Ykk> 化粧料容器
JP2007289290A (ja) * 2006-04-21 2007-11-08 Yoshida Industry Co Ltd コンパクト容器

Cited By (2)

* Cited by examiner, † Cited by third party
Publication number Priority date Publication date Assignee Title
CN109952045A (zh) * 2016-09-07 2019-06-28 罗伯茨肯特拿公司 用于容纳化妆品的化妆盒和装置
CN109952045B (zh) * 2016-09-07 2022-03-04 罗伯茨肯特拿公司 用于容纳化妆品的化妆盒和装置

Also Published As

Publication number Publication date
JP5241390B2 (ja) 2013-07-17

Similar Documents

Publication Publication Date Title
JP5260199B2 (ja) コンパクト容器
JP4762635B2 (ja) 気密コンパクト容器
US6902333B2 (en) Container capable of moving a contained article in longitudinal direction
JP5241390B2 (ja) コンパクト容器
JP5241389B2 (ja) コンパクト容器
JP5260200B2 (ja) コンパクト容器
JP4549653B2 (ja) 化粧料容器
JP4038235B2 (ja) 容器
JP4954597B2 (ja) コンパクト容器
JP4920294B2 (ja) コンパクト容器
JP7292809B2 (ja) コンパクト容器
JP7631171B2 (ja) コンパクト容器およびプッシュピース
JP4498712B2 (ja) 化粧料容器
JP2600683Y2 (ja) コンパクト容器
JP4970911B2 (ja) 化粧料容器
JP4707429B2 (ja) スライド式コンパクト容器
JPH0228813Y2 (ja)
JP4037396B2 (ja) 液体貯留ポット
JP2005052260A (ja) コンパクト容器
JPH026881Y2 (ja)
JP7221065B2 (ja) 蓋付き容器
JP5642431B2 (ja) コンパクト容器
JPH0513294Y2 (ja)
JP2018042778A (ja) 収納ケース
JP2545024Y2 (ja) 蓋付き容器のフック構造

Legal Events

Date Code Title Description
A621 Written request for application examination

Free format text: JAPANESE INTERMEDIATE CODE: A621

Effective date: 20110831

TRDD Decision of grant or rejection written
A01 Written decision to grant a patent or to grant a registration (utility model)

Free format text: JAPANESE INTERMEDIATE CODE: A01

Effective date: 20130319

A977 Report on retrieval

Free format text: JAPANESE INTERMEDIATE CODE: A971007

Effective date: 20130322

A61 First payment of annual fees (during grant procedure)

Free format text: JAPANESE INTERMEDIATE CODE: A61

Effective date: 20130402

FPAY Renewal fee payment (event date is renewal date of database)

Free format text: PAYMENT UNTIL: 20160412

Year of fee payment: 3

R150 Certificate of patent or registration of utility model

Free format text: JAPANESE INTERMEDIATE CODE: R150

R250 Receipt of annual fees

Free format text: JAPANESE INTERMEDIATE CODE: R250

LAPS Cancellation because of no payment of annual fees