JP2010061926A - シールド線の止水方法 - Google Patents

シールド線の止水方法 Download PDF

Info

Publication number
JP2010061926A
JP2010061926A JP2008225212A JP2008225212A JP2010061926A JP 2010061926 A JP2010061926 A JP 2010061926A JP 2008225212 A JP2008225212 A JP 2008225212A JP 2008225212 A JP2008225212 A JP 2008225212A JP 2010061926 A JP2010061926 A JP 2010061926A
Authority
JP
Japan
Prior art keywords
heat
wire
shrinkable tube
drain
drain wire
Prior art date
Legal status (The legal status is an assumption and is not a legal conclusion. Google has not performed a legal analysis and makes no representation as to the accuracy of the status listed.)
Granted
Application number
JP2008225212A
Other languages
English (en)
Other versions
JP5391613B2 (ja
Inventor
Naoya Nishimura
直也 西村
Current Assignee (The listed assignees may be inaccurate. Google has not performed a legal analysis and makes no representation or warranty as to the accuracy of the list.)
Sumitomo Wiring Systems Ltd
AutoNetworks Technologies Ltd
Sumitomo Electric Industries Ltd
Original Assignee
Sumitomo Wiring Systems Ltd
AutoNetworks Technologies Ltd
Sumitomo Electric Industries Ltd
Priority date (The priority date is an assumption and is not a legal conclusion. Google has not performed a legal analysis and makes no representation as to the accuracy of the date listed.)
Filing date
Publication date
Application filed by Sumitomo Wiring Systems Ltd, AutoNetworks Technologies Ltd, Sumitomo Electric Industries Ltd filed Critical Sumitomo Wiring Systems Ltd
Priority to JP2008225212A priority Critical patent/JP5391613B2/ja
Publication of JP2010061926A publication Critical patent/JP2010061926A/ja
Application granted granted Critical
Publication of JP5391613B2 publication Critical patent/JP5391613B2/ja
Expired - Fee Related legal-status Critical Current
Anticipated expiration legal-status Critical

Links

Images

Landscapes

  • Manufacturing Of Electric Cables (AREA)

Abstract

【課題】シールド線の端末から引き出したドレン線の止水処理を簡単かつ確実に行う。
【解決手段】シールド線のコネクタ接続側の端末で、シースより引き出した撚線導体からなるドレン線に、先端の端子接続側から前記シース端との間に隙間をあけた位置まで熱収縮チューブを被せ、該熱収縮チューブを端子接続側から所要領域を部分的に加熱して先に熱収縮させてドレン線の外周に密着させ、ついで、前記シース側の未収縮の熱収縮チューブの先端開口から粉末状または棒状とした固形の熱硬化性樹脂を熱収縮チューブの内周面とドレン線の外周面の隙間に供給し、その後、前記熱収縮チューブの未収縮側を加熱し、前記熱硬化性樹脂を溶融させてドレン線の素線間およびドレン線と熱収縮チューブの内周面の隙間に充填すると共に、熱収縮チューブを熱収縮させてドレン線の外周面に密着させている。
【選択図】図1

Description

本発明はシールド線の止水方法に関し、詳しくは、シールド線端末のコア線とドレン線をコネクタ接続する場合に、ドレン線の止水を簡単かつ確実に行うものである。
従来、シールド線は、複数本あるいは1本の絶縁被覆線からなるコア線を金属繊維からなる編組チューブ内に通し、あるいは、コア線に金属箔を縦添えしてシールド層を設け、該シールド層を絶縁樹脂層からなるシース(外被)で被覆している。
前記シールド層のアース接続は、例えば、シースの端末を除去してシールド層を露出させ、該シールド層の金属編組を縒ってドレン線とし、該ドレン線にアース端子を接続している。
金属編組を縒って形成したドレン線に変えて、絶縁被覆していない裸導体からなるドレン線をコア線と共に配線して金属編組または金属箔からなるシールド層およびシースで被覆したシールド線が提供されている。
該シールド線では、ドレン線を引き出し、該ドレン線の端末にアース端子を接続すればよく、金属編組を縒ってドレン線を形成する場合と比較して、シールド層のアース接続を簡単に行うことができる。
該ドレン線の端末に接続したアース端子をコア線の端末に接続した端子と共に防水コネクタに接続する場合、ドレン線は絶縁被覆されていないために防水処理を施す必要がある。
このドレン線の防水対策として、特開2000−323201号公報(特許文献1)で、図6に示すように、金属編組100をシース101から引き出し、引き出した金属編組100に単芯線からなる導体を絶縁被覆したドレン線102をスプライス接続し、該ドレン線102の端末にアース端子103を接続している。かつ、金属編組100とドレン線102との接続部は熱収縮チューブ104で囲んで止水している。
前記のようにドレン線102の導体を撚線では無く単芯線とすることで導体に水が侵入しないようにし、かつ、金属編組100とドレン線102との接続部を熱収縮チューブ104で被覆することにより、接続部からの浸水発生を防止している。
特開2000−323201号公報
ドレン線102として単芯線を用いると、単芯線は撚線と比較して撓みにくいため、アース端子との圧着接続部での電気接続信頼性の点で問題がある。かつ、該ドレン線102と金属編組100とのスプライスを圧着端子を用いて行うと、作業工数が増えると共に部品点数も増加する。さらに、該スプライス部をシールド線のシースの外周に配置し、スプライス部をシースと共に熱収縮チューブ104で被覆するため、シールド線の端末が肥大化すると共に作業工数および部品点数が増加する問題がある。
本発明は、前記問題に鑑みてなされたもので、ドレン線の導線として圧着端子との電気接続信頼性が高い撚線を用い、かつ、撚線からなるドレン線の止水が確実に行えると共に、該止水部分が肥大化することなく、作業工数および部品点数が低減できるシールド線の止水方法を提供することを課題としている。
前記課題を解決するため、本発明は、シールド線のコネクタ接続側の端末で、シースより引き出した撚線導体からなるドレン線に、先端の端子接続側から前記シース端との間に隙間をあけた位置まで熱収縮チューブを被せ、
前記熱収縮チューブを端子接続側から所要領域を部分的に加熱して先に熱収縮させてドレン線の外周に密着させ、
ついで、前記シース側の未収縮の熱収縮チューブの先端開口から粉末状または棒状とした固形の熱硬化性樹脂を熱収縮チューブの内周面とドレン線の外周面の隙間に供給し、
その後、前記熱収縮チューブの未収縮側を加熱し、前記熱硬化性樹脂を溶融させてドレン線の素線間およびドレン線と熱収縮チューブの内周面の隙間に充填すると共に、熱収縮チューブを熱収縮させてドレン線の外周面に密着させていることを特徴とする車両配索用のシールド線の止水方法を提供している。
前記本発明のシールド線の止水方法は、ドレン線を被覆して擬似被覆電線とする熱収縮チューブを段階的に加熱することと、止水剤として固形状とした熱硬化性樹脂を用いていることを特徴としている。前記熱収縮チューブとしては住友電工ファインポリマー製のスミチューブ(登録商標)、レイケム製の収縮チューブが好適に用いられる。
電気接続箱や電子制御ユニットとコネクタ接続するシールド線において、該シールド線のコア線とドレン線の端末にコネクタ接続用の端子を圧着接続しており、その際、絶縁被覆されていないドレン線からの端子を通してコネクタ内への浸水の発生を防止するため、ドレン線に止水処理を施している。
該止水処理は、前記のように、シールド線の先端から引き出したドレン線に熱収縮チューブを被覆してコア線と同様な絶縁被覆された擬似被覆電線とし、撚線からなるドレン線に浸水が発生して、撚線の隙間を通って端子側へと水が浸入していくのを防止している。
かつ、ドレン線をシースから引き出した部位で浸水が発生して、ドレン線の撚線を通して端子側へと浸水していくのを防止するため、前記熱収縮チューブの端子接続側は先に加熱して収縮させて撚線の外周に密着させている一方、シース側では熱収縮チューブを加熱せずに、撚線との間に隙間をあけている。この隙間のシース側の開口端から粉末状または棒状とした熱硬化性樹脂を供給している。
このように、熱収縮チューブの端子接続側を先に部分的に収縮しておくことで、前記熱硬化性樹脂からなる止水剤の充填領域を規定し、充填した止水剤が端子側まで流れていくことを防止できる。かつ、未収縮部の隙間に止水剤を充填するだけで良いため、止水剤の供給量を少量に定量化することができる。
また、止水剤を熱硬化性樹脂からなる粉末状または棒状としているため、粘性の止水剤を供給する場合と比較して、供給時における止水剤が垂れることが無く、止水剤の取り扱いが容易となる。かつ、止水剤として熱硬化性樹脂を用いているため、止水剤の溶融温度まで加熱して溶融させた後、加熱を停止して常温とすると迅速に硬化する。該硬化するまでの時間を湿気硬化型のシリコーン等と比較すると大幅に短縮できる。具体的には、シリコーンを止水剤として用いた場合、硬化までの時間が8時間程度かかるのに対して、熱硬化性樹脂からなる止水剤では1分以下で硬化させることができ、熱収縮チューブの収縮が終わると同時に止水剤の硬化も終了している。
このように、硬化までの時間を大幅に短縮できるため、工場の作業スペース(仕掛品置き場)を大幅に削減することができる。
さらに、ドレン線の撚線に熱収縮チューブを被覆して擬似電線化していると共に、止水剤の充填箇所もシース側のみに限られ、かつ、止水剤の充填部も熱収縮チューブが密着して被覆するため、ドレン線の外径はコア線の外径と同等程度となり、止水処理によるシールド線をスリム化でき、肥大を防止できる。
特に、端子圧着側ではドレン線の撚線と熱収縮チューブとの間には止水剤を充填していないため、ドレン線はシース側と比較して小径化できるとともに柔軟性を保持させることができる。該端子との圧着部と近接した部分はコネクタの端子収容室から引き出される根元部分となるため、小径且つ柔軟性を保持していることにより、コネクタとの接続作業性に影響を与えない。
前記ドレン線に被せた熱収縮チューブは、前記シースの先端との間に5mm〜10mmの隙間をあけ、該隙間から前記未収縮の熱収縮チューブの先端開口から前記熱硬化性樹脂を挿入し、
前記熱収縮した後に、該熱収縮チューブの先端と前記シースとの間のドレン線の露出部に保護テープを巻き付けていることが好ましい。
本発明では、未収縮部分の熱収縮チューブの先端開口から固形状の熱硬化性樹脂からなる止水剤を供給している。よって、止水剤の供給空間を確保する必要があり、前記のように、熱収縮チューブとシースの先端との間に5mm〜10mmの隙間をあけている。
このように隙間を空けているため、ドレン線を保護するために、収縮後に熱収縮チューブとシースとの間に保護テープを巻き付けている。なお、該保護テープを巻き付けずに前記隙間から浸水が発生しても、止水剤の充填部位で浸水が先端の端子接続側へと浸入するのを防止できる。しかし、前記隙間からドレン線を保護するためには前記保護テープを巻き付けておくことが好ましい。
具体的には、コア線およびドレン線はシースの先端から40mm〜80mm引き出し、ドレン線の端子圧着部から20mm〜50mmの領域の前記熱収縮チューブを先に熱収縮し、未収縮の15mm〜25mmの熱収縮チューブを後から熱収縮していることが好ましい。即ち、引き出したドレン線の長さ方向の約半分程度の端子接続側を先に熱収縮している。
前記のように止水剤の充填領域を15mm〜25mmと狭い範囲としているが、ドレン線の撚線の隙間および撚線と熱収縮チューブの内周面との間に止水剤が確実に充填される部位があれば、該部位で浸水した水が端子側へと浸入していくのを確実に防止できる。
粉末または棒状とした固形の熱硬化性樹脂を供給する前に、撚線からなるドレン線の撚りを戻しておくと、溶融した熱硬化性樹脂の浸透性を高めることができ、確実に空隙の発生を防止できる。
止水剤として用いる前記熱硬化性樹脂としては、エポキシ樹脂が好適に用いられる。
エポキシ樹脂は安価であり、かつ、融点が熱収縮チューブの収縮温度以下である。よって、熱収縮チューブの収縮温度で固形状の粉末や棒状体から溶融させることができ、止水剤を溶融させるために熱収縮チューブを過度に加熱する必要がなく、加熱による熱収縮チューブへの悪影響を防止できる。
前記コア線の芯線及びドレン線の端末に圧着端子を圧着接続している。ドレン線は撚線から形成して圧着端子との圧着性能を高めているため、特許文献1の単芯線を用いる場合と比較して電気接続信頼性を高めることができる。
また、前記シールド線のコア線およびドレン線の端末に圧着接続した圧着端子のバレルで防水ゴム栓を同時に加締め圧着しておくことが好ましい。これにより、コネクタへの浸水防止をより確実に図ることができる。
このように、確実に止水処理がなされたシールド線のドレン線およびコア線の端末の端子を挿入係止しているコネクタは、特に、電子制御ユニットとの接続用として好適に用いることができる。
上述したように、本発明のシールド線の止水方法では、コネクタ接続側でシースから引き出し、端末に端子を接続するコア線とドレン線のうち、絶縁被覆されていない撚線導体からなるドレン線に対して、熱収縮チューブを被覆して擬似被覆電線としている。
特に、本発明では、前記ドレン線を被覆して擬似被覆電線とする熱収縮チューブを段階的に加熱することと、止水剤として固形状とした熱硬化性樹脂を用いていることを特徴とし、熱収縮チューブを段階的に加熱し、先に端子接続側の領域を加熱することで、未収縮部に充填する止水剤が端子側へと流れていくのを防止できると共に、止水剤の充填領域を規定して止水剤の供給量を定量化できる。かつ、シース側の熱収縮チューブを後加熱することで、固形状とした止水剤の溶融と熱収縮チューブの熱収縮を同時に行うことができる。また、止水剤として固形状の熱硬化性樹脂を用いることで、充填作業が容易となると共に硬化時間を大幅に短縮でき、工場の作業スペース(仕掛品置き場)を大幅に削減することができる。
以下、本発明の実施形態を図面を参照して説明する。
図1乃至図4に第1実施形態を示す。
図1および図2に示すシールド線1は止水処理後のシールド線である。
該シールド線1は自動車の被水領域となるエンジンルームに配索し、該シールド線1の先端にコネクタ30を接続し、該コネクタ30をエンジンルーム内に搭載する電子制御ユニット(図示せず)のコネクタ収容部に嵌合するものである。
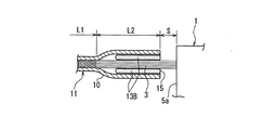
シールド線1は、図3に示すように、複数本(本実施形態では2本)の絶縁被覆電線からなるコア線2と、絶縁被覆されていない撚線導体のみからなるドレン線3とを金属箔4からなるシールド層で被覆し、該金属箔4の絶縁樹脂層からなるシース5で被覆している。
該シールド線1はコネクタ30との接続側の端部で、前記金属箔4とシース5を先端から40mm〜80mm(本実施形態では最短の40mm)を除去して、コア線2とドレン線3とを引き出している。
前記引き出したコア線2の先端では、さらに絶縁被覆層2aを皮剥ぎしてコア線2の芯線2bを露出させ、コネクタ接続用の圧着端子6を圧着接続すると共に、ドレン線3の端末にも圧着端子6を圧着接続している。該圧着端子6をボックス状のメス端子部6aと芯線バレル6bと絶縁被覆バレル6cを有するメス端子としている。該圧着端子6はコア線2の芯線2bおよびドレン線3に圧着接続する際に、圧着端子6の絶縁被覆バレル6cで防水ゴム栓7を同時に加締め圧着している。
ドレン線3は撚線導体のみからなり絶縁被覆層がないため、圧着端子6のメス端子部6aと芯線バレル6bの間の端子圧着位置P1からシース5の切断端面の近くの位置P2まで熱収縮チューブ10に通している。該熱収縮チューブ10を加熱収縮してドレン線3の外周面に密着させ、シース5から引き出されたドレン線3を熱収縮チューブ10で被覆することで、擬似被覆電線11としている。
前記熱収縮チューブ10でドレン線3を被覆した擬似被覆電線11では、端子圧着位置と接した位置P1から他端のP2までの全長の約1/2の領域L1には止水剤を充填しておらず、残りのシース側の領域L2には熱硬化性樹脂のエポキシ樹脂からなる止水剤13を充填している。該止水剤13はドレン線3の撚線の隙間および撚線と熱収縮チューブ10の内周面の隙間にも充填し、該止水剤の充填で浸水が圧着端子6までいくのを遮断している。
前記熱収縮チューブ10のシース側の先端位置P2はシース5の切断端5aとの間に5mm〜10mm(本実施形態では10mm)の隙間Sをあけており、該隙間Sに保護テープ14を巻き付けている。
つぎに、前記シールド線1の止水方法について説明する。
第一工程で、シールド線1のコネクタ30との接続側の端末で、該シールド線1のシース5および金属箔4を除去し、コア線2と、ドレン線3とを40mm〜80mm(本実施形態では40mm)引き出す。
第二工程で、コア線2の先端の絶縁被覆2aを皮剥ぎして芯線2bを露出させる。
第三工程で、コア線の芯線2bと圧着端子6を圧着接続する。該圧着端子6の芯線バレル6bでコア線2の芯線2bおよびドレン線3の撚線を加締め圧着し、絶縁被覆バレル6cで防水ゴム栓7の外周面に加締め圧着している。
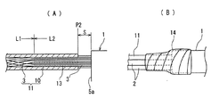
第四工程で、ドレン線3に、圧着端子6のメス端子部6aと芯線バレル6bとの間の位置P1からシース5の切断端5aとの間に隙間Sをあけた位置P2までの長さとした熱収縮チューブ10を被せる。
第五工程で、熱収縮チューブ10を前記端子圧着側の位置P1から、全長の約1/2の位置までの領域L1(本実施形態では20mm)を加熱して、熱収縮チューブ10を収縮させ、ドレン線30の外周面に密着させる。この時、残りのシース側の領域L2(本実施形態では20mm)は加熱せずに、熱収縮チューブ10を収縮させず、熱収縮チューブ10の内周面とドレン線3の外周面とに隙間Cをあけている。図4に示すように、隙間Cの先端開口15はシース切断端5aに対向して前記隙間Sをあけて開口している。
第六工程で、図4(B)に示すように、熱収縮チューブ10のシース側先端開口15より、止水剤13となるエポキシ樹脂粉末13Aを所定量供給する。このエポキシ樹脂粉末13Aを供給する前に、撚線からなるドレン線3の撚りを戻している。
エポキシ樹脂粉末13Aの供給量は、熱収縮チューブ10の未収縮部分の長さと、熱収縮チューブ10の内径およびドレン線3の外径とから定量化できる。該エポキシ樹脂粉末13Aの充填は、例えば、前記先端開口15に供給チューブ16を差し込み、該供給チューブを通してエポキシ樹脂粉末を圧送することで容易に供給することができる。また、該エポキシ樹脂粉末は平均粒径10μm〜100μmとすることが好ましい。
第七工程で、熱収縮チューブ10の未収縮領域L2を加熱する。該熱収縮チューブ10の熱収縮開始温度はエポキシ樹脂粉末13Aの融点よりも低いため、熱収縮チューブ10が収縮加熱中に、止水剤13の溶融が始まり、ドレン線3の撚りを戻して平行とした素線の隙間および素線の外周面と熱収縮チューブ10の内周面に浸透していき、ボイド(空隙)を発生させることなく充填させることができる。
このように、第七工程での加熱で、止水剤13の溶融および熱収縮チューブ10の収縮とを同時に行う。加熱により溶融したエポキシ樹脂は加熱停止後に1分以下で硬化する。
熱収縮チューブ10の熱収縮が終了し、ドレン線3の外周面に熱収縮チューブ10の内周面が密着した時点で、エポキシ樹脂からなる止水剤13の硬化も終了している。
第八工程で、エポキシ樹脂粉末の供給口となる熱収縮チューブ10の先端P2とシース切断端5aとの間の約10mm程度の隙間Sに保護テープ14を巻き付けて、露出したドレン線3を保護する。次に、ドレン線3の端末に防水ゴム栓7をセットした後、それぞれ圧着端子6を圧着接続する。該圧着端子6の芯線バレル6bでドレン線3の撚線を加締め圧着し、絶縁被覆バレル6cで防水ゴム栓7の外周面に加締め圧着している。
最後に、前記止水処理を施したシールド線1のコア線2およびドレン線3の端末の圧着端子6をコネクタ30に夫々挿入係止する。
前記シールド線1のコネクタ接続用として引き出したドレン線3の止水処理方法では、熱収縮チューブ10を段階的に熱収縮していることで、止水剤13が充填されない端子側領域L1と止水剤13が充填されているシース側領域L2とを設けることができる。よって、充填した止水剤13が圧着端子6まで流れていくことを確実に防止できる。
また、止水剤として従来用いられている液状のシリコーン樹脂に代えて、エポキシ樹脂粉末を用いているため、充填時の取り扱いが容易となる。かつ、シリコーン樹脂を止水剤に用いた場合には硬化時間が8時間程度かかるのに対して、熱硬化性樹脂のエポキシ樹脂を用いているため、加熱停止後1分程度で硬化させることができ、硬化時間を飛躍的に短縮できる。
図5に第2実施形態を示す。
第2実施形態では、止水剤として、エポキシ樹脂粉末にかえて、棒状としたエポキシ樹脂の固形物13Bを4本用いている。このように棒状固形物13Bとすると、供給量を定量とすることが容易となり、かつ、棒状固形物13Bを熱収縮チューブ10の先端開口15から90度間隔で押し込むだけでよく、簡単に充填することができる。
他の工程および止水処理されたシールド線の形態は第1実施形態と同様であるため、同一符号を付して説明を省略する。
本発明の止水方法で止水処理された第1実施形態のシールド線の平面図である。 (A)(B)は図1の部分拡大断面図である。 シールド線の斜視図である。 (A)は止水方法の過程における一部断面平面図、(B)は要部拡大断面図である。 第2実施形態を示す断面図である。 従来例を示す図面である。
符号の説明
1 シールド線
2 コア線
3 ドレン線
4 金属箔
5 シース
6 圧着端子
13 止水剤
13A エポキシ樹脂粉末
14 保護テープ
30 コネクタ
L1 止水剤が充填されていない領域
L2 止水剤が充填されている領域

Claims (4)

  1. シールド線のコネクタ接続側の端末で、シースより引き出した撚線導体からなるドレン線に、先端の端子接続側から前記シース端との間に隙間をあけた位置まで熱収縮チューブを被せ、
    前記熱収縮チューブを端子接続側から所要領域を部分的に加熱して先に熱収縮させてドレン線の外周に密着させ、
    ついで、前記シース側の未収縮の熱収縮チューブの先端開口から粉末状または棒状とした固形の熱硬化性樹脂を熱収縮チューブの内周面とドレン線の外周面の隙間に供給し、
    その後、前記熱収縮チューブの未収縮側を加熱し、前記熱硬化性樹脂を溶融させてドレン線の素線間およびドレン線と熱収縮チューブの内周面の隙間に充填すると共に、熱収縮チューブを熱収縮させてドレン線の外周面に密着させていることを特徴とする車両配索用のシールド線の止水方法。
  2. 前記熱硬化性樹脂としてエポキシ樹脂を用いている請求項1に記載の車両配索用のシールド線の止水方法。
  3. 前記ドレン線に被せた熱収縮チューブは、前記シースの先端との間に5mm〜10mmの隙間をあけ、該隙間から前記未収縮の熱収縮チューブの先端開口から前記熱硬化性樹脂を挿入し、
    前記熱収縮した後に、該熱収縮チューブの先端と前記シースとの間のドレン線の露出部に保護テープを巻き付けている請求項1または請求項2に記載の車両配索用のシールド線の止水方法。
  4. 前記コア線およびドレン線はシースの先端から40mm〜80mm引き出し、
    前記コア線の芯線及びドレン線の端末に圧着端子を圧着接続し、
    前記ドレン線の端子圧着部から20mm〜50mmの領域の前記熱収縮チューブを先に熱収縮し、未収縮の15mm〜25mmの熱収縮チューブを後から熱収縮している請求項1乃至請求項3に記載の車両配索用のシールド線の止水方法。
JP2008225212A 2008-09-02 2008-09-02 シールド線の止水方法 Expired - Fee Related JP5391613B2 (ja)

Priority Applications (1)

Application Number Priority Date Filing Date Title
JP2008225212A JP5391613B2 (ja) 2008-09-02 2008-09-02 シールド線の止水方法

Applications Claiming Priority (1)

Application Number Priority Date Filing Date Title
JP2008225212A JP5391613B2 (ja) 2008-09-02 2008-09-02 シールド線の止水方法

Publications (2)

Publication Number Publication Date
JP2010061926A true JP2010061926A (ja) 2010-03-18
JP5391613B2 JP5391613B2 (ja) 2014-01-15

Family

ID=42188517

Family Applications (1)

Application Number Title Priority Date Filing Date
JP2008225212A Expired - Fee Related JP5391613B2 (ja) 2008-09-02 2008-09-02 シールド線の止水方法

Country Status (1)

Country Link
JP (1) JP5391613B2 (ja)

Cited By (3)

* Cited by examiner, † Cited by third party
Publication number Priority date Publication date Assignee Title
WO2011161840A1 (ja) * 2010-06-25 2011-12-29 住友電装株式会社 ワイヤハーネス及びその製造方法
JP2012208712A (ja) * 2011-03-29 2012-10-25 Kyocera Corp 電子機器
JP2018099912A (ja) * 2016-12-19 2018-06-28 本田技研工業株式会社 車両及び電線構造体

Citations (2)

* Cited by examiner, † Cited by third party
Publication number Priority date Publication date Assignee Title
JPS571566Y2 (ja) * 1977-10-03 1982-01-11
JP2008108684A (ja) * 2006-02-02 2008-05-08 Auto Network Gijutsu Kenkyusho:Kk シールド線のドレン線止水構造およびドレン線止水方法

Patent Citations (2)

* Cited by examiner, † Cited by third party
Publication number Priority date Publication date Assignee Title
JPS571566Y2 (ja) * 1977-10-03 1982-01-11
JP2008108684A (ja) * 2006-02-02 2008-05-08 Auto Network Gijutsu Kenkyusho:Kk シールド線のドレン線止水構造およびドレン線止水方法

Cited By (3)

* Cited by examiner, † Cited by third party
Publication number Priority date Publication date Assignee Title
WO2011161840A1 (ja) * 2010-06-25 2011-12-29 住友電装株式会社 ワイヤハーネス及びその製造方法
JP2012208712A (ja) * 2011-03-29 2012-10-25 Kyocera Corp 電子機器
JP2018099912A (ja) * 2016-12-19 2018-06-28 本田技研工業株式会社 車両及び電線構造体

Also Published As

Publication number Publication date
JP5391613B2 (ja) 2014-01-15

Similar Documents

Publication Publication Date Title
JP5176533B2 (ja) 電線の止水方法及び該止水方法で形成された止水部を有する電線
JP5188713B2 (ja) ドレン線止水構造を備えたシールド線およびドレン線止水方法
JP5541901B2 (ja) 止水処理方法および絶縁被覆電線
JP5287322B2 (ja) シールド線の端末止水方法および端末止水部を備えたシールド線
JP2007312594A (ja) 光ケーブルシールド層接続部
WO2012117608A1 (ja) 線間止水用のホットメルトブロックおよび該ホットメルトブロックを用いた多芯ケーブルの端末止水方法ならびに端末止水構造
JP2008204644A (ja) 防水ハーネスの製造方法、ハーネス用防水剤、および防水ハーネス
JP5402065B2 (ja) シールド線の端末止水方法および端末止水部を備えたシールド線
JP2012094340A (ja) 端子付き電線の端末止水、防水及び防食方法
JP5391613B2 (ja) シールド線の止水方法
JP4767137B2 (ja) シールド線の止水方法および止水構造
US8502074B2 (en) Seal for anode connection to cable and method of use
JP2011065964A (ja) 止水部を備えたシールド電線および該シールド電線の止水部の形成方法
JP2008234974A (ja) シールド線のドレン線止水方法およびドレン線止水構造
JP2016162631A (ja) 止水用保護チューブおよびワイヤハーネス
JP2000341841A (ja) 電線端末接続部の止水方法および止水構造
JP2015186296A (ja) 絶縁被覆電線の止水構造およびワイヤハーネス
JP2005032621A (ja) ケーブルハーネスの防水構造
KR102738562B1 (ko) 방수용 와이어 커넥터
JP2931216B2 (ja) 屈曲部を有する電線の配索方法
JP2012130225A (ja) 電線の接続方法及びワイヤハーネス
JP6221962B2 (ja) 絶縁被覆電線の止水構造およびワイヤハーネス
JP2008305634A (ja) シールド線のドレン線止水構造
WO2012071032A1 (en) Seal for anode connection to cable and method of use
JP2011065924A (ja) シールド電線の止水部の形成方法および止水部を備えたシールド電線

Legal Events

Date Code Title Description
A621 Written request for application examination

Free format text: JAPANESE INTERMEDIATE CODE: A621

Effective date: 20110822

A131 Notification of reasons for refusal

Free format text: JAPANESE INTERMEDIATE CODE: A131

Effective date: 20130625

A521 Written amendment

Free format text: JAPANESE INTERMEDIATE CODE: A523

Effective date: 20130826

TRDD Decision of grant or rejection written
A01 Written decision to grant a patent or to grant a registration (utility model)

Free format text: JAPANESE INTERMEDIATE CODE: A01

Effective date: 20130917

A61 First payment of annual fees (during grant procedure)

Free format text: JAPANESE INTERMEDIATE CODE: A61

Effective date: 20130930

R150 Certificate of patent or registration of utility model

Free format text: JAPANESE INTERMEDIATE CODE: R150

LAPS Cancellation because of no payment of annual fees