JP2010060113A - 管継手 - Google Patents

管継手 Download PDF

Info

Publication number
JP2010060113A
JP2010060113A JP2008228734A JP2008228734A JP2010060113A JP 2010060113 A JP2010060113 A JP 2010060113A JP 2008228734 A JP2008228734 A JP 2008228734A JP 2008228734 A JP2008228734 A JP 2008228734A JP 2010060113 A JP2010060113 A JP 2010060113A
Authority
JP
Japan
Prior art keywords
pipe
pipe joint
outer cylinder
transparent resin
tube
Prior art date
Legal status (The legal status is an assumption and is not a legal conclusion. Google has not performed a legal analysis and makes no representation as to the accuracy of the status listed.)
Granted
Application number
JP2008228734A
Other languages
English (en)
Other versions
JP5130161B2 (ja
Inventor
Tomokazu Hagino
智和 萩野
Current Assignee (The listed assignees may be inaccurate. Google has not performed a legal analysis and makes no representation or warranty as to the accuracy of the list.)
Sekisui Chemical Co Ltd
Original Assignee
Sekisui Chemical Co Ltd
Priority date (The priority date is an assumption and is not a legal conclusion. Google has not performed a legal analysis and makes no representation as to the accuracy of the date listed.)
Filing date
Publication date
Application filed by Sekisui Chemical Co Ltd filed Critical Sekisui Chemical Co Ltd
Priority to JP2008228734A priority Critical patent/JP5130161B2/ja
Publication of JP2010060113A publication Critical patent/JP2010060113A/ja
Application granted granted Critical
Publication of JP5130161B2 publication Critical patent/JP5130161B2/ja
Active legal-status Critical Current
Anticipated expiration legal-status Critical

Links

Images

Landscapes

  • Joints With Pressure Members (AREA)
  • Joints That Cut Off Fluids, And Hose Joints (AREA)
  • Quick-Acting Or Multi-Walled Pipe Joints (AREA)

Abstract

【課題】管が正常な接続位置まで挿入されたか否かを外部から視認可能で、外筒部を構成する透明樹脂部分に破損を招くような光劣化がなく、見栄えのよい状態を保つことができる管継手を提供することを目的としている。
【解決手段】接続される管の管端部内側に挿入される内筒部と、管端部外側を囲繞する外筒部とを有し、前記外筒部の少なくとも接続される管の正常管端部位置を臨める部分が、外部から正常管端部位置を視認可能な透明樹脂で形成されている管継手において、前記外筒部の透明樹脂形成部が、紫外線遮断材料からなり、少なくとも透明樹脂形成部に外嵌されるとともに、その一部に前記正常管端部位置を視認可能な開口を有する筒状をした遮光カバーによって保護されていることを特徴としている。
【選択図】 図3

Description

本発明は、例えば、給水給湯用などの屋外配管に用いられる管継手に関する。
給水給湯用などの屋外配管に用いられる管継手として、図6に示すような管継手100が提案されている(特許文献1参照)。
この管継手100は、接続される管200の管端部を継手内の挿入位置まで挿入すると、入口側に設けられた抜止めリング110の働きによってワンタッチで抜け止めされるようになっているとともに、接続管200が正常に接続されたとき、外筒部の、接続管200の管端部を臨む部分を、ポリフェニルサルフォン等の透明樹脂製外筒部材120で形成することによって、接続管200が正常な位置まで挿入されているか否かを外側から容易に視認でき、挿入不足による接続管200の抜けや水漏れ事故を防止できるようにしている。
また、給湯配管などに用いた場合、配管施工後は、継手部分も保温材で保護されているので、殆ど継手が外光に曝されることはないが、保温材の付け忘れやズレ等によって外光に曝される場合もある。
上記ポリフェニルサルフォンの場合、外光、特に紫外線に曝されてもすぐに強度的に劣化するおそれは殆どないが、紫外線に曝されると、白濁し見栄えが悪くなるとともに、使用者に破損して水漏れ等の事故が発生するのではと、不安を抱かせることもある。
特開2004−324858号公報
本発明は、上記事情に鑑みて、管が正常な接続位置まで挿入されたか否かを外部から視認可能で、屋外で使用しても外筒部を構成する透明樹脂部分に破損を招くような光劣化がなく、見栄えのよい状態を保つことができる管継手を提供することを目的としている。
上記目的を達成するために、本発明にかかる管継手は、接続される管の管端部内側に挿入される内筒部と、管端部外側を囲繞する外筒部とを有し、前記外筒部の少なくとも接続される管の正常管端部位置を臨める部分が、外部から正常管端部位置を視認可能な透明樹脂で形成されている管継手において、前記外筒部の透明樹脂形成部が、紫外線遮断材料からなり、少なくとも透明樹脂形成部に外嵌されるとともに、その一部に前記正常管端部位置を視認可能な開口を有する筒状をした遮光カバーによって保護されていることを特徴としている。
本発明において、上記開口は、特に限定されないが、遮光カバーの周方向にずれた位置に複数設けられていることが好ましい。
開口の大きさは、接続の良否が確認できれば、できるだけ小さいことが好ましく、例えば、3mm×3mmの正方形など、9mm2程度の大きさでよい。
また、遮光カバーは、外筒部周りに回転自在になっていることが好ましい。
本発明において紫外線遮断材料としては、紫外線を遮光できれば、特に限定されないが、例えば、カーボン粒子を分散したポリアミド系樹脂組成物や、アルミニウムなどの軽量金属材料が挙げられ、カーボン粒子を分散したポリアミド系樹脂組成物が好適である。
本発明にかかる管継手は、以上のように、接続される管の管端部内側に挿入される内筒部と、管端部外側を囲繞する外筒部とを有し、前記外筒部が、接続された管の管端位置が視認可能な透明樹脂で形成されている管継手において、前記外筒部が、外筒部に外嵌された紫外線遮断材料からなり、その一部に外筒部を視認可能な開口を有する筒状をした遮光カバーによって保護されているので、開口を介して透明な外筒部越しに接続管の接続状態が視認できるとともに、外筒部の開口以外の部分が遮光カバーによって外筒部の光劣化を極力防ぐことができる。したがって、破損に到るような全体的な劣化がなく、より安全であるとともに、開口から射し込んだ光によって外筒部の一部が白化しても、白化した状態が視覚的に捉えにくい。
また、開口が遮光カバーの周方向にずれた位置に複数設けられている構成とすれば、管継手の取り付け角度がずれても、いずれかの開口が視認可能位置に配置され、視認が容易である。
さらに、遮光カバーを外筒部周りに回転自在とすれば、管継手の取り付け角度がずれても開口を視認可能位置にくるまで回転させれば、開口を介して接続状態が容易に確認できるとともに、確認が完了後開口を直射日光の当たらない位置まで回転させておけば、開口をとおる光による外筒部の劣化を防ぐことができる。
以下に、本発明を、その実施の形態をあらわす図面を参照しつつ詳しく説明する。
図1及び図2は、本発明にかかる管継手の1つの実施の形態をあらわしている。
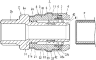
図1及び図2に示すように、この管継手1は、管継手本体2と、外筒部を構成する外筒部材3及び袋ナット4と、筒状パッキン5と、抜止めリング6と、シールリング7と、遮光カバー8とが組み立てられて形成されている。
管継手本体2は、脱鉛青銅や砲金等の金属材料からなり、中間部に断面略六角形のフランジ部2bを有し、このフランジ部2bを挟んで一方にねじ筒部2b、他方に内筒形成部2cが設けられている。
内筒形成部2cは、大径部21と、内筒部22とを備えている。大径部21は、その外周面に、後述する外筒部材3の雌ねじ筒部31と螺合する雄ねじ21aが設けられている。
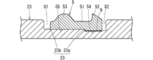
内筒部22は、その中間部外周面に後述する筒状パッキン5が外嵌されるパッキン係合溝23が凹設されている。
パッキン係合溝23は、図3に示すように、内筒形成部2cの先端側に、すなわち、内筒部22の開放端側が深溝部23a、内筒形成部2cの基端側、すなわち、フランジ部2b側に浅溝部23bを備える2段溝構造になっている。
深溝部23aと浅溝部23bとの段差(深溝部23aの底から浅溝部23bの底までの高さ)は、0.1mm〜0.4mmが好ましい。すなわち、段差が小さすぎると、筒状パッキン5のズレ防止効果が期待できず、段差が大きくても筒状パッキン5のズレ防止効果には問題ないが、大きすぎると、内筒部22の肉厚が薄く強度的に問題がでるおそれがあるからである。
外筒部材3は、ポリフェニルサルフォン等の透明樹脂からなり、一端部に雄ねじ21aに螺着される雌ねじ筒部31を有し、残部が外筒形成部32となっている。
そして、外筒部材3は、雌ねじ筒部31が大径部21の雄ねじ21aに螺合されることにより管継手本体2に一体化されている。
外筒形成部32は、雌ねじ筒部31より内径が大きく、内筒部22との間に筒状の管接続部11を形成するようになっている。
また、外筒形成部32は、外筒部材3の他端側外周面に後述する袋ナット4の雌ねじ部41が螺合する雄ねじ部32aが設けられ、内周面に後述する抜止めリング6と、シールリング7を収容する切欠部32bが設けられている。
筒状パッキン5は、フッ素系ゴム(特に限定されないが、例えば、硬さ(デュロメータA)70以上、引っ張り強さ16〜22MPa、切断時伸び260〜400%の条件を満足するものが好ましく、市販品としてNOK社製FP29(硬さ(デュロメータA)72、引っ張り強さ19.7MPa、切断時伸び320%)が使用できる。)を射出成形することによって得られ、図3に示すように、平坦部51を挟んで一端部外周面に一端側に向かって徐々に小径化する断面略三角形の三角突条52が設けられ、他端より少し一端側に入った部分に三角突条52と略同じ高さの断面略半円形をした半円形突条53が設けられている。
また、筒状パッキン5は、内周面の一端側が深溝部23aの外径と同じか少し小さい内径の小内径部54、他端側が浅溝部23bの外径と同じか少し小さい内径の大内径部55となっている。
小内径部54と大内径部55との径差は、深溝部23aと浅溝部23bの深さの差と同じになっている。
また、小内径部54の幅は、深溝部23aの幅よりすこし小さく、大内径部55の幅は、浅溝部23bの幅より少し小さくなっている。
そして、筒状パッキン5は、小内径部54が深溝部23aに大内径部55が浅溝部23bに嵌り込むようにパッキン係合溝23に外嵌され、小内径部54の内周面が深溝部23aの底面に変性シリコーン系接着剤9を介して接着され、筒状パッキン5の両端でパッキン係合溝23の側壁との間に隙間S1、S2が形成されている。
なお、深溝部23aと浅溝部23bとの境界位置は、三角突条52の半円形突条53側の端を臨む位置から三角突条52と半円形突条53との中間位置ぐらいに配置することが好ましい。すなわち、あまり手前過ぎると脱リング防止機能が十分効かず、後ろ過ぎると深溝部23aと浅溝部23bとの境界の段差と三角突条52での押さえ力がずれて脱リング防止機能が充分効かなくなるとともに、挿入力が高くなる。また、隙間S1、S2は、筒状パッキン5が管挿入に伴い圧縮されて弾性変形し、弾性変形した部分で埋まるだけの最小限の大きさにすることが好ましく、管継手1の大きさや筒状パッキン5の三角突条52や半円形突条53の大きさなどに応じて適宜決定できる。
抜止めリング6は、砲金等の金属材料からなり、切欠部32b内に収容されていて、外周面に周方向に沿って後述する袋ナット4の傾斜面43に対応する傾斜面61が設けられ、軸方向に沿ってスリット(図示せず)を有する拡縮径可能なリング状をしており、縮径によって内周面が管接続部11に挿入された接続される管Pの管端部外周面に食い込むようになっている。
シールリング7は、EPDM(エチレン−プロピレン−ジエンゴム)等のゴム材料で形成されていて、抜止めリング6の外側に外嵌された状態で切欠部32b内に抜止めリング6とともに収容されている。
袋ナット4は、脱鉛青銅や砲金等の金属材料からなり、一端が管Pを挿入可能な管挿入口41となっていて、他端に設けられた雌ねじ部42が雄ねじ部32に螺合することによって外筒部材3に一体化されている。
また、袋ナット4は、管挿入口41側の内周面が管挿入口41に向かって徐々に縮径する傾斜面43となっている。
遮光カバー8は、カーボン粒子を分散したポリアミド系樹脂組成物からなり、図1、図2、図4に示すように、外筒部材3の外周面に沿う形状をしていて、3mm×3mmの大きさの4つの開口81(図では2しかあらわれていない)が設けられている。
この遮光カバー8は、外筒部材3が管継手本体2に固着される前に予め外筒部材3に外嵌され、外筒部材3が管継手本体2に固着されると、端面がフランジ部2bに当接するようになっている。
この管継手1は、上記のようになっており、図5に示すように、接続される管Pの管端部を管挿入口41から管接続部11内に挿入するだけのワンタッチ操作によって抜止めリング6にて抜出し防止可能状態に接続できる。
すなわち、挿入によって筒状パッキン5が接続管Pの内周面に圧接されてシール性が確保された状態となるとともに、接続管Pを引き抜き方向に引っ張ると、抜止めリング6は傾斜面61が袋ナット4の傾斜面43に沿うように摺動することにより縮径して管Pの外周面に食い込み、管Pが管継手1の受口内から抜け出るのが防止された状態となる。また、このとき、傾斜面61と傾斜面43との間でシールリング7が水密状態に挟着される。
そして、筒状パッキン5が耐熱性、耐塩素水性に優れたフッ素系ゴムで形成されているので、給湯用配管に用いた場合においても安定したシール状態を保つことができる。しかも、筒状パッキン5の内周面にアンダーカット部が無いので、フッ素系ゴムであっても、耐熱性、耐塩素水性に優れたフッ素系ゴム製筒状パッキンを寸法精度のばらつきなしに成形できる。
また、筒状パッキン5が、深溝部23aの底面のみに接着されているので、接続管Pを管接続部11に挿入する際に、筒状パッキン5がパッキン係合溝23から脱けることがなく、スムーズかつ正確に挿入できる。そして、筒状パッキン5の浅溝部23b側が非接着状態であるので、筒状パッキン5が管挿入に伴い圧縮されつつ管挿入方向へ伸びながら、接続される管の内周面に密着し、確実に水密状態になる。
そして、この管継手1は、遮光カバー8を備え、開口81部分を除き透明樹脂製の外筒部材3が外光から隠蔽されるので、光劣化があっても開口81に臨む部分だけであるので、外筒部材3全体の強度劣化の問題が無くなる。
また、開口81が設けられているので、開口81および外筒部材3を通して管Pが正常に接続されたかどうかを視認できるので、接続不良による管の抜けや漏水が防止できる。
本発明は、上記の実施の形態に限定されない。例えば、上記の実施の形態では、ワンタッチ継手であったが、管接続後に袋ナットを締め込むことによって、袋ナット内に収容された縮径リングを縮径させて抜け止めを行うような継手でも構わない。
上記の実施の形態では、接続される管が3層管であったが、架橋ポリエチレン管等の単層管の接続にも用いることができる。
上記の実施の形態では、管継手本体と外筒部材、および、外筒部材と袋ナットがそれぞれねじ接合されていたが、係止凸部と係止凹部の嵌合接合構造にしても構わない。特に、管継手本体と外筒部材とを回転可能な継手嵌合接合構造にしておけば、遮光カバーを回さずとも、外筒部材を回せば開口を所定方向に向かせることができる。
上記の実施の形態では、筒状パッキンがフッ素系ゴムで形成されていたが、EPDM等の汎用合成ゴム材料で形成されていても構わない。
また、シールリングは無くても構わない。
本発明にかかる管継手は、特に限定されないが、例えば、給湯、給水等の配管の接続に用いられる。
本発明にかかる管継手の1つの実施の形態をあらわす斜視図である。 図1の管継手の断面図である。 図1の管継手の筒状パッキン部分の拡大断面図である。 図1の管継手の分解状態の斜視図である。 図1の管継手に管を接続した状態の断面図である。 従来の管継手の断面図である。
符号の説明
P 管
1 管継手
3 外筒部材(外筒部)
4 外筒部材(外筒部)
8 遮光カバー
81 開口
22 内筒部

Claims (4)

  1. 接続される管の管端部内側に挿入される内筒部と、管端部外側を囲繞する外筒部とを有し、前記外筒部の少なくとも接続される管の正常管端部位置を臨める部分が、外部から正常管端部位置を視認可能な透明樹脂で形成されている管継手において、
    前記外筒部の透明樹脂形成部が、紫外線遮断材料からなり、少なくとも透明樹脂形成部に外嵌されるとともに、その一部に前記正常管端部位置を視認可能な開口を有する筒状をした遮光カバーによって保護されていることを特徴とする管継手。
  2. 開口が遮光カバーの周方向にずれた位置に複数設けられている請求項1に記載の管継手。
  3. 遮光カバーが、外筒部周りに回転自在である請求項1または請求項2に記載の管継手。
  4. 遮光カバーが、カーボン粒子を分散したポリアミド系樹脂組成物で形成されている請求項1〜請求項3のいずれかに記載の管継手。
JP2008228734A 2008-09-05 2008-09-05 管継手 Active JP5130161B2 (ja)

Priority Applications (1)

Application Number Priority Date Filing Date Title
JP2008228734A JP5130161B2 (ja) 2008-09-05 2008-09-05 管継手

Applications Claiming Priority (1)

Application Number Priority Date Filing Date Title
JP2008228734A JP5130161B2 (ja) 2008-09-05 2008-09-05 管継手

Publications (2)

Publication Number Publication Date
JP2010060113A true JP2010060113A (ja) 2010-03-18
JP5130161B2 JP5130161B2 (ja) 2013-01-30

Family

ID=42187126

Family Applications (1)

Application Number Title Priority Date Filing Date
JP2008228734A Active JP5130161B2 (ja) 2008-09-05 2008-09-05 管継手

Country Status (1)

Country Link
JP (1) JP5130161B2 (ja)

Cited By (3)

* Cited by examiner, † Cited by third party
Publication number Priority date Publication date Assignee Title
JP2014088950A (ja) * 2012-10-31 2014-05-15 Nix Inc 配管継手
WO2017003023A1 (ko) * 2014-11-13 2017-01-05 임채갑 파이프 연결장치
GB2625100A (en) * 2022-12-06 2024-06-12 Reliance Worldwide Corporation Uk Ltd A plumbing connector

Citations (6)

* Cited by examiner, † Cited by third party
Publication number Priority date Publication date Assignee Title
JPS59147074U (ja) * 1983-03-23 1984-10-01 日新化成工業株式会社 びん保冷器
JP2000088180A (ja) * 1998-09-17 2000-03-31 Onda Seisakusho:Kk プロテクターキャップ
JP2001153278A (ja) * 1999-11-29 2001-06-08 Mym Corp 管継手における確認孔保護カバー
JP2004324858A (ja) * 2003-04-28 2004-11-18 Sekisui Chem Co Ltd 管継手
JP2007177992A (ja) * 2005-11-30 2007-07-12 Onda Seisakusho Seki Kojo:Kk 継手
JP2008019971A (ja) * 2006-07-12 2008-01-31 Sekisui Chem Co Ltd 配管接続構造及びカバー部材

Patent Citations (6)

* Cited by examiner, † Cited by third party
Publication number Priority date Publication date Assignee Title
JPS59147074U (ja) * 1983-03-23 1984-10-01 日新化成工業株式会社 びん保冷器
JP2000088180A (ja) * 1998-09-17 2000-03-31 Onda Seisakusho:Kk プロテクターキャップ
JP2001153278A (ja) * 1999-11-29 2001-06-08 Mym Corp 管継手における確認孔保護カバー
JP2004324858A (ja) * 2003-04-28 2004-11-18 Sekisui Chem Co Ltd 管継手
JP2007177992A (ja) * 2005-11-30 2007-07-12 Onda Seisakusho Seki Kojo:Kk 継手
JP2008019971A (ja) * 2006-07-12 2008-01-31 Sekisui Chem Co Ltd 配管接続構造及びカバー部材

Cited By (3)

* Cited by examiner, † Cited by third party
Publication number Priority date Publication date Assignee Title
JP2014088950A (ja) * 2012-10-31 2014-05-15 Nix Inc 配管継手
WO2017003023A1 (ko) * 2014-11-13 2017-01-05 임채갑 파이프 연결장치
GB2625100A (en) * 2022-12-06 2024-06-12 Reliance Worldwide Corporation Uk Ltd A plumbing connector

Also Published As

Publication number Publication date
JP5130161B2 (ja) 2013-01-30

Similar Documents

Publication Publication Date Title
JP5179269B2 (ja) 樹脂管用ワンタッチ継手
KR200463219Y1 (ko) 스텐관 연결 이음쇠
JP5130161B2 (ja) 管継手
JP5322679B2 (ja) 継手に用いられるインサート部材及び継手
JP6183992B2 (ja) 管継手と管継手用シールリング並びに管継手の管接続方法
JP6097120B2 (ja) 管継手
JP4359704B2 (ja) 樹脂管用継手
JP2001153278A (ja) 管継手における確認孔保護カバー
JP2009092100A (ja) 管継手
JP2010210084A (ja) サドル型分岐継手
JP5379649B2 (ja) 鋼管用管継手
JP4819579B2 (ja) 継手への二重管の接続構造
JP6087689B2 (ja) ユニオン継手
JP2009180258A (ja) 継手及びそれに装着される検査用プラグ
JP5130160B2 (ja) 管継手
JP2015140902A (ja) 管継手
JP6168465B2 (ja) 管継手
JP5515495B2 (ja) 継手
JP5015282B2 (ja) 管継手
JP5597462B2 (ja) 継手および挿入ガイド
JP4839157B2 (ja) 管継手
JP2011127717A (ja) 管継手
JP4810267B2 (ja) 管継手
JP4982201B2 (ja) 管継手
JP4589937B2 (ja) 管継手

Legal Events

Date Code Title Description
A621 Written request for application examination

Free format text: JAPANESE INTERMEDIATE CODE: A621

Effective date: 20110418

A977 Report on retrieval

Free format text: JAPANESE INTERMEDIATE CODE: A971007

Effective date: 20121005

TRDD Decision of grant or rejection written
A01 Written decision to grant a patent or to grant a registration (utility model)

Free format text: JAPANESE INTERMEDIATE CODE: A01

Effective date: 20121016

A01 Written decision to grant a patent or to grant a registration (utility model)

Free format text: JAPANESE INTERMEDIATE CODE: A01

A61 First payment of annual fees (during grant procedure)

Free format text: JAPANESE INTERMEDIATE CODE: A61

Effective date: 20121105

R151 Written notification of patent or utility model registration

Ref document number: 5130161

Country of ref document: JP

Free format text: JAPANESE INTERMEDIATE CODE: R151

FPAY Renewal fee payment (event date is renewal date of database)

Free format text: PAYMENT UNTIL: 20151109

Year of fee payment: 3

R250 Receipt of annual fees

Free format text: JAPANESE INTERMEDIATE CODE: R250

R250 Receipt of annual fees

Free format text: JAPANESE INTERMEDIATE CODE: R250