JP2010059965A - 長手方向に掃気される2ストロークの大型ディーゼル・エンジンの動作方法 - Google Patents

長手方向に掃気される2ストロークの大型ディーゼル・エンジンの動作方法 Download PDF

Info

Publication number
JP2010059965A
JP2010059965A JP2009188209A JP2009188209A JP2010059965A JP 2010059965 A JP2010059965 A JP 2010059965A JP 2009188209 A JP2009188209 A JP 2009188209A JP 2009188209 A JP2009188209 A JP 2009188209A JP 2010059965 A JP2010059965 A JP 2010059965A
Authority
JP
Japan
Prior art keywords
engine output
scavenging
pressure
scavenging pressure
engine
Prior art date
Legal status (The legal status is an assumption and is not a legal conclusion. Google has not performed a legal analysis and makes no representation as to the accuracy of the status listed.)
Granted
Application number
JP2009188209A
Other languages
English (en)
Other versions
JP5436972B2 (ja
Inventor
Thomas Haeni
ヘニ トーマス
Current Assignee (The listed assignees may be inaccurate. Google has not performed a legal analysis and makes no representation or warranty as to the accuracy of the list.)
Wartsila NSD Schweiz AG
Original Assignee
Wartsila NSD Schweiz AG
Priority date (The priority date is an assumption and is not a legal conclusion. Google has not performed a legal analysis and makes no representation as to the accuracy of the date listed.)
Filing date
Publication date
Application filed by Wartsila NSD Schweiz AG filed Critical Wartsila NSD Schweiz AG
Publication of JP2010059965A publication Critical patent/JP2010059965A/ja
Application granted granted Critical
Publication of JP5436972B2 publication Critical patent/JP5436972B2/ja
Expired - Fee Related legal-status Critical Current
Anticipated expiration legal-status Critical

Links

Images

Classifications

    • FMECHANICAL ENGINEERING; LIGHTING; HEATING; WEAPONS; BLASTING
    • F02COMBUSTION ENGINES; HOT-GAS OR COMBUSTION-PRODUCT ENGINE PLANTS
    • F02DCONTROLLING COMBUSTION ENGINES
    • F02D23/00Controlling engines characterised by their being supercharged
    • F02D23/02Controlling engines characterised by their being supercharged the engines being of fuel-injection type
    • FMECHANICAL ENGINEERING; LIGHTING; HEATING; WEAPONS; BLASTING
    • F02COMBUSTION ENGINES; HOT-GAS OR COMBUSTION-PRODUCT ENGINE PLANTS
    • F02BINTERNAL-COMBUSTION PISTON ENGINES; COMBUSTION ENGINES IN GENERAL
    • F02B25/00Engines characterised by using fresh charge for scavenging cylinders
    • F02B25/02Engines characterised by using fresh charge for scavenging cylinders using unidirectional scavenging
    • F02B25/04Engines having ports both in cylinder head and in cylinder wall near bottom of piston stroke
    • FMECHANICAL ENGINEERING; LIGHTING; HEATING; WEAPONS; BLASTING
    • F02COMBUSTION ENGINES; HOT-GAS OR COMBUSTION-PRODUCT ENGINE PLANTS
    • F02BINTERNAL-COMBUSTION PISTON ENGINES; COMBUSTION ENGINES IN GENERAL
    • F02B33/00Engines characterised by provision of pumps for charging or scavenging
    • F02B33/32Engines with pumps other than of reciprocating-piston type
    • F02B33/34Engines with pumps other than of reciprocating-piston type with rotary pumps
    • F02B33/40Engines with pumps other than of reciprocating-piston type with rotary pumps of non-positive-displacement type
    • FMECHANICAL ENGINEERING; LIGHTING; HEATING; WEAPONS; BLASTING
    • F02COMBUSTION ENGINES; HOT-GAS OR COMBUSTION-PRODUCT ENGINE PLANTS
    • F02BINTERNAL-COMBUSTION PISTON ENGINES; COMBUSTION ENGINES IN GENERAL
    • F02B37/00Engines characterised by provision of pumps driven at least for part of the time by exhaust
    • F02B37/12Control of the pumps
    • F02B37/16Control of the pumps by bypassing charging air
    • FMECHANICAL ENGINEERING; LIGHTING; HEATING; WEAPONS; BLASTING
    • F02COMBUSTION ENGINES; HOT-GAS OR COMBUSTION-PRODUCT ENGINE PLANTS
    • F02BINTERNAL-COMBUSTION PISTON ENGINES; COMBUSTION ENGINES IN GENERAL
    • F02B37/00Engines characterised by provision of pumps driven at least for part of the time by exhaust
    • F02B37/12Control of the pumps
    • F02B37/18Control of the pumps by bypassing exhaust from the inlet to the outlet of turbine or to the atmosphere
    • FMECHANICAL ENGINEERING; LIGHTING; HEATING; WEAPONS; BLASTING
    • F02COMBUSTION ENGINES; HOT-GAS OR COMBUSTION-PRODUCT ENGINE PLANTS
    • F02DCONTROLLING COMBUSTION ENGINES
    • F02D23/00Controlling engines characterised by their being supercharged
    • FMECHANICAL ENGINEERING; LIGHTING; HEATING; WEAPONS; BLASTING
    • F02COMBUSTION ENGINES; HOT-GAS OR COMBUSTION-PRODUCT ENGINE PLANTS
    • F02DCONTROLLING COMBUSTION ENGINES
    • F02D41/00Electrical control of supply of combustible mixture or its constituents
    • F02D41/0002Controlling intake air
    • F02D41/0007Controlling intake air for control of turbo-charged or super-charged engines
    • FMECHANICAL ENGINEERING; LIGHTING; HEATING; WEAPONS; BLASTING
    • F02COMBUSTION ENGINES; HOT-GAS OR COMBUSTION-PRODUCT ENGINE PLANTS
    • F02DCONTROLLING COMBUSTION ENGINES
    • F02D41/00Electrical control of supply of combustible mixture or its constituents
    • F02D41/02Circuit arrangements for generating control signals
    • F02D41/04Introducing corrections for particular operating conditions
    • FMECHANICAL ENGINEERING; LIGHTING; HEATING; WEAPONS; BLASTING
    • F01MACHINES OR ENGINES IN GENERAL; ENGINE PLANTS IN GENERAL; STEAM ENGINES
    • F01NGAS-FLOW SILENCERS OR EXHAUST APPARATUS FOR MACHINES OR ENGINES IN GENERAL; GAS-FLOW SILENCERS OR EXHAUST APPARATUS FOR INTERNAL-COMBUSTION ENGINES
    • F01N2590/00Exhaust or silencing apparatus adapted to particular use, e.g. for military applications, airplanes, submarines
    • F01N2590/02Exhaust or silencing apparatus adapted to particular use, e.g. for military applications, airplanes, submarines for marine vessels or naval applications
    • FMECHANICAL ENGINEERING; LIGHTING; HEATING; WEAPONS; BLASTING
    • F02COMBUSTION ENGINES; HOT-GAS OR COMBUSTION-PRODUCT ENGINE PLANTS
    • F02BINTERNAL-COMBUSTION PISTON ENGINES; COMBUSTION ENGINES IN GENERAL
    • F02B75/00Other engines
    • F02B75/02Engines characterised by their cycles, e.g. six-stroke
    • F02B2075/022Engines characterised by their cycles, e.g. six-stroke having less than six strokes per cycle
    • F02B2075/025Engines characterised by their cycles, e.g. six-stroke having less than six strokes per cycle two
    • FMECHANICAL ENGINEERING; LIGHTING; HEATING; WEAPONS; BLASTING
    • F02COMBUSTION ENGINES; HOT-GAS OR COMBUSTION-PRODUCT ENGINE PLANTS
    • F02BINTERNAL-COMBUSTION PISTON ENGINES; COMBUSTION ENGINES IN GENERAL
    • F02B2275/00Other engines, components or details, not provided for in other groups of this subclass
    • F02B2275/14Direct injection into combustion chamber
    • FMECHANICAL ENGINEERING; LIGHTING; HEATING; WEAPONS; BLASTING
    • F02COMBUSTION ENGINES; HOT-GAS OR COMBUSTION-PRODUCT ENGINE PLANTS
    • F02BINTERNAL-COMBUSTION PISTON ENGINES; COMBUSTION ENGINES IN GENERAL
    • F02B29/00Engines characterised by provision for charging or scavenging not provided for in groups F02B25/00, F02B27/00 or F02B33/00 - F02B39/00; Details thereof
    • F02B29/04Cooling of air intake supply
    • F02B29/0406Layout of the intake air cooling or coolant circuit
    • FMECHANICAL ENGINEERING; LIGHTING; HEATING; WEAPONS; BLASTING
    • F02COMBUSTION ENGINES; HOT-GAS OR COMBUSTION-PRODUCT ENGINE PLANTS
    • F02BINTERNAL-COMBUSTION PISTON ENGINES; COMBUSTION ENGINES IN GENERAL
    • F02B29/00Engines characterised by provision for charging or scavenging not provided for in groups F02B25/00, F02B27/00 or F02B33/00 - F02B39/00; Details thereof
    • F02B29/04Cooling of air intake supply
    • F02B29/045Constructional details of the heat exchangers, e.g. pipes, plates, ribs, insulation, materials, or manufacturing and assembly
    • F02B29/0468Water separation or drainage means
    • FMECHANICAL ENGINEERING; LIGHTING; HEATING; WEAPONS; BLASTING
    • F02COMBUSTION ENGINES; HOT-GAS OR COMBUSTION-PRODUCT ENGINE PLANTS
    • F02BINTERNAL-COMBUSTION PISTON ENGINES; COMBUSTION ENGINES IN GENERAL
    • F02B3/00Engines characterised by air compression and subsequent fuel addition
    • F02B3/06Engines characterised by air compression and subsequent fuel addition with compression ignition
    • FMECHANICAL ENGINEERING; LIGHTING; HEATING; WEAPONS; BLASTING
    • F02COMBUSTION ENGINES; HOT-GAS OR COMBUSTION-PRODUCT ENGINE PLANTS
    • F02BINTERNAL-COMBUSTION PISTON ENGINES; COMBUSTION ENGINES IN GENERAL
    • F02B61/00Adaptations of engines for driving vehicles or for driving propellers; Combinations of engines with gearing
    • F02B61/04Adaptations of engines for driving vehicles or for driving propellers; Combinations of engines with gearing for driving propellers
    • FMECHANICAL ENGINEERING; LIGHTING; HEATING; WEAPONS; BLASTING
    • F02COMBUSTION ENGINES; HOT-GAS OR COMBUSTION-PRODUCT ENGINE PLANTS
    • F02DCONTROLLING COMBUSTION ENGINES
    • F02D2250/00Engine control related to specific problems or objectives
    • F02D2250/18Control of the engine output torque
    • F02D2250/26Control of the engine output torque by applying a torque limit
    • FMECHANICAL ENGINEERING; LIGHTING; HEATING; WEAPONS; BLASTING
    • F02COMBUSTION ENGINES; HOT-GAS OR COMBUSTION-PRODUCT ENGINE PLANTS
    • F02DCONTROLLING COMBUSTION ENGINES
    • F02D2400/00Control systems adapted for specific engine types; Special features of engine control systems not otherwise provided for; Power supply, connectors or cabling for engine control systems
    • F02D2400/04Two-stroke combustion engines with electronic control
    • YGENERAL TAGGING OF NEW TECHNOLOGICAL DEVELOPMENTS; GENERAL TAGGING OF CROSS-SECTIONAL TECHNOLOGIES SPANNING OVER SEVERAL SECTIONS OF THE IPC; TECHNICAL SUBJECTS COVERED BY FORMER USPC CROSS-REFERENCE ART COLLECTIONS [XRACs] AND DIGESTS
    • Y02TECHNOLOGIES OR APPLICATIONS FOR MITIGATION OR ADAPTATION AGAINST CLIMATE CHANGE
    • Y02TCLIMATE CHANGE MITIGATION TECHNOLOGIES RELATED TO TRANSPORTATION
    • Y02T10/00Road transport of goods or passengers
    • Y02T10/10Internal combustion engine [ICE] based vehicles
    • Y02T10/12Improving ICE efficiencies

Landscapes

  • Engineering & Computer Science (AREA)
  • Chemical & Material Sciences (AREA)
  • Combustion & Propulsion (AREA)
  • Mechanical Engineering (AREA)
  • General Engineering & Computer Science (AREA)
  • Supercharger (AREA)
  • Physics & Mathematics (AREA)
  • Thermal Sciences (AREA)
  • Output Control And Ontrol Of Special Type Engine (AREA)
  • Fuel-Injection Apparatus (AREA)
  • Valve Device For Special Equipments (AREA)
  • Valve-Gear Or Valve Arrangements (AREA)

Abstract

【課題】ディーゼル・エンジン及び排気ガス・ターボ・チャージャの機能的な信頼性を損なわず、エンジン出力の全範囲にわたってNOの排出を許容可能なレベルに維持し、エンジンの部分負荷の範囲でも高効率を保証する、長手方向に掃気される2ストロークの大型ディーゼル・エンジンの動作方法の提供。
【解決手段】周囲圧力Pの外気8が排気ガス・ターボ・チャージャ9によって摂取され、所定の掃気圧力Pで掃気スリット4を介して掃気10としてシリンダ3に供給される。その空気がシリンダ3中で圧縮され、そこに燃料が噴射・燃焼される。燃焼ガス6は、ターボ・チャージャ9のタービンに供給される。掃気圧力Pは、エンジン出力Lに応じて所定のエンジン出力Lまで常に上昇し、エンジン出力のより高い範囲で0.2〜1barだけ急激に低下し、それ以降、再度エンジン出力Lに応じて常に上昇する。
【選択図】図2

Description

本発明は、請求項1の導入部分による、長手方向に掃気される2ストロークの大型ディーゼル・エンジンの動作方法に関するものである。
例えば、船舶又は電気エネルギ生成のための据え付け型の装置に使用される2ストロークの大型ディーゼル・エンジンなどの往復ピストン燃焼エンジンの性能を向上させるために、排気ガス・ターボ・チャージャによって、燃焼サイクルに従って、上昇した圧力の下で、外気がシリンダの燃焼空間に導入される。ここで、シリンダの燃焼空間の燃焼プロセスからの高温の排気ガスが、出口弁を開くことにより、給気グループに供給され、排気ガスの熱エネルギの一部を利用することができる。給気グループは、本質的にタービンを含み、タービンは、給気グループに入る圧縮された高温の排気ガスによって駆動される。次に、タービンがコンプレッサを駆動し、それにより、外気が吸引され圧縮される。タービンを備えたコンプレッサは、ターボ・チャージャ又は排気ガス・ターボ・チャージャと称されるが、その下流に、いわゆるディフューザ、給気冷却器、水分離器及び入口レシーバが配置される。圧縮された外気は、給気又は掃気として知られているが、そこから最終的に大型ディーゼル・エンジンのシリンダの個々の燃焼空間に供給される。したがって、給気グループの使用によって、外気の供給を増加することができ、シリンダの燃焼空間の燃焼プロセスの効率を向上させることができる。
燃料価格が高いので、燃料節約のために、ディーゼル燃料エンジンは、とりわけ貨物船では、部分負荷で動作させることが多い。部分負荷という用語は、エンジン出力が最大エンジン出力より低いことを示す。排気ガス・ターボ・チャージャを備えた2ストロークの大型ディーゼル・エンジンの場合、掃気圧力が低いことによりシリンダの掃き出しが良くないので、一般的には最大エンジン出力の30〜50%の部分負荷では、燃料消費率は増大する。さらに、このようなディーゼル燃料エンジンを部分負荷の動作範囲で長期間動作させると、機能性を損なうおそれがある。
部分負荷の動作範囲での2ストロークの大型ディーゼル・エンジンの効率を改善するために、掃気圧力を、周知の方法で、可能な限りの最大値まで上昇させることができる。そのために、例えばEP−A−1956210に記載されているように、排気ガスがタービンに入る排気ガス・ターボ・チャージャの入口領域に配置されたノズルのノズル・リングの断面を、それに対応して減少させることができる。さらに、タービン形状を変更することができるターボ・チャージャを使用することにより、掃気圧力を上昇させることができる可能性もある。
しかし、掃気圧力を可能な限りの最大値へ上昇させると、エンジン出力のより高い範囲での排気ガス・ターボ・チャージャの機能性に影響を及ぼすおそれがあり、或いは、ディーゼル・エンジンが機械的及び/又は熱的に過負荷状態になるおそれもある。
ディーゼル・エンジンの低い部分負荷で掃気圧力を上昇させる方法は全て、排気ガスの窒素酸化物(NO)の値を高めることになる。したがって、排出基準に適合するためには、ディーゼル・エンジンの他の負荷範囲でのNOの排気を低下させなければならない。
EP−A−1956210
本発明の目的は、ディーゼル・エンジン及び排気ガス・ターボ・チャージャの機能的な信頼性を損なわず、エンジン出力の全範囲にわたってNOの排出を許容可能なレベルに維持し、エンジンの部分負荷の範囲でも高効率を保証する、長手方向に掃気される2ストロークの大型ディーゼル・エンジンの動作方法を提供することである。
本発明の目的は、請求項1の特徴を有する方法によって実現される。本発明方法の好ましい実施例は従属請求項に記載される。
本発明方法は、長手方向に掃気される2ストロークの大型ディーゼル・エンジンの動作に役立つ。2ストロークの大型ディーゼル・エンジンは、各シリンダの入口領域に掃気スリットを有し、予め設定された量の掃気を供給する。さらに、各シリンダはそれぞれシリンダ・カバーと、燃焼ガスを排出するための少なくとも1つの出口弁とを有する。本発明方法では、周囲圧力Pで利用可能な外気が、排気ガス・ターボ・チャージャによって摂取され、予め設定された掃気圧力Pで掃気スリットを介して掃気としてシリンダに供給され、導入された空気はシリンダで圧縮され、その空気中に液体燃料又は気体などの燃料が噴射され、続いて燃焼させられて、燃焼ガスが空気及び燃料によって生成される。本発明では、掃気圧力Pが、予め設定されたエンジン出力Lまで、エンジン出力又はディーゼル・エンジンの負荷に応じて常に上昇し、予め設定されたエンジン出力Lにおいて、0.2〜1bar(20〜100kPa)の急激な低下をし、その後は、掃気圧力Pがエンジン出力Lに応じて再度常に上昇することが重要である。予め設定されたエンジン出力Lは、より大きい出力範囲にあることが好ましく、とりわけディーゼル・エンジンの最大出力範囲の大きい方から4分の1の範囲にあることが好ましい。ここで、最大出力範囲の大きい方から4分の1の範囲は、最大エンジン出力の75〜100%のエンジン出力に関係し、最大エンジン出力はL100%とも称される。
エンジン出力とエンジン負荷という用語は同じ用語として用いられる。以下では、給気圧力と掃気圧力という用語も同じ用語として用いられる。
掃気圧力Pの急激な低下は、75〜90%のエンジン出力範囲で起きることが好ましい。とりわけ、給気圧力の急激な変化は、83〜87%のエンジン負荷で起きることが好ましい。
給気圧力Pの急激な圧力低下は、0.2〜0.7bar(20〜70kPa)であることが好ましい。とりわけ、0.2〜0.6bar(20〜60kPa)であることが好ましい。
さらに、給気圧力は、急激な低下の前後ではエンジン出力に従って常に上昇することが好ましく、その関係は、圧力の急な変化以外ではエンジン負荷に対して本質的に線形に上昇することが好ましい。
給気圧力は、標準的な動作方法に対して概して高く、40%のエンジン負荷においては、1.8〜2.5bar(180〜250kPa)であることが好ましい。掃気圧力値は絶対圧力値である。外気が吸引されるときの外気圧に対する圧力差は、いずれについても、前述の値に対してそれぞれ外気圧の大きさの分だけ小さい。
給気圧力の急激な低下が起きる予め設定されたエンジン出力Lより低いエンジン出力範囲において、本質的に線形の掃気圧力Pの上昇は、エンジン出力1%当たり0.035〜0.045bar(3.5〜4.5kPa)、とりわけエンジン出力1%当たり0.040〜0.041bar(4.0〜4.1kPa)であることが好ましい。給気圧力Pの急激な低下が起きる予め設定されたエンジン出力Lより高いエンジン出力範囲においては、エンジン出力に対する本質的に線形の給気圧力の上昇は、最大エンジン出力まで、エンジン出力1%当たり0.040〜0.045bar(4.0〜4.5kPa)、とりわけエンジン出力1%当たり0.041〜0.043bar(4.1〜4.3kPa)であることが好ましい。
給気圧力Pの急激な低下を、1つ又は複数の連続した段階で起こすことができるが、単一の段階であることが好ましい。
本発明方法の好ましい実施例では、より低い範囲のエンジン出力、すなわち最大エンジン出力の0〜65%の範囲のエンジン出力において、掃気圧力Pは、標準動作モードに対して上昇した状態で動作し、この上昇は、40%のエンジン出力において約0.25bar(25kPa)であり、典型的には65%のエンジン出力において0.4bar(40kPa)である。出口弁の開放及び燃料噴射は、標準動作モードの場合とほぼ同じときに行われる。給気圧力が高いと、燃焼圧力が高くなり、したがってNO排出も高くなるが、燃焼はより効率的になり、その結果、燃料消費率が低くなる。
本発明方法において、標準動作モードに対して掃気圧力を上昇させることは、周知の圧力上昇手段によって実現することができる。より強力な排気ガス・ターボ・チャージャを使用することができるか、又は例えば排気ガスの流速を増加させるための開口を、例えばEP−A−1956210に記載されているように、ターボ・チャージャの上流にある排気ガス・ダクト中で使用することができる。
65%のエンジン出力から、掃気圧力の急激な低下が行われる予め決められたエンジン出力L、すなわち好ましくは約85%までの範囲のエンジン出力において、好ましい動作モードでは、標準動作モードに対して上昇した掃気圧力が同様に用いられ、同時に出口弁が標準プロセスより遅く閉鎖され、その結果、シリンダが燃焼プロセスに続いてより長い時間掃気され、それによりシリンダ内の圧力が次の燃焼サイクルのために低下する。それにより、燃焼は効率的ではなくなるが、燃焼温度もやはり低下して、それにより、NO排出が減少する。したがって、出口弁の閉鎖を遅らせることにより、燃焼圧力が低下し、出口弁の閉鎖及び燃料の供給は、シリンダの燃焼圧力が標準プロセスとほぼ対応するように選択される。
最大出力の70〜80%のエンジン出力では、出口弁は、標準動作モードに対して10〜15°遅れて閉鎖する。角度の表示はクランク角を意味する。ピストンの下死点の位置では、シリンダ、シリンダ・カバー及びピストンによって境界が定められる燃焼空間は最大容積を有し、180°のクランク角に相当し、上死点の位置では、燃焼空間の容積が最小になり、0°又は360°のクランク角と同一となる。標準プロセスの出口弁は、(ストローク/ボア比及びシリンダの圧縮比に応じて)クランク角が220〜265°の範囲で閉鎖されるので、本発明方法の前述のエンジン出力範囲での出口弁の閉鎖は、クランク角が230〜280°の範囲、好ましくは260〜280°の範囲で行われる。
85%のエンジン出力から、100%のエンジン出力に相当する最大エンジン出力まで、すなわち掃気圧力の急激な低下が起きる所定のエンジン出力L以降のエンジン出力範囲では、掃気圧力は、圧力の急激な低下の後に生じる低いレベルから、エンジン出力に従って再び常に上昇する。この範囲では、掃気圧力はなお、標準プロセスに対して典型的には0.1〜0.15bar(10〜15kPa)高い。
圧力の急激な低下、すなわち掃気圧力の急激な低下は、例えばそれに応じて構成され制御可能な排気ガス・ターボ・チャージャによって起こすことができるか、又は排気ガス・ターボ・チャージャのターボ・チャージャ領域を通り越すバイパス・ラインの使用によって実現することができ、その際バイパス・ラインに設けられたバルブが、好ましくは70〜90%の範囲のエンジン出力、とりわけ約85%のエンジン出力で急激に開放され、それにより排気ガスの一部、好ましくは排気ガス量の約5%が、排気ガス・ターボ・チャージャを通り越すバイパス内を通って案内され、排気管に直接導かれる。ここで、エンジン出力がさらに増大するとき、すなわち圧力の段階的な低下が引き起こされる予め決められたエンジン出力Lから最大エンジン出力までの範囲では、バイパスが開放したままである。
圧力の急激な低下を実現するには、排気ガス・ターボ・チャージャの給気側領域のバイパスを使用することも可能である。ここで、予め設定されたエンジン出力Lに達すると、バルブは同様に急激に開放されて、排気ガス・ターボ・チャージャは、外気に加えて排気ガス・ターボ・チャージャの出口の圧縮された掃気も吸引し、それにより掃気圧力がそれに応じて低下する。
燃焼温度、排気ガス、NO排出及び燃料消費率に関して、本発明方法を理想的に実行するには、2ストロークの大型ディーゼル・エンジンは、電子的に制御可能な出口弁、電子的に制御可能な燃料噴射装置及び本発明による掃気圧力を制御する装置を備えるべきである。
本発明方法により、機能的な信頼性を損なう程度までエンジンの熱負荷を増大させることなしに、且つ大幅に構造上の変更を行う必要なしに、長手方向に掃気される2ストロークの大型ディーゼル・エンジンの効率、とりわけ部分負荷動作における効率の向上、及び全ての出力範囲にわたり窒素酸化物の排出値を所定の値へ遵守させることが可能になり、既設のエンジンを本発明方法で動作させることも、簡単な手段によって改造することもできる。
本発明を、以下の図面を参照して以下でさらに説明する。
エンジン出力Lに対する掃気圧力Pについて、2ストロークの大型ディーゼル・エンジンの標準動作モードと本発明方法との比較。 本発明による排気ガス・ターボ・チャージャ装置を備える、長手方向に掃気される2ストロークの大型ディーゼル・エンジンの概略的な構成。 本発明による排気ガス・ターボ・チャージャ装置を備える、長手方向に掃気される2ストロークの大型ディーゼル・エンジンのさらなる実施例。 エンジン出力Lに対する燃料消費率BVについて、2ストロークの大型ディーゼル・エンジンの標準動作モードと本発明方法との比較。
図1は、掃気圧力Pとエンジン出力Lの関係について、2ストロークの大型ディーゼル・エンジンの標準動作モードと本発明方法との比較を示す。掃気圧力Pを、単位バールで縦軸にプロットし、エンジン出力Lを横軸にプロットしている。エンジン出力を、最大エンジン出力に対するパーセント表示で示している。
図1では、曲線100は、長手方向に掃気される2ストロークの大型ディーゼル・エンジンの標準動作モードのエンジン出力Lに対する掃気圧力Pを示している。この曲線においては、掃気圧力Pは、エンジン出力Lに従って常に上昇し、すなわち急激な変化が起きない。その関係は線形であり、すなわち掃気圧力Pが常にエンジン出力の変化に反応し、エンジン出力の全範囲についてエンジン出力に対して比例変化する。曲線100は、直線に近い曲線を描き、その傾きはエンジン出力1%当たり0.0375bar(3.75kPa)であり、掃気圧力P、すなわち給気圧力は、エンジン出力40%において約1.6875bar(168.75kPa)である。
図1では、曲線200は、本発明方法によるエンジン出力Lに対する掃気圧力Pを示す。この曲線においては、掃気圧力Pは、標準プロセスと比較して常に高い。本発明方法では、掃気圧力Pは、曲線100に示す標準プロセスより、エンジン出力40%において約0.25bar(25kPa)、エンジン出力80%において約0.4375bar(43.75kPa)高い。
本発明方法の掃気圧力Pは、85%より低いエンジン出力ではエンジン出力Lに従って常に上昇し、約85%のエンジン出力において、約0.3125bar(31.25kPa)の掃気圧力の急激な低下を示し、その後、再びエンジン出力Lに従って常に上昇する。85%より高い及び低いエンジン出力では、エンジン出力に対する掃気圧力Pの関係は直線的な曲線によって示される。すなわち掃気圧力Pは、予め設定されたエンジン出力85%のエンジン出力Lにおいて圧力が急激に変化することは別にして、全てのエンジン出力範囲において、常にエンジン出力Lの変化に反応し、比例変化する。
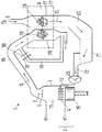
様々な構成要素の協働を概略的に示して説明するために、図2は、本発明の大型ディーゼル・エンジンの排気ガス・ターボ・チャージャ装置の原理構成を示しており、その装置は、長手方向に掃気される2ストロークの大型ディーゼル・エンジンに適用され、以下で参照番号1によってその全体は示されている。
大型ディーゼル・エンジン1は、それ自体は周知であるが、典型的には、シリンダ・カバー5内に配置された出口弁7を有する複数のシリンダ3を含み、そのシリンダ3内では、ピストン15が、下死点UTと上死点OTとの間の走行面に沿って上下に移動可能に配置されている。シリンダ3の壁は、周知のように、シリンダ・カバー5及びピストン15と共に、シリンダ3の燃焼空間を決定する。シリンダ3の入口領域2では、掃気スリット4として構成された複数の掃気開口部4が設けられている。掃気スリット4は、ピストン15の位置に応じて、ピストンによってカバーされるか、又は開放した状態になっている。掃気10は、給気10とも呼ばれるが、掃気開口部4を通ってシリンダ3の燃焼空間に流入することができる。燃焼中に生成された燃焼ガス6は、シリンダ・カバー5内に配置された開放している出口弁7を通り、続いて排気ダクト16内を流れ、排気ガス・ターボ・チャージャ9に至る。
排気ガス・ターボ・チャージャ9は、外気8の圧縮のためのコンプレッサ・ホイール18を備えるコンプレッサ、並びにタービン・ホイール19を備えるタービンを含む。コンプレッサ・ホイール18は、シャフトによってタービン・ホイール19に回転式に固定して連結されているため、コンプレッサ・ホイール18はタービン・ホイール19によって駆動される。タービン及びコンプレッサは、ハウジング17内に配置され、排気ガス・ターボ・チャージャ9を形成し、その排気ガス・ターボ・チャージャ9は、ここではコンプレッサ側に形成され、遠心コンプレッサとして構成されている。タービンは、シリンダ3の燃焼空間から流入する高温の燃焼ガス6によって駆動される。
シリンダ3の燃焼空間を掃気10で満たすには、外気8を、コンプレッサ・ホイール18によってマニホルドを介して吸引し、排気ガス・ターボ・チャージャ9で圧縮して、最終的にシリンダ3にためる掃気圧力Pよりわずかに高い圧力にする。圧縮された外気8は、排気ガス・ターボ・チャージャ9から、下流に配置されたディフューザ20及び給気冷却器21を通り、水分離器22を介して、入口レシーバ25に掃気10として達する。入口レシーバ25から、圧縮された給気10が、掃気スリット4を通って、上昇した掃気圧力Pで最後にシリンダ3の燃焼空間に達する。
図2に示す実施例はさらに、バイパス・ライン35を示し、そのバイパス・ライン35は、タービン側26で排気ガス・ターボ・チャージャ9を通り越す。バイパス・ラインは、バルブ30及びスロットル32を有する。バルブは、2つの位置、すなわち開又は閉の位置をとることができる。スロットルは、例えば、ノズル・リングによって形成することができ、バイパス・ラインの断面の縮小に役立つ。ここでは、断面の縮小は、一定に保たれることが好ましい。バイパス・ラインの断面は、バルブが開いている場合に、排気ダクト16に導かれる燃焼ガス6の3〜8%、好ましくは4〜6%、とりわけ約5%が、バイパス・ラインを通って案内されるように選択される。バイパス・ラインを通って案内される燃焼ガスは、排気ガス・ターボ・チャージャ9を通り越して案内され、したがって、給気10の圧縮に寄与することはできない。
図3は、本発明の大型ディーゼル・エンジン1のさらなる実施例の概略図を示す。バイパス・ライン45が、コンプレッサ側27に取り付けられ、したがって、排気ガス・ターボ・チャージャ9のコンプレッサを通り越す。バイパス・ライン45は、バルブ40及びスロットル42を有し、そのバルブ40及びスロットル42は、図2に示す実施例のバルブ30及びスロットル32と同じように形成され、同じ機能を有する。図3に示すさらなる要素の機能は、図2の対応する要素について説明したものと同じである。
バルブ40が開いている場合は、コンプレッサ・ホイール18によってバイパス・ライン45から空気が吸引され、それにより、コンプレッサの性能、したがって給気圧力もそれに対応して低下する。スロットル42は、例えば、ノズル・リングによって形成することができ、バイパス・ライン45の断面の縮小に役立つ。断面の縮小は、一定であることが好ましい。バイパス・ライン45の断面及びスロットル42は、バルブ40を開くことによって、掃気圧力が、排気ガス・ターボ・チャージャ9の出口で0.2〜1bar(20〜100kPa)、好ましくは0.2〜0.7bar(20〜70kPa)低下するように形成される。
図4は、エンジン出力Lに対応する燃料消費率BVについて、2ストロークの大型ディーゼル・エンジンの標準動作モードと、本発明方法との比較を示す。g/kWhで示される燃料消費率は、BSFC値(BSFCとは、Brake Specific Fuel Consumption(正味燃料消費率)である)に対応し、これは燃料消費率(gph(グラム/時間))/エンジン出力(kW)によって計算される。エンジン出力は、w×Tqによって計算され、ここでwは回転数(rpm)であり、Tqはトルク(Nm)である。
図4では、燃料消費率BVを縦軸にプロットし、エンジン出力Lを横軸にプロットしている。エンジン出力は、最大エンジン出力のパーセント表示で示されている。
図4の曲線400は、本発明方法によるエンジン出力に対する燃料消費率を示し、曲線300は、標準動作モードによる燃料消費率を示す。図4から、本発明方法の燃料消費率は、とりわけ最大エンジン出力の約75%より低い部分負荷の領域において、標準動作モードと比較して大幅に低くなることが明確に認識できる。
1 エンジン
2 入口領域
3 シリンダ
4 掃気スリット
5 シリンダ・カバー
6 燃焼ガス
7 出口弁
8 外気
9 排気ガス・ターボ・チャージャ
10 掃気
15 ピストン
16 排気ダクト
17 ハウジング
18 コンプレッサ・ホイール
19 タービン・ホイール
20 ディフューザ
21 給気冷却器
22 水分離器
25 入口レシーバ
26 タービン側
27 コンプレッサ側
30、40 バルブ
32、42 スロットル
35、45 バイパス・ライン
掃気圧力、給気圧力
周囲圧力
予め設定されたエンジン出力
100% 最大エンジン出力
UT 下死点
OT 上死点

Claims (9)

  1. 少なくとも1つのシリンダを有する、長手方向に掃気される2ストロークの大型ディーゼル・エンジン(1)の動作方法であって、
    予め設定された量の掃気を導入するために各シリンダ(3)の入口領域(2)に掃気スリット(4)を設け、燃焼ガス(6)を排出するために各シリンダ(3)のシリンダ・カバー(5)に出口弁(7)を設け、周囲圧力(P)で利用可能な外気(8)を、排気ガス・ターボ・チャージャ(9)によって取り込み、予め設定された掃気圧力(P)で前記掃気スリット(4)を介して掃気(10)として前記シリンダ(3)に供給し、導入された空気を前記シリンダ(3)内で圧縮し、前記空気中に燃料を噴射し、続いて燃焼させ、燃焼プロセス中に形成された前記燃焼ガス(6)を、前記排気ガス・ターボ・チャージャ(9)のタービンに排気ダクト(16)を介して供給する、動作方法において、
    前記掃気圧力(P)が、予め設定されたエンジン出力Lまで前記ディーゼル・エンジンのエンジン出力(L)に応じて連続的に上昇し、前記予め設定されたエンジン出力Lにおいて、0.2〜1barの段階的な低下をするようにし、前記段階的な低下の後、前記掃気圧力(P)が、前記エンジン出力(L)に応じて連続的に再度上昇することを特徴とする、動作方法。
  2. 前記掃気圧力(P)の前記段階的な低下が、最大エンジン出力の75〜90%、とりわけ前記最大エンジン出力(L100%)の83〜87%の範囲で行われることを特徴とする、請求項1に記載された動作方法。
  3. 前記掃気圧力(P)についての圧力の前記段階的な低下が、0.2〜0.7barとなることを特徴とする、請求項1又は請求項2に記載された動作方法。
  4. 前記掃気圧力(P)が、前記段階的な低下の前後において、前記エンジン出力(L)に対して本質的に線形に上昇することを特徴とする、請求項1から請求項3までのいずれか一項に記載された動作方法。
  5. 前記掃気圧力が、40%の前記エンジン出力において絶対圧力で1.8〜2barであり、
    40%の前記エンジン出力から前記掃気圧力の前記段階的な低下までの領域において、エンジン出力に対する前記掃気圧力の本質的に線形の上昇が、前記エンジン出力1%当たり0.035〜0.045bar、とりわけ前記エンジン出力1%当たり0.04〜0.041barであり、
    前記掃気圧力の前記段階的な低下から前記最大エンジン出力(L100%)までにおいて、前記エンジン出力に対する前記掃気圧力の本質的に線形の上昇が、前記エンジン出力1%当たり0.040〜0.045bar、とりわけ前記エンジン出力1%当たり0.041〜0.043barであることを特徴とする、請求項4に記載された動作方法。
  6. 前記掃気圧力の前記段階的な低下が、前記予め設定されたエンジン出力Lにおいて1つ又は複数の段階で行われることを特徴とする、請求項1から請求項5までのいずれか一項に記載された動作方法。
  7. 前記掃気圧力Pが、0%の前記エンジン出力から前記掃気圧力の前記段階的な低下が行われる前記予め設定されたエンジン出力Lまでの領域において、前記標準動作モードに対して上昇し、前記上昇は、前記最大エンジン出力の40%において0.2〜0.3barであり、前記最大エンジン出力の65%において0.35〜0.45barであることを特徴とする、請求項1から請求項6までのいずれか一項に記載された動作方法。
  8. 前記最大エンジン出力の65%から、前記掃気圧力の前記段階的な低下が行われる前記予め設定されたエンジン出力Lまでの領域において、前記出口弁が、クランク角が230〜290°の範囲、とりわけクランク角が260〜280°の範囲において閉鎖することを特徴とする、請求項7に記載された動作方法。
  9. 前記掃気圧力Pの前記段階的な低下が行われる前記予め設定されたエンジン出力Lから、前記最大エンジン出力までの範囲において、前記掃気圧力が、圧力の前記段階的な低下の後に生じる前記掃気圧力の大きさから、エンジン出力Lに従って再び連続的に上昇することを特徴とする、請求項7又は請求項8に記載された動作方法。
JP2009188209A 2008-09-03 2009-08-17 長手方向に掃気される2ストロークの大型ディーゼル・エンジンの動作方法 Expired - Fee Related JP5436972B2 (ja)

Applications Claiming Priority (2)

Application Number Priority Date Filing Date Title
EP08163602.9 2008-09-03
EP08163602 2008-09-03

Publications (2)

Publication Number Publication Date
JP2010059965A true JP2010059965A (ja) 2010-03-18
JP5436972B2 JP5436972B2 (ja) 2014-03-05

Family

ID=40303661

Family Applications (1)

Application Number Title Priority Date Filing Date
JP2009188209A Expired - Fee Related JP5436972B2 (ja) 2008-09-03 2009-08-17 長手方向に掃気される2ストロークの大型ディーゼル・エンジンの動作方法

Country Status (7)

Country Link
EP (1) EP2161427B1 (ja)
JP (1) JP5436972B2 (ja)
KR (2) KR20100027957A (ja)
CN (1) CN101666259B (ja)
AT (1) ATE503094T1 (ja)
DE (1) DE502009000482D1 (ja)
DK (1) DK2161427T3 (ja)

Cited By (1)

* Cited by examiner, † Cited by third party
Publication number Priority date Publication date Assignee Title
CN108869060A (zh) * 2017-05-15 2018-11-23 温特图尔汽柴油公司 用于操作大型柴油发动机的方法和大型柴油发动机

Citations (3)

* Cited by examiner, † Cited by third party
Publication number Priority date Publication date Assignee Title
JPS61294136A (ja) * 1985-06-20 1986-12-24 Mitsui Eng & Shipbuild Co Ltd 過給機運転方法
JPH09256814A (ja) * 1996-03-22 1997-09-30 Mitsubishi Heavy Ind Ltd ディーゼル機関プラント
JP2008196483A (ja) * 2007-02-12 2008-08-28 Waertsilae Schweiz Ag 長手方向に掃気される2ストロークの大きなディーゼル機関の作動方法、及び長手方向に掃気される大きなディーゼル機関

Family Cites Families (6)

* Cited by examiner, † Cited by third party
Publication number Priority date Publication date Assignee Title
DK105374C (da) * 1962-01-18 1966-09-19 Goetaverken Ab Totaksforbrændingsmotor, som er forsynet både med en udstødsturbinedrevet skylle- og overladekompressor og en af en vilkårlig drivkilde drevet hjælpekompressor.
JPS63192914A (ja) * 1987-02-04 1988-08-10 Godo Ozawa エンジンの過給装置
JP3718386B2 (ja) 1999-09-09 2005-11-24 ダイハツ工業株式会社 2サイクルエンジンの排気ガス再循環制御方法
JP2003129891A (ja) * 2001-10-23 2003-05-08 Daihatsu Motor Co Ltd 排気ターボ過給機付き二サイクル内燃機関
DK1380737T3 (da) * 2002-07-09 2005-07-25 Waertsilae Nsd Schweiz Ag Fremgangsmåde til at drive en totakstempelforbrændingsmotor
KR20080074719A (ko) * 2007-02-08 2008-08-13 베르트질레 슈바이츠 악티엔게젤샤프트 길이방향으로 소기되는 2행정 대형 디젤 엔진의 실린더에급기를 충전하는 방법, 및 길이방향으로 소기되는 2행정대형 디젤 엔진

Patent Citations (3)

* Cited by examiner, † Cited by third party
Publication number Priority date Publication date Assignee Title
JPS61294136A (ja) * 1985-06-20 1986-12-24 Mitsui Eng & Shipbuild Co Ltd 過給機運転方法
JPH09256814A (ja) * 1996-03-22 1997-09-30 Mitsubishi Heavy Ind Ltd ディーゼル機関プラント
JP2008196483A (ja) * 2007-02-12 2008-08-28 Waertsilae Schweiz Ag 長手方向に掃気される2ストロークの大きなディーゼル機関の作動方法、及び長手方向に掃気される大きなディーゼル機関

Cited By (1)

* Cited by examiner, † Cited by third party
Publication number Priority date Publication date Assignee Title
CN108869060A (zh) * 2017-05-15 2018-11-23 温特图尔汽柴油公司 用于操作大型柴油发动机的方法和大型柴油发动机

Also Published As

Publication number Publication date
EP2161427A1 (de) 2010-03-10
KR20160011223A (ko) 2016-01-29
JP5436972B2 (ja) 2014-03-05
CN101666259A (zh) 2010-03-10
CN101666259B (zh) 2013-07-24
KR20100027957A (ko) 2010-03-11
KR101734169B1 (ko) 2017-05-11
DE502009000482D1 (de) 2011-05-05
EP2161427B1 (de) 2011-03-23
ATE503094T1 (de) 2011-04-15
DK2161427T3 (da) 2011-06-20

Similar Documents

Publication Publication Date Title
US8667952B2 (en) Method and device for controlling diesel engine with forced induction system
CN100516480C (zh) 用于四冲程内燃机的两级增压系统
JP4898912B2 (ja) 火花点火機関の運転方法
US20100229550A1 (en) Internal combustion engine comprising an exhaust gas turbocharger
JP5833170B2 (ja) 部分的排気流抽出装置、及び前記装置を備えている内燃エンジン
KR20110074907A (ko) 내부 연소 엔진을 위한 배기 장치
JP2006348947A (ja) 排気圧回生機付内燃機関
US20070223352A1 (en) Optical disc assemblies for performing assays
US8070416B2 (en) Flow regulation mechanism for turbocharger compressor
US20060101819A1 (en) Method and system for influencing the quantity of exhaust gas recirculated in a pressure charged internal combustion engine
KR20040005588A (ko) 2행정 왕복 내연기관의 작동 방법
JP2005069178A (ja) 電動機付過給機
KR101475834B1 (ko) 대형, 크로스헤드 왕복 피스톤 내연기관을 작동하기 위한 방법 및 그러한 적합한 내연기관
US20070220884A1 (en) Divided housing turbocharger for an engine
JP5436972B2 (ja) 長手方向に掃気される2ストロークの大型ディーゼル・エンジンの動作方法
KR101526388B1 (ko) 엔진 시스템
JP2001020747A (ja) 大型ディーゼルエンジン用の過給機グループ
KR20040005589A (ko) 왕복 내연기관의 작동 방법
JP2005344638A (ja) 内燃機関の制御装置
US8408189B2 (en) Petrol engine having a low-pressure EGR circuit
JP2010185314A (ja) 過給制御装置
JP6537271B2 (ja) 内燃機関
JP5678580B2 (ja) 内燃機関の制御装置
KR101948968B1 (ko) 내연 엔진들의 작동을 제어하는 방법, 및 내연 엔진의 작동을 제어하는 제어 시스템
US20230014159A1 (en) Internal Combustion Engine Air Intake System for Avoiding Turbocharger Surge

Legal Events

Date Code Title Description
A621 Written request for application examination

Free format text: JAPANESE INTERMEDIATE CODE: A621

Effective date: 20120816

A131 Notification of reasons for refusal

Free format text: JAPANESE INTERMEDIATE CODE: A131

Effective date: 20130625

A977 Report on retrieval

Free format text: JAPANESE INTERMEDIATE CODE: A971007

Effective date: 20130628

A601 Written request for extension of time

Free format text: JAPANESE INTERMEDIATE CODE: A601

Effective date: 20130925

A602 Written permission of extension of time

Free format text: JAPANESE INTERMEDIATE CODE: A602

Effective date: 20130930

A521 Request for written amendment filed

Free format text: JAPANESE INTERMEDIATE CODE: A523

Effective date: 20131025

TRDD Decision of grant or rejection written
A01 Written decision to grant a patent or to grant a registration (utility model)

Free format text: JAPANESE INTERMEDIATE CODE: A01

Effective date: 20131129

A61 First payment of annual fees (during grant procedure)

Free format text: JAPANESE INTERMEDIATE CODE: A61

Effective date: 20131211

R150 Certificate of patent or registration of utility model

Ref document number: 5436972

Country of ref document: JP

Free format text: JAPANESE INTERMEDIATE CODE: R150

Free format text: JAPANESE INTERMEDIATE CODE: R150

R250 Receipt of annual fees

Free format text: JAPANESE INTERMEDIATE CODE: R250

R250 Receipt of annual fees

Free format text: JAPANESE INTERMEDIATE CODE: R250

R250 Receipt of annual fees

Free format text: JAPANESE INTERMEDIATE CODE: R250

R250 Receipt of annual fees

Free format text: JAPANESE INTERMEDIATE CODE: R250

LAPS Cancellation because of no payment of annual fees