JP2010059925A - ロッカアームユニット - Google Patents

ロッカアームユニット Download PDF

Info

Publication number
JP2010059925A
JP2010059925A JP2008229106A JP2008229106A JP2010059925A JP 2010059925 A JP2010059925 A JP 2010059925A JP 2008229106 A JP2008229106 A JP 2008229106A JP 2008229106 A JP2008229106 A JP 2008229106A JP 2010059925 A JP2010059925 A JP 2010059925A
Authority
JP
Japan
Prior art keywords
rocker arm
head
clip
pivot
support member
Prior art date
Legal status (The legal status is an assumption and is not a legal conclusion. Google has not performed a legal analysis and makes no representation as to the accuracy of the status listed.)
Granted
Application number
JP2008229106A
Other languages
English (en)
Other versions
JP5215091B2 (ja
Inventor
Shizuo Ishikawa
鎮夫 石川
Seishi Sakugi
清史 柵木
Koichi Nikaido
耕一 二階堂
Tomohisa Tone
友久 刀祢
Masaya Tanimura
真也 谷村
Current Assignee (The listed assignees may be inaccurate. Google has not performed a legal analysis and makes no representation or warranty as to the accuracy of the list.)
Subaru Corp
Otics Corp
Original Assignee
Otics Corp
Fuji Heavy Industries Ltd
Priority date (The priority date is an assumption and is not a legal conclusion. Google has not performed a legal analysis and makes no representation as to the accuracy of the date listed.)
Filing date
Publication date
Application filed by Otics Corp, Fuji Heavy Industries Ltd filed Critical Otics Corp
Priority to JP2008229106A priority Critical patent/JP5215091B2/ja
Publication of JP2010059925A publication Critical patent/JP2010059925A/ja
Application granted granted Critical
Publication of JP5215091B2 publication Critical patent/JP5215091B2/ja
Expired - Fee Related legal-status Critical Current
Anticipated expiration legal-status Critical

Links

Images

Classifications

    • FMECHANICAL ENGINEERING; LIGHTING; HEATING; WEAPONS; BLASTING
    • F01MACHINES OR ENGINES IN GENERAL; ENGINE PLANTS IN GENERAL; STEAM ENGINES
    • F01LCYCLICALLY OPERATING VALVES FOR MACHINES OR ENGINES
    • F01L1/00Valve-gear or valve arrangements, e.g. lift-valve gear
    • F01L1/12Transmitting gear between valve drive and valve
    • F01L1/18Rocking arms or levers
    • F01L2001/187Clips, e.g. for retaining rocker arm on pivot

Landscapes

  • Valve-Gear Or Valve Arrangements (AREA)

Abstract

【課題】ロッカアームと支持部材との間隔にバラツキが生じ得る動弁装置において、ロッカアームと支持部材とを連結できるようにする。
【解決手段】ロッカアーム20には、ピボット30(支持部材)に当接するアジャストスクリュ27が進退可能に設けられている。アジャストスクリュ27は、ロッカアーム20に螺合された雄ネジ部28と、雄ネジ部28よりも大径であってピボット30に当接する頭部29とを有する。クリップ40は、係止孔42と弾性係止片43を有し、ピボット30の外周の嵌合溝32に弾性係止片43を係止させるとともに、係止孔42の孔縁を雄ネジ部28側から頭部29に係止させることにより、ピボット30とロッカアーム20を連結する。
【選択図】図4

Description

本発明は、ロッカアームユニットに関するものである。
特許文献1には、シリンダヘッドに支持部材を取り付け、この支持部材に進退可能に設けたプランジャに対しロッカアームの支点側端部を当接させ、カムによりロッカアームを揺動させてバルブを開閉するようにしたエンジンの動弁装置が開示されている。
このような形態の動弁装置では、ロッカアームの支点側端部がプランジャに対して摺接可能に当接しているだけなので、駆動中にロッカアームがプランジャから外れる虞がある。また、ロッカアームをシリンダヘッドに組み付ける際に、ロッカアームがプランジャから外れ易く、組付け作業に手間取る虞もある。
その対策として、特許文献1には、ロッカアームの支点側端部にクリップを取り付け、このクリップにプランジャを係合する技術、即ちクリップによってロッカアームと支持部材とを連結する技術が開示されている。
一方、特許文献2には、ロッカアームに螺合したアジャストスクリュを、支持部材に当接させ、アジャストスクリュを回転させることにより、アジャストスクリュの支持部材側への突出寸法を変化させ、ロッカアームとカムとの隙間を調節するようにした動弁装置が開示されている。この動弁装置では、ロッカアームの寸法公差等により、支持部材とロッカアームとの間隔にバラツキが生じる場合がある。
特開2002−155710公報 特開2003−155903公報
特許文献1に記載されているクリップによる連結構造は、ロッカアームの揺動動作を許容するために、ロッカアームに取り付けたクリップが支持部材のプランジャに対して首振り状に相対変位できるようになっており、首振り状に相対変位する際には、ロッカアームと支持部材はクリップによって密着した状態に保たれている。
そのため、この特許文献1のクリップによる連結構造は、特許文献2のようにロッカアームと支持部材との間隔にバラツキが生じ得る動弁装置には適用できないという問題がある。
本発明は上記のような事情に基づいて完成されたものであって、ロッカアームと支持部材との間隔にバラツキが生じ得る動弁装置において、ロッカアームと支持部材とを連結できるようにすることを目的とする。
上記の目的を達成するための手段として、請求項1の発明は、進退可能なアジャストスクリュを有し、シリンダヘッドに取り付けられる支持部材に対して前記アジャストスクリュを当接させた状態で組み付けられるロッカアームと、前記支持部材と前記ロッカアームとを連結するためのクリップとを備え、前記アジャストスクリュが、前記ロッカアームに貫通して形成した雌ネジ孔に螺合される雄ネジ部と、前記雄ネジ部よりも大径であって前記支持部材に当接される頭部とを備えた形態となっているロッカアームユニットであって、前記クリップは、前記雄ネジ部よりも大径であり且つ前記頭部よりも小径の係止孔を有していて、前記係止孔の孔縁を前記雄ネジ部側から前記頭部に係止させた形態で前記アジャストスクリュに組み付けられており、前記クリップには、前記支持部材の外周の嵌合溝に対し周方向において間隔を空けた複数位置において弾性的に係止可能な複数の弾性係止片が形成されているところに特徴を有する。
請求項2の発明は、請求項1に記載のものにおいて、前記弾性係止片が、屈曲して片持ち状に延出した形態であって、前記弾性係止片の延出端部が前記嵌合溝に係止されているところに特徴を有する。
請求項3の発明は、請求項1または請求項2に記載のものにおいて、前記弾性係止片の最大幅寸法が、前記頭部の最大外径寸法と同じかそれよりも大きい寸法とされているところに特徴を有する。
<請求項1の発明>
ロッカアームと支持部材の間隔はアジャストスクリュの進退動作に伴って変化するのであるが、ロッカアームと支持部材とを連結する手段として、アジャストスクリュに組み付けたクリップを支持部材に嵌合させるようにしたので、ロッカアームと支持部材との間隔にバラツキが生じても、ロッカアームと支持部材とを連結状態に保持することができる。
また、係止孔の孔縁を雄ネジ部側から頭部に係止させる手段としては、係止孔の孔縁にスリット状の切欠部を形成し、クリップを変形させることにより係止孔を拡開させて頭部を通過させ、通過後にクリップを原形状に復元させる方法が考えられるが、クリップを変形させる方法は、作業性が悪い。その点、本発明では、アジャストスクリュを雌ネジ孔から外して、係止孔を雄ネジ部側から外嵌させることができるので、クリップを変形させる必要がなく、作業性に優れる。
また、クリップを支持部材に嵌合する際には、弾性係止片を弾性変形させながら嵌合溝に係止させるだけでよいので、嵌合時の作業性がよい。
<請求項2の発明>
ロッカアームが支持部材に対して異常な斜め姿勢をとったときには、弾性係止片が弾性撓みすることにより、弾性係止片と嵌合溝との係止状態が保たれる。
<請求項3の発明>
弾性係止片の最大幅寸法を、頭部の最大外径寸法と同じかそれよりも大きい寸法としたので、アジャストスクリュに組み付けたクリップが支持部材に嵌合されていない状態においては、弾性係止片により頭部を異物の干渉から保護することができる。
<実施形態1>
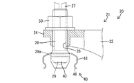
以下、本発明を具体化した実施形態1を図1乃至図6を参照して説明する。本実施形態における内燃機関の動弁装置について説明すると、動弁装置は、シリンダヘッド10とバルブ11とカム14とピボット30(本発明の構成要件である支持部材)とロッカアームユニットAとを備えて構成されている。バルブ11は、シリンダヘッド10に対し開弁位置と閉弁位置との間で往復移動を可能に、且つバルブスプリング12によって閉弁方向(図1における上方)へ付勢された状態で設けられ、バルブ11の上端部がシリンダヘッド10の上面から上方へ突出している。シリンダヘッド10の上方には、概ね卵形をなして回転駆動されるカム14が設けられている。水平方向におけるカム14の位置は、バルブ11と取付け凹部13のほぼ中間である。また、カム14の回転軸は、バルブ11とピボット30とを結ぶ方向と交差する方向となっている。
シリンダヘッド10の上面におけるバルブ11の近傍位置(図1における左方位置)には、ピボット30を取り付けるための取付け凹部13が形成されている。ピボット30は、全体として円柱形をなし、その軸線をバルブ11の移動方向と概ね平行な方向(略上下方向)を向けた状態で、取付け凹部13内に落とし込んで圧入されることによりシリンダヘッド10に組み付けられている。ピボット30の上端面には、アジャストスクリュ27の頭部29を嵌合されるための球面状に凹んだ形態の支持凹部31が形成されている。ロッカアーム20は、支持凹部31内の頭部29を支点として上下方向に揺動し得るようになっている。また、ピボット30の外周には、その上端部を全周に亘って連続して切欠した形態の嵌合溝32が形成されており、この嵌合溝32にはクリップ40が嵌合されるようになっている。
次に、ロッカアームユニットAについて説明する。ロッカアームユニットAは、ロッカアーム20と、このロッカアーム20とピボット30とを連結するためのクリップ40とを一体的に組み付けた形態としたものである。
ロッカアーム20は、金属製であり、アーム本体21と、アーム本体21に取り付けたローラ25と、アーム本体21に取り付けたアジャストスクリュ27とを備えて構成されている。アーム本体21は、略水平方向(バルブ11とピボット30とを結ぶ方向)に長い一対のアーム部22と、両アーム部22の一方の端部同士を連結する揺動端部23と、両アーム部22の他方の端部同士を連結する揺動支点部24とを一体に形成した形態である。
両アーム部22の間には、揺動端部23と揺動支点部24のほぼ中間位置に配置されたローラ25が、カム14の回動中心軸と平行な支持軸を中心として回転可能に支持されている。ローラ25は、その上端部をアーム部22よりも上方へ突出させた状態となっている。
揺動支点部24には、概ね上下方向に貫通する雌ネジ孔26が形成されている。雌ネジ孔26には、金属製のアジャストスクリュ27が取り付けられている。アジャストスクリュ27は、雄ネジ部28と、雄ネジ部28の下端部に形成した頭部29とを一体に形成したものである。頭部29は、その上端部(雄ネジ部28側の端部)が雄ネジ部28と同心の円形をなす最大外径部29aとなっており、この最大外径部29aの外径寸法は雄ネジ部28の外径よりも大きい寸法となっている。また、頭部29のうち最大外径部29aよりも下方の領域は、下方に向かって次第に外径寸法が小さくなる略半球状をなし、この略半球状部分の外面は、ピボット30の支持凹部31に対して摺接可能な摺接面となっている。
かかるアジャストスクリュ27は、雄ネジ部28を雌ネジ孔26に貫通状態で螺合させるとともに、頭部29を揺動支点部24よりも下方に位置させた状態で揺動支点部24に取り付けられている。取り付けられたアジャストスクリュ27は、揺動支点部24に対して相対回転させることにより、揺動支点部24に対して相対的に上下方向に螺進し、このアジャストスクリュ27の螺進に伴って、頭部29の高さ(揺動支点部24からの頭部29の突出寸法)を調節できるようになっている。
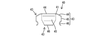
次に、クリップ40について説明する。クリップ40は、所定形状に打ち抜いた金属製の板材に曲げ加工を施して成形され、板状本体部41と4つの弾性係止片43とを一体に形成した形態である。板状本体部41は、全体として概ね正方形をなし、その中央には円形に貫通する係止孔42が形成されている。係止孔42の内径(直径)寸法は、雄ネジ部28の外径よりも僅かに大きく、且つ頭部29の最大外径部29aの外径よりも小さい寸法とされている。
4つの弾性係止片43は、形状と寸法が全て同じであり、板状本体部41の4つの外縁から下方へ片持ち状に延出した形態となっている。つまり、係止孔42と同心の円周上において、4つの弾性係止片43は90°の等角度ピッチで配置されていることになる。各弾性係止片43は、板状本体部41の外縁から斜め下外方へ延出する第1板部44と、第1板部44の延出端から板状本体部41と略直角に下方へ延出する第2板部45と、第2板部45の延出端(下端)に形成された係止部46とから構成される。
第1板部44と板状本体部41とのなす角度は、約30°程度の比較的小さい角度であり、第1板部44と第2板部45とのなく角度は、約60°である。第1板部44の延出方向における全領域と、第2板部45の略上半分の領域は、互いに同じ一定の幅であり、その幅寸法は、頭部29の最大外径部29aの外径寸法とほぼ同じ寸法とされている。第2板部45の略下半分領域は、下方に向かって次第に幅狭となる台形状をなしている。係止部46は、第2板部45の下端縁から内側へ突出するように略半円形に湾曲させた形態であり、第2板部45の下端縁の全幅に亘って直線状に形成されている。したがって、係止部46は、ピボット30の外周(嵌合溝32)に対して概ね接線状に当接する形態となる。また、係止部46は、第2板部45の略下半分領域と同様、下方に向かって次第に幅狭となる台形状をなしている。
かかるクリップ40は、ロッカアーム20とピボット30とを連結するに際して、まず、ピボット30よりも先にロッカアーム20に組み付けられる。クリップ40とロッカアーム20との組付に際しては、まず、アジャストスクリュ27をロッカアーム20から外しておき、この状態で、係止孔42に対して下から雄ネジ部28を貫通させ、係止孔42の孔縁を頭部29の最大外径部29aに対して上から係止させる。これにより、クリップ40が頭部29に引っ掛かって吊り下げられた状態で仮組みされる。
この後、アジャストスクリュ27を下方から雌ネジ孔26に螺合し、揺動支点部24に対して頭部29の下方への突出寸法が、正規の寸法よりも小さくなるように、アジャストスクリュ27のねじ込み量を調整する。調整後は、揺動支点部24の上方からロックナット50を雄ネジ部28にねじ込んで、アジャストスクリュ27を回転規制状態にロックする。以上により、ロッカアーム20に対するクリップ40の組付けが完了し、ロッカアームユニットAが構成される。
クリップ40をロッカアーム20に組み付けた状態では、4つの弾性係止片43が、四方から頭部29を包囲するように配置され、また、各弾性係止片43の最大幅は頭部29の最大外径寸法よりも大きく設定されてる。したがって、アジャストスクリュ27に組み付けたクリップ40がピボット30に嵌合されていない状態においては、この4つの弾性係止片43によって、頭部29は、異物の干渉から保護される。
次に、ロッカアームユニットAをシリンダヘッド10に取り付ける手順を説明する。予め、シリンダヘッド10にはバルブ11とピボット30を取り付けておくが、カム14はシリンダヘッド10から外されている。この状態で、クリップ40をピボット30に係止させることにより、ロッカアーム20をピボット30に組み付ける。この組付けに際しては、ピボット30に対し、アジャストスクリュ27の頭部29をピボット30の支持凹部31に接近させながら、4つの弾性係止片43を拡開するように弾性変形させて、4つの係止部46を嵌合溝32に嵌合させる。この係止部46(弾性係止片43)と嵌合溝32との嵌合により、ピボット30とロッカアーム20の揺動支点部24とがクリップ40を介して一体化される。
一体化された状態では、4つの弾性係止片43が、周方向において90°間隔を空けた四方からピボット30の外周に当接するので、クリップ40がピボット30に対し、その軸線方向(上下方向)と交差する方向へ外れる虞はない。また、弾性係止片43と嵌合溝32との係止作用により、クリップ40は、ピボット30に対して軸線方向(略上下方向)への相対移動を規制されるが、係止部46が嵌合溝32に沿って摺動しながらクリップ40がピボット30に対して周方向(軸線回り)に相対回転することができる。
また、アジャストスクリュ27の頭部29が支持凹部31内に嵌合され、頭部29の摺接面が支持凹部31の内面に当接する。この状態では、クリップ40の板状本体部41が頭部29から僅かに上方に浮いた高さとなる。この板状本体部41と頭部29との間のクリアランス(高低差)は、ロッカアーム20が支持凹部31と頭部29との嵌合部分を支点として揺動するときに、板状本体部41と頭部29とが干渉することを回避するために確保されたものである。
上記のようにしてロッカアーム20の揺動支点部24をピボット30に組み付けた後、ロッカアーム20の揺動端部23をバルブ11に載置する。この後、シリンダヘッド10に対し、ロッカアーム20の上方からカム14を組み付ける。このとき、カム14の下面とロッカアーム20のローラ25の上端との間には、動弁装置が作動するときに必要される僅かな隙間よりも、大きい間隔が空いている。そこで、カム14とローラ25との隙間を適正な寸法に調整するために、ロックナット50を緩めてアジャストスクリュ27を回転させ、頭部29を揺動支点部24に対して相対的に下方(ピボット30側)へ突出させる。
ここで頭部29はピボット30の支持凹部31内に当接しているので、揺動支点部24がピボット30に対して上方へ離間するように相対変位することになり、これに伴ってロッカアーム20が上方へ変位するとともに、ローラ25がカム14に接近する。カム14とローラ25との隙間が適正に調整されたら、ロックナット50を締め付けてアジャストスクリュ27を回転不能状態にロックする。以上により、シリンダヘッド10に対するロッカアームユニットAの組付作業が完了する。
ロッカアーム20の揺動支点部24とピボット30との間隔は、ロッカアーム20の寸法公差等が原因となってバラツキが生じ得るのであるが、ロッカアーム20の揺動支点部24とピボット30とを連結する手段として、ピボット30に嵌合されるクリップ40を、揺動支点部24に直接係止するのではなく、揺動支点部24に取り付けられているアジャストスクリュ27に組み付けるようにしているので、揺動支点部24とピボット30との間隔にバラツキがあっても、そのバラツキを吸収してロッカアーム20とピボット30とを連結状態に保持することができる。
また、アジャストスクリュ27は、ロッカアーム20に貫通して形成した雌ネジ孔26に螺合される雄ネジ部28と、雄ネジ部28よりも径が大きくて雄ネジ部28におけるピボット30側の端部に形成した頭部29とを備えた形態である。このような形態のアジャストスクリュ27に対し、係止孔42の孔縁を雄ネジ部28側から頭部29に係止させた状態となるようにクリップ40を組み付ける手段としては、係止孔の孔縁にスリット状の切欠部を形成し、クリップを弾性変形させることにより係止孔を拡開させてその上から頭部を通過させ、通過後にクリップを原形状に復元させる方法が考えられる。しかし、クリップを弾性変形させる方法は、作業性が悪い。その点、本実施形態では、アジャストスクリュ27を雌ネジ孔26から外して、係止孔42を雄ネジ部28側から外嵌させることができるので、クリップ40を変形させる必要がなく、作業性に優れる。
また、クリップ40には、ピボット30の外周に形成した嵌合溝32に対して弾性的に係止可能な弾性係止片43が形成されているので、クリップ40をピボット30に嵌合する際には、弾性係止片43を弾性変形させながら嵌合溝32に係止させればよく、嵌合時の作業性がよい。
また、弾性係止片43は、板状本体部41から屈曲して片持ち状に延出した形態であって、弾性係止片43の延出端部の係止部46が嵌合溝32に係止されるようになっている。これにより、ロッカアーム20がピボット30に対して異常な斜め姿勢をとっても、弾性係止片43が弾性撓みすることにより、弾性係止片43と嵌合溝32との係止状態が保たれる。
<他の実施形態>
本発明は上記記述及び図面によって説明した実施形態に限定されるものではなく、例えば次のような実施態様も本発明の技術的範囲に含まれる。
(1)上記実施形態では支持部材の嵌合溝を全周に亘って連続して延びる形態としたが、複数の嵌合溝を、周方向において分断して形成してもよい。
(2)上記実施形態ではクリップとして金属を用いたが、クリップの材質としては、合成樹脂であってもよい。この場合、動弁装置の使用環境を考慮して、耐熱性及び耐油性に優れた合成樹脂とすることが望ましい。
(3)上記実施形態では周方向に間隔を空けて配置した弾性係止片の数を4つずつとしたが、弾性係止片の数は、3つ以下でも、5つ以上でもよい。
(4)上記実施形態では弾性係止片を当接部の外周に対して概ね接線状に当接する形態としたが、弾性係止片は、当接部の外周形状に合わせた弧状としてもよい。
(5)上記実施形態ではシリンダヘッドに対してピボットを圧入によって取り付けるようにしたが、シリンダヘッドに対するピボットの取付け形態としては、ピボットの外周に形成した雄ネジ部をシリンダヘッドの取付け凹部の内周に形成した雌ネジ部に螺合する形態としてもよく、隙間嵌めとしてもよい。
(6)上記実施形態ではロッカアームユニットをシリンダヘッドに組み付ける際には、予めピボットをシリンダヘッドに取り付けておくようにしたが、これに限らず、シリンダヘッドから外されているピボットとロッカアームユニットとをクリップによって一体化させておき、その後で、ロッカアームユニットとピボットをシリンダヘッドに組み付けるようにしてもよい。
(7)上記実施形態ではピボットに対してロッカアームが上方から当接するように組み付けられるようにしたが、本発明は、ピボットに対してロッカアームが水平に当接するように組み付けられる動弁装置、つまり、水平対向型のエンジンにも適用することができる。
実施形態1においてクリップが組み付けられたロッカアームユニットをシリンダヘッドに取り付けた状態をあらわす一部切欠側面図 ロッカアームからクリップとピボットを外した状態をあらわす一部切欠部分拡大側面図 ロッカアームにクリップを組み付けた状態をあらわす一部切欠部分拡大側面図 ロッカアームとクリップをピボットに組み付けた状態をあらわす一部切欠部分拡大側面図 クリップの正面図 クリップの平面図
符号の説明
A…ロッカアームユニット
10…シリンダヘッド
20…ロッカアーム
26…雌ネジ孔
27…アジャストスクリュ
28…雄ネジ部
29…頭部
30…ピボット(支持部材)
32…嵌合溝
40…クリップ
42…係止孔
43…弾性係止片

Claims (3)

  1. 進退可能なアジャストスクリュを有し、シリンダヘッドに取り付けられる支持部材に対して前記アジャストスクリュを当接させた状態で組み付けられるロッカアームと、
    前記支持部材と前記ロッカアームとを連結するためのクリップとを備え、
    前記アジャストスクリュが、前記ロッカアームに貫通して形成した雌ネジ孔に螺合される雄ネジ部と、前記雄ネジ部よりも大径であって前記支持部材に当接される頭部とを備えた形態となっているロッカアームユニットであって、
    前記クリップは、前記雄ネジ部よりも大径であり且つ前記頭部よりも小径の係止孔を有していて、前記係止孔の孔縁を前記雄ネジ部側から前記頭部に係止させた形態で前記アジャストスクリュに組み付けられており、
    前記クリップには、前記支持部材の外周の嵌合溝に対し周方向において間隔を空けた複数位置において弾性的に係止可能な複数の弾性係止片が形成されていることを特徴とするロッカアームユニット。
  2. 前記弾性係止片が、屈曲して片持ち状に延出した形態であって、
    前記弾性係止片の延出端部が前記嵌合溝に係止されていることを特徴とする請求項1記載のロッカアームユニット。
  3. 前記弾性係止片の最大幅寸法が、前記頭部の最大外径寸法と同じかそれよりも大きい寸法とされていることを特徴とする請求項1又は請求項2記載のロッカアームユニット。
JP2008229106A 2008-09-05 2008-09-05 ロッカアームユニット Expired - Fee Related JP5215091B2 (ja)

Priority Applications (1)

Application Number Priority Date Filing Date Title
JP2008229106A JP5215091B2 (ja) 2008-09-05 2008-09-05 ロッカアームユニット

Applications Claiming Priority (1)

Application Number Priority Date Filing Date Title
JP2008229106A JP5215091B2 (ja) 2008-09-05 2008-09-05 ロッカアームユニット

Publications (2)

Publication Number Publication Date
JP2010059925A true JP2010059925A (ja) 2010-03-18
JP5215091B2 JP5215091B2 (ja) 2013-06-19

Family

ID=42186982

Family Applications (1)

Application Number Title Priority Date Filing Date
JP2008229106A Expired - Fee Related JP5215091B2 (ja) 2008-09-05 2008-09-05 ロッカアームユニット

Country Status (1)

Country Link
JP (1) JP5215091B2 (ja)

Cited By (3)

* Cited by examiner, † Cited by third party
Publication number Priority date Publication date Assignee Title
JP2012140871A (ja) * 2010-12-28 2012-07-26 Otics Corp ロッカアームユニット
CN103953409A (zh) * 2014-04-08 2014-07-30 杭州新坐标科技股份有限公司 用于连接滚轮摇臂和液压挺柱的球头锁片
CN105240068A (zh) * 2015-10-23 2016-01-13 无锡惠发特精密机械有限公司 发动机气门用调节螺钉

Citations (4)

* Cited by examiner, † Cited by third party
Publication number Priority date Publication date Assignee Title
JPS57191805U (ja) * 1981-05-29 1982-12-04
JPH01141307U (ja) * 1988-03-22 1989-09-28
JPH0342002U (ja) * 1989-08-31 1991-04-22
JPH0457605U (ja) * 1990-09-27 1992-05-18

Patent Citations (4)

* Cited by examiner, † Cited by third party
Publication number Priority date Publication date Assignee Title
JPS57191805U (ja) * 1981-05-29 1982-12-04
JPH01141307U (ja) * 1988-03-22 1989-09-28
JPH0342002U (ja) * 1989-08-31 1991-04-22
JPH0457605U (ja) * 1990-09-27 1992-05-18

Cited By (3)

* Cited by examiner, † Cited by third party
Publication number Priority date Publication date Assignee Title
JP2012140871A (ja) * 2010-12-28 2012-07-26 Otics Corp ロッカアームユニット
CN103953409A (zh) * 2014-04-08 2014-07-30 杭州新坐标科技股份有限公司 用于连接滚轮摇臂和液压挺柱的球头锁片
CN105240068A (zh) * 2015-10-23 2016-01-13 无锡惠发特精密机械有限公司 发动机气门用调节螺钉

Also Published As

Publication number Publication date
JP5215091B2 (ja) 2013-06-19

Similar Documents

Publication Publication Date Title
KR101641501B1 (ko) 잠금수단이 있는 접이식 장치
JP2010501765A (ja) タービン翼固定装置
JP2013536384A (ja) ケージナット
JP5215091B2 (ja) ロッカアームユニット
JP5197251B2 (ja) クリップ
US20090003969A1 (en) Linear adjustment assembly
US9027931B2 (en) Seal mechanism
JP5456864B2 (ja) クリップ
JP4384197B2 (ja) 緩み止めナット
JP2008232040A (ja) ラッシュアジャスタ
JP2009113585A (ja) ワイパアーム及び車両用ワイパ
CN101351651A (zh) 安装结构体
JP6766992B2 (ja) 気化器における調整弁の調整装置
JP6231807B2 (ja) ボルトの弛み止め構造
JP2009270565A (ja) ラッシュアジャスタ
JP4338902B2 (ja) 内燃機関の動弁装置におけるバルブクリアランス調整機構
JP2010526958A (ja) 内燃機関のロッカアーム
JP3174472U (ja) 車高調整式サスペンションのロックナット用レンチ
JP2009257304A (ja) ラッシュアジャスタ
JP4697149B2 (ja) 可変動弁装置
US20040151411A1 (en) Swivel bearing
JP2016160877A (ja) ガバナ調整装置
JP2007255429A (ja) ボルトあるいはナットのゆるみ止め金具
JP7591472B2 (ja) 締結構造
JP3946752B1 (ja) 弛み止めナット

Legal Events

Date Code Title Description
A621 Written request for application examination

Free format text: JAPANESE INTERMEDIATE CODE: A621

Effective date: 20110314

A977 Report on retrieval

Free format text: JAPANESE INTERMEDIATE CODE: A971007

Effective date: 20120718

A131 Notification of reasons for refusal

Free format text: JAPANESE INTERMEDIATE CODE: A131

Effective date: 20120724

A521 Request for written amendment filed

Free format text: JAPANESE INTERMEDIATE CODE: A523

Effective date: 20120921

TRDD Decision of grant or rejection written
A01 Written decision to grant a patent or to grant a registration (utility model)

Free format text: JAPANESE INTERMEDIATE CODE: A01

Effective date: 20130205

A61 First payment of annual fees (during grant procedure)

Free format text: JAPANESE INTERMEDIATE CODE: A61

Effective date: 20130228

R150 Certificate of patent or registration of utility model

Ref document number: 5215091

Country of ref document: JP

Free format text: JAPANESE INTERMEDIATE CODE: R150

Free format text: JAPANESE INTERMEDIATE CODE: R150

FPAY Renewal fee payment (event date is renewal date of database)

Free format text: PAYMENT UNTIL: 20160308

Year of fee payment: 3

S531 Written request for registration of change of domicile

Free format text: JAPANESE INTERMEDIATE CODE: R313531

R350 Written notification of registration of transfer

Free format text: JAPANESE INTERMEDIATE CODE: R350

R250 Receipt of annual fees

Free format text: JAPANESE INTERMEDIATE CODE: R250

R250 Receipt of annual fees

Free format text: JAPANESE INTERMEDIATE CODE: R250

S533 Written request for registration of change of name

Free format text: JAPANESE INTERMEDIATE CODE: R313533

R350 Written notification of registration of transfer

Free format text: JAPANESE INTERMEDIATE CODE: R350

R250 Receipt of annual fees

Free format text: JAPANESE INTERMEDIATE CODE: R250

R250 Receipt of annual fees

Free format text: JAPANESE INTERMEDIATE CODE: R250

R250 Receipt of annual fees

Free format text: JAPANESE INTERMEDIATE CODE: R250

R250 Receipt of annual fees

Free format text: JAPANESE INTERMEDIATE CODE: R250

LAPS Cancellation because of no payment of annual fees