JP2010059668A - 受け台 - Google Patents

受け台 Download PDF

Info

Publication number
JP2010059668A
JP2010059668A JP2008225723A JP2008225723A JP2010059668A JP 2010059668 A JP2010059668 A JP 2010059668A JP 2008225723 A JP2008225723 A JP 2008225723A JP 2008225723 A JP2008225723 A JP 2008225723A JP 2010059668 A JP2010059668 A JP 2010059668A
Authority
JP
Japan
Prior art keywords
hollow forming
receiving portion
cradle
connection point
forming member
Prior art date
Legal status (The legal status is an assumption and is not a legal conclusion. Google has not performed a legal analysis and makes no representation as to the accuracy of the status listed.)
Granted
Application number
JP2008225723A
Other languages
English (en)
Other versions
JP5413712B2 (ja
Inventor
Hideki Ikeda
秀樹 池田
Eiko Shinmoto
英光 真本
Seigo Kitagawa
誠吾 北川
Current Assignee (The listed assignees may be inaccurate. Google has not performed a legal analysis and makes no representation or warranty as to the accuracy of the list.)
Kurimoto Ltd
Original Assignee
Kurimoto Ltd
Priority date (The priority date is an assumption and is not a legal conclusion. Google has not performed a legal analysis and makes no representation as to the accuracy of the date listed.)
Filing date
Publication date
Application filed by Kurimoto Ltd filed Critical Kurimoto Ltd
Priority to JP2008225723A priority Critical patent/JP5413712B2/ja
Publication of JP2010059668A publication Critical patent/JP2010059668A/ja
Application granted granted Critical
Publication of JP5413712B2 publication Critical patent/JP5413712B2/ja
Expired - Fee Related legal-status Critical Current
Anticipated expiration legal-status Critical

Links

Images

Landscapes

  • Forms Removed On Construction Sites Or Auxiliary Members Thereof (AREA)

Abstract

【課題】できるかぎり重量の増大を生じさせず、中空形成部材の浮き上がりを生じさせにくい受け台とする。
【解決手段】床板用型枠1上に中空形成部材2を固定するために使用され、前記中空形成部材2の直下に位置する底部11aから前記中空形成部材2の両側へ伸びてその中空形成部材2の側方に位置する先端部11bへと至る受け部11と、前記底部11aから下方に伸びる係合部材12と、前記係合部材12の下部を前記床板用型枠1に固定する固定手段13と、前記両先端部11b,11b間を結び前記中空形成部材2の上面に当接可能な押え部材14とを備えた受け台10において、前記係合部材12と前記受け部11との間に補強部材15を設け、その補強部材15が、前記中空形成部材2が浮力によって前記床板用型枠1から離れる方向へ浮き上がろうとした際に前記受け部11の変形を抑える機能を有するものとした。
【選択図】図1

Description

この発明は、中空スラブ工法において、床板用型枠上に中空形成部材を固定するために使用する受け台に関するものである。
RC構造物等に採用される中空スラブ工法は、コンクリートスラブの中に、例えば、中空部材や軽量部材(以下、「中空形成部材」という。)を埋設することにより、そのコンクリートスラブの軽量化を図る工法である。
この中空スラブ工法において、例えば、建築物の各フロアの床板(中空スラブ)3を形成する際に、図6(a)に示すように、建築物の所定位置に床板用型枠1を架設し、その床板用型枠1上に中空形成部材2を固定する。
このとき、中空形成部材2は、床板3の下面に露出しないように、その床板用型枠1の上面から所定距離浮かした状態で動かないように固定する。この固定には、床板用型枠1と中空形成部材2とを結ぶ受け台10が用いられる。
受け台10は、図6(a)に示すように、前記中空形成部材2の直下に位置する底部11aから前記中空形成部材2の両側へ伸びてその中空形成部材2の側方に位置する先端部11bへと至る円弧状の受け部11を備えている。
また、前記受け部11には、その底部11aから下方に伸びる係合部材12が設けられている。その係合部材12の下部は、固定手段13によって前記床板用型枠1に対して動かないように固定されている。
また、前記中空形成部材2を配置した後に、前記両先端部11b,11b間を結び、前記中空形成部材2の上面に当接可能な押え部材14により、中空形成部材2が、未硬化のコンクリート中で受ける浮力の作用によって、上方へ移動するのを防止するようになっている。
床板用型枠1上に、これらの中空形成部材2及び必要な鉄筋を配筋し、その上から未硬化のコンクリートCを流し込む。このとき、中空形成部材2がコンクリートC内に完全に埋没されるようにする。
コンクリートCが固化した後に、床板用型枠1をコンクリートCの下面から剥離して取り除くことによって、内部に中空部分を有する軽量化された床板3が構築される(例えば、特許文献1乃至3参照)。
実開平4−55951号公報 特開平9−203205号公報 特開2005−105738号公報
従来の受け台10によると、図6(b)に実線から鎖線で示すように、未硬化のコンクリート中で受ける浮力の作用によって受け部11が変形し、中空形成部材2が上方へ移動してしまう危惧がある。中空形成部材2は、床板3内において所定の位置に埋設されなければならない。
このため、受け台10は、上記変形が生じないように大型化、大断面化するか、あるいは、特に、パイプ状の中空形成部材2を用いる場合は、その中空形成部材2の管軸方向に沿って、複数の前記受け台10を密に配置しなければならない。
受け台10を強固な構造にすること、受け台10の数を増やすことは、作業工程の増大、コストアップの要因となるので好ましくない。
そこで、この発明は、中空形成部材の浮き上がりを生じさせにくい受け台とし、作業工程の短縮、コストダウンを図ることを課題とする。
上記の課題を解決するために、この発明は、中空スラブを構築する際に、床板用型枠上に中空形成部材を固定するために使用され、前記中空形成部材の直下に位置する底部から前記中空形成部材の両側へ伸びて先端部へと至る受け部と、前記底部から下方に伸びる係合部材と、前記係合部材の下部を前記床板用型枠に固定する固定手段とを備えた受け台において、前記係合部材と前記受け部との間に補強部材を設けた構成を採用した。
係合部材は、床板用型枠と受け部とを結ぶ部材であり、この部材によって受け台全体が床板用型枠に固定されている。この係合部材から受け部へと補強部材を配置することにより、受け部の変形は効率的に阻止される。受け部が変形しようとする力が補強部材を通じて床板用型枠に伝達されやすくなるからである。このため、受け部の部材そのものを大型化、大断面化することなくその変形を阻止することができる。
すなわち、できるかぎり重量の増大を生じさせず、中空形成部材の浮き上がりを生じさせにくい受け台とすることができる。
従来の受け台においては、受け部の変形抑制は、その受け部の部材自体の剛性によって実現しており、このように、係合部材と受け部との間に受け部の変形を抑制する補強部材を掛け渡す思想は従来の受け台にはなく、この発明の新規な事項である。
なお、その補強部材は、前記係合部材への接続点から上向きに伸びて、前記受け部への接続点に至ることが望ましい。補強部材が上向きであることによって、受け部、補強部材、及び係合部材でトラス構造を形成し、受け部が上方に変形しようとする力に対して効率的に対抗することができる。
また、押え部材によって先端部に生じる上向き引張り力に対抗しやすくする観点から、前記補強部材の前記受け部への接続点は、前記底部と前記先端部との中間点よりも前記先端部側であることが望ましい。
さらに、前記受け部は、前記底部から前記両先端部に至る円弧状である場合において、前記補強部材は、前記受け部への接続点から前記係合部材への接続点に向かって、その受け部への接続点における前記円弧の接線方向に伸びる構成を採用することができる。
前記受け部が、前記底部から前記両先端部に至る円弧状である場合には、このように補強部材を接線方向に設けることが効率的である。
これらの各構成からなる受け台の受け部に中空形成部材を配置し、前記受け部の両先端部間を結び前記中空形成部材の上面に当接可能な押え部材により前記中空形成部材を前記受け部に固定し、固定手段により、前記受け部の底部から下方に伸びる係合部材と床板用型枠とを固定したことを特徴とする中空形成部材の固定構造を採用することができる。
この発明は、係合部材と受け部とを結ぶ補強部材を設けたので、中空形成部材の浮き上がりを生じさせにくい受け台とすることができる。
この発明の実施形態を図面に基づいて説明する。受け台10の基本的な構成は、従来例と同様である。以下、本願と従来例との差異点である補強部材15の構成、作用を中心に述べる。
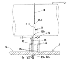
この実施形態の受け台10は、図1に示すように、中空スラブ3の下面を形成するための床板用型枠1に固定される。その受け台10は床板用型枠1上に複数設けられ、その床板用型枠1上に所定の間隔を隔ててパイプ状の中空形成部材2を水平に保持する機能を有する。
受け台10は、前記中空形成部材2の直下に位置する底部11aから前記中空形成部材2の両側へ伸びてその中空形成部材2の側方に位置する先端部11bへと至る凹状の受け部11を備えている。
その凹状の受け部11は1本の軸で構成され、その軸は、前記底部11aと先端部11bとの間に円弧状部11cを有している。
また、前記受け部11には、その底部11aから下方に伸びる係合部材12が設けられている。その係合部材12の下部は前記床板用型枠1を貫通して床板用型枠1の下方に突出する。この実施形態では、この係合部材12も1本の軸で構成している。
その突出部分に形成されたねじ部13aにナット13bを締付けることにより、前記床板用型枠1と係合部材12とが動かないように固定されている。この実施形態では、ねじ部13aとナット13bとで、固定手段13を構成している。なお、釘やフックなど他の固定手段13を用いても良い。
また、前記中空形成部材2を配置した後に、前記両先端部11b,11b間を結び、前記中空形成部材2の上面に当接可能な押え部材14により、中空形成部材2を受け部11に固定する。この実施形態では、この押え部材14は、屈曲自在の針金等で構成されている。
この押え部材14は、その両端が、前記受け部11の先端部11bに設けた係止部11dに引っ掛けられることにより係止される。この係止により、中空形成部材2は受け部11と押え部材14とで保持されるようになっている。
また、前記受け部11には、前記底部11aよりもやや先端部11b側において、対の脚部16,16が設けられている。両脚部16は、U字状の軸で構成されており、そのU字状の湾曲部16bが、前記受け部11に溶接により固定されている。脚部16の下端16aは床板用型枠1の上面1aに当接し、受け台10や中空形成部材2を支えるようになっている。
また、前記係合部材12と前記受け部11との間には、両者を結ぶ補強部材15が設けられている。
この補強部材15は、前記係合部材12を挟んで両側にそれぞれ設けられ、前記係合部材12への接続点15aから上向き斜め方向に伸びて、前記受け部11への接続点15bに至る。両接続点15a,15bでは、補強部材15と係合部材12、補強部材15と受け部11とが溶接により固定されている。
その補強部材15の前記係合部材12への接続点15aは、図1に示すように、係合部材12の上端12a(前記底部11aへの接続点12a)と前記床板用型枠1の上面1aとの間のほぼ中央となっている。
また、前記補強部材15の前記受け部11への接続点15bは、前記受け部11の前記底部11aと前記先端部11bとの間の中央よりも、やや先端部11b側となっている。
この受け台10の作用について説明すると、上記構成により、床板用型枠1上に受け台10を介して中空形成部材2を固定し、さらに必要な鉄筋を配筋した状態で、その上から未硬化のコンクリートを流し込む。このとき、中空形成部材2がコンクリートC内に完全に埋没されるようにする。
このとき、未硬化のコンクリートC中で、中空形成部材2には浮力が作用する。押え部材14は、その浮力によって、中空形成部材2が上方へ移動するのを防止するようになっている。
また、補強部材15は、前記受け部11に、従来例の図6(b)に示すような変形が生じることを抑える機能を有する。
すなわち、補強部材15は、係合部材12と受け部11とを掛け渡すように、斜め方向に設けられている。係合部材12は、床板用型枠1と受け部11とを上下方向に結ぶ部材であり、この部材によって受け台10全体が床板用型枠1に固定されている。
この係合部材12に対して、受け部11へと向かう斜め方向の補強部材15を配置したことにより、受け部11が変形しようとする力(特に、両先端部11b,11b間の水平方向距離が狭まり、押え部材14の係止部11d,11dが上方へ移動するような、図6(b)に示す変形)が、補強部材15を通じて床板用型枠1に伝達されやすくなる。このため、受け部11に生じる変形は効率的に阻止される。
また、補強部材15は、前記係合部材12への接続点15aから前記受け部11への接続点15bに至る斜め方向であることも、この変形の阻止に効果的に寄与している。
さらに、前記補強部材15の受け部11への接続点15bが、先端部11bに近い部分であることによっても、補強部材15は、押え部材14によって先端部11bに生じる上向き引張り力に対抗しやすい構成となっている。前記補強部材15の受け部11への接続点15bは、先端部11bに近いことが望ましい。
また、その接続点15bが、受け部11の底部11aから先端部11bに至る途中の円弧状部11cにおいて、その円弧状部11cの前記接続点15bにおける円弧の接線方向に配置されているので、中空形成部材2と補強部材15との干渉を防止することができる。
他の実施形態を図4(a)に示す。前述の実施形態の補強部材15が直線状の軸であったのに対し、この実施形態は、補強部材15として湾曲した軸で構成している。補強部材15の作用については、前述の実施形態と同様である。
さらに、他の実施形態を図4(b)に示す。この実施形態は、前記受け部11の前記底部11aから前記両先端部11bに至る全体が円弧状部11cとなっている構成である。
補強部材15は、受け部11への接続点15bが、前記円弧状部11cの前記接続点15bにおける円弧の接線方向に配置されている点は同様である。
さらに、他の実施形態を図5に示す。この実施形態は、補強部材15の途中に屈曲部を設けたものである。すなわち、補強部材15は、前記係合部材12を挟んで両側にそれぞれ設けられ、前記係合部材12への接続点15aから上向き斜め方向に伸びて、その後、鉛直上向きに屈曲して前記受け部11への接続点15bに至っている。両接続点15a,15bで、補強部材15と係合部材12、補強部材15と受け部11とが溶接により固定されている点は同様である。
この構成では、補強部材15と受け部11とが、その接続点でほぼ直交する位置関係となるため、溶接等の接合作業が容易であるという利点がある。
なお、補強部材15と受け部11との接続点を先端部付近にした場合、補強部材15が全長に亘って直線状であると、その補強部材15の中ほどが受け部11と交差し、受け部11の上方を通過することによって、その補強部材15の中ほどと前記中空形成部材2とが干渉しやすい位置関係となる場合がある。しかし、そのような場合においても、補強部材15の途中に屈曲部を設けることによって、中空形成部材2との干渉を防ぎながら、係合部材12と受け部11間に補強部材15を掛け渡しやすくなる。
これらの実施形態では、中空形成部材2として中空のパイプを採用したが、他の形状、素材からなる中空形成部材2を採用してもよい。例えば、ブロック状の中空部材、軽量部材を採用してもよい。軽量部材としては、発泡スチロール等を採用することができる。
また、受け台10を構成する前記受け部11、係合部材12、補強部材15、脚部16は、この実施形態ではすべて軸で構成したが、軸以外の部材、例えば、板状部材や柱状の部材、ブロック状の部材等、あるいはそれらの組合わせで構成してもよい。
一実施形態の正面図 図1の側面図 受け台の斜視図 (a)(b)は他の実施形態の正面図 他の実施形態の正面図 従来例を示し、(a)はコンクリート打設前を示す正面図、(b)はコンクリート打設後を示す正面図
符号の説明
1 床板用型枠
1a 上面
2 中空形成部材
3 中空スラブ(床板)
10 受け台
11 受け部
11a 底部
11b 先端部
11c 円弧状部
11d 係止部
12 係合部材
12a 接続点
12b 下部
12c 係止部
13 固定手段
13a ねじ部
13b ナット
14 押え部材
15 補強部材
15a,15b 接続点
16 脚部
16a 下端
16b 湾曲部
C コンクリート

Claims (5)

  1. 中空スラブ(3)を構築する際に、床板用型枠(1)上に中空形成部材(2)を固定するために使用され、前記中空形成部材(2)の直下に位置する底部(11a)から前記中空形成部材(2)の両側へ伸びて先端部(11b)へと至る受け部(11)と、前記底部(11a)から下方に伸びる係合部材(12)と、前記係合部材(12)の下部を前記床板用型枠(1)に固定する固定手段(13)とを備えた受け台(10)において、
    前記係合部材(12)と前記受け部(11)との間に補強部材(15)を設けたことを特徴とする受け台。
  2. 前記補強部材(15)は、前記係合部材(12)への接続点(15a)から上向きに伸びて、前記受け部(11)への接続点(15b)に至ることを特徴とする請求項1に記載の受け台。
  3. 前記補強部材(15)の前記受け部(11)への接続点(15b)は、前記底部(11a)と前記先端部(11b)との中間点よりも前記先端部(11b)側であることを特徴とする請求項1又は2に記載の受け台。
  4. 前記受け部(11)は、前記底部(11a)から前記両先端部(11b)に至る円弧状であり、前記補強部材(15)は、前記受け部(11)への接続点(15b)から前記係合部材(12)への接続点(15a)に向かって、その受け部(11)への接続点(15a)における前記円弧の接線方向に伸びることを特徴とする請求項1乃至3のいずれかに記載の受け台。
  5. 請求項1乃至4のいずれかに記載の受け台(10)の受け部(11)に中空形成部材(2)を配置し、前記受け部(11)の両先端部(11b,11b)間を結び前記中空形成部材(2)の上面に当接可能な押え部材(14)により前記中空形成部材(2)を前記受け部(11)に固定し、固定手段(13)により、前記受け部(11)の底部(11a)から下方に伸びる係合部材(12)と床板用型枠(1)とを固定したことを特徴とする中空形成部材の固定構造。
JP2008225723A 2008-09-03 2008-09-03 受け台 Expired - Fee Related JP5413712B2 (ja)

Priority Applications (1)

Application Number Priority Date Filing Date Title
JP2008225723A JP5413712B2 (ja) 2008-09-03 2008-09-03 受け台

Applications Claiming Priority (1)

Application Number Priority Date Filing Date Title
JP2008225723A JP5413712B2 (ja) 2008-09-03 2008-09-03 受け台

Publications (2)

Publication Number Publication Date
JP2010059668A true JP2010059668A (ja) 2010-03-18
JP5413712B2 JP5413712B2 (ja) 2014-02-12

Family

ID=42186756

Family Applications (1)

Application Number Title Priority Date Filing Date
JP2008225723A Expired - Fee Related JP5413712B2 (ja) 2008-09-03 2008-09-03 受け台

Country Status (1)

Country Link
JP (1) JP5413712B2 (ja)

Cited By (2)

* Cited by examiner, † Cited by third party
Publication number Priority date Publication date Assignee Title
KR101552226B1 (ko) 2015-05-28 2015-09-10 (주) 동양구조안전기술 T형 데크플레이트의 중공폼 설치구조
KR101889190B1 (ko) * 2016-12-22 2018-08-16 주식회사 포스코 바닥구조체

Citations (5)

* Cited by examiner, † Cited by third party
Publication number Priority date Publication date Assignee Title
JPH0261245A (ja) * 1988-08-26 1990-03-01 Kyushu Supairaru Kokan Kk 中空スラブ形成方法および同形成に用いるパイプ取付け具
JPH0455951U (ja) * 1990-09-21 1992-05-13
JP2004183455A (ja) * 2002-12-05 2004-07-02 Kyoto Supeesaa:Kk スラブ用ボイド管を固定する金物
JP2004183456A (ja) * 2002-12-05 2004-07-02 Kazuhiko Noguchi 中空スラブ管の支持具
JP2005105738A (ja) * 2003-10-01 2005-04-21 Nippon Industry Co Ltd コンクリート埋設金物用型枠固定具及びコンクリート埋設金物ユニット

Patent Citations (5)

* Cited by examiner, † Cited by third party
Publication number Priority date Publication date Assignee Title
JPH0261245A (ja) * 1988-08-26 1990-03-01 Kyushu Supairaru Kokan Kk 中空スラブ形成方法および同形成に用いるパイプ取付け具
JPH0455951U (ja) * 1990-09-21 1992-05-13
JP2004183455A (ja) * 2002-12-05 2004-07-02 Kyoto Supeesaa:Kk スラブ用ボイド管を固定する金物
JP2004183456A (ja) * 2002-12-05 2004-07-02 Kazuhiko Noguchi 中空スラブ管の支持具
JP2005105738A (ja) * 2003-10-01 2005-04-21 Nippon Industry Co Ltd コンクリート埋設金物用型枠固定具及びコンクリート埋設金物ユニット

Cited By (2)

* Cited by examiner, † Cited by third party
Publication number Priority date Publication date Assignee Title
KR101552226B1 (ko) 2015-05-28 2015-09-10 (주) 동양구조안전기술 T형 데크플레이트의 중공폼 설치구조
KR101889190B1 (ko) * 2016-12-22 2018-08-16 주식회사 포스코 바닥구조체

Also Published As

Publication number Publication date
JP5413712B2 (ja) 2014-02-12

Similar Documents

Publication Publication Date Title
US7950190B2 (en) Concrete panel lifting insert assembly
JP5413712B2 (ja) 受け台
KR200476828Y1 (ko) 합벽 지지 장치 및 합벽 지지 장치의 발판 지지용 브라켓
JP2010150871A (ja) 型枠兼用外断熱材の化粧板取付工法と外壁取付用掛止め部材
KR20110040493A (ko) 철근콘크리트 영구 거푸집
JP4308811B2 (ja) ボイド型枠配置具及びボイド型枠配置方法
KR20090117224A (ko) 슬래브 지지장치
RU2541000C2 (ru) Способ закрепления подъемной петли на бетонном элементе, полученном способом литья в скользящую опалубку, и опора для подъемной петли
KR100828161B1 (ko) 비계파이프 설치용 클램프
JP3904216B2 (ja) 埋込体固定金具及びコンクリートボイドスラブ工法
CN217782873U (zh) 一种可拆卸式铝模斜撑锚环组件
JP2009167604A (ja) 中空スラブ用中空部型枠埋込材
KR102394270B1 (ko) 달대 조립체 및 이를 갖는 데크플레이트
KR20110002820U (ko) 파이프 고정구
KR20100020155A (ko) 거푸집 추락 방지 장치
JP3115186U (ja) コンクリート製品の吊り構造
KR100686385B1 (ko) 거푸집용 지지대
JP2005282008A (ja) コンクリートスラブ施工方法、並びに、コンクリート施工時において使用される筋材支持具、結束ピン具及び軽量化用埋設体
JPH01290853A (ja) 合成床板
KR20160003777U (ko) 콘크리트 기둥 타설용 거푸집 고정밴드
JP2017002622A (ja) コンクリート構造体のボイド押え部材及びボイド定着装置
KR200187717Y1 (ko) 콘크리트 압송관 지지-롤러
CN223634375U (zh) 一种支撑装置
KR102004130B1 (ko) 보시공용 보브라켓
JP4186108B2 (ja) スリーブと補強筋の連結具

Legal Events

Date Code Title Description
A621 Written request for application examination

Free format text: JAPANESE INTERMEDIATE CODE: A621

Effective date: 20110830

A977 Report on retrieval

Free format text: JAPANESE INTERMEDIATE CODE: A971007

Effective date: 20121228

A131 Notification of reasons for refusal

Free format text: JAPANESE INTERMEDIATE CODE: A131

Effective date: 20130108

A521 Written amendment

Free format text: JAPANESE INTERMEDIATE CODE: A523

Effective date: 20130222

A01 Written decision to grant a patent or to grant a registration (utility model)

Free format text: JAPANESE INTERMEDIATE CODE: A01

Effective date: 20131015

A61 First payment of annual fees (during grant procedure)

Free format text: JAPANESE INTERMEDIATE CODE: A61

Effective date: 20131031

LAPS Cancellation because of no payment of annual fees