JP2010057801A - パチンコ球補給装置 - Google Patents

パチンコ球補給装置 Download PDF

Info

Publication number
JP2010057801A
JP2010057801A JP2008228372A JP2008228372A JP2010057801A JP 2010057801 A JP2010057801 A JP 2010057801A JP 2008228372 A JP2008228372 A JP 2008228372A JP 2008228372 A JP2008228372 A JP 2008228372A JP 2010057801 A JP2010057801 A JP 2010057801A
Authority
JP
Japan
Prior art keywords
ball
pachinko
front frame
closed state
balls
Prior art date
Legal status (The legal status is an assumption and is not a legal conclusion. Google has not performed a legal analysis and makes no representation as to the accuracy of the status listed.)
Granted
Application number
JP2008228372A
Other languages
English (en)
Other versions
JP5316757B2 (ja
Inventor
Kenji Yamaguchi
兼司 山口
Current Assignee (The listed assignees may be inaccurate. Google has not performed a legal analysis and makes no representation or warranty as to the accuracy of the list.)
Daito Sales Co Ltd
Original Assignee
Daito Sales Co Ltd
Priority date (The priority date is an assumption and is not a legal conclusion. Google has not performed a legal analysis and makes no representation as to the accuracy of the date listed.)
Filing date
Publication date
Application filed by Daito Sales Co Ltd filed Critical Daito Sales Co Ltd
Priority to JP2008228372A priority Critical patent/JP5316757B2/ja
Publication of JP2010057801A publication Critical patent/JP2010057801A/ja
Application granted granted Critical
Publication of JP5316757B2 publication Critical patent/JP5316757B2/ja
Expired - Fee Related legal-status Critical Current
Anticipated expiration legal-status Critical

Links

Images

Landscapes

  • Pinball Game Machines (AREA)

Abstract

【課題】球を挟み込むことがなく、補給筒を正しい位置にガイドして、こぼれ球の発生や島の破損を極力少なくするパチンコ球補給装置を提供する。
【解決手段】球導入樋400を上下方向に回動可能に軸着し、球導出口から球の流出を停止させる停止手段320と、前面枠の開閉状態を検出する前面枠開閉状態検出手段330と、停止手段320と前面枠開閉状態検出手段330とを連繋させる連動手段340とを備え、前面枠が閉止状態にあることを検出すると、連動手段340によって球導入樋400が下降して、賞球タンクに対する球の補給を行ない、球導入樋400の賞球タンク内に貯留された球に当接する部分には、当該球導入樋400が下降したときに、球の間に入り込み、当接した球を押圧して移動させる案内部460を設け、案内部460の断面形状を略V字形に形成し、球の通過方向に沿って略逆へ字形に形成した。
【選択図】図3

Description

この発明はパチンコ遊技店において、パチンコ機の賞球タンクに賞球用の球を補給するためのパチンコ球補給装置に関するものである。
パチンコ島を構成する各パチンコ機には、球補給樋から球補給装置を介して賞球タンクに向けて賞球用の球が適時補給されるように構成してある。このような球補給装置の一例は、特許文献1や特許文献2、或いは特許文献3等に記載されている。
例えば、特許文献1及び特許文献2には、垂下状態および前方起立状態となり得る円筒型の補給筒と、該補給筒と同時に回転し得るように設けられた作動杆とからなり、前面枠を閉じる過程で景品球タンクの後側壁が作動杆に係合し、該作動杆および補給筒を回転させ該補給筒を垂下状態にし、該補給筒から景品球を排出可能にした景品球補給装置が記載されている。また、特許文献3には、断面長円形型とし、側壁が平面部と湾曲部とで構成されている補給筒と、該補給筒と同時に回転し得るよう設けられた作動杆とを備えた球補給装置が記載されている。
特開2006−81765号公報 特開2007−136022号公報 特開平10−305142号公報
しかしながら、補給筒の形状が平面型や円筒型をしていると、球を補給するために補給筒が下降して来たときに、下降位置に既に球が滞留している場合には、下降してきた補給樋で賞球タンクとの間に球を咬み込んでしまい、補給筒がその位置で停止してしまうことがあった。
そして、この状態で補給筒から球が補給されることにより、賞球タンク内に所定以上の高さまで球が補給されることとなり、この補給された球が何らかの衝撃などによって賞球タンクから零れ落ちる場合がある。即ち、この球こぼれトラブルは、補給筒が正規の補給位置まで降りてこないことに起因する。
このようにして、球こぼれが発生すると、誤差球が出てしまったり、パチンコ機の裏パックが破損してしまうことがある。また、こぼれた球が、遊技設備(以下、島ということがある)に、連続的に当ることによって、島を破損することがあった。ここで、誤差球が発生すると、球の収支、すなわち、遊技者が打ち込んだ球数と、遊技店が払い出した球数とを正しく把握することができなくなってしまう。このため、誤った判断を下してしまい、サービスの低下や売上の低下になりかねない。
一方、補給筒と賞球タンクとの間に挟まった球の圧力で、賞球タンクに余計な力が加わってしまうため、賞球タンクの変形や破損に繋がることがあった。
本発明は、上記課題を鑑みてなされたものであり、その目的とするところは、球を挟み込むことがなく、補給筒を正しい位置にガイドして、こぼれ球の発生や島の破損を極力少なくするパチンコ球補給装置を提供することにある。
前記課題を解決するために、請求項1に係る発明は、パチンコ遊技店の島設備において、球補給樋から各パチンコ機の賞球タンクに向けて賞球用の球を補給し、球が整列して通過する球通路を備えたパチンコ球補給装置であって、上方に開口する球導入口を有すると共に下方に開口する球導出口を有する球導入樋を、上下方向に回動可能に軸着し、球導入樋が上昇した状態では、球導出口から球の流出を停止させる停止手段と、パチンコ機の前面枠の開閉状態を検出する前面枠開閉状態検出手段と、前記停止手段と前記前面枠開閉状態検出手段とを連繋させる連動手段と、を備え、前面枠開閉状態検出手段が、前面枠が閉止状態にあることを検出すると、連動手段によって球導入樋が下降して、賞球タンクに対する球の補給を行ない、前記球導入樋の賞球タンク内に貯留された球に当接する部分には、当該球導入樋が下降したときに、球の間に入り込み、当接した球を押圧して移動させる案内部を設けたことを特徴とする。
請求項2に係る発明は、請求項1に記載したパチンコ球補給装置であって、前記案内部は、球の通過方向に直交する断面形状が、略V字形に形成されていることを特徴とする。
請求項3に係る発明は、請求項1または2に記載したパチンコ球補給装置であって、前記案内部は、球の通過方向に沿って、略逆へ字形に形成されていることを特徴とする。
本発明によれば、球導入樋が下降する際に、当接する球を案内部によって移動させることができるので、球を挟み込むことがなく、球導入樋を所定の正しい位置にガイドすることができる。このため、球導入樋が下降の途中で止まってこの位置で球を補給してしまうことによる、賞球タンクからの球のこぼれ落ちを極力抑えることができる。したがって、こぼれ球が生じることによる誤差球の発生や、こぼれ球の落下による島設備の破損を極力少なくすることができる。
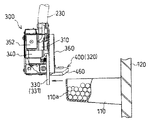
以下、本発明を図示の一実施例について説明する。パチンコ遊技店では、複数のパチンコ機100を列設して構成した島と呼ばれる一群を一つの構成単位として制御や球の循環を行なっている。図11に示すように、この島は、一般に背中合わせに列設したパチンコ機100と、該パチンコ機100の上方部分に配設した球補給樋210及びパチンコ機100の下方に配設する球回収樋220、該球回収樋220で回収した球を球補給樋210に揚送する揚送装置(図示せず)や、回収した球を洗浄する洗浄装置(図示せず)等が適宜配設してある。
球補給樋210は、揚送装置から島の端部に位置するパチンコ機100まで球が流下可能なように下り傾斜をもって形成し、各パチンコ機100に対して球供給管230を分岐させる。そして、この球供給管230の先端をパチンコ機100の前面枠に設けた賞球タンク110に臨ませることにより、球補給樋210から流下する球を賞球タンク110に供給するものである。そして、この球供給管230の先端に、本発明に係るパチンコ球補給装置300を配設するものである。
パチンコ球補給装置300は、パチンコ機100の前面枠に設けた賞球タンク110に対して球を補給する際、この補給する球を計数すると共に、打止め時には球の供給を停止させるものである。また、パチンコ機100の前面枠を開放するときに、球補給樋210から流れ込んでいる球が球供給管230から流出しないように当該球供給管230の球出口を封止する機能を備えている。
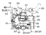
そこでパチンコ球補給装置300は、例えば図8に示すように、球供給管230を通って賞球タンク110に供給する球数を数える計数手段310と、前面枠120が開放状態にあるときに球供給管230から球が零れないようにする停止手段320と、前面枠120が開放状態にあることを検出するための前面枠開閉状態検出手段330と、停止手段320と前面枠開閉状態検出手段330とを連動させる連動手段340を備えている。また、図1に示すように、遊技者に払い出した賞球数が予定数に達したときに、以後の遊技を停止させるための打止め手段350を備えている。
計数手段310は、詳しい説明を省略するが、ユニット化された一つの部材であって、略直方体に形成された収納ボックスに、縦方向の球通路を形成すると共に、回動自在に軸着したスプロケットの先端部分を球通路に臨ませてなり、スプロケットが1回転すると、10個の球を計数する。このとき、図示していない磁石を設けた回動片やリードスイッチ等によって構成された計数信号発生手段から、スプロケットの回動に応じて所定の計数信号が送出される。
パチンコ球補給装置300は、球を賞球タンク110に導くための球導入樋400と、この球導入樋400からの球の流出を停止させるための停止手段320とを備えている。そして、球導入樋400は、後述するように自身が回動することによって、球を流出可能な位置と、球の流出が不可能な位置とに変位することができ、停止手段320の一部として機能する。また、パチンコ球補給装置300は、パチンコ機100の前面枠120の開閉状態を感知するための前面枠開閉状態検出手段330を備えている。さらに、この前面枠開閉状態検出手段330と、前記した停止手段320とを連繋させる連動手段340を備えている。
これらの球導入樋400、停止手段320、前面枠開閉状態検出手段330、および連動手段340は、金属製のベース基板360に取り付けられている。また、パチンコ球補給装置300には、球供給管230と連結するために、略横L字状の連結部材371が首振り自在に設けてある。さらに、計数手段310の信号を取り出すためのコネクタ付配線372と、マイクロスイッチに接続したコネクタ付配線373、後述する駆動源として配設したラッチングソレノイド352の配線374が設けてある。
球導入樋400は、ベース基板360に対して上下方向に回動自在に軸着されており、図3に実線で示すように、略水平方向に延在する状態から、図3に破線で示すように、下方へ垂下する状態へ変位することができる。また、この球導入樋400は、バネ321によって、上昇して略水平状態を保つように付勢されている。そして、球導入樋400が、略水平状態にあるときには、この球導入樋400から球が流出することはない。すなわち、球導入樋400は、略水平状態にあるときには停止手段320の一部として機能している。
この球導入樋400の変位は、前面枠開閉状態検出手段330および連動手段340によって行なわれる。すなわち、パチンコ機100の前面枠120を開放状態から閉止状態に移行させたとき、前面枠開閉状態検出手段330として設けた検知レバー331が、前面枠120の背面側に設けた賞球タンク110の後壁110aに当接して回動すると、この回動運動が連動手段340によって前記した球導入樋400に伝達されて、当該球導入樋400が下降することになる。
連動手段340は、ベース基板360の適所に設けた軸を支点に回動するカム機構である。例えば、図1に示すように検知レバー331は、鉛直方向に回動軸を有する回動レバー332と一体に形成されており、コイルバネ333によって、検知レバー331がベース基板360に当接するように付勢されている。この付勢された状態では、球導入樋400が上昇し、計数手段310の球通路の出口を閉止するので球の流出は起こらない。なお、回動レバー332には、押圧レバー334が連絡し、この押圧レバー334の押圧爪が、計数手段310の球通路に嵌入して、球供給管230から計数手段310への球の流入を球通路の入口側で阻止している。すなわち、押圧レバー334の押圧爪が球通路の入口側で、球導入樋400が球通路の出口側で、停止手段320として機能している。
さらに、計数手段310の球通路には、打止め手段350を構成する打止めレバー351に設けた打止め爪が、前記した押圧爪と重なるように臨ませてある。この打止め爪は、駆動源として設けたラッチングソレノイド352によって作動する。すなわち、予定数の補給が完了して打止めとなったときには、ラッチングソレノイド352を作動させて、打止め爪を計数手段310の球通路に嵌入させて、球の供給を停止させている。
次に、球導入樋400について図5乃至図7を用いて説明する。球導入樋400は、合成樹脂で成形した2部品を組み合わせてなる。すなわち、球導入樋400は、長手方向に、中央から若干外れた位置において、第1部品410と第2部品420とに分割されている。そこで、これらの第1部品410と第2部品420とを所定の位置に組み合わせ、両部品410,420に設けた組付部430、具体的には、第1部品410に設けた組付部431a,組付部431b、および第2部品420に設けた組付部432a,432bに、図示していないねじを螺着することにより、一体の球導入樋400を形成する。なお、この球導入樋400の分割数は、2部品ばかりではなく、さらに細かく分割してもよいし、可能ならば一体成形してもよい。また、組付部430を2箇所に設けてねじ止めしているが、これに限るものではなく、嵌着させたり、接着剤を利用したりするなど、他の固着手段を適用することも可能である。
ところで、球導入樋400は、第1部品410と第2部品420とを組み付けて一体とした状態で機能するものであるから、特に断わりのない限り、球導入樋400と称した場合は、組み付けた状態を指すものとする。
球導入樋400は、上方に開口する球導入口441を有すると共に下方に開口する球導出口442を有している。また、球導入樋400には、水平方向に軸着するための軸受部451,452が設けてある。そして、この球導入口441は、球導入樋400が下向きに回動して垂下状態にあるときに計数手段310の球通路に連通可能である。また、この垂下状態にあるときには、球導出口442が横向きに開口し、球通路を通った球の流出が可能である。一方、球導出口442は、球導入樋400が上方に回動して略水平状態にある場合には上向きに開口している。このとき、球導入口441と球通路の出口とがずれているので、球通路から球導入樋400内に球が流入することがなく、球導入樋400の球導出口442から球が流出することがない。
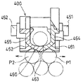
一方、球導入樋400の先端側で、賞球タンク110内に貯留された球に当接する部分には、当該球導入樋400が下降したときに、貯留された球の間に入り込み、当接した球を押圧して移動させる案内部460が設けてある。すなわち、球導入樋400の回動を阻害する球を排除して、当該球導入樋400を所定の位置まで回動可能とする案内部460を設けるのである。
案内部460は、例えば図5乃至図7に示すように、いわゆる舟底型に形成してある。すなわち、球の通過方向に直交する断面形状が、略V字形に形成されている。また、球の通過方向に沿って、略逆へ字形に形成されている。
具体的には、第1部品410に設けた第1傾斜面461と、第2部品420に設けた第2傾斜面462とが、内端部分で突き合わされて頂点、言い換えると稜線を、長手方向に形成している。なお、図示の実施例では、第2傾斜面462の内端部分を、水平方向に僅かに延出させて帯状の稜線部分463を形成している。
以上により、球導入樋400は、略V字形の外形を備えることになる。このように略V字形とすることにより、球導入樋400が下降して賞球タンク110内に貯留された球と当接した際、第1傾斜面461及び第2傾斜面462に当接した球は側方に逃れ易くなり、賞球タンク110の後壁110aと球導入樋400との間に球が咬み込まれることを防止することができる。また、球導入樋400の先端側を上述のように略逆へ字形とすることにより、球導入樋400と賞球タンク110の底面との間に球が咬み込まれることを防止することができる。
なお、本実施例では球導入樋400に稜線部分463を形成しているが、稜線部分463を形成せず、第1傾斜面461と第2傾斜面462とを接合した際に略V字形の頂点部を形成するようにしてもよい。
一方、第1傾斜面461および第2傾斜面462の外端部分には、互いに略平行に対向する第1垂直面464および第2垂直面465がそれぞれ延設されている。なお、第1傾斜面461および第2傾斜面462は、平坦面ではなく、僅かに湾曲する湾曲面となっている。また、第1傾斜面461および第2傾斜面462の先端部、すなわち、略逆へ字形に屈曲する部分である第1前端面466および第2前端面467においても、外面が僅かに湾曲している。本実施例では前述の通り第1傾斜面461、第2傾斜面462、第1前端面466及び第2前端面467は外面を僅かに湾曲させる構成としているが、湾曲面を形成せず、平坦面としてもよい。
このような案内部を備える球導入樋400は、連動手段340によって回動する。すなわち、前面枠120が開閉するときに、賞球タンク110に当接する検知レバー331の動きを連動手段340によって、球導入樋400に伝達するのである。連動手段340は、例えばカム機構によって構成してある。そして、球導入樋400の第1部品410には、連動手段340の一部を構成している連動ピン(図示せず)を受け入れる長孔状の連動孔471が設けてある。
そこで、前面枠120前面枠開閉状態検出手段330である検知レバー331が、前面枠120の閉止に伴って賞球タンク110の後壁110aによって押圧されて回動すると、この回動が連動手段340を構成している連動ピンおよび連動孔471に伝達され、球導入樋400が回動軸を支点にして下向きに回動することとなる。
このような形状の球導入樋400が、回動軸を支点に下向きに回動し、球導入樋400の先端部が下降して、賞球タンク110内の球に当接する場合には、図10に示すように、球導入樋400の稜線部分463が球P1,P2の間に、丁度、楔のように入り込み、第1傾斜面461または第2傾斜面462に接している球P1,P2を、接線方向に押圧する。このため、押圧を受けた球P1,P2が側方へ移動し、この移動した球と接している球も移動し、各球が順次移動することになる。
そして、球導入樋400に当接している球を排除しながら当該球導入樋400が回動を続け、所定の回動位置に到達することができる。すなわち、賞球タンク110内に貯留された球によって球導入樋400の回動が邪魔されることが極力防止できる。したがって、球導入樋400の下降(回動)が途中で停止してしまうことも少ない。このため、球導入樋400が回動の途中であるにも拘らず球が流出してしまい、この流出した球が島内に落下して、賞球タンク110と島設備との間に挟まったり、落下した球で島設備を破損する事態の発生も極力抑えることができる。
以上、本発明を図示の実施例について説明したが、本発明は前記した各実施例に限定されるものではなく、特許請求の範囲に記載した構成を変更しない限り適宜に実施できる。例えば、連動手段をカム機構で構成し、球導入樋を機械的に下降させているが、前面枠開放状態検出手段を電気的センサで構成し、連動手段を電気的駆動源により構成して、球導入樋を電気的に可動するようにしてもよい。
パチンコ球補給装置の一部を欠截した正面図である。 パチンコ球補給装置の背面図である。 パチンコ球補給装置の右側面図である。 パチンコ球補給装置の底面図である。 上方から見た球導入樋の斜視図である。 下方から見た球導入樋の斜視図である。 球導入樋の分解斜視図である。 前面枠を開放した状態における、パチンコ球補給装置と、賞球タンクとの関係を示す説明図である。 前面枠を閉止途中の状態における、パチンコ球補給装置と、賞球タンクとの関係を示す説明図である。 パチンコ球補給装置の球導入樋とパチンコ球との関係を示す説明図である。 パチンコ遊技店における島設備の背面側を示す説明図である。
符号の説明
100 パチンコ機
110 賞球タンク
120 前面枠
210 球補給樋
220 球回収樋
230 球供給管
300 パチンコ球補給装置
310 計数手段
320 停止手段
321 バネ
330 前面枠開閉状態検出手段
331 検知レバー
332 回動レバー
333 コイルバネ
334 押圧レバー
340 連動手段
350 打止め手段
351 打止めレバー
352 ラッチングソレノイド
360 ベース基板
371 連結部材
372 コネクタ付配線
373 コネクタ付配線
374 配線
400 球導入樋
410 第1部品
420 第2部品
430 組付部
441 球導入口
442 球導出口
451 軸受部
452 軸受部
460 案内部
461 第1傾斜面
462 第2傾斜面
463 稜線部分
464 第1垂直面
465 第2垂直面
466 第1前端面
467 第2前端面
471 連動孔

Claims (3)

  1. パチンコ遊技店の島設備において、球補給樋から各パチンコ機の賞球タンクに向けて賞球用の球を補給し、球が整列して通過する球通路を備えたパチンコ球補給装置であって、
    上方に開口する球導入口を有すると共に下方に開口する球導出口を有する球導入樋を、上下方向に回動可能に軸着し、球導入樋が上昇した状態では、球導出口から球の流出を停止させる停止手段と、
    パチンコ機の前面枠の開閉状態を検出する前面枠開閉状態検出手段と、
    前記停止手段と前記前面枠開閉状態検出手段とを連繋させる連動手段と、
    を備え、
    前面枠開閉状態検出手段が、前面枠が閉止状態にあることを検出すると、連動手段によって球導入樋が下降して、賞球タンクに対する球の補給を行ない、
    前記球導入樋の賞球タンク内に貯留された球に当接する部分には、当該球導入樋が下降したときに、球の間に入り込み、当接した球を押圧して移動させる案内部を設けたことを特徴とするパチンコ球補給装置。
  2. 前記案内部は、球の通過方向に直交する断面形状が、略V字形に形成されていることを特徴とする請求項1記載のパチンコ球補給装置。
  3. 前記案内部は、球の通過方向に沿って、略逆へ字形に形成されていることを特徴とする請求項1または2に記載のパチンコ球補給装置。
JP2008228372A 2008-09-05 2008-09-05 パチンコ球補給装置 Expired - Fee Related JP5316757B2 (ja)

Priority Applications (1)

Application Number Priority Date Filing Date Title
JP2008228372A JP5316757B2 (ja) 2008-09-05 2008-09-05 パチンコ球補給装置

Applications Claiming Priority (1)

Application Number Priority Date Filing Date Title
JP2008228372A JP5316757B2 (ja) 2008-09-05 2008-09-05 パチンコ球補給装置

Related Child Applications (1)

Application Number Title Priority Date Filing Date
JP2013096706A Division JP5637250B2 (ja) 2013-05-02 2013-05-02 パチンコ球補給装置

Publications (2)

Publication Number Publication Date
JP2010057801A true JP2010057801A (ja) 2010-03-18
JP5316757B2 JP5316757B2 (ja) 2013-10-16

Family

ID=42185283

Family Applications (1)

Application Number Title Priority Date Filing Date
JP2008228372A Expired - Fee Related JP5316757B2 (ja) 2008-09-05 2008-09-05 パチンコ球補給装置

Country Status (1)

Country Link
JP (1) JP5316757B2 (ja)

Families Citing this family (1)

* Cited by examiner, † Cited by third party
Publication number Priority date Publication date Assignee Title
JP5637250B2 (ja) * 2013-05-02 2014-12-10 大都販売株式会社 パチンコ球補給装置

Citations (3)

* Cited by examiner, † Cited by third party
Publication number Priority date Publication date Assignee Title
JPH03149072A (ja) * 1989-11-03 1991-06-25 Takeya:Kk 賞品球補給装置
JPH0631787U (ja) * 1992-10-01 1994-04-26 株式会社竹屋 賞品球補給装置
JP2005081094A (ja) * 2003-09-11 2005-03-31 Adachi Light Co Ltd パチンコ球補給装置

Patent Citations (3)

* Cited by examiner, † Cited by third party
Publication number Priority date Publication date Assignee Title
JPH03149072A (ja) * 1989-11-03 1991-06-25 Takeya:Kk 賞品球補給装置
JPH0631787U (ja) * 1992-10-01 1994-04-26 株式会社竹屋 賞品球補給装置
JP2005081094A (ja) * 2003-09-11 2005-03-31 Adachi Light Co Ltd パチンコ球補給装置

Also Published As

Publication number Publication date
JP5316757B2 (ja) 2013-10-16

Similar Documents

Publication Publication Date Title
JP5247284B2 (ja) 封入球式パチンコ遊技機
JP2006314444A (ja) パチンコ遊技機
JP5316757B2 (ja) パチンコ球補給装置
JP5637250B2 (ja) パチンコ球補給装置
JPH09327561A (ja) パチンコ島台
JP4122402B2 (ja) 封入球式遊技機
JP4617373B2 (ja) パチンコ球の払出装置
JP4834714B2 (ja) パチンコ遊技機
JP2005348800A (ja) パチンコ遊技機の移送樋の球止装置
JP4284401B2 (ja) 遊技機
JP4161039B2 (ja) 封入球式遊技機
JP5372676B2 (ja) 遊技機の球流下機構
JP2006095165A (ja) 封入球式遊技機
JP3689714B2 (ja) 遊技機
JPH0249751B2 (ja)
JP3344979B2 (ja) 遊技機
JP4631086B2 (ja) 遊技機
JP4707493B2 (ja) 遊技機
JP4219285B2 (ja) 封入球式遊技機
JP4070130B2 (ja) パチンコ球補給装置
JP2006020798A (ja) 弾球遊技機
JP4986446B2 (ja) 遊技機の球払出装置
JP2023005003A (ja) 落ち口カバー閉鎖部材、及び、落ち口カバーの閉鎖方法
JP3344977B2 (ja) 遊技機
JP4631085B2 (ja) 遊技機

Legal Events

Date Code Title Description
A621 Written request for application examination

Free format text: JAPANESE INTERMEDIATE CODE: A621

Effective date: 20110830

A977 Report on retrieval

Free format text: JAPANESE INTERMEDIATE CODE: A971007

Effective date: 20130221

A131 Notification of reasons for refusal

Free format text: JAPANESE INTERMEDIATE CODE: A131

Effective date: 20130305

A521 Request for written amendment filed

Free format text: JAPANESE INTERMEDIATE CODE: A523

Effective date: 20130502

TRDD Decision of grant or rejection written
A01 Written decision to grant a patent or to grant a registration (utility model)

Free format text: JAPANESE INTERMEDIATE CODE: A01

Effective date: 20130528

A61 First payment of annual fees (during grant procedure)

Free format text: JAPANESE INTERMEDIATE CODE: A61

Effective date: 20130625

R150 Certificate of patent or registration of utility model

Ref document number: 5316757

Country of ref document: JP

Free format text: JAPANESE INTERMEDIATE CODE: R150

Free format text: JAPANESE INTERMEDIATE CODE: R150

R250 Receipt of annual fees

Free format text: JAPANESE INTERMEDIATE CODE: R250

R250 Receipt of annual fees

Free format text: JAPANESE INTERMEDIATE CODE: R250

R250 Receipt of annual fees

Free format text: JAPANESE INTERMEDIATE CODE: R250

LAPS Cancellation because of no payment of annual fees